Изобретение относится к электротехнике и электромашиностроению. Технический результат - повышение надежности работы электродвигателя. Ротор асинхронного электродвигателя содержит сердечник, выполненный в виде цилиндрического шихтованного пакета с пазами и зафиксированный на валу, короткозамкнутую обмотку, выполненную в виде конструкции "беличья клетка" и содержащую стержни длиной
, высотой hc и шириной bc, расположенные в пазах сердечника ротора, и короткозамыкающие кольца, расположенные на торцевых поверхностях сердечника ротора. Короткозамыкающие кольца выполнены с радиальной высотой
и глубиной h, расположенные симметрично относительно осей симметрии четных зубцовых делений. 2 табл., 5 ил.
Ротор асинхронного электродвигателя, содержащий сердечник шириной lδ, выполненный в виде цилиндрического шихтованного пакета с пазами и зафиксированный на валу, короткозамкнутую обмотку, выполненную в виде конструкции типа "беличья клетка" и содержащую стержни длиной lδ, высотой hc и шириной bc, расположенные в пазах сердечника ротора, и короткозамыкающие кольца, расположенные на торцевых поверхностях сердечника ротора и выполненные с радиальной высотой аn и аксиальной толщиной bn, отличающийся тем, что на четных зубцовых делениях длиной t2 короткозамыкающих колец в радиальном направлении выполнены проточки прямоугольной формы длиной l и глубиной h, расположенные симметрично относительно осей симметрии четных зубцовых делений, при этом относительная длина kl проточек выбирается по формуле kl=(t2-bc)/t2, относительная глубина h* проточек выбирается с учетом необходимости обеспечения допустимого перегрева ротора по выражению а абсолютные значения длины и глубины проточек определяются как l=kl·t2 и h=h*·bn, где S*=1+(an/t2-kl)·h*/(2+an/bn) - относительная площадь поверхности охлаждения короткозамыкающих колец в долях от соответствующей площади короткозамыкающих колец без радиальных проточек, kαy - коэффициент повышения теплоотдачи короткозамыкающих колец за счет турбулентности охлаждающего воздуха в областях проточек.
,
- относительные значения теплового потока в стержнях и короткозамыкающих кольцах обмотки ротора в долях от соответствующих показателей ротора без проточек,
- относительная длина стержней клетки,
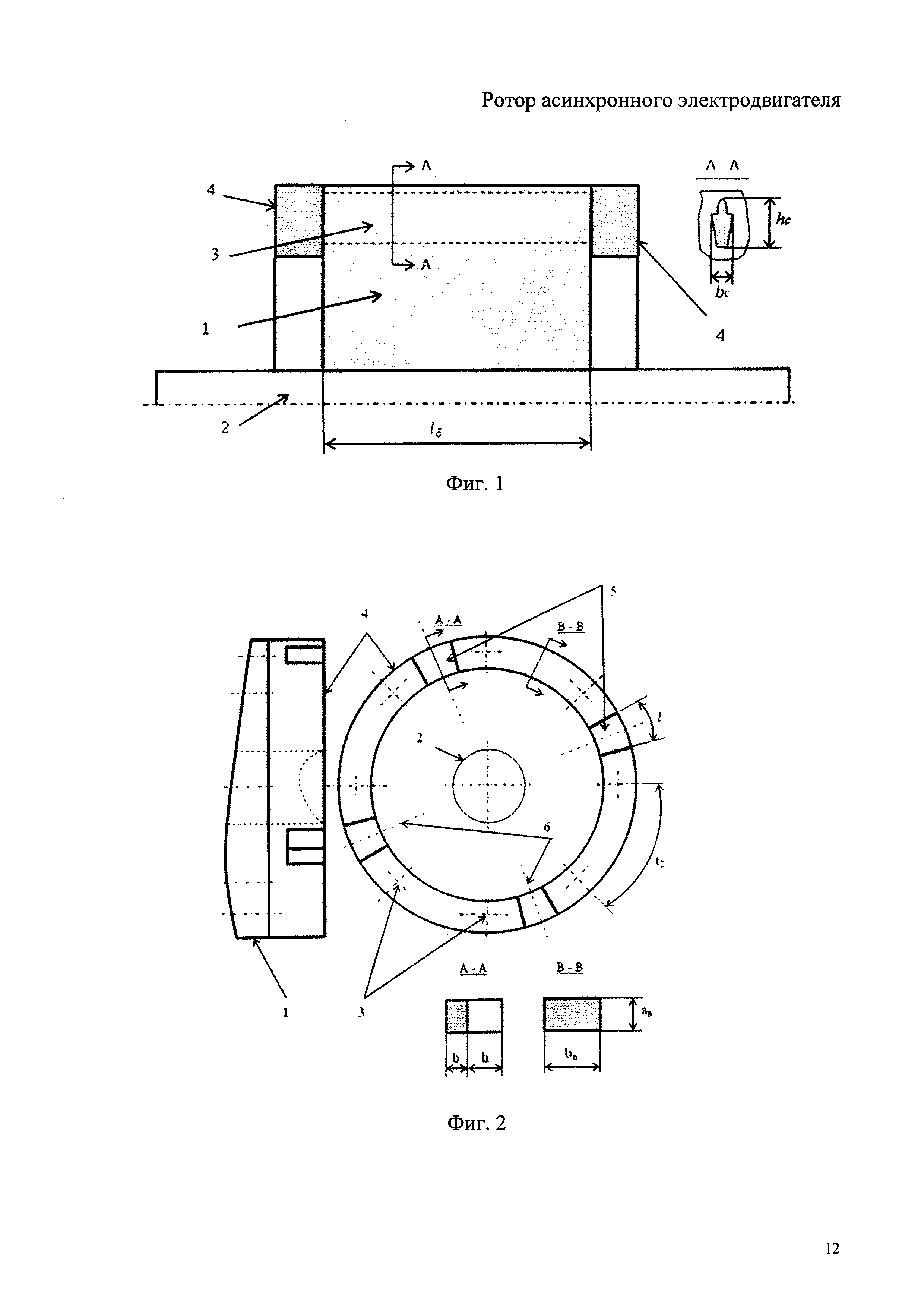
Изобретение относится к электротехнике и электромашиностроению и предназначено для применения в асинхронных электродвигателях. Известен ротор асинхронного электродвигателя серии 4А [Асинхронные двигатели серии 4А: Справочник / А.Э. Кравчик и др. - М.: Энергоиздат, 1982], содержащий сердечник ротора, короткозамкнутую обмотку ротора и вал. При этом сердечник ротора изготовлен из электротехнической стали в виде цилиндрического шихтованного пакета с пазами и зафиксирован на стальном валу цилиндрической формы. Короткозамкнутая обмотка ротора изготовлена из сплава алюминия в виде конструкции типа "беличья клетка", стержни которой расположены в пазах сердечника ротора, а короткозамыкающие кольца - на торцевых поверхностях сердечника ротора. Короткозамыкающие кольца имеют неизменные радиальный и аксиальный размеры любого поперечного сечения. Недостатками такого ротора являются низкое качество процессов запуска и самозапуска электродвигателя и сопряженного с ним технологического оборудования, обусловленное низкой кратностью пускового момента mп, и низкое качество напряжения потребителей, подключенных к питающей сети, вследствие высокой кратности пускового тока iп электродвигателя. Наиболее близким по технической сущности к предлагаемому техническому решению является ротор серийного асинхронного электродвигателя 4А355М2У3 [Асинхронные двигатели серии 4А: Справочник / А.Э. Кравчик и др. - М.: Энергоиздат, 1982], содержащий сердечник ротора, короткозамкнутую обмотку ротора и вал, причем сердечник ротора изготовлен в виде цилиндрического шихтованного пакета с пазами и зафиксирован на валу, короткозамкнутая обмотка ротора выполнена в виде конструкции типа "беличья клетка", стержни которой расположены в пазах сердечника ротора, а короткозамыкающие кольца расположены на торцевых поверхностях сердечника ротора и имеют неизменные радиальный и аксиальный размеры любого поперечного сечения. Недостатками данного технического решения являются недостаточное качество процессов пуска и самозапуска электродвигателя и сопряженного с ним технологического оборудования, обусловленное низкой кратностью пускового момента mп электродвигателя, и низкая надежность работы питающей сети вследствие высокой кратности пускового тока iп электродвигателя. Техническая задача изобретения состоит в повышении кратности пускового момента и снижении кратности пускового тока электродвигателя за счет повышения эффективности использования материала короткозамыкающих колец ротора. Технический результат заключается в повышении надежности работы электродвигателя и сопряженных с ним питающей сети и технологического оборудования за счет улучшения его пусковых показателей. Это достигается тем, что ротор асинхронного электродвигателя содержит сердечник шириной а абсолютные значения длины и глубины проточек определяются, как где kαy - коэффициент повышения теплоотдачи короткозамыкающих колец за счет турбулентности охлаждающего воздуха в областях проточек. Сущность изобретения поясняется чертежами, где на фиг. 1 изображена схема основных конструктивных узлов ротора асинхронного электродвигателя, на фиг. 2 показана детализированная конструкция короткозамыкающих колец обмотки ротора, на фиг. 3 представлены зависимости относительного активного сопротивления элемента кольца (кривая 1), относительного индуктивного сопротивления элемента кольца (кривая 2), относительной массы колец (кривая 3) и относительной площади поверхности охлаждения колец (кривая 4) от относительной толщины кольца под проточкой, на фиг. 4 показана векторная диаграмма номинальных токов в стержнях, на фиг. 5 представлена векторная диаграмма пусковых токов в стержнях. Ротор асинхронного электродвигателя содержит сердечник 1 шириной а абсолютные значения длины и глубины проточек определяются, как где kαy - коэффициент повышения теплоотдачи короткозамыкающих колец 4 за счет турбулентности охлаждающего воздуха в областях проточек 5. Таким образом, аксиальная толщина короткозамыкающего кольца 4 имеет различную величину на нечетных и четных зубцовых делениях (величину bn на нечетных зубцовых делениях и величину b<bn на четных зубцовых делениях под проточкой 5). Ротор асинхронного электродвигателя работает следующим образом. Вращающееся магнитное поле, взаимодействуя с токами короткозамкнутой обмотки ротора, порождает электромагнитные силы, которые реализуются в форме момента, приложенного к ротору и передающегося на его вал 2 к рабочей машине. Этот момент совершает полезную работу по преодолению момента сопротивления рабочей машины. В пусковом режиме избыточный, по отношению к моменту сопротивления рабочей машины, пусковой момент совершает работу по разгону ротора электродвигателя до номинальной частоты вращения. Выполнение проточек 5 снижает массу короткозамыкающих колец 4 и повышает эффективность использования их материала. Относительная масса короткозамыкающих колец 4 клетки с радиальными проточками 5 в долях от массы колец клетки без проточек выражается формулой где где добротность пуска. Как следует из выражений (1), (2), повышение относительных размеров Выполнение проточек 5 повышает активное, индуктивное сопротивления и коэффициент мощности элементов короткозамыкающих колец 4 четных зубцовых делений и, как следствие, активное сопротивление Преобладающее, по отношению к влиянию пониженного пускового тока, влияние повышенного активного сопротивления обеспечивает повышенный пусковой момент электродвигателя где р - число пар полюсов электродвигателя, m - число фаз электродвигателя, ƒ1 - частота питающего напряжения. Выполнение проточек 5 на короткозамыкающих кольцах 4 обеспечивает рост сопротивлений короткозамкнутой обмотки ротора, сопровождающийся интенсивным ростом ее активного сопротивления Для активного и индуктивного сопротивлений элементов короткозамыкающих колец 4 четных зубцовых делений, входящих в соответствующие сопротивления короткозамкнутой обмотки ротора в качестве слагаемых, справедливы следующие выражения где коэффициенты kdr, kdx учитывают снижение толщины короткозамыкающего кольца 4 до величины b<bn за счет проточек 5; сопротивления Ry, Xy соответствуют элементам короткозамыкающего кольца 4 без проточек. Выражения для коэффициентов kdr, kdx имеют вид: где Зависимость kdr(h*) по (9) и (7) определяет интенсивность роста активного сопротивления короткозамкнутой обмотки ротора Как видно из расчетных кривых, приведенных на фиг. 3, где b*=1-h*, согласно проведенным расчетам, функция kdr(h*) по (9) имеет существенно более высокие темпы роста, чем функция kdx(h*) по (10). Этим определяется опережающий рост коэффициента мощности короткозамкнутой обмотки ротора и рост пускового момента электродвигателя при повышении глубины проточек 5. Выполнение проточек 5 в короткозамкнутой обмотке ротора, содержащей z2 стержней 3, создает в ней z2/2 локальных областей длиной Таким образом, выполнение проточек 5 в короткозамкнутой обмотке ротора решает поставленную техническую задачу. Опытным путем получены данные, подтверждающие достижение заявленного технического результата. Количественная оценка результатов изобретения производилась путем математического моделирования пускового и номинального режимов электродвигателя 4А355М2У3. Ротор электродвигателя имеет следующие технические данные: Расчет производился для электродвигателя без проточек на короткозамыкающих кольцах 4 и электродвигателя с радиальными проточками 5, имеющими относительные размеры Значение b*=0 на фиг. 3 соответствует варианту «без проточек». Расчетные результаты, приведенные на графиках 1 и 2 фиг. 3, подтверждают опережающий рост активного сопротивления и коэффициента мощности четных зубцовых делений кольца короткозамкнутой обмотки ротора. Сводные данные расчета режимов в относительных единицах приведены в табл. 1 и табл. 2. Номинальный электрический КПД клетки рассчитывался как отношение полной механической мощности к электромагнитной мощности. Добротность клетки рассчитывалась по формуле (3), относительная масса короткозамыкающих колец 4 - по формуле (1), коэффициент эффективности - по формуле (2), перегрев ротора - по формуле Данные табл. 1 свидетельствуют о следующих фактах. 1. Номинальное скольжение для заявляемой конструкции повышается на 23% с соответствующим повышением электрических потерь. При этом превышение температуры ротора возрастает на 2%. 2. Номинальный электрический КПД клетки снижается на 0.2%, что компенсируется снижением механических потерь электродвигателя, обусловленным снижением номинальной частоты вращения ротора. 3. Практически исключительно (на 69%) потери растут в кольцах, которые хорошо охлаждаются. Рост потерь в стержнях клетки составляет 0.7%, что способствует стабильности теплового состояния ротора. 4. На 27% повышается эффективность использования материала короткозамыкающих колец. 5. Имеет место слабая и преимущественно - фазовая, асимметрия токов клетки в заявляемой конструкции. На фиг. 4 приведена векторная диаграмма номинальных токов в стержнях. Окружность соответствует номинальному току прототипа 1 о.е. Токи в стержнях имеют величины "четный"/"нечетный"=1.007/0.997 о.е. Таким образом, в целом негативное влияние радиальных проточек на номинальные показатели ротора электродвигателя невелико. Данные табл. 2 свидетельствуют о следующих фактах. 1. Обеспечивается существенный - на 20% рост коэффициента мощности заявляемой конструкции. 2. Обеспечивается существенная "активизация" колец заявляемой конструкции. Так рост мощности колец составил 63% против 18% роста мощности всей клетки. 3. Обеспечивается существенный - на 52% рост эффективности использования материала короткозамыкающих колец в заявляемой конструкции. 4. Обеспечивается существенный - на 18% рост кратности пускового момента, при снижении кратности пускового тока на 2%. 5. Пусковые токи заявляемой конструкции практически симметричны. Они приведены на векторной диаграмме токов в стержнях, представленной на фиг. 5. Окружность очерчивает звезду пусковых токов прототипа, величиной 7 о.е. Токи в заявляемой клетке имеют величины "четный"/"нечетный"=6.896/6.844 о.е. Таким образом, радиальные проточки обеспечивают существенное повышение показателей качества пусковых режимов асинхронного электродвигателя. В наибольшей степени это относится к двухполюсным асинхронным электродвигателям с высотой оси вращения 315-355 мм. Использование изобретения позволяет снизить расход активных материалов, гарантировать надежный пуск и самозапуск асинхронных электродвигателей, оснащенных заявленными роторами, за счет повышения эффективности использования материала обмотки ротора, что повышает надежность работы электродвигателя и сопряженных с ним питающей сети и технологического оборудования.
, выполненный в виде цилиндрического шихтованного пакета с пазами и зафиксированный на валу, короткозамкнутую обмотку, выполненную в виде конструкции типа "беличья клетка" и содержащую стержни длиной
, высотой hc и шириной bc, расположенные в пазах сердечника ротора, и короткозамыкающие кольца, расположенные на торцевых поверхностях сердечника ротора и выполненные с радиальной высотой
и глубиной h, расположенные симметрично относительно осей симметрии четных зубцовых делений, при этом относительная длина
проточек выбирается по формуле
, относительная глубина h* проточек выбирается с учетом необходимости обеспечения допустимого перегрева ротора по выражению
,
и h=h*⋅bn,
- относительная площадь поверхности охлаждения короткозамыкающих колец в долях от соответствующей площади короткозамыкающих колец без радиальных проточек,
- относительные значения теплового потока в стержнях и короткозамыкающих кольцах обмотки ротора в долях от соответствующих показателей ротора без проточек,
- относительная длина стержней клетки,
, выполненный в виде цилиндрического шихтованного пакета с пазами и зафиксированный на валу 2, короткозамкнутую обмотку, выполненную в виде конструкции типа "беличья клетка" и содержащую стержни 3 длиной
, высотой hc и шириной bc, расположенные в пазах сердечника ротора 1, и короткозамыкающие кольца 4, расположенные на торцевых поверхностях сердечника ротора 1 и выполненные с радиальной высотой
и глубиной h, расположенные симметрично относительно осей симметрии 6 четных зубцовых делений. При этом относительная длина
проточек 5 выбирается по формуле
, относительная глубина h* проточек 5 выбирается с учетом необходимости обеспечения допустимого перегрева ротора по выражению
,
и h=h*⋅bn,
- относительная площадь поверхности охлаждения короткозамыкающих колец 4 в долях от соответствующей площади короткозамыкающих колец 4 без радиальных проточек,
- относительные значения теплового потока в стержнях 3 и короткозамыкающих кольцах 4 обмотки ротора в долях от соответствующих показателей ротора без проточек,
- относительная длина стержней 3 клетки,
- относительная длина проточки, h*=h/bn - относительная глубина проточки 5. Эффективность использования материала короткозамыкающих колец оценивалась значением коэффициента эффективности

и h* проточек 5 способствует повышению коэффициента эффективности использования материала короткозамыкающих колец 4.
индуктивное сопротивления
и коэффициент мощности короткозамкнутой обмотки ротора в целом. Рост сопротивлений приводит к снижению пускового тока короткозамкнутой обмотки ротора
и пускового тока электродвигателя в целом

и коэффициента мощности


- относительная высота короткозамыкающего кольца 4,
- относительный диаметр короткозамыкающего кольца 4.
и, как следствие, интенсивность роста коэффициента мощности cos(ϕ2) и пускового момента электродвигателя при повышении глубины проточек 5. Зависимость kdx(h*) по (10) и (8) определяет интенсивность роста индуктивного сопротивления короткозамкнутой обмотки ротора
и, как следствие, интенсивность снижения пускового тока электродвигателя при повышении глубины проточек 5.
, аксиальной шириной b, радиальной высотой число пар полюсов р=1 число стержней короткозамкнутой обмотки ротора z2=38 длина стержней ℓδ=365 мм внешний диаметр короткозамыкающих колец Dk=307 мм размеры поперечного сечения короткозамыкающих колец относительная длина проточек kℓ=0.59 относительная глубина проточек h*=0.7
, h*=0.7, на элементах короткозамыкающих колец 4 четных зубцовых делений. Отдельно, по формулам (9), (10), (1) были рассчитаны зависимости kdr(b*), kdx(b*), M*(b*), представленные на фиг. 3 в виде графиков 1, 2, 3 соответственно. Зависимость, представленная на фиг. 3 в виде графика 4, рассчитывалась по формуле
.
, для которой значение коэффициента kαy=1.05 принималось по рекомендациям опубликованных источников.
