патент
№ RU 2703924
МПК F41C23/04

Приклад стрелкового оружия (варианты)

Авторы:
Уржумцев Сергей Владимирович Сибиряков Кирилл Дмитриевич Рекухин Александр Сергеевич
Все (5)
Номер заявки
2019106774
Дата подачи заявки
12.03.2019
Опубликовано
22.10.2019
Страна
RU
Как управлять
интеллектуальной собственностью
Чертежи 
6
Реферат

Группа изобретений относится к деталям стрелкового оружия. Приклад стрелкового оружия по первому варианту содержит основание, затылок приклада, фиксатор с клавишей. Приклад может регулироваться по длине в нескольких положениях. Фиксатор подпружиненный, может вращаться вокруг своей оси, выполнен в виде вала с головкой, снабженной выступом, который может входить в пазы, выполненные на внутренней поверхности основания перпендикулярно продольной оси приклада. Приклад стрелкового оружия по второму варианту содержит основание, затылок приклада, фиксатор с клавишей. Приклад может регулироваться по длине в нескольких положениях. Фиксатор подпружиненный, может вращаться вокруг своей оси, выполнен в виде вала с головкой, снабженной не менее чем двумя диаметрально расположенными выступами, которые могут входить в диаметральные пазы, выполненные на внутренней поверхности основания перпендикулярно продольной оси приклада. Технический результат - повышение технологичности изготовления приклада, повышение эксплуатационной надежности, улучшение эксплуатационных характеристик оружия. 2 н. и 8 з.п. ф-лы, 11 ил.

Формула изобретения

1. Приклад стрелкового оружия, выполненный с возможностью регулирования длины путем фиксации в нескольких положениях, включающий основание, затылок приклада, фиксатор с клавишей, отличающийся тем, что фиксатор установлен в затылке приклада с возможностью вращения вокруг своей оси и выполнен в виде вала с головкой, имеющей не менее одного выступа с возможностью вхождения в пазы, выполненные на внутренней поверхности основания перпендикулярно продольной оси приклада.

2. Приклад по п.1, отличающийся тем, что пазы расположены последовательно в виде ряда.

3. Приклад по п.2, отличающийся тем, что количество пазов больше, чем выступов.

4. Приклад по п.1, отличающийся тем, что фиксатор выполнен подпружиненным.

5. Приклад по п.1, отличающийся тем, что в основание дополнительно установлена пластинчатая пружина, зафиксированная посредством штифта.

6. Приклад стрелкового оружия, выполненный с возможностью регулирования длины путем фиксации в нескольких положениях, включающий основание, затылок приклада, фиксатор с клавишей, отличающийся тем, что фиксатор установлен в затылке приклада с возможностью вращения вокруг своей оси и выполнен в виде вала с головкой, имеющей не менее двух диаметральных выступов с возможностью вхождения в пазы, выполненные на внутренней поверхности основания перпендикулярно продольной оси приклада.

7. Приклад по п.6, отличающийся тем, что пазы расположены последовательно в двух диаметрально расположенных рядах.

8. Приклад по п.7, отличающийся тем, что количество пазов больше, чем выступов.

9. Приклад по п.6, отличающийся тем, что фиксирующий механизм выполнен подпружиненным.

10. Приклад по п.6, отличающийся тем, что в основание дополнительно установлена пластинчатая пружина, зафиксированная посредством штифта.

Описание

[1]

Группа изобретений относится к механизмам стрелкового оружия, а именно к регулируемым по длине, складывающимся прикладам.

[2]

Известен модульный приклад (патент US №7762018 от 08.02.2008, F41C 23/14), состоящий из основания в виде трубы, в нижней части которого установлен рельс с пазами, затылка приклада с плечевым упором, защелки. Приклад выполнен с возможностью регулировки по длине и имеет систему установки длины - защелку с независимыми двойными выступами для взаимодействия с пазами на основании.

[3]

Недостатками данной конструкции является низкая технологичность из-за сложности конструкции приклада и низкая стойкость к ударам по затылку приклада, например, при падениях, обусловленная конструкцией защелки.

[4]

Известен регулируемый приклад стрелкового оружия (патент US №7793453 от 17.11.2008, F41C23/14), выбранный в качестве ближайшего аналога, содержащий основание, затылок приклада с плечевым упором, фиксатор и клавишу. Основание выполнено в виде двух цилиндрических труб с продольным пазом и поперечными пазами.

[5]

Недостатками данной конструкции являются низкая технологичность из-за сложности конструкции приклада, состоящего из большого количества деталей, и невысокая эксплуатационная надежность, особенно в тяжелых условиях эксплуатации из-за большой площади трущихся поверхностей.

[6]

Технической задачей группы изобретений является повышение технологичности, эксплуатационной надежности, в том числе в тяжелых условиях эксплуатации, улучшение эксплуатационных характеристик оружия.

[7]

Технический результат заключается в упрощении конструкции приклада, уменьшении количества деталей, улучшении эксплуатационных характеристик оружия, в том числе стойкости к ударным нагрузкам на приклад (например, при падениях) и уменьшении качки приклада.

[8]

Поставленная задача в первом варианте решения достигается тем, что приклад стрелкового оружия, выполненный с возможностью регулирования длины путем фиксации в нескольких положениях, включает основание, затылок приклада, фиксатор с клавишей. Фиксатор установлен в затылке приклада с возможностью вращения вокруг своей оси и выполнен в виде вала с головкой, имеющей не менее одного выступа с возможностью вхождения в пазы, выполненные на внутренней поверхности основания перпендикулярно продольной оси приклада. Пазы расположены последовательно в виде ряда, при этом количество пазов больше, чем выступов. Фиксатор выполнен подпружиненным. В основание дополнительно установлена пластинчатая пружина, зафиксированная посредством штифта.

[9]

Во втором варианте решения поставленная задача достигается тем, что приклад стрелкового оружия, выполненный с возможностью регулирования длины путем фиксации в нескольких положениях, включает основание, затылок приклада, фиксатор с клавишей. Фиксатор установлен в затылке приклада с возможностью вращения вокруг своей оси и выполнен в виде вала с головкой, имеющей не менее двух диаметральных выступов с возможностью вхождения в пазы, выполненные на внутренней поверхности основания перпендикулярно продольной оси приклада. Пазы расположены последовательно в двух диаметрально расположенных рядах, при этом количество пазов больше, чем выступов. Фиксатор выполнен подпружиненным. В основание дополнительно установлена пластинчатая пружина, зафиксированная посредством штифта.

[10]

Сущность группы изобретений поясняется чертежами, на которых изображено:

[11]

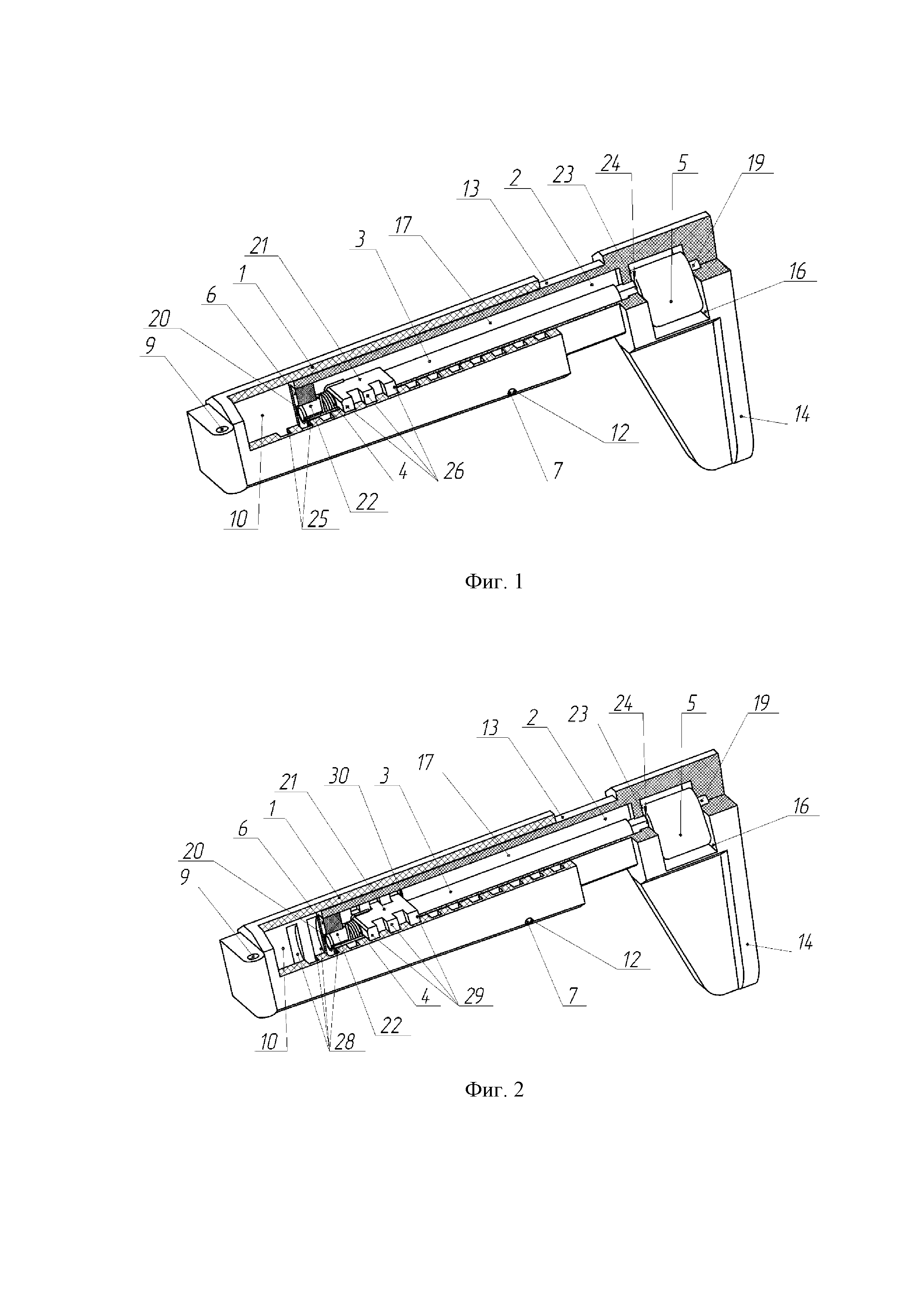
на фиг. 1 - общий вид приклада по варианту 1;

[12]

на фиг. 2 - общий вид приклада по варианту 2;

[13]

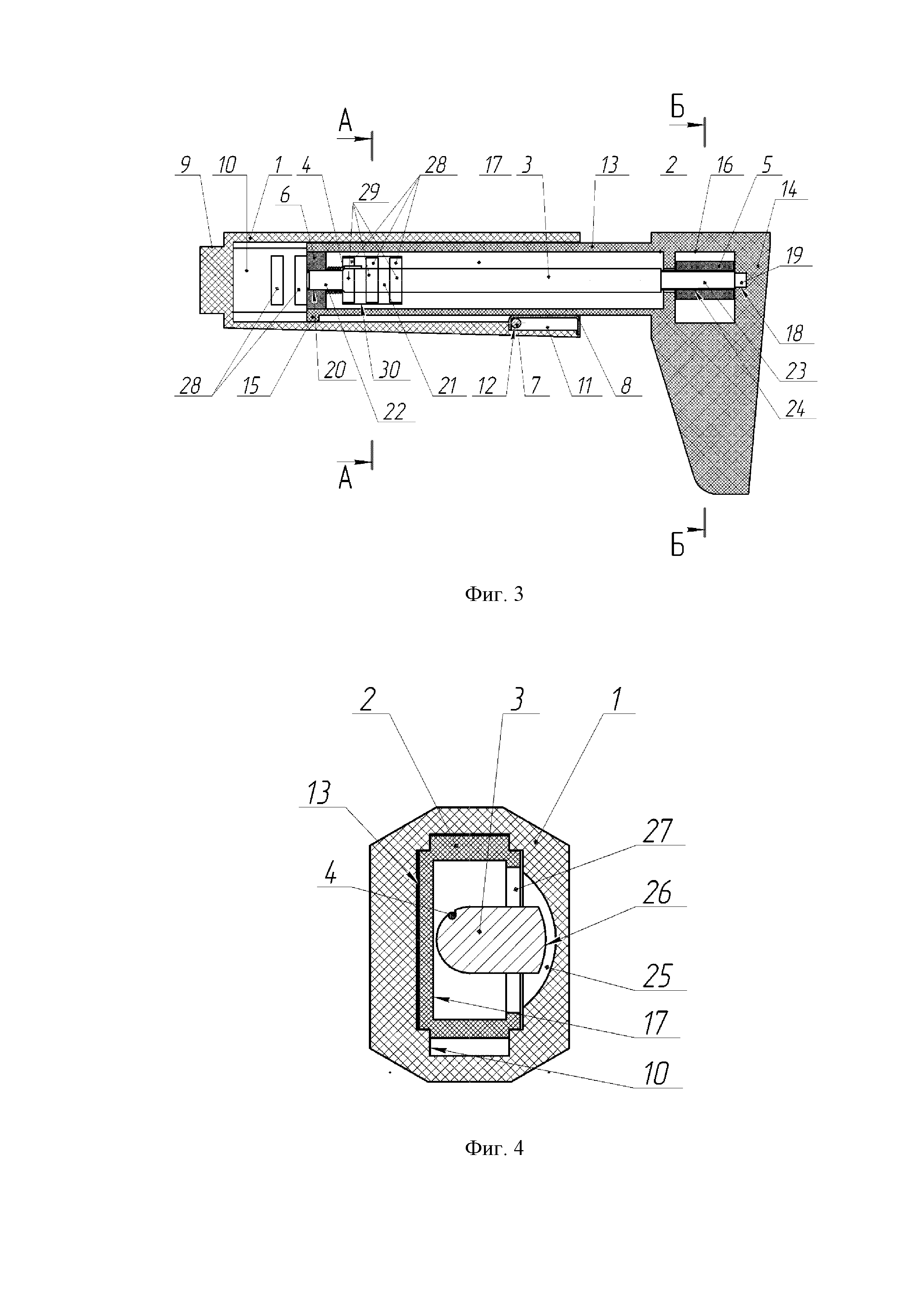
на фиг. 3 – продольный разрез приклада по варианту 2;

[14]

на фиг. 4 – А-А на фиг. 3 - фиксатор в положении «закрыто» по варианту 1;

[15]

на фиг. 5 – А-А на фиг.3 - фиксатор в положении «открыто» по варианту 1;

[16]

на фиг. 6 – А-А на фиг. 3 - фиксатор в положении «закрыто» по варианту 2;

[17]

на фиг. 7 – А-А на фиг.3 - фиксатор в положении «открыто» по варианту 2;

[18]

на фиг. 8 – Б-Б на фиг.3 – клавиша в положении «закрыто»;

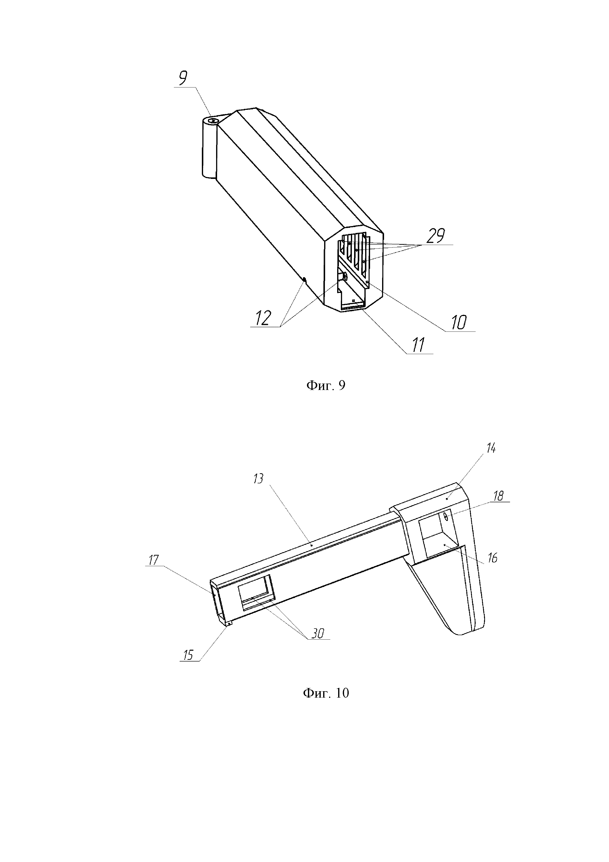
[19]

на фиг. 9 – основание приклада по варианту 2;

[20]

на фиг. 10 – затылок приклада по варианту 2;

[21]

на фиг. 11 – фиксатор приклада по варианту 2.

[22]

Приклад состоит из основания 1, затылка 2 приклада, фиксатора 3 с пружиной 4, клавиши 5, заглушки 6, штифта 7 и пластинчатой пружины 8.

[23]

Основание 1 имеет с одной стороны посадочное место 9 для присоединения к оружию, а с другой стороны - глухое фигурное отверстие 10. В отверстии 10 размещено гнездо 11 для пластинчатой пружины 8. В районе гнезда 11 выполнено отверстие 12, перпендикулярное оси основания, необходимое для установки штифта 7. В основание 1 дополнительно установлена пластинчатая пружина 8 для компенсации зазоров в соединении основания 1 с затылком 2 приклада, зафиксированная посредством штифта 7.

[24]

Затылок 2 приклада устанавливается в глухое фигурное отверстие 10 основания 1. Затылок 2 приклада выполнен в виде Г- образной детали и конструктивно состоит из двух частей – направляющей 13 и плечевого упора 14. Направляющая 13 выполнена в виде трубы фигурного сечения, соответствующего глухому фигурному отверстию 10 основания, в которое затылок 2 приклада устанавливается при сборке. В направляющей 13 выполнен ограничительный выступ 15 на наружной поверхности, который при взаимодействии со штифтом 7, установленным в основание 1 ограничивает продольное перемещение затылка 2 приклада относительно основания 1. В плечевом упоре 14 выполнено сквозное поперечное отверстие 16 под клавишу 5. В затылке 2 приклада вдоль продольной оси выполнено фигурное отверстие 17 для размещения фиксатора 3. В плечевом упоре 14 выполнено отверстие 18 для взаимодействия с опорной цилиндрической поверхностью 19 фиксатора 3. В передней части направляющей 13 затылка 2 приклада крепится заглушка 6.

[25]

Заглушка 6 выполнена с отверстием 20 для установки фиксатора 3. Заглушка 6 крепится к затылку 2 приклада.

[26]

Фиксатор 3 установлен в отверстие 17 затылка 2 приклада с возможностью вращения вокруг своей оси на ограниченный угол α - это угол между рабочим и регулировочным положениями фиксатора 3. Фиксатор 3 выполнен в виде вала с головкой 21. На фиксаторе 3 выполнены опорная цилиндрическая поверхность 22 для взаимодействия с отверстием 20 в заглушке 6 и посадочное место 23 для клавиши 5, имеющее фигурное сечение. Фиксатор 3 подпружинен пружиной 4 для возвращения в рабочее положение после поворота для расфиксации и регулировки длины приклада.

[27]

В клавише 5 выполнено фигурное отверстие 24, которым при сборке приклада она устанавливается на посадочное место 23 фиксатора 3, имеющее соответствующее отверстию фигурное сечение.

[28]

По варианту 1 на внутренней поверхности основания 1 перпендикулярно продольной оси приклада выполнен ряд пазов 25, взаимодействующих с выступом 26 или рядом выступов 26, выполненных на головке 21 фиксатора 3. Количество пазов 25 в ряду выбирают из условия необходимого шага регулировки приклада и из условия стойкости приклада к осевой нагрузке и в зависимости от материала основания 1. Количество выступов 26 в ряду выбирают исходя из условия стойкости приклада к осевой нагрузке и в зависимости от материала фиксатора 3, при этом количество выступов 26 в ряду меньше, чем количество пазов 25 в ряду. В направляющей 13 выполнено прямоугольное отверстие 27 в стенке для выхода выступа 26 или ряда выступов 26 при развороте фиксатора 3 в рабочее положение.

[29]

Рабочее положение фиксатора 3 – положение, при котором выступ 26 или ряд выступов 26 максимально входят в ряд пазов 25 на внутренней поверхности основания 1.

[30]

Регулировочное положение фиксатора 3 – положение, при котором возможно продольное перемещение затылка 2 приклада, т.е. регулировка приклада по длине.

[31]

По варианту 2 на внутренней поверхности основания 1 перпендикулярно продольной оси приклада выполнено два диаметрально расположенных ряда пазов 28, взаимодействующих с диаметральными выступами 29 или двумя рядами диаметральных выступов 29, выполненных на головке 21 фиксатора 3. Количество пазов 28 в ряду выбирают из условия необходимого шага регулировки приклада и из условия стойкости приклада к осевой нагрузке и в зависимости от материала основания 1. Количество выступов 29 в ряду выбирают исходя из условия стойкости приклада к осевой нагрузке и в зависимости от материала фиксатора 3, при этом количество выступов 29 в ряду меньше, чем количество пазов 28 в ряду. В направляющей 13 выполнены два прямоугольных отверстия 30 в стенке для выхода диаметральных выступов 29 или двух диаметральных рядов выступов 29 при развороте фиксатора 3 в рабочее положение.

[32]

Рабочее положение фиксатора 3 – положение, при котором диаметральные выступы 29 или два диаметральных ряда выступов 29 максимально входят в два ряда пазов 28 на внутренней поверхности основания

[33]

Регулировочное положение фиксатора 3 – положение, при котором возможно продольное перемещение затылка 2 приклада, т.е. регулировка приклада по длине.

[34]

Взаимодействие частей происходит следующим образом. Клавиша 5 размещается в отверстии 16 плечевого упора 14. Фиксатор 3 устанавливается в центральное отверстие 17 затылка 2 приклада, при этом посадочное место 23 фиксатора 3 для клавиши 5, имеющее фигурное сечение попадает в фигурное отверстие 24 клавиши 5, делая невозможным поворот клавиши 5 вокруг оси фиксатора 3, а опорная цилиндрическая поверхность 19 попадает в соответствующее отверстие 18 в плечевом упоре 14. Головка 21 фиксатора 3 располагается в отверстии 17 затылка 2 приклада. При повороте фиксатора 3 в рабочее положение выступы 26 (по варианту 1) или выступы 29 (по варианту 2) головки 21 начинают выступать за габариты направляющей 13 затылка 2 приклада. В регулировочном положении выступы 26 (по варианту 1) или выступы 29 (по варианту 2) головки 21 полностью укладываются в габариты направляющей 13, позволяя осуществлять регулировку приклада по длине. Ограничение угла поворота фиксатора 3 обеспечивается за счет формы клавиши 5 и отверстия 16 в плечевом упоре 14 затылка 2 приклада, либо за счет формы головки 21 фиксатора 3 и соответствующего отверстия 17 в затылке 2 приклада. Пружина 4 фиксатора 3 вставляется в затылок 2 приклада, при этом один конец упирается в головку 21 фиксатора 3, а второй конец упирается в заглушку 6. Пружина 4 устанавливается таким образом, что фиксатор 3 под её воздействием возвращается в рабочее положение, если не нажата клавиша 5. Заглушка 6 крепится к затылку 2 приклада, при этом опорная цилиндрическая поверхность 22 устанавливается в соответствующем отверстии 20 заглушки 6.

[35]

Затылок 2 приклада с фиксатором 3, клавишей 5 и заглушкой 6 устанавливаются в отверстие 10 основания 1. Для этого фиксатор 3 при помощи клавиши 5 поворачивается в регулировочное положение. Для ограничения перемещения затылка 2 приклада относительно основания 1 устанавливается штифт 7, взаимодействующий с ограничительным выступом 15 затылка приклада.

[36]

В частном случае для устранения качки затылка приклада относительно основания при сборке в гнездо 11 в основании приклада может быть установлена пластинчатая пружина 8, которая своей средней выгнутой частью упирается в затылок 2 приклада, поджимая его к стенкам отверстия 10 в основании и устраняя зазор между затылком 2 и основанием 1. Штифт 7 устанавливается в отверстие 12 в основании 1 приклада, при этом он заводится за конец пружины 8, другой конец пружины 8 упирается в стенку гнезда 11 основания 1, ограничивая перемещение пружины 8 в осевом направлении. В этом случае ограничение перемещения затылка приклада происходит при взаимодействии ограничительного выступа 15 направляющей 13 затылка 2 приклада и конца пластинчатой пружины 8.

[37]

При отпускании клавиши 5 фиксатор 3 под воздействием пружины 4 стремится повернуться в рабочее положение, и, когда выступы 26 (по варианту 1) или выступы 29 (по варианту 2) головки 21 фиксатора 3 совмещаются с пазами 25 (по варианту 1) или пазами 28 (по варианту 2) в основании 1 приклада, фиксатор 3 принимает рабочее положение и фиксирует осевое положение затылка 2 относительно основания 1. После сборки приклада он устанавливается на оружие.

[38]

Таким образом, приклад стрелкового оружия по варианту 1 и 2 позволяет повысить технологичность его изготовления, эксплуатационную надежность, в том числе в тяжелых условиях эксплуатации, улучшить эксплуатационные характеристики оружия.

Как компенсировать расходы
на инновационную разработку
Похожие патенты