патент
№ RU 2649310
МПК G01S7/495

СПОСОБ ПОДАВЛЕНИЯ ОТМЕТОК ОТ ЦЕЛЕЙ, РАСПОЛОЖЕННЫХ ЗА ПРЕДЕЛАМИ ЗОНЫ ОДНОЗНАЧНОЙ ОЦЕНКИ ДАЛЬНОСТИ ОБЗОРНОЙ РЛС, И РЕАЛИЗУЮЩЕЕ ЕГО УСТРОЙСТВО

Авторы:
Новиков Анатолий Викторович Штенина Лидия Сергеевна Хлусов Валерий Александрович
Все (4)
Номер заявки
2017123907
Дата подачи заявки
05.07.2017
Опубликовано
02.04.2018
Страна
RU
Как управлять
интеллектуальной собственностью
Чертежи 
3
Реферат

Изобретение относится к области активной радиолокации и предназначено для использования в обзорных радиолокационных станциях (РЛС). Достигаемый технический результат - подавление отметок от целей, расположенных за пределами зоны однозначной оценки дальности обзорной РЛС, а также отметок, обусловленных несинхронной импульсной помехой. Указанный результат достигается путем изменения периода повторения импульсного зондирующего сигнала на некоторую величину ±ΔТ и сравнительного анализа двух соседних реализаций амплитуды отраженного сигнала, при этом знак величины ΔT меняется от импульса к импульсу. 2 н.п. ф-лы, 4 ил.

Формула изобретения

1. Способ подавления отметок от целей, расположенных за пределами зоны однозначной оценки дальности в обзорной РЛС, а также отметок, обусловленных несинхронной импульсной помехой, включающий импульсное радиолокационное зондирование окружающего пространства с изменяемым периодом T повторения импульсов, формирование реализации отраженного сигнала в координатах «амплитуда-задержка относительно сигнала излучения» для каждого зондирующего импульса, вычисление минимума по ансамблю из двух реализаций отраженного сигнала, отличающийся тем, что период повторения зондирующих импульсов изменяется на величину ±ΔT, при этом знак ΔT изменяется от импульса к импульсу, формируются реализации R1 как результат скользящего усреднения по ансамблю из N реализаций отраженного сигнала, длительность которых равна T-ΔT, формируются реализации R2 как результат скользящего усреднения по ансамблю из N реализаций отраженного сигнала, длительность которых равна T+ΔT, формируются реализации R3=R1-R2, формируются реализации R4, как реализации R3, в которых отрицательные значения приравнены к нулю, формируются реализации R5, как реализации R3, в которых положительные значения приравнены к нулю, формируются реализации R6=R1-R4, формируются реализации R7=R2+R5, формируется выходной сигнал РЛС, как реализации R8=R6+R7, при этом разность (сумма) двух реализаций A и B определяется как реализация, длительность которой равна длительности более короткой из реализаций A и B, а ее текущие значения определены как разность (сумма) значений реализаций A и B, соответствующих одинаковым задержкам.

2. Устройство подавления отметок от целей, расположенных за пределами зоны однозначной оценки дальности в обзорной РЛС, а также отметок, обусловленных несинхронной импульсной помехой, включающее в себя: АЦП 1, демультиплексор 2, отличающееся тем, что введены два усредняющих буфера 3, 4, сумматор 5, селектор сигнала по полярности 6, сумматоры 7, 8, 9, выходной интерфейс 10, причем аналоговый вход АЦП 1 является входом устройства, выходная шина АЦП 1 соединяется со входной шиной демультиплексора 2, на синхронизирующий вход демультиплексора 2 поступают тактовые импульсы, выход 1 демультиплексора 2 соединяется со входом усредняющего буфера 3, выход 2 демультиплексора 2 соединяется со входом усредняющего буфера 4, выход усредняющего буфера 3 соединяется с инвертирующим входом сумматора 5 и первым входом сумматора 7, выход усредняющего буфера 4 соединяется с неинвертирующим входом сумматора 5 и неинвертирующим входом сумматора 8, выход сумматора 5 соединяется со входом селектора сигнала по полярности 6, отрицательный выход которого соединяется со вторым входом сумматора 7, а положительный выход которого соединяется с инвертирующим входом сумматора 8, выход сумматора 7 соединяется с первым входом сумматора 9, выход сумматора 8 соединяется со вторым входом сумматора 9, выход сумматора 9 соединяется со входом интерфейса 10, а выход интерфейса 10 является выходом устройства.

Описание

[1]

Область применения

[2]

Изобретение относится к области активной радиолокации и предназначено для использования в обзорных РЛС для обработки выходного сигнала амплитудного детектора.

[3]

Уровень техники

[4]

Известен способ подавления отметок от целей, расположенных вне зоны однозначной оценки дальности обзорной РЛС, основанный на когерентном накоплении отраженного сигнала на интервале времени, в течении которого производится зондирование азимутального сегмента пространства [1, стр. 80]. Недостатком способа является малая эффективность подавления при реально применяемых скоростях азимутального обзора (сотни градусов в секунду) и узких (от долей до единиц градусов) диаграммах направленности антенн обзорных РЛС, поскольку время облучения объектов мало и, соответственно, выигрыш при накоплении сигнала также мал.

[5]

Известен способ селекции несинхронной импульсной помехи, основанный на задержке принятого сигнала на период повторения, вычислении разности прямого и задержанного сигнала и бланкировании несинхронной импульсной помехи [2, стр. 286-287]. Сигнал от цели при задержке на период повторения не меняет своего временного положения и поэтому вычитается из текущего сигнала, не формируя при этом бланкирующего импульса. Сигнал же от несинхронной помехи меняет временное положение от периода к периоду, поэтому разность даст бланкирующий импульс, который не пропустит несинхронную помеху. Недостатком данного способа является то, что если на несинхронную помеху при этом аддитивно накладывается сигнал от цели, то цель будет полностью бланкирована (утеряна).

[6]

Известен способ подавления отметок от целей, расположенных вне зоны однозначной оценки дальности обзорной РЛС, а также отметок, обусловленных несинхронной импульсной помехой (например сигналом другой РЛС), выбранный нами за прототип [3]. Способ основан на плавной модуляции периода Т повторения зондирующего сигнала и межазимутальной фильтрации выходного сигнала амплитудного детектора в каждом стробе дальности РЛС, которая реализуется путем выбора минимального значения из двух текущих реализаций отраженного сигнала, формируемых по каждому импульсу излучения в координатах «амплитуда - задержка относительно импульса излучения». Недостатком способа является малая эффективность подавления, обусловленная (как и в способе [1]) малым временем накопления сигнала. Увеличение времени накопления требует снижения скорости азимутального обзора РЛС, что зачастую неприемлемо в реальных условиях применении обзорных РЛС.

[7]

Сущность изобретения

[8]

Основной технической задачей, решаемой заявленным изобретением, является повышение эффективности подавления отметок от целей, расположенных вне зоны однозначной оценки дальности обзорной РЛС, а также отметок, обусловленных несинхронной импульсной помехой, без снижения скорости азимутального обзора.

[9]

Поставленная задача решается тем, что в способе подавления отметок от целей, расположенных за пределами зоны однозначной оценки дальности в обзорной РЛС, а также отметок, обусловленных несинхронной импульсной помехой, включающем импульсное радиолокационное зондирование окружающего пространства с изменяемым периодом Т повторения импульсов, формирование реализации отраженного сигнала в координатах «амплитуда-задержка относительно сигнала излучения» для каждого зондирующего импульса, период повторения зондирующих импульсов изменяется на величину ±ΔТ, при этом знак величины ΔT изменяется от импульса к импульсу, формируются реализации R1 как результат скользящего усреднения по ансамблю из N реализаций отраженного сигнала, длительность которых равна Т-ΔT, формируются реализации R2 как результат скользящего усреднения по ансамблю из N реализаций отраженного сигнала, длительность которых равна Т+ΔТ, формируются реализации R3=R1-R2, формируются реализации R4, как реализации R3, в которых отрицательные значения приравнены к нулю, формируются реализации R5, как реализации R3, в которых положительные значения приравнены к нулю, формируются реализации R6=R2-R4, формируются реализации R7=R1+R5, формируется выходной сигнал РЛС, как текущие реализации R8=R6+R7, при этом разность (сумма) двух реализаций А и В определяется как реализация, длительность которой равна длительности более короткой из реализаций А и В, а ее текущие значения определены как разность (сумма) значений реализаций А и В, соответствующих одинаковым задержкам.

[10]

Осуществление способа

[11]

На Фиг. 1 и Фиг. 2 наглядно отображена физическая сущность предлагаемого способа.

[12]

Зондирующий импульс ЗИ (см. Фиг. 1) излучается с переменным периодом повторения Т±ΔТ, при этом знак величины ΔT изменяется от импульса к импульсу. На фиг. 1 отображена текущая совокупность R реализаций отраженного сигнала при наличии в зоне обзора двух целей.

[13]

Отметка 1 от цели, расположенной в пределах зоны однозначной оценки дальности РЛС, не изменяет своего положения (задержки τ1) относительно ЗИ во всех реализациях отраженного сигнала, сформированных по каждому ЗИ. Отметим, что указанная ситуация имеет место только при относительно невысоких радиальных скоростях целей, когда расстояние, пройденное целью за время формирования N реализаций отраженного сигнала не превышает элемента разрешения РЛС по дальности. Для навигационных обзорных РЛС это условие, как правило, выполняется.

[14]

Отметка 2 от цели, расположенной за пределами зоны однозначной оценки дальности (задержка τ2), изменяет свое положение внутри реализаций отраженного сигнала (задержка τ3), поскольку период повторения ЗИ изменяется от импульса к импульсу на величину ΔТ. Именно этот физический факт позволяет подавить отметки от «неоднозначных» целей заявляемым способом.

[15]

Отметим, что для первой реализации отраженного сигнала (начало работы РЛС) отметка 2 (см. фиг. 1) от цели, расположенной за пределами зоны однозначной оценки дальности, отсутствует, поскольку сигнала появится только во второй реализации отраженного сигнала.)

[16]

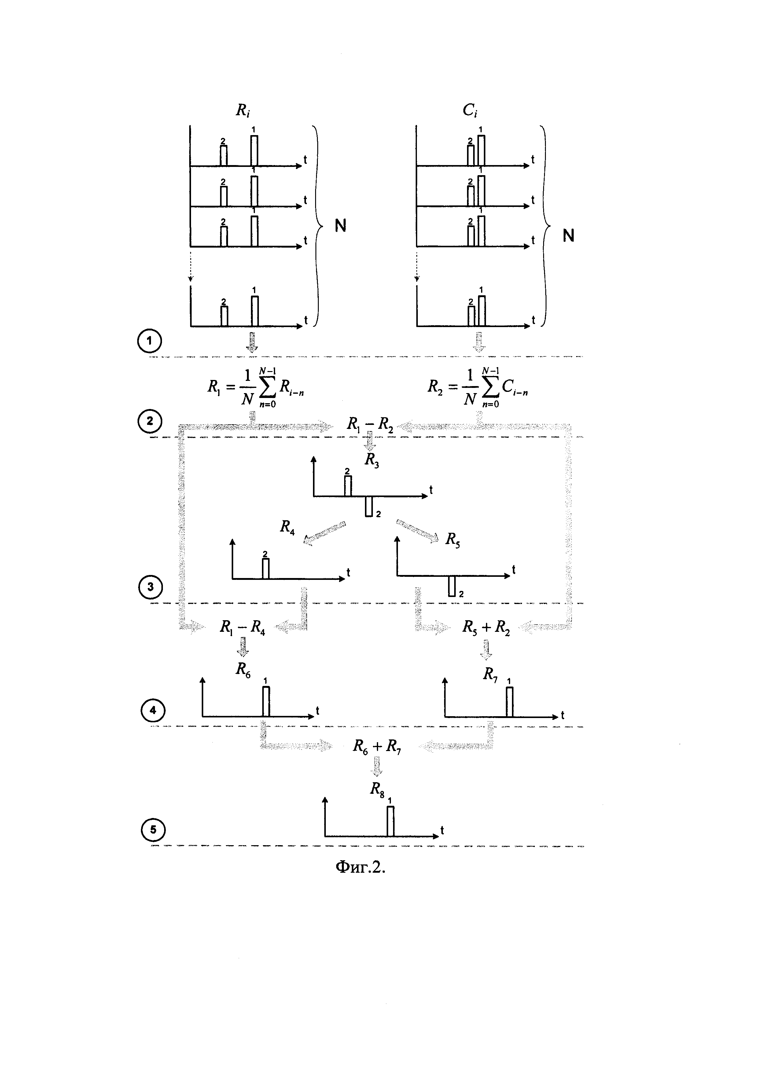
Сущность операций способа иллюстрируют временные диаграммы Фиг. 2.

[17]

Этап 1. Вся текущая совокупность R (см. Фиг. 1) реализаций отраженного сигнала разделяется на два потока, Ri и Ci (см. Фиг. 2). Длительности реализаций Ri, например, равны Т-ΔТ, а длительности реализаций Ci равны Т+ΔТ либо наоборот. Формируются реализации R1 и R2 как результат скользящего усреднения по ансамблю из N реализаций потоков Ri и Ci, соответственно.

[18]

Этап 2. Формируются реализации R3=R1-R2 как текущая разность реализаций R1 и R2.

[19]

Этап 3. Формируются реализации R4, как реализации R3, в которых отрицательные значения приравнены к нулю. Формируются реализации R5, как реализации R3, в которых положительные значения приравнены к нулю.

[20]

Этап 4. Формируются реализации R6=R1-R4 как текущая разность реализаций R1 и R4, формируются реализации R7=R2+R5 как текущая сумма реализаций R2 и R5.

[21]

Этап 5. Формируются реализации R8=R6+R7 (выходной сигнал РЛС) как текущая сумма реализаций R6 и R7. При этом в выходном сигнале отсутствует составляющая (отметка), обусловленная отражением 2 от цели, расположенной за пределами зоны однозначной оценки дальности РЛС.

[22]

Описанные этапы отображены в виде блок-схемы на Фиг. 3.

[23]

Отметим, что предлагаемый способ будет подавлять несинхронную помеху, отметки от которой некоррелированы в соседних реализациях выходного сигнала амплитудного детектора, с такой же эффективностью, как и аналог, и прототип, поскольку в предлагаемом способе производится скользящее усреднение по ансамблю из 2N реализаций выходного сигнала амплитудного детектора.

[24]

Описание устройства

[25]

Устройство (Фиг. 4) может быть реализовано на основе трех функционально законченных электронных компонентов современной радиотехники: АЦП, ПЛИС (программируемая логическая интегральная схема, например Cyclone V Altera), контроллер Ethernet (например, KSZ9021RN).

[26]

Входной аналоговый сигнал с приемника РЛС поступает на вход АЦП 1, в котором преобразуется в цифровую форму. Далее по шине данных оцифрованный сигнал поступает в ПЛИС, которая выполняет алгоритм подавления отметок от целей, расположенных за пределами зоны однозначной оценки дальности, в соответствии с описанными в способе (см. выше описание способа) операциями.

[27]

Для выделения последовательностей с разным периодом на ПЛИС дополнительно поступает синхронизирующий сигнал от устройства формирования зондирующего сигнала. С выхода ПЛИС данные поступают на интерфейс 10 связи с внешними устройствами, например на контроллер Ethernet.

[28]

В ПЛИС (Фиг. 4) на программном уровне реализованы следующие блоки: демультиплексор 2, два усредняющих буфера 3, 4, сумматор 5, селектор сигнала по полярности 6, сумматоры 7, 8, 9, причем развертка по дальности в виде цифрового кода амплитуд входного сигнала с выхода АЦП 1 поступает на входную шину демультиплексора 2, который разделяет входной поток на два потока Ri и Ci, согласно чередующимся периодам зондирования T-ΔT и Т+ΔT, соответственно (Фиг. 3).

[29]

В идентичных усредняющих буферах 3 и 4 вычисляются реализации R2 и R1 соответственно как скользящее среднее по N реализациям Ci и Ri, соответственно (Фиг. 3). В сумматоре 5 вычисляются значения реализаций R3=R1-R2 как разность значений реализаций R1 и R2, соответствующих одинаковой задержке (имеющие одинаковые индексы).

[30]

В селекторе сигнала по полярности из входных (текущих) реализаций R3 формируются два потока, реализации R4 и R5, при этом число отсчетов этих реализаций совпадает с числом отсчетов реализации R3, и реализации R4 есть реализации R3, в которых отрицательные значения приравнены к нулю, а реализации R5 есть реализации R3, в которых положительные значения приравнены к нулю.

[31]

Реализации R4 с соответствующего (положительного) выхода селектора сигнала по полярности 6 поступают на инвертирующий вход сумматора 8, на второй вход которого поступают реализации R1. Реализации R5 поступают на вход сумматора 7, на второй вход которого поступают реализации R2.

[32]

Выходные реализации R6, R7 сумматоров 8 и 7 соответственно суммируются в сумматоре 9, на выходе которого формируются реализации R8 (Фиг. 3), поступающие на вход интерфейса 10, выход которого является выходом устройства и используется для передачи данных внешним устройствам.

[33]

В выходном сигнале в соответствии с заявляемым способом, определяющим алгоритм работы заявляемого устройства, подавлены отметки от целей, находящихся вне зоны однозначной оценки дальности РЛС, а также отметки, обусловленные несинхронной помехой. При этом в выходном сигнале не подавляется (не теряется) отметка от «однозначной» цели, если на нее накладываются (вместе или раздельно) отметка от несинхронной помехи и отметка от «неоднозначной» цели.

[34]

Литература

[35]

1. Кузьмин, С.З. Цифровая обработка радиолокационной информации. - М.: Советское радио, 1967. - 400 с.

[36]

2. Ботов, М.И. Основы теории радиолокационных систем и комплексов: учеб. / М.И. Ботов, В.А. Вяхирев; под общ. ред. М.И. Ботова. - Красноярск: Сиб. федер. ун-т, 2013. - 530 с.

[37]

3. РЛС "Буссоль-С". Руководство по эксплуатации.

Как компенсировать расходы
на инновационную разработку
Похожие патенты