патент
№ RU 2663441
МПК F02K1/12

Плоское сопло турбореактивного авиационного двигателя

Авторы:
Демченко Александр Валерьевич
Номер заявки
2017128917
Дата подачи заявки
15.08.2017
Опубликовано
06.08.2018
Страна
RU
Как управлять
интеллектуальной собственностью
Чертежи 
3
Реферат

Изобретение относится к области авиационного двигателестроения, в частности к конструкции плоских сопел турбореактивных двигателей. Плоское сопло содержит корпус, дозвуковые створки, шарнирно прикрепленные к корпусу, сверхзвуковые створки, шарнирно соединенные с дозвуковыми, и внешние створки, одним концом шарнирно прикрепленные к корпусу, а другим - соединенные со сверхзвуковыми створками. На наружной поверхности сверхзвуковых створок поперек продольной оси турбореактивного авиационного двигателя установлены силовые элементы. Каждый силовой элемент соединен со сверхзвуковой створкой посредством нечетного числа крепежных соединений, расположенных вдоль него. Каждое из крепежных соединений выполнено в виде двух соединительных элементов с проушинами, жестко соединенных с силовым элементом и сверхзвуковой створкой соответственно, и фиксирующего элемента. Одна из проушин в каждом из крепежных соединений, кроме крепежного соединения, расположенного наиболее близко к продольной оси симметрии соответствующей сверхзвуковой створки, выполнена вытянутой поперек продольной оси турбореактивного авиационного двигателя, с возможностью смещения фиксирующего элемента вдоль нее. Изобретение позволяет повысить прочность плоского сопла за счет уменьшения деформации сверхзвуковых створок, обеспечить герметичное сочленение дозвуковых и сверхзвуковых створок с боковыми стенками сопла, а также снизить массу плоского сопла в целом. 2 з.п. ф-лы, 5 ил.

Формула изобретения

1. Плоское сопло турбореактивного авиационного двигателя, содержащее корпус, дозвуковые створки, шарнирно прикрепленные к корпусу, сверхзвуковые створки, шарнирно соединенные с дозвуковыми, и внешние створки, одним концом шарнирно прикрепленные к корпусу, а другим соединенные со сверхзвуковыми створками, отличающееся тем, что оно дополнительно снабжено силовыми элементами, каждый из которых установлен со стороны наружной поверхности любой из сверхзвуковых створок, поперек продольной оси турбореактивного авиационного двигателя, и соединен с последней посредством нечетного числа крепежных соединений, расположенных вдоль него, при этом каждое из крепежных соединений выполнено в виде двух соединительных элементов с проушинами, жестко соединенных с силовым элементом и сверхзвуковой створкой соответственно, и фиксирующего элемента, кроме того, одна из проушин в каждом из крепежных соединений, кроме крепежного соединения, расположенного наиболее близко к продольной оси симметрии соответствующей сверхзвуковой створки, выполнена вытянутой поперек продольной оси турбореактивного авиационного двигателя, с возможностью смещения фиксирующего элемента вдоль нее.

2. Плоское сопло по п. 1, отличающееся тем, что любой из силовых элементов установлен симметрично относительно продольной оси симметрии соответствующей сверхзвуковой створки, крепежные соединения любого из силовых элементов с соответствующей сверхзвуковой створкой расположены с равным шагом, а одно из крепежных соединений расположено непосредственно на продольной оси симметрии последней.

3. Плоское сопло по п. 1, отличающееся тем, что длина любого из силовых элементов составляет 75-90% от ширины соответствующей сверхзвуковой створки в месте крепления к ней силового элемента.

Описание

[1]

Изобретение относится к области авиационного двигателестроения, в частности к конструкции плоских сопел турбореактивных двигателей (ТРД).

[2]

Известно плоское сопло ТРД, содержащее корпус, дозвуковые створки, шарнирно прикрепленные к корпусу, сверхзвуковые створки, шарнирно соединенные с дозвуковыми створками, и внешние створки, одним концом шарнирно прикрепленные к корпусу, а другим - соединенные со сверхзвуковыми створками (RU 2445486).

[3]

Данное техническое решение выбрано в качестве прототипа.

[4]

Недостаток предложенной конструкции плоского сопла состоит в том, что сверхзвуковые створки под действием газового потока деформируются, что приводит к образованию зазоров между боковыми стенками корпуса и створками сопла и, как следствие, к утечкам газа и снижению тяги двигателя.

[5]

Другим недостатком является чрезмерная массивность сверхзвуковых створок, так как их рабочие температуры очень высоки, а прочностные свойства их материала соответственно невысокие и, вследствие этого для обеспечения необходимой прочности створки должны быть изготовлены с большой толщиной стенок.

[6]

Техническим результатом, достигаемым при использовании заявленного изобретения, является повышение прочности плоского сопла за счет уменьшения деформации сверхзвуковых створок. Кроме того, обеспечивается герметичное сочленение дозвуковых и сверхзвуковых створок с боковыми стенками сопла, а также снижение массы плоского сопла в целом.

[7]

Указанные технические эффекты достигаются тем, что в известном плоском сопле турбореактивного авиационного двигателя, содержащем корпус, дозвуковые створки, шарнирно прикрепленные к корпусу, сверхзвуковые створки, шарнирно соединенные с дозвуковыми, и внешние створки, одним концом, шарнирно прикрепленные к корпусу, а другим - соединенные со сверхзвуковыми створками, согласно настоящему изобретению, оно дополнительно снабжено силовыми элементами, каждый из которых установлен со стороны наружной поверхности любой из сверхзвуковых створок, поперек продольной оси турбореактивного авиационного двигателя и соединен с последней посредством нечетного числа крепежных соединений, расположенных вдоль него, при этом каждое из крепежных соединений выполнено в виде двух соединительных элементов с проушинами, жестко соединенных с силовым элементом и сверхзвуковой створкой соответственно, и фиксирующего элемента, кроме того одна из проушин в каждом из крепежных соединений, кроме крепежного соединения, расположенного наиболее близко к продольной оси симметрии соответствующей сверхзвуковой створки, выполнена вытянутой поперек продольной оси турбореактивного авиационного двигателя, с возможностью смещения фиксирующего элемента вдоль нее.

[8]

Такая конструкция позволяет увеличить прочность и жесткость сверхзвуковой створки, обеспечив при этом возможность независимых друг от друга тепловых расширений сверхзвуковой створки и силового элемента и как следствие, отсутствие в конструкции термических напряжений, которые могут привести к значительным деформациям створки.

[9]

Так как сверхзвуковая створка работает на изгиб совместно с силовым элементом, обладающим высокой прочностью и жесткостью, то ее деформации значительно уменьшаются, что предотвратит образование зазоров между сверхзвуковыми створками и боковыми стенками сопла и, как следствие, утечек газа в них и снижения из-за этого тяги двигателя. Температура силового элемента ниже, чем у створки, соответственно возможно применение в его конструкции менее жаропрочных материалов с меньшей плотностью, чем материал створки и за счет этого снизить массу конструкции. Выполнение проушин вытянутыми поперек продольной оси турбореактивного авиационного двигателя позволяет избежать возникновения тепловых напряжений в конструкции и, как следствие деформаций из-за них, так как это обеспечивает независимые друг от друга расширения створки и силового элемента при их нагреве. Кроме того, т.к. в крепежном соединении, расположенном наиболее близко к продольной оси симметрии соответствующей сверхзвуковой створки, обе проушины в соединительных элементах выполнены в виде круглых отверстий, а общее число крепежных соединений нечетное, то тепловое расширение створки относительно силового элемента не сказывается на их взаимном расположении, что позволяет обеспечить равномерность распределения нагрузок в конструкции.

[10]

Также для обеспечения равномерности распределения нагрузок в конструкции предпочтительно, чтобы любой из силовых элементов был установлен симметрично относительно продольной оси симметрии соответствующей сверхзвуковой створки, крепежные соединения любого из силовых элементов с соответствующей сверхзвуковой створкой, расположены с равным шагом, а одно из крепежных соединений расположено непосредственно на продольной оси симметрии последней.

[11]

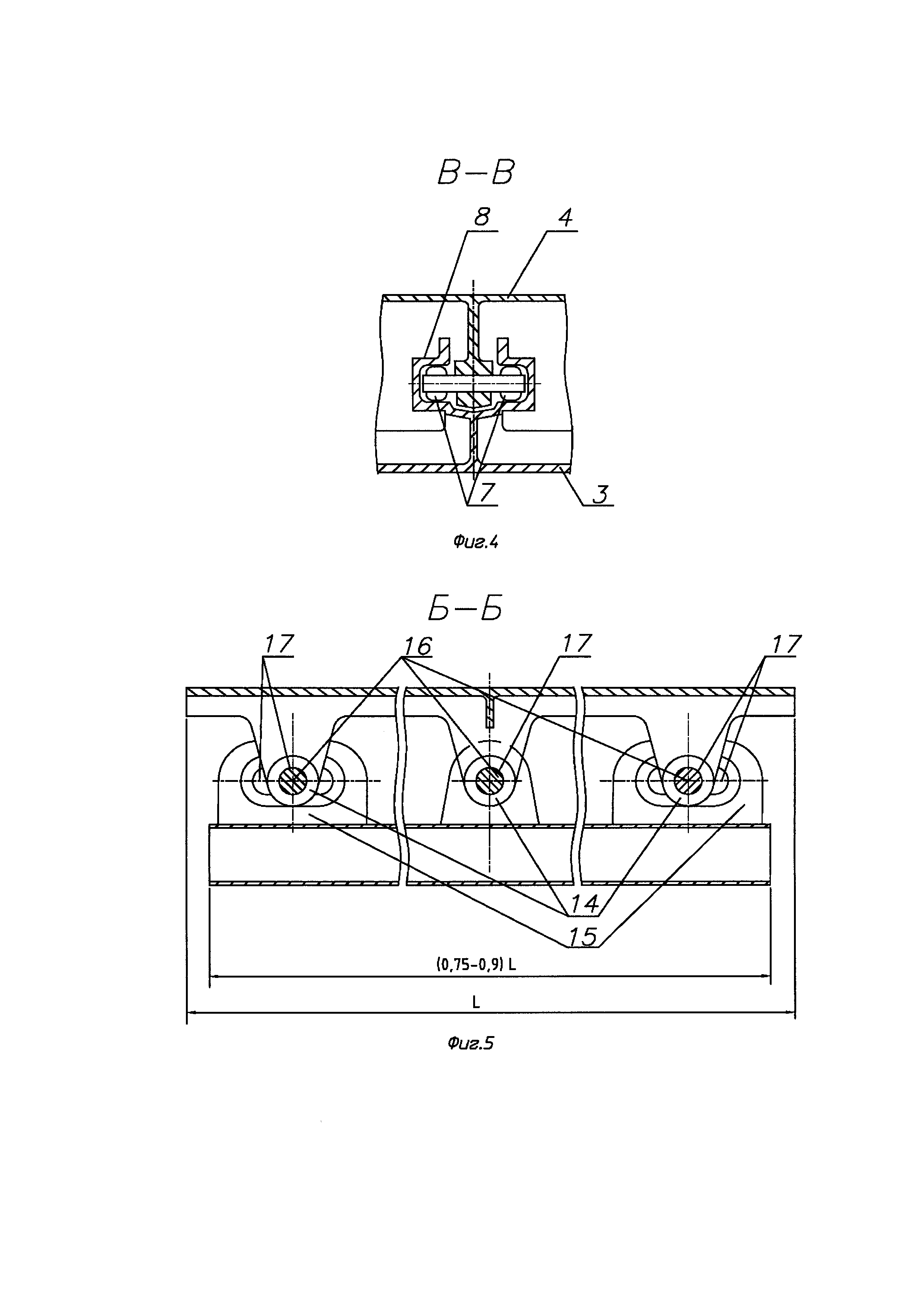
Предпочтительно чтобы длина (L) любого из силовых элементов составляла 75-90% от ширины соответствующей сверхзвуковой створки ((0,75-0,9)L) в месте крепления к ней силового элемента (см. фиг. 5).

[12]

При длине меньше 75% будет иметь место повышенная деформация боковых краев створки, длина свыше 90% нецелесообразна, так как участки силового элемента, расположенные между его концами и крайними его же соединительными элементами не участвуют в совместной со створкой работе на изгиб.

[13]

Сущность предложенного технического решения поясняется чертежами:

[14]

Фиг. 1 представлен продольный разрез плоского сопла турбореактивного авиационного двигателя,

[15]

Фиг. 2 - вид Г,

[16]

Фиг. 3 - элемент А,

[17]

Фиг. 4 - сечение В-В,

[18]

Фиг. 5 - сечение Б-Б.

[19]

Плоское сопло турбореактивного авиационного двигателя, содержит корпус 1, дозвуковые створки 2, шарнирно прикрепленные к корпусу 1, сверхзвуковые створки 3, шарнирно соединенные с дозвуковыми створками 2, и внешние створки 4, передним концом 5 шарнирно прикрепленные к корпусу 1, а задней частью 6 с помощью роликов 7 заведены в направляющие 8, выполненные в виде пазов 9 на сверхзвуковых створках 3.

[20]

Плоское сопло снабжено силовыми элементами 10 (выполненных например, в виде стержня, трубы круглого прямоугольного или другого сечения, балки, например, таврового сечения и т.д.), каждый из которых установлен со стороны наружной поверхности 11 одной из сверхзвуковых створок 3 поперек продольной оси 12 турбореактивного авиационного двигателя и соединен с последней посредством нечетного числа (например, 3, 5, 7 и т.п., в зависимости от размера сверхзвуковых створок) крепежных соединений 13, расположенных вдоль него (вдоль его длины). Каждое из крепежных соединений 13 выполнено в виде двух соединительных элементов 14 и 15 (например, уголков, пластин и т.п.), жестко соединенных (например, методом сварки, литья и т.п.) с соответствующими сверхзвуковой створкой и силовым элементом 10, жестко соединенных с силовым элементом 10 и сверхзвуковой створкой 3 соответственно, и фиксирующим элементом 16 (например, болт, палец и т.п.) через проушины 17. При этом одна из проушин 17 в каждом из крепежных соединений, кроме крепежного соединения, расположенного наиболее близко к продольной оси симметрии 18 соответствующей сверхзвуковой створки 3, выполнена вытянутой поперек продольной оси турбореактивного авиационного двигателя, с возможностью смещения фиксирующего элемента 16 вдоль нее, а остальные проушины в поперечном разрезе имеют форму круга (см фиг. 5).

[21]

Любой из силовых элементов 10 установлен симметрично относительно продольной оси 18 симметрии соответствующей сверхзвуковой створки 3, крепежные соединения 13 любого из силовых элементов 10 с соответствующей сверхзвуковой створкой, расположены с равным шагом, а одно из крепежных соединений 13 расположено непосредственно на продольной оси симметрии 18 последней.

[22]

Длина любого из силовых элементов 10 составляет 75-90% от ширины соответствующей сверхзвуковой створки в месте крепления к ней силового элемента.

[23]

Под действием газовых сил сверхзвуковая створка 3 начинает изгибаться вокруг своей продольной оси 18, изгибая также соединенный с ней силовой элемент 10. Так как прочность и жесткость этих соединенных вместе деталей значительно больше, чем прочность и жесткость одной сверхзвуковой створки 3, то напряжения и деформации последней существенно ниже, чем при работе без силового элемента 10. Ввиду того, что температура сверхзвуковой створки 3 выше, чем температура силового элемента 10, то и ее тепловое расширение при работе сопла больше. Для компенсации разницы этих расширений в каждом крепежном элементе 13, кроме расположенного вблизи продольной оси симметрии створки 18, одна из проушин 17, находящаяся на сверхзвуковой створке 3 или на силовом элементе 10, выполнена, вытянутой вдоль силового элемента 10 (см. фиг. 5).

[24]

Такое выполнение конструкции позволяет повысить прочность и жесткость сверхзвуковой створки 3, при этом обеспечив свободу ее теплового расширения относительно силового элемента 10, вследствие чего в конструкции не возникает тепловых напряжений, которые также могут привести к значительным деформациям.

[25]

В виду того, что рабочая температура силового элемента 10 значительно ниже, чем у сверхзвуковой створки 3, то его можно изготавливать из менее жаропрочных материалов, в том числе и с меньшим удельным весом, что позволит снизить массу и стоимость створки, сопла и двигателя в целом.

Как компенсировать расходы
на инновационную разработку
Похожие патенты