патент
№ RU 2704086
МПК E21C39/00

Способ определения напряженного состояния массива горных пород

Авторы:
Николенко Петр Владимирович
Номер заявки
2019123308
Дата подачи заявки
24.07.2019
Опубликовано
23.10.2019
Страна
RU
Как управлять
интеллектуальной собственностью
Чертежи 
1
Реферат

Изобретение относится к горному делу и предназначено для определения величины вертикального напряжения в конструктивных элементах систем разработки, например целиках. Способ включает бурение скважины с отбором керна, который подвергают направленному вдоль диаметра возрастающему механическому нагружению, измерение скоростей распространения упругих волн в массиве вдоль скважины и в керне вдоль его оси, по результатам сравнения которых судят о вертикальных напряжениях в массиве. При этом керн и исследуемый участок массива дополнительно нагревают в диапазоне температур ΔT, строят зависимость скорости распространения упругих волн в керне в функции от температуры и приложенного напряжения V=ƒ(Т, σ), а также зависимость скорости распространения упругих волн в массиве в функции от температуры, при этом величину вертикальных напряжений в массиве принимают равной величине напряжений в керне, при которой в них наблюдается наибольшее совпадение температурных зависимостей скорости распространения упругих волн. Технический результат заключается в повышении точности определения величины вертикальных напряжений в массиве горных пород. 3 ил.

Формула изобретения

Способ определения напряженного состояния массива горных пород, включающий бурение скважины с отбором керна, который подвергают направленному вдоль диаметра возрастающему механическому нагружению, измерение скоростей распространения упругих волн в массиве вдоль скважины и в керне вдоль его оси, по результатам сравнения которых судят о вертикальных напряжениях в массиве, отличающийся тем, что керн и исследуемый участок массива дополнительно нагревают в диапазоне температур ΔT, строят зависимость скорости распространения упругих волн в керне в функции от температуры и приложенного напряжения V=ƒ(Т, σ), а также зависимость скорости распространения упругих волн в массиве в функции от температуры, при этом величину вертикальных напряжений в массиве принимают равной величине напряжений в керне, при которой в них наблюдается наибольшее совпадение температурных зависимостей скорости распространения упругих волн.

Описание

[1]

Изобретение относится к горному делу и предназначено для определения величины вертикального напряжения в конструктивных элементах систем разработки, например целиках.

[2]

Известен способ определения напряженного состояния массива горных пород, включающий прозвучивание ультразвуковыми импульсами участков массива, расположенных между параллельными скважинами на разной их глубине, измерение длительности переднего фронта каждого из принятых ультразвуковых импульсов, по относительному изменению которой с глубиной судят о распределении напряжения в окрестностях горной выработки, при этом глубина, на которой отмечен минимум длительности переднего фронта ультразвукового импульса соответствует максимуму зоны опорного давления (Авторское свидетельство СССР №1149010 кл. Е21С 39/00, опубл. в Б.И. №13 от 07.04.85 г.).

[3]

Недостатком известного способа является то, что он не позволяет определять абсолютные значения напряжений в окрестностях горных выработок, а обеспечивает лишь получение информации о пространственном их распределении и глубине зоны опорного давления.

[4]

Наиболее близким по технической сущности к предлагаемому изобретению является способ определения напряженного состояния массива горных пород, включающий бурение скважины с отбором керна, который подвергают направленному вдоль диаметра возрастающему механическому нагружению, измерение скоростей распространения упругих волн в массиве вдоль скважины и в керне вдоль его оси, по результатам сравнения которых судят о вертикальных напряжениях в массиве (Способ определения напряженного состояния массива горных пород: Авторское свидетельство SU №1239319 кл. Е21С 39/00, опубл. в Б.И. №23 от 23.06.86 г.).

[5]

Недостатком известного способа является низкая точность определения величины действующего в массиве вертикального напряжения, что обусловлено малой чувствительностью скорости распространения упругой волны к изменению напряжений. Например, при увеличении напряжений в известняке от 3-х до 9-и МПа при температуре 20°С скорость V распространения продольной упругой волны изменяется менее, чем на 1%, что соизмеримо с погрешностью измерения современных ультразвуковых приборов.

[6]

В настоящей заявке решается задача достижения технического результата, заключающегося в повышении точности определения величины вертикального напряжения в массиве горных пород.

[7]

Для решения поставленной задачи в способе определения напряженного состояния массива горных пород, включающем бурение скважины с отбором керна, который подвергают направленному вдоль диаметра возрастающему механическому нагружению, измерение скоростей распространения упругих волн в массиве вдоль скважины и в керне вдоль его оси, по результатам сравнения которых судят о вертикальных напряжениях в массиве, керн и исследуемый участок массива дополнительно нагревают в диапазоне температур ΔT, строят зависимость скорости распространения упругих волн в керне в функции от температуры и приложенного напряжения V=ƒ(Т, σ), а также зависимость скорости распространения упругих волн в массиве в функции от температуры, при этом величину вертикальных напряжений в массиве принимают равной величине напряжений в керне, при которой в них наблюдается наибольшее совпадение температурных зависимостей скорости распространения упругих волн

[8]

Предлагаемый способ базируется на экспериментально установленной закономерности, заключающейся в том, что температурная зависимость скорости распространения упругих волн в геоматериале V=ƒ(T) существенно более чувствительна к изменению его напряженно-деформированного состояния Δσ, чем просто величина указанной скорости V. Это связано с тем, что даже незначительное нагревание геоматериала, приводит к изменениям его упругих модулей и поврежденности, которые достаточно сильно влияют на величину V.

[9]

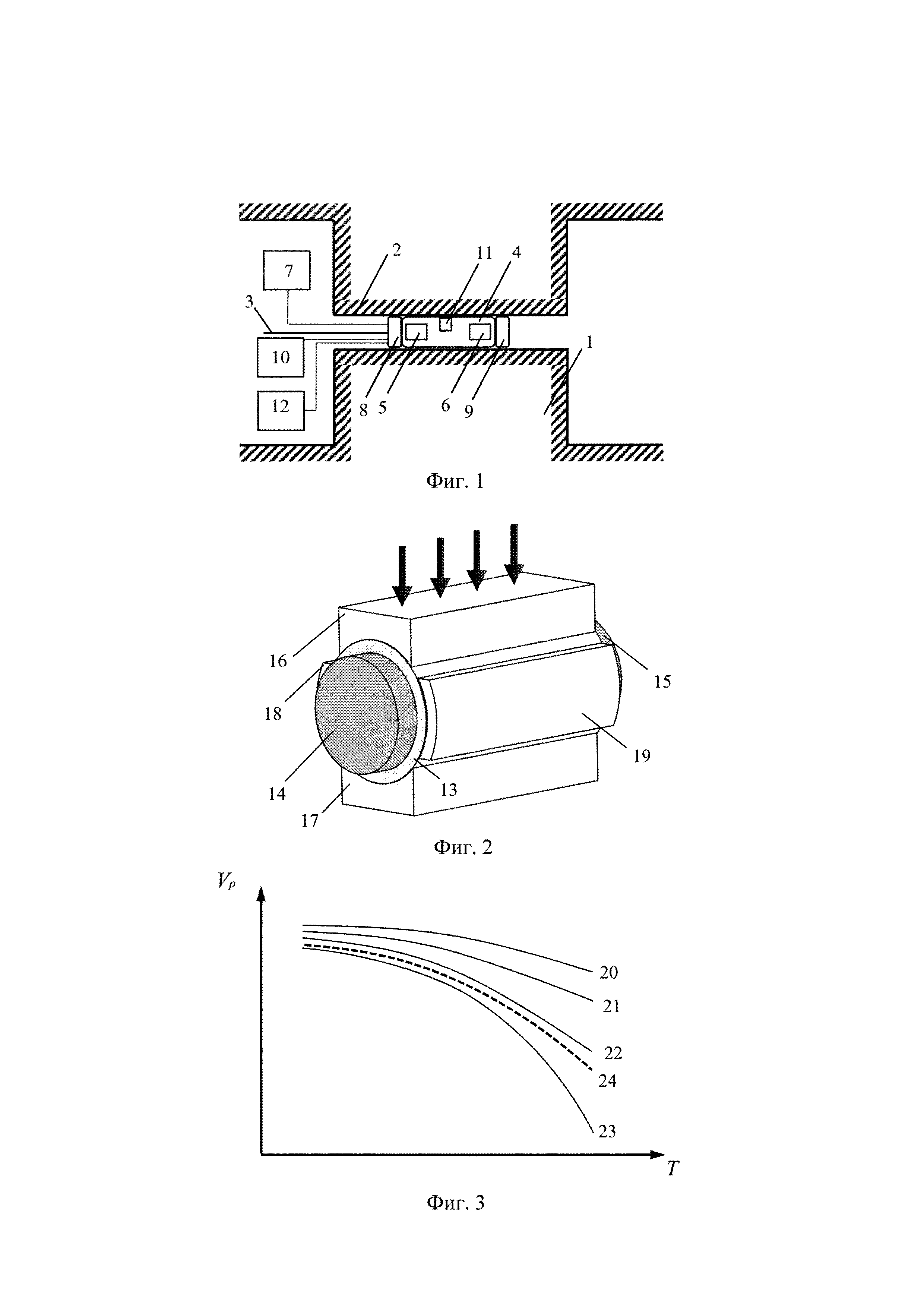
Способ определения напряженного состояния массива горных пород в окрестностях выработки иллюстрируется фиг. 1, фиг. 2 и фиг. 3, где на фиг. 1 представлена схема проведения ультразвуковых измерений в контрольной скважине, на фиг. 2 - схема проведения ультразвуковых измерений в керне, на фиг. 3 - температурные зависимости скорости распространения продольных упругих волн, измеренной вдоль оси керна при различных значениях напряжений σi, создаваемых в его диаметральном направлении, а также скорости распространения продольных упругих волн, измеренной в массиве вдоль скважины.

[10]

Схема, представленная на фиг. 1, включает пройденную в целике 1 измерительную скважину 2, в которой с помощью досылочной штанги 3 размещен на заданной глубине ультразвуковой зонд 4. В зонде 4 размещены излучающий акустический преобразователь 5 и приемный акустический преобразователь 6, подключенные к ультразвуковому измерительному прибору 7. На торцевых поверхностях зонда 4 закреплены электронагревательные элементы 8 и 9, подключенные к управляемому источнику питания 10. В центральной части зонда 4 закреплен с возможностью контактирования со стенками скважины 2 термоэлектрический преобразователь 11, подключенный к терморегистратору 12.

[11]

На фиг. 2 представлен выбуренный из контрольной скважины керн 13, на торцевых поверхностях которого закреплены излучающий акустический пьезопреобразователь 14 и приемный акустический пьезопреобразователь 15, которые подключаются к ультразвуковому измерительному прибору (на фиг. 2 условно не показан). На диаметрально противоположных (по вертикали) сторонах керна 13 размещены верхний пуансон 16 и нижний пуансон 17, через которые на керн осуществляется механическое воздействие, создающее заданное напряженное состояние σi.На диаметрально противоположных (по горизонтали) сторонах керна 13 размещены управляемые электронагревательные элементы 18 и 19, обеспечивающие его нагревание в определенном температурном диапазоне

[12]

На фиг. 3 кривые 20, 21, 22, 23 отражают температурные зависимости скорости распространения упругих волн, измеренные вдоль оси керна при диаметральном напряжении в нем σ1, σ2, σ3, σ4 соответственно; кривая 22 отражает температурную зависимость скорости распространения упругих волн, измеренную в массиве вдоль скважины.

[13]

Способ определения напряженного состояния массива горных пород осуществляют следующим образом. В контролируемом целике 1 с использованием колонкового инструмента бурят измерительную скважину 2, из которой извлекают керн 13. На заданной глубине скважины 1 с помощью досылочной штанги 3 размещают ультразвуковой зонд 4 с излучающим акустическим преобразователем 5 и приемным акустическим преобразователем 6, которые подключают к ультразвуковому измерительному прибору 7. Закрепленные на торцевых поверхностях зонда 4 электронагревательные элементы 8 и 9 подключают к управляемому источнику питания 10, а термоэлектрический преобразователь 11 - к терморегистратору 12. Используя пневмоприжим, обеспечивают надежный акустический контакт акустических преоборазователей 5 и 6 и тепловой контакт термоэлектрического преобразователя 11 со стенками скважины 2. Проводят измерение скорости V распространения упругих волн вдоль скважины на исследуемом участке массива при одновременном изменении его температуры Т.

[14]

В результате получают зависимость 24 (см. фиг. 3) изменения скорости V распространения упругих волн в массиве вдоль скважины в функции от температуры Т, т.е. V=ƒ(T).

[15]

На противоположных торцевых поверхностях извлеченного из исследуемого участка скважины 2 керна 13 (см. фиг. 2) с обеспечением акустического контакта закрепляют излучающий акустический пьезопреобразователь 14 и приемный акустический пьезопреобразователь 15, которые подключают к ультразвуковому измерительному прибору (на фиг. 2 условно не показан). Далее, керн 13 дискретно нагружают механически вдоль диаметра, совпадающего с вертикальным направлением в массиве, до напряжений σ1, σ2, σ3, σ4 и т.д. Нагружение осуществляют через верхний пуансон 16 и нижний пуансон 17, внутренняя поверхность которых совпадает с образующей керна 13, а внешняя является плоской, воспринимающей давление пресса (на фиг. 2 условно не показан). При каждом конкретном значении σi керн 13 нагревают с использованием управляемых электронагревательных элементов 18 и 19 в диапазоне температур ΔT. В результате получают набор температурных зависимостей 20, 21, 22, 23 скорости V распространения упругих волн в керне 13 для каждого дискретного значения напряжений σi.

[16]

Полученные экспериментально температурные зависимости 20, 21, 22, 23 скорости распространения упругих волн в керне сравнивают с температурной зависимостью 24 скорости распространения упругих волн в массиве. Далее, находят ту из зависимостей 20, 21, 22, 23 скорости распространения упругих волн в керне, которая в наибольшей степени совпадает с температурной зависимостью 24 скорости распространения упругих волн в массиве. Величину напряжений σi в керне, при которой имеет место температурная зависимость скорости распространения упругих волн, наиболее близкая к температурной зависимости скорости распространения упругих волн в массиве, принимают за величину вертикальных напряжений в нем.

[17]

Описанный способ позволяет определить значение вертикальных напряжений, действующих в массиве. Повышение точности такого определения достигается за счет того, что по сравнению со скоростью распространения упругих волн, ее температурная зависимость существенно более чувствительна к изменению напряжений.

[18]

Описанный способ испытывался в лабораторных условиях в два этапа. На первом этапе в кубическом блоке известняка со стороной 300 мм с помощью колонкового бурения оборудовалось сквозное отверстие диаметром 42 мм. Из отобранного керна изготавливался цилиндрический образец диаметром 40 мм и высотой 80 мм на боковые стороны которого наклеивались гибкие нагревательные элементы. Контроль над температурой нагрева осуществлялся с помощью термопарного датчика. Образец помещался в специально изготовленные стальные пуансоны, позволяющие передавать нагрузку от пресса на боковую поверхность цилиндра. На торцевых поверхностях закреплялись пьезоэлектрические преобразователи с резонансной частотой 200 кГц, подключенные к дефектоскопу УД2Н-ПМ. Подготовленный таким образом образец подвергался ступенчатому нагружению вдоль диаметра в диапазоне от 0 МПа до 14 МПа с шагом 0,5 МПа. На каждой ступени нагружения температура образца изменялась в диапазоне от 20°С до 50°С при одновременном измерении скорости прохождения продольных волн Vобр. Таким образом, были получены пятнадцать зависимостей соответствующих разным уровням механической нагрузки. При этом диапазон изменения скоростей при температуре 20°С составил 18 м/с, а при температуре 50°С - 183 м/с.

[19]

В рамках второго этапа кубический образец с центральным отверстием размещался под прессом с максимальным развиваемым усилием до 1000 кН. В отверстии размещался специально изготовленный зонд, состоящий из двух нагревательных элементов, излучающего и приемного пьезопреобразователя (с резонансной частотой 200 кГц) и термопарного датчика температуры, расположенного в центре зонда. Далее кубический образец подвергался одноосному сжатию до уровня 10,3 МПа. По достижению указанного уровня нагрузки производился нагрев центральной части образца в диапазоне от 20°С до 50°С, при этом непрерывно производилось измерение скорости продольных волн Vскв в стенках скважины. Таким образом была получена зависимость Vскв(T). Для указанной зависимости с помощью метода наименьших квадратом подбиралась наиболее близкая зависимость которой по результатам эксперимента оказалась зависимость, полученная при уровне нагрузки на боковую поверхность цилиндрического образца, равной 10,5 МПа.

[20]

Таким образом, погрешность определения вертикального напряжения предлагаемым способом не превысила 5%. В то же время измерения, проведенные в соответствие со способом прототипом, показали, что он обеспечивает оценку вертикальных напряжений с погрешностью не менее 10%.

Как компенсировать расходы
на инновационную разработку
Похожие патенты