патент
№ RU 2691746
МПК H02H9/02

ТОКООГРАНИЧИВАЮЩЕЕ УСТРОЙСТВО НА ОСНОВЕ ВЫСОКОТЕМПЕРАТУРНОЙ СВЕРХПРОВОДИМОСТИ

Авторы:
Сотников Дмитрий Викторович Мойзых Михаил Евгеньевич Самойленков Сергей Владимирович
Все (4)
Номер заявки
2018142077
Дата подачи заявки
29.11.2018
Опубликовано
18.06.2019
Страна
RU
Как управлять
интеллектуальной собственностью
Чертежи 
3
Реферат

Использование: в области электротехники. Технический результат – уменьшение напряженности электрического поля между сборкой токоограничивающих модулей и заземленными стенками криостата и, как следствие, повышение электрической прочности токоограничителя. Токоограничивающее устройство на основе высокотемпературной сверхпроводимости содержит: цилиндрический криостат, выполненный с возможностью заполнения его криогенной средой; установленную в криостате сборку сверхпроводящих токоограничивающих модулей, соединенных между собой, где каждый модуль выполнен в виде катушки намотанной высокотемпературной сверхпроводящей ленты; защитный экран, размещенный вокруг упомянутой сборки соосно оси упомянутой сборки и выполненный в виде полого цилиндрического элемента с торцевыми фланцами, где цилиндрический элемент изготовлен составным из деталей в форме эллиптического полутора, а каждый торцевой фланец выполнен в виде полуэллипсоида вращения; подводящий и отводящий изолированные токовводы, где каждый токоввод одним концом соединен со сборкой упомянутых модулей, а вторым концом - с электрической сетью. 6 з.п. ф-лы, 5 ил.

Формула изобретения

1. Токоограничивающее устройство на основе высокотемпературной сверхпроводимости, содержащее:

цилиндрический криостат, выполненный с возможностью его заполнения криогенной средой;

установленную в криостате сборку сверхпроводящих токоограничивающих модулей, соединенных между собой, где каждый модуль выполнен в виде катушки намотанной высокотемпературной сверхпроводящей ленты;

защитный экран, размещенный вокруг упомянутой сборки соосно оси упомянутой сборки и выполненный в виде полого цилиндрического элемента с торцевыми фланцами, где цилиндрический элемент изготовлен составным из деталей в форме эллиптического полутора, а каждый торцевой фланец выполнен в виде полуэллипсоида вращения;

подводящий и отводящий изолированные токовводы, где каждый токоввод одним концом соединен со сборкой упомянутых модулей, а вторым концом - с электрической сетью.

2. Токоограничивающее устройство по п. 1, в котором упомянутый защитный экран выполнен из металла или сплава, стойкого к криогенным средам.

3. Токоограничивающее устройство по п. 1, в котором в торцевых фланцах выполнены отверстия, обеспечивающие соединение сборки модулей с токовводами.

4. Токоограничивающее устройство по п. 1, в котором криостат имеет горизонтальную ориентацию и выполнен с колодцами, смонтированными в верхней части криостата с возможностью размещения в них упомянутых изолированных токовводов.

5. Токоограничивающее устройство по п. 1, в котором изолированные токовводы выполнены в твердой изоляции.

6. Токоограничивающее устройство по п. 1, в котором модули в сборке соединены соединительными шинами.

7. Токоограничивающее устройство по п. 1, в котором сборка модулей соединена с отводящим и подводящим токовводами посредством отводящей и подводящей шин.

Описание

[1]

ОБЛАСТЬ ТЕХНИКИ.

[2]

Изобретение относится к области электротехники, в частности к высокотемпературным сверхпроводящим токоограничивающим устройствам (ТОУ), работающим в среде жидкого азота.

[3]

УРОВЕНЬ ТЕХНИКИ.

[4]

Режим ограничения тока является возможным благодаря уникальному свойству сверхпроводников, а именно нелинейности возрастания сопротивления материала. В зависимости от рода и типа сверхпроводника ограничение тока может протекать при разных условиях, с различными потерями и разным временем ограничения, но основной принцип в них один и тот же: при протекании тока выше, чем критический ток заложенного в устройство сверхпроводника, материал начинает переходить из сверхпроводящего состояние в нормальное, вследствие чего возникает сопротивление, препятствующее возрастанию тока.

[5]

Необходимым условием функционирования ТОУ на основе высокотемпературной сверхпроводимости является создание низкой температуры, при которых сверхпроводник переходит в сверхпроводящее состояние. В случае с применением высокотемпературных сверхпроводников (ВТСП) достаточное и эффективное охлаждение организуется за счет использования жидкого азота в качестве хладагента. Помимо безопасности и дешевизны, жидкий азот также обладает хорошими электроизоляционными свойствами, по своим характеристикам являясь близким к широко применяемому трансформаторному маслу.

[6]

В патенте RU 2639316 раскрывается токоограничивающее сверхпроводящее устройство на основе высокотемпературной сверхпроводимости, включающее сборку установленных в криостате сверхпроводящих модулей ограничителя тока, подводящую и отводящую шины и токовводы, где сверхпроводящие модули электрически и механически связаны с подводящей и отводящей шинами с образованием электрического параллельного соединения сверхпроводящих модулей, при этом упомянутые шины снабжены контактными выводами, расположенными на противоположных концах подводящей и отводящей шин и соединенными с токовводами.

[7]

Данное устройство обеспечивает стабильную эксплуатации сильноточного сверхпроводящего ограничителя тока за счет реализации одинакового подводящего и отводящего сопротивления в цепи к каждому модулю ограничителя тока, а также уменьшение габаритов конструкции и ее упрощение.

[8]

Наиболее близким высоковольтным ТОУ к предложенному является токоограничивающее сверхпроводящее устройство на основе высокотемпературной сверхпроводимости по патенту на полезную модель RU 183512.

[9]

Токоограничивающее устройство на основе высокотемпературной сверхпроводимости в соответствии с данным патентом содержит цилиндрический криостат, установленную в криостате сборку сверхпроводящих токоограничивающих модулей, соосно размещенных относительно горизонтальной оси криостата, колодцы, размещенные в верхней части криостата и установленные в колодцах подводящий и отводящий изолированные токовводы, где каждый токоввод одним концом соединен со сборкой упомянутых модулей, а вторым концом - с электрической сетью. Данная полезная модель обеспечивает стабильную эксплуатацию ВТСП ТОУ на напряжениях 220 кВ и более, а также позволяет упростить конструкцию ВТСП ТОУ. Однако в известном ВТСП ТОУ проблемой является возникновение достаточно ощутимой напряженности электрического поля между сборкой модулей и стенками криостата, вызванной возникающей неоднородностью электрического поля между указанными элементами за счет наличия мелких остроконечных, находящихся под потенциалом, элементов модулей и отсутствием сглаживающих электрические поля поверхностей, что снижает электрическую прочность токоограничивающего устройства. Избежать негативных последствий можно увеличивая габариты устройства, однако, в этом случае будет затруднена доставка данного устройства к месту эксплуатации, монтаж и использование, а также возрастет как минимум стоимость изготовления криостата, и следовательно, и самого устройства.

[10]

Все вышеперечисленные недостатки известного технического решения являются технической проблемой при реализации высоковольтных ТОУ.

[11]

РАСКРЫТИЕ СУЩНОСТИ ИЗОБРЕТЕНИЯ.

[12]

Устраняемой изобретением технической проблемой является уменьшение напряженности электрического поля между сборкой токоограничивающих модулей и заземленными стенками криостата в среде жидкого азота, которая применяется как хладагент для токоограничивающего элемента, вследствие чего повышается электрическая прочность токоограничителя, а также осуществляется уменьшение размеров криостата и сверхпроводящего токоограничивающего устройства.

[13]

Для этого токоограничивающее устройство на основе высокотемпературной сверхпроводимости, содержит:

[14]

цилиндрический криостат, выполненный с возможностью заполнения его криогенной средой;

[15]

установленную в криостате сборку сверхпроводящих токоограничивающих модулей, соединенных между собой, где каждый модуль выполнен в виде катушки намотанной высокотемпературной сверхпроводящей ленты;

[16]

защитный экран, размещенный вокруг упомянутой сборки соосно оси - упомянутой сборки и выполненный в виде полого цилиндрического элемента с торцевыми фланцами, где цилиндрический элемент изготовлен составным из деталей в форме эллиптического полутора, а каждый торцевой фланец выполнен в виде полуэллипсоида вращения;

[17]

подводящий и отводящий изолированные токовводы, где каждый токоввод одним концом соединен со сборкой упомянутых модулей, а вторым концом - с электрической сетью.

[18]

В частных воплощениях изобретения поставленная задача решается токоограничивающим устройством, в котором упомянутый защитный экран выполнен из металла или сплава, стойкого к криогенным средам.

[19]

Высоковольтное токоограничивающее устройство в котором криостат может иметь горизонтальную ориентацию и может быть выполнен с колодцами, смонтированными в верхней части криостата с возможностью размещения в них упомянутых изолированных токовводов.

[20]

Токоограничивающее устройство, в котором, в частных воплощениях, изолированные токовводы могут быть выполнены в твердой изоляции.

[21]

Токоограничивающее устройство, в котором, в частных воплощениях, модули в сборке могут быть соединены соединительными шинами.

[22]

Токоограничивающее устройство, в котором, в частных воплощениях, сборка модулей может быть соединена с отводящим и подводящим тоководами посредством отводящей и подводящей шин.

[23]

КРАТКОЕ ОПИСАНИЕ ЧЕРТЕЖЕЙ.

[24]

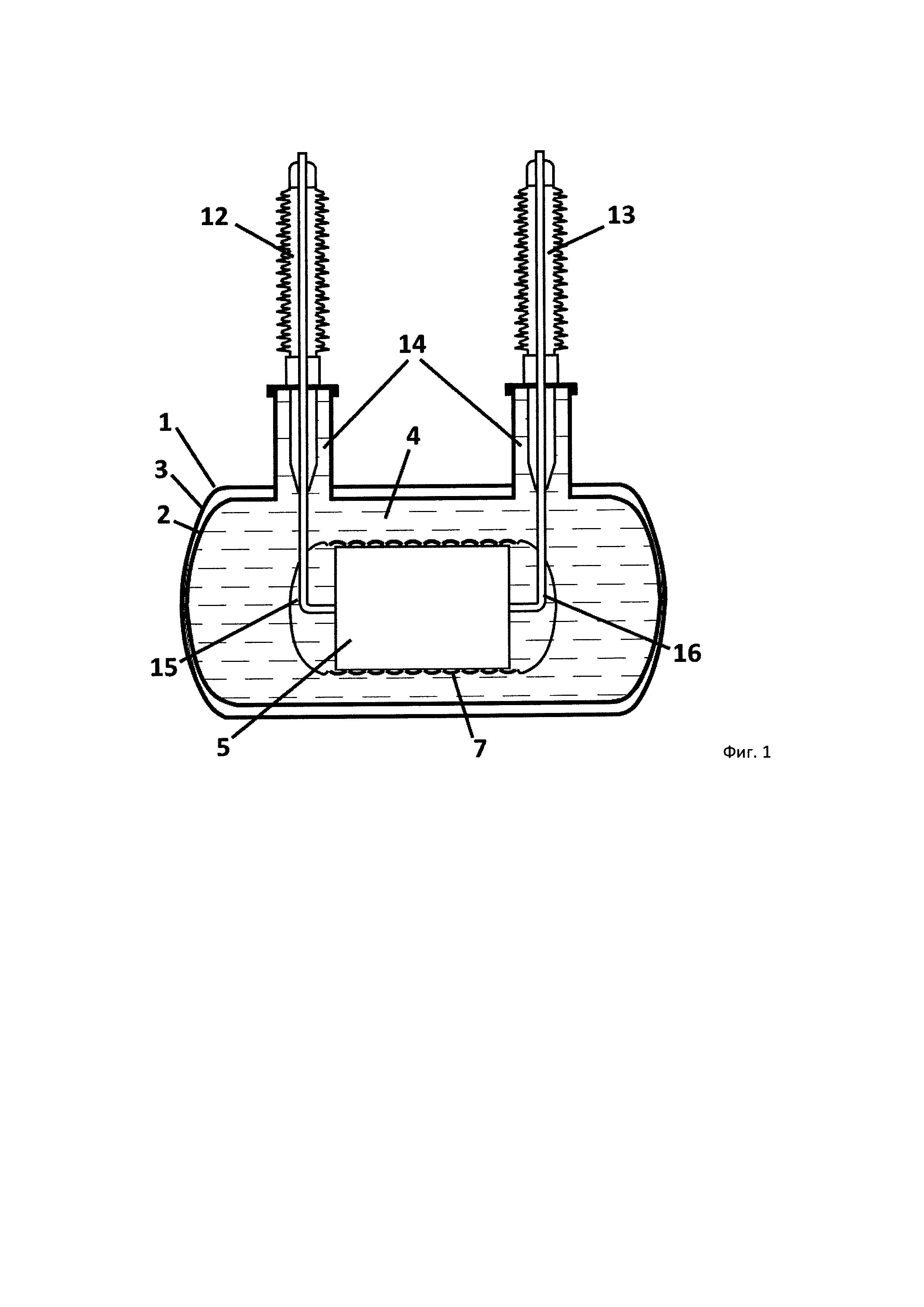
На фиг. 1 приведено схематическое изображение сверхпроводящего ограничителя тока.

[25]

На фиг. 2 приведено изображение защитного экрана токоограничивающего элемента без торцевых фланцев.

[26]

На фиг. 3 приведено изображение защитного экрана токоограничивающего элемента с торцевыми фланцами.

[27]

На фиг. 4 приведено изображение детали «Кольцо»

[28]

На фиг. 5 представлены данные по сравнению средней напряженности электрического поля для идентичного токоограничивающего элемента, но разного типа экранов «Кольцо»: в виде традиционного кольца и в виде эллиптического полутора.

[29]

Позиции на фигурах означают следующее.

[30]

1. Криостат

[31]

2. Внутренняя стенка криостата

[32]

3. Внешняя стенка криостата

[33]

4. Объем для размещения криогенной среды

[34]

5. Сборка сверхпроводящих токоограничивающих модулей

[35]

6. Сверхпроводящий токоограничивающий модуль

[36]

7. Составной защитный экран

[37]

8. Цилиндрический элемент защитного экрана

[38]

9. Деталь защитного экрана в форме полутора (деталь «Кольцо»)

[39]

10. Торцевые фланцы защитного экрана (деталь «Торцевой фланец»)

[40]

11. Отверстия для подводящих и отводящих шин, соединяющие сборку сверхпроводящих токоограничивающих модулей и токовводы.

[41]

12. Подводящий токоввод

[42]

13. Отводящий токоввод

[43]

14. Колодец

[44]

15. Подводящая шина

[45]

16. Отводящая шина

[46]

ОСУЩЕСТВЛЕНИЕ ИЗОБРЕТЕНИЯ.

[47]

Режим ограничения тока является возможным благодаря уникальному свойству сверхпроводников, а именно нелинейности возрастания сопротивления материала. В зависимости от рода и типа сверхпроводника ограничение тока может протекать при разных условиях, с различными потерями и разным временем ограничения, но основной принцип в них один и тот же: при протекании тока выше, чем критический ток заложенного в устройство сверхпроводника, материал начинает переходить из сверхпроводящего состояние в нормальное, вследствие чего возникает сопротивление, препятствующее возрастанию тока.

[48]

Необходимым условием функционирования сверхпроводящего ограничителя тока является создание низкой температуры, при которых сверхпроводник переходит в сверхпроводящее состояние. В случае с применением высокотемпературных сверхпроводников (ВТСП) достаточное и эффективное охлаждение организуется за счет использования жидкого азота в качестве хладагента. Помимо безопасности и дешевизны, жидкий азот также обладает хорошими электроизоляционными свойствами, по своим характеристикам являясь близким к широко применяемому трансформаторному маслу.

[49]

Как уже отмечалось, в конструкциях ВТСП ТОУ, применяющихся для последовательного включения в сеть 220 кВ для ограничения токов короткого замыкания, одной из основных проблем является возникновение достаточно ощутимой напряженности электрического поля между сборкой модулей и стенками криостата.

[50]

Частично это проблема решается увеличением габаритов конструкции, однако результаты не всегда удовлетворительны.

[51]

В настоящем техническом решении предлагается иное решение данной проблемы, а именно, данная проблема устраняется установкой защитного экрана, размещенного вокруг сборки токоограничивающих модулей соосно оси сборки и выполненного в виде полого цилиндрического элемента с торцевыми фланцами. Для этого цилиндрическая часть экрана выполнена составной, а именно, из деталей в форме эллиптического полутора, установленных друг за другом с некоторым зазором или примыкающих друг к другу (далее по тексту «Кольцо»).

[52]

Торцевые фланцы защитного экрана выполнены в виде полуэллипсоидов вращения (далее по тексту «Торцевой фланец»).

[53]

Подбор деталей двух различных форм («Кольца» и «Торцевого фланца») для создания защитного экрана обеспечивает минимальную напряженность электрического поля.

[54]

Предложенное устройство осуществляется следующим образом.

[55]

Высоковольтное токоограничивающее устройство (см. фиг. 1) на основе высокотемпературной сверхпроводимости включает горизонтальный цилиндрический криостат (1) с внутренней (2) и внешней (3) стенками и объемом (4) для размещения криогенной среды.

[56]

В криостате (1) установлена сборка (5) соосно размещенных сверхпроводящих токоограничивающих модулей.

[57]

Каждый сверхпроводящий токоограничивающий модуль (6) (см. фиг. 2) представляет собой катушку намотанной высокотемпературной сверхпроводящей ВТСП ленты. Модули (6) соединены в сборку посредством соединительных шин (не показаны).

[58]

Сборка модулей (5), в зависимости от конструктивных особенностей криостата (1), может быть установлена соосно оси криостата или параллельно его оси.

[59]

Вокруг сборки модулей (5) размещен защитный экран (7). Он расположен вокруг сборки (5) соосно оси упомянутой сборки.

[60]

Защитный сборный экран может быть выполнен из любого сплава, стойкого к криогенным средам. К таким сплавам, в частности, относятся такие, как сплавы алюминия, например, марки 6061, стали марок 06Н3А, 0Н6А, 0Н9А, AISI304, а также 12ХН3А и 18Х2Н4ВА.

[61]

Кроме того, защитный экран могут быть выполнен с нанесением металлической пленки (алюминий, медь, серебро, золото) на его поверхность.

[62]

Выбор материала и толщины экрана (7) обусловлен такими факторами, как сложность обработки материала и его прочность в среде жидкого азота, прочность устойчивость к деформации и масса конечного продукта, а также его стоимость.

[63]

Экран (7) включает полый составной цилиндрический элемент (8), изготовленный из деталей в форме эллиптического полутора (деталь «Кольцо») (9) и два торцевых фланца (деталь «Торцевой фланец») (10), выполненных в виде полуэллипсоидов вращения или полусфер.

[64]

Деталь экрана типа «Кольцо» (9) представляет собой кольцо с выпуклой поверхностью в форме эллиптического полутора, вырезанного из полого открытого эллиптического тора (см. фиг. 4) цилиндром, соосным с главной осью тора (ось С на фиг. 4), и радиусом, равным радиусу построенному по центру эллипсов (радиус r на фиг. 4), составляющих основное тело тора.

[65]

Выбор формы детали «Кольцо» (9) в виде эллиптического полутора является оптимальным для регулирования напряженности электрического поля. Как следует из фиг. 5, деталь экрана «Кольцо» (9) в форме эллиптического полутора уменьшает напряженность электрического поля более эффективно, чем деталь в форме кольца с плоской поверхностью: среднее значение напряженности электрического поля различно (2.36 кВ/мм для экранов по типу «выпуклого кольца» против 2.40 кВ/мм для экранов «плоских колец»). В зависимости от условий эксплуатации устройств, данное различие может быть больше и играть важную роль для электрической прочности устройства.

[66]

Таким образом, деталь типа «Кольцо» (9) в форме эллиптического полутора покрывает все острые кромки токоограничивающего элемента, выравнивает электрическое поле, и обеспечивает необходимую электрическую прочность между токоограничивающим элементом и внутренней стенкой криостата.

[67]

Выбор размера защитного экрана (7) обусловлен конкретными задачами и условиями функционирования ТОУ. Число деталей типа «Кольцо» (9) подбирается таким образом, чтобы уменьшить разность потенциалов между защитным экраном (7) и токоограничивающим модулем (5) и может варьироваться в зависимости от размера токоограничивающего модуля.

[68]

Деталь экрана типа «Торцевой фланец» (10) располагается по двум краям сборки модулей (5), замыкая цилиндрический элемент экрана (8) и представляет собой полуэллипсоид. Данная форма экранирует не только острые края токоограничивающего элемента, а также соединения подводящей и отводящей шин и токоограничивающего элемента - в деталях экрана типа «Торцевой фланец» размещены отверстия (11) с закругленными краями, куда подводятся подводящая и отводящая шина оттоковводов (13, 14).

[69]

При таком выполнении деталей защитного экрана (8, 9) контур стенки защитного экрана (7) повторяет контур сборки модулей (5).

[70]

Кольца (9) в цилиндрическом элементе и детали экрана типа «Торцевой фланец» (10) могут быть установлены с некоторым зазором по отношению друг к другу.

[71]

В корпусе криостата (1) размещают подводящий (12) и отводящий (13) в изолированные токоотводы и каждый из них соединяют со сборкой соосно размещенных сверхпроводящих токоограничивающих модулей (5). Для установки токовводов в криостате (1) используют колодцы (14).

[72]

Токовводы (12) и (13) выполняют в изоляции, в частности, в твердой изоляции. Однако, выбор изоляции не исчерпывается только применением твердой изоляции, возможно также использование любой другой возможной изоляции, например, газовой. Модули в сборке (5) соединены между собой соединительными шинами. Подводящий токоввод (12) соединен со сборкой модулей (5) посредством подводящей шины (15), а отводящий токоввод (12) соединен с набором модулей посредством отводящей шины (16).

[73]

Монтаж и работа ТОУ осуществляются следующим образом.

[74]

Для изготовления защитного экрана был использован сплав на основе алюминия в виде листа, толщиной 8 мм. Поверхность листа была обработана до шероховатости Ra3.2.

[75]

Было выполнено 10 защитных деталей экранов типа «Кольцо» и 2 защитных экрана типа «Торцевой фланец».

[76]

Установка сборки модулей (5) и защитного экрана (7) проходила непосредственно в криостате (1).

[77]

Каждая деталь «Кольцо» (9) соосно закреплялась на соответствующем сверхпроводящем токоограничивающем модуле (6) при помощи электрически изолированных металлических контактов. Такое решение позволяет снизить разность напряжений между соседними экранами, и повысить электрическую прочность устройства.

[78]

Детали типа «Кольцо» (9) с соответствующим модулем (6) устанавливались одна за другой на осевое крепление (не показано) с образованием цилиндрического элемента защитного экрана (8) с заключенной внутри его сборкой модулей (5). Цилиндрический элемент экрана (8) со сборкой модулей (5) подсоединялся к торцевым фланцам (9) защитного экрана при помощи гибких металлических тонких шин.

[79]

Торцевые фланцы (10) крепились на то же осевое крепление, на котором крепятся и сверхпроводящие токоограничивающие модули (6) и располагались соосно цилиндрическому элементу (8) и сборке модулей (5).

[80]

Затем сборка модулей (5), заключенная в защитный экран (7), через отверстия (11) в торцевых фланцах (10) подсоединяется к токовводам (13, 14), установленным в колодцах (14), с помощью подводящей и отводящей шин (15, 16). Затем в криостат заливается криогенная жидкость (4), а токовводы включаются в сеть. Таким образом, описанное высокотемпературное токоограничивающее устройство с защитным экраном в среде жидкого азота позволяет существенно уменьшить размеры сверхпроводящего устройства за счет уменьшения разности напряжений и повысить электрическую прочность устройства, что, в конечном итоге, сокращает расходы на дорогостоящее криогенное оборудование, уменьшает стоимость эксплуатации сверхпроводящего ограничителя тока, а также увеличивает надежность и долговечность эксплуатации устройства в среде жидкого азота.

Как компенсировать расходы
на инновационную разработку
Похожие патенты