патент
№ RU 2615606
МПК E01B9/68
Номер заявки
2015143471
Дата подачи заявки
12.10.2015
Опубликовано
05.04.2017
Страна
RU
Как управлять
интеллектуальной собственностью
Чертежи 
2
Реферат

[23]

Изобретение относится к конструкции железнодорожного пути, а именно к упругим элементам рельсового скрепления, устанавливаемого между подрельсовой подкладкой и железобетонной шпалой. Подрельсовая прокладка из многослойного упругого материала включает слои резины прямоугольной формы с кордом и рифлением по верхней поверхности резины в виде продольных и поперечных канавок со смещением относительно друг друга. Верхние слои резины содержат корд из металлической проволоки, направление которой в смежных слоях выполнено под углом друг к другу. Нижние слои прокладки содержат корд из текстиля с параллельным расположением нитей. С торцов прокладки между верхними и нижними слоями резины введены элементы треугольной формы с увеличением их сечения по направлению к торцу. Слои резины выполнены симметрично изогнутыми от середины к краям. Достигается возможность увеличения воспринимаемой площади подрельсовых прокладок и повышения их упругих свойств. 4 ил.

Формула изобретения

Подрельсовая прокладка из многослойного упругого материала, включающая слои резины прямоугольной формы с кордом и рифлением по верхней поверхности резины в виде продольных и поперечных канавок со смещением относительно друг друга, отличающаяся тем, что верхние слои резины содержат корд из металлической проволоки, направление которой в смежных слоях выполнено под углом друг к другу, нижние слои прокладки содержат корд из текстиля с параллельным расположением нитей, а с торцов прокладки между верхними и нижними слоями резины введены элементы треугольной формы с увеличением сечения по направлению к торцу, причем слои резины выполнены симметрично изогнутыми от середины к краям.

Описание

[1]

Изобретение относится к конструкции железнодорожного пути, а именно к упругим элементам рельсового скрепления, устанавливаемого между подрельсовой подкладкой и железобетонной шпалой.

[2]

Известна прокладка, представляющая собой прямоугольный лист из упругого материала, на двух противоположных сторонах которого выполнены вырезы для размещения крепежных элементов, а на двух других противолежащих сторонах прокладки верхние кромки срезаны под углом к нижней поверхности, образуя наклонные плоскости, сопрягающиеся с соответствующими боковыми поверхностями прокладки, см. авторское свидетельство SU №587875, МКИ2 E01B 9/54, 1978.

[3]

Недостатком известной прокладки является то, что выполненные из однородного материала (резины) листы не способны перераспределять нагрузку по площади контакта и в достаточной степени гасить вибрации. Это является причиной ее частых внеплановых замен вследствие преждевременного износа в процессе эксплуатации.

[4]

Кроме того, наличие сосредоточенной нагрузки не исключает возможности возникновения трещин на железобетонных шпалах и снижения общего срока службы рельсовых путей.

[5]

Известна также подрельсовая нашпальная прокладка-амортизатор, содержащая несколько горизонтально расположенных слоев, образованных из разных материалов: основа выполнена из мягкой резины, верхняя часть и основание армированы прорезиненными тканевыми слоями, два крайних, противоположно расположенных тканевых слоя по обе стороны прокладки обрезинены смесью с добавкой порошкообразного сверхвысокомолекулярного полиэтилена, см. патент RU №2378439, МПК E01B 9/68, E01B 9/54, 2010.

[6]

Недостатком известной подрельсовой нашпальной прокладки-амортизатора являются низкие эксплуатационные характеристики. Указанный недостаток обусловлен неоднородной структурой материала вследствие использования порошкообразного наполнителя, что в условиях длительного воздействия динамических нагрузок приводит к возникновению внутреннего трения и разрушениям слоев по ослабленным связям.

[7]

Наиболее близкой по технической сущности является подрельсовая прокладка из упругого материала, устанавливаемая в рельсовом скреплении между подошвой рельса и подрельсовым основанием, прокладка выполнена многослойной, по крайней мере, из не менее чем двух слоев, состоящих из резины и обрезиненного корда, причем прокладка имеет рифление в виде продольных и поперечных канавок как по верхней поверхности, обращенной к подошве рельса, так и по нижней поверхности, обращенной к рельсовой подкладке.

[8]

Преимущественное выполнение: прокладка выполнена с фиксирующими упорами на боковых гранях прокладки; поперечные канавки, размещенные по верхней и нижней поверхностям прокладки, выполнены со смещением относительно друг друга; на ее нижней поверхности, обращенной к подкладке, выполнены продольные канавки, соединенные с указанными поперечными канавками; канавки, выполненные по поверхностям прокладки, могут иметь квадратное, прямоугольное или трапецеидальное поперечное сечение; рифление по верхней поверхности прокладки выполнено в виде прямоугольных, или квадратных, или круглых, или усеченно-конических выступов со сферическими головками, или в виде сквозных отверстий в прокладке, или в комбинации отверстий, канавок, выступов, сферических головок, см. патент RU №2121029, МПК6 E01B 9/68, 1998.

[9]

Недостатками известного технического решения являются низкие эксплуатационные характеристики упругого элемента в условиях действия переменных динамических нагрузок, приводящие к усталостному разрушению прокладки и железобетонных шпал.

[10]

Указанные недостатки обусловлены конструкцией подрельсовой прокладки, которая не обеспечивает равномерного распределения динамических нагрузок и резонансных волн по поверхности упругого элемента и их наиболее полного поглощения.

[11]

Верхняя и нижняя рифленые поверхности с меньшей суммарной площадью выступов обладают достаточно высокой степенью податливости (деформации сжатия), что повлечет за собой возникновение нагрузок ударного действия на подрельсовое основание с последующей передачей импульса железобетонным шпалам. При этом наличие резинокорда (вяжущих добавок), предназначенное лишь для повышения прочности прокладки и снижения ее остаточных деформаций, не обеспечивает равномерного распределения нагрузки по площади контакта поверхностей при силовом воздействии в слое.

[12]

Задачей изобретения является увеличение срока службы рельсовых путей за счет уменьшения статических и динамических нагрузок на основания рельсового пути (железобетонные шпалы).

[13]

Техническая задача решается тем, что в подрельсовой прокладке из многослойного упругого материала, включающей слои резины прямоугольной формы с кордом и рифлением по верхней поверхности резины в виде продольных и поперечных канавок со смещением относительно друг друга, согласно изобретению верхние слои резины содержат корд из металлической проволоки, направление которой в смежных слоях выполнено под углом друг к другу, нижние слои прокладки содержат корд из текстиля с параллельным расположением нитей, а с торцов прокладки между верхними и нижними слоями резины введены элементы треугольной формы с увеличением сечения по направлению к торцу, причем слои резины выполнены симметрично изогнутыми от середины к краям.

[14]

Решение технической задачи позволяет увеличить ресурс работы рельсовых путей путем равномерного распределения статических и динамических нагрузок за счет увеличения воспринимаемой площади подрельсовых прокладок и повышения их упругих свойств.

[15]

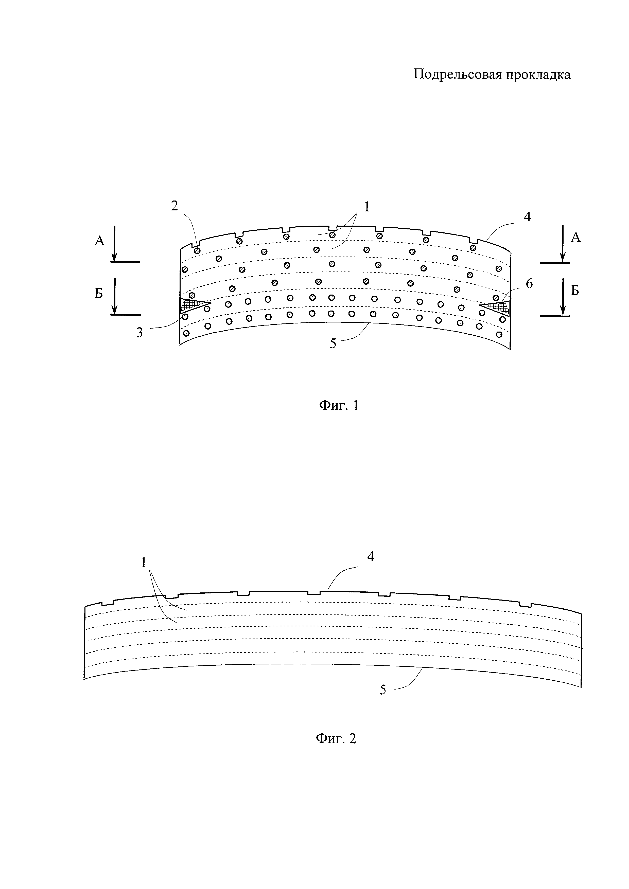
Сущность изобретения поясняется чертежами, где на Фиг. 1 изображен общий вид подрельсовой прокладки, вид спереди; на Фиг. 2 - то же, вид сбоку; на Фиг. 3 - сечение А-А фиг. 1; на Фиг. 4 - сечение Б-Б фиг. 1.

[16]

Подрельсовая подкладка выполнена прямоугольной формы и состоит из нескольких слоев резины 1 с кордом, причем в верхних слоях в качестве корда использована металлическая проволока 2, а в нижних слоях - текстильные нити 3.

[17]

Верхняя поверхность 4 подрельсовой прокладки имеет рифление в виде продольных и поперечных, смещенных относительно друг друга канавок, нижняя поверхность 5 выполнена плоской без рифления.

[18]

Верхние слои 1 резины содержат корд 2 из металлической проволоки, направление которой в смежных слоях выполнено под углом друг к другу, см. Фиг. 3 - сечение А-А фиг. 1. Нижние слои прокладки содержат корд из текстиля 3 с параллельным расположением нитей, см. Фиг. 4 - сечение Б-Б фиг. 1. С торцов прокладки между верхними и нижними слоями резины введены элементы треугольной формы с увеличением сечения по направлению к торцу 6, причем слои резины выполнены симметрично изогнутыми от середины к краям. Изгиб прокладки дополнительно увеличивает упругие свойства слоев резины (перед установкой прокладка находится в напряженном состоянии).

[19]

Соединение слоев между собой и усиливающего элемента 6 осуществляется в процессе вулканизации изделия.

[20]

Подрельсовую прокладку размещают в нише железобетонной шпалы (под подрельсовой подкладкой нижней поверхностью 5 на шпалу). При эксплуатации железнодорожного пути подрельсовая прокладка подвергается статическому и динамическому воздействию под каждой колесной парой. Многослойная конструкция 1 с рифлением поверхности 4 (слоем максимальной деформации) и кордами различной прочности 2, 3 демпфирует механическую энергию, передаваемую на железобетонные шпалы. Благодаря слоям с металлическим кордом, нагрузка воспринимается всей площадью прокладки. Количество слоев с металлическим кордом 2 составляет 2-4, с текстильным кордом 3 составляет 1-2.

[21]

При нахождении колесной пары в промежутках между шпалами, в результате прогиба рельса возрастает нагрузка на края упругого элемента. С целью повышения нагрузочной способности торцов в слои подрельсовой прокладки введены элементы треугольного сечения 6. Усиливающие элементы поглощают усилия, концентрирующиеся по длинным сторонам прямоугольной прокладки.

[22]

Таким образом, решение технической задачи позволяет увеличить ресурс работы рельсовых путей путем равномерного распределения статических и динамических нагрузок за счет увеличения воспринимаемой площади подрельсовых прокладок и повышения их упругих свойств.

Как компенсировать расходы
на инновационную разработку
Похожие патенты