Система обеспечения теплового режима приборного отсека летательного аппарата (ЛА) содержит теплоизолированный корпус и двухконтурную систему охлаждения с разомкнутым внешним испарительным контуром, внутренним контуром в виде контурных тепловых труб, установленных на теплонапряженных приборах и снабженных регулятором отводимого теплового потока и испарителем и сопряженными с посадочными местами соответствующих теплонапряженных приборов, при этом конденсаторы размещены в теплообменнике внешнего испарительного контура. Обеспечивается повышение эффективности охлаждения и термостабилизации бортовой аппаратуры ЛА. 1 з.п. ф-лы, 1 ил.
1. Система обеспечения теплового режима приборного отсека летательного аппарата, содержащая теплоизолированный корпус и двухконтурную систему охлаждения с разомкнутым внешним испарительным контуром, отличающаяся тем, что внутренний контур системы охлаждения выполнен в виде контурных тепловых труб, установленных на теплонапряженных приборах, для которых без активного охлаждения максимальная температура к концу полета ЛА превышает допустимое значение и определена по соотношению: где Тмах - максимальная температура прибора к концу полета ЛА, °С; N - тепловыделение прибора в полете, Вт; τ - продолжительность полета, с; С - теплоемкость прибора, Дж/°С; Тнач - начальная температура прибора, °С; при этом каждая из контурных тепловых труб снабжена регулятором отводимого теплового потока и испарителем, сопряженным с посадочным местом соответствующего теплонапряженного прибора, а конденсаторы контурных тепловых труб размещены в теплообменнике внешнего испарительного контура. 2. Система обеспечения теплового режима приборного отсека летательного аппарата по п. 1, отличающаяся тем, что приборы снабжены теплозащитными кожухами или терморегулирующими покрытиями для защиты от воздействия конвекции и излучения окружающей среды внутри приборного отсека.
,
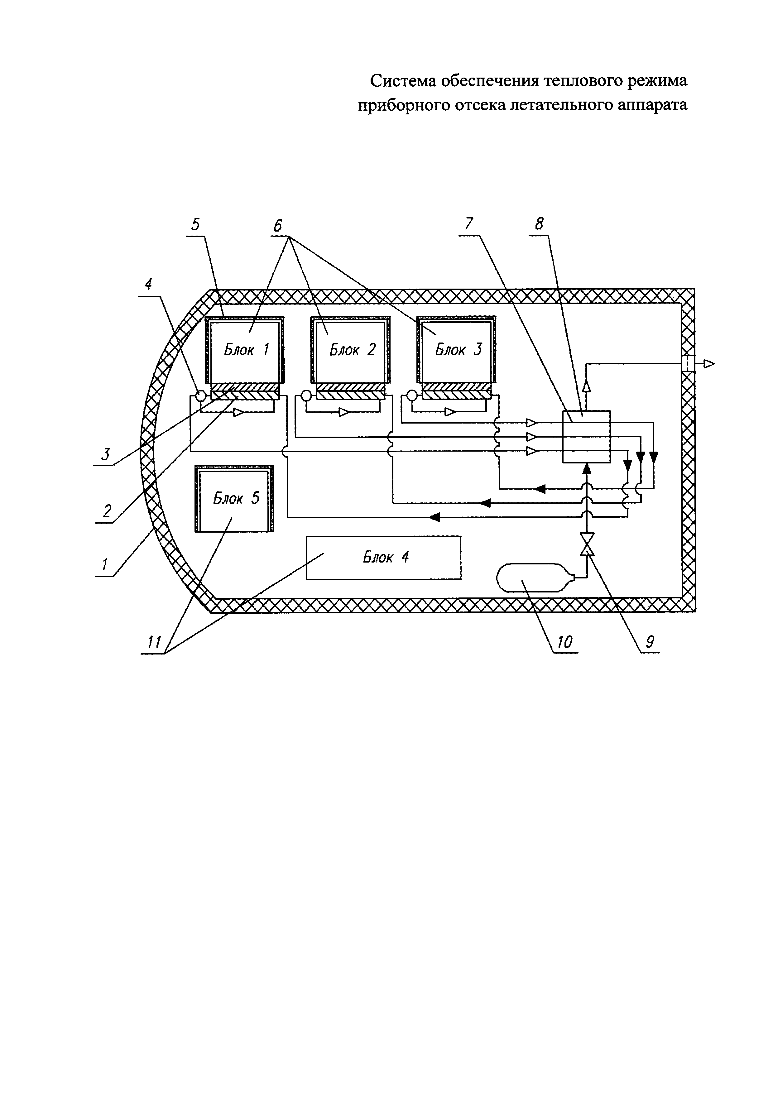
Техническое решение относится к авиационной и ракетной технике и может быть использовано для обеспечения теплового режима приборных отсеков высокоскоростных летательных аппаратов (ЛА). На современном этапе развития сверзвуковых ЛА, совершающих длительный полет в атмосфере, актуальной задачей становится разработка новых активных систем обеспечения теплового режима аппаратуры герметичных отсеков. При этом агрегаты систем охлаждения должны обладать улучшенными параметрами, такими как низкие энергопотребление, масса, объем, повышенная надежность. Известна система обеспечения теплового режима герметичного приборного контейнера космического летательного аппарата (см. В.В Малоземов и другие. Выбор проектных параметров перспективных систем обеспечения теплового режима летательных аппаратов. - М.: изд. МАИ, 1989 г., с. 14-37). Система охлаждения двухконтурная, включает внутренний газовый вентиляционный контур и внешний разомкнутый жидкостной контур. Система содержит размещенный в герметичном приборном контейнере газожидкостный испарительный теплообменник, жидкостная полость которого с одной стороны связана с емкостью, заполненной запасом хладагента, а с другой стороны - сообщена с окружающей космический летательный аппарат внешней средой. Емкость с запасом хладагента разделена на две полости (жидкостную и газовую) подвижной эластичной диафрагмой. Жидкостная полость (большая по объему) заполнена хладагентом (обычно водно-спиртовые растворы различной концентрации), а газовая полость емкости заправлена азотом с определенным давлением, который предназначен для подачи хладагента в жидкостную полость газожидкостного испарительного теплообменника путем вытеснения его из жидкостной полости емкости. В состав испарительного теплообменника входит также вентилятор, обеспечивающий циркуляцию газа, заполняющего приборный контейнер, через теплообменную часть агрегата. Принцип действия системы в полете состоит в охлаждении циркулирующего через газожидкостной испарительный теплообменник газа за счет затраты тепла на испарение хладагента. Недостатки такой системы заключаются в повышенном объеме, массе и энергопотреблении вентиляторов, обладающих низкой надежностью. Известно также устройство для осуществления способа обеспечения теплового режима приборного отсека летательного аппарата (см. патент РФ 2622173, 2016, В64С 30/00, B64G 1/50), содержащее теплоизолированный корпус и двухконтурную систему охлаждения с разомкнутым внешним испарительным контуром. Внутри корпуса приборного отсека установлены одна или несколько вертикальных силовых панелей, встроенные вертикальные тепловые трубы которых образуют внутренний контур охлаждения, при этом приборы размещены на боковых поверхностях силовых сотопанелей в зонах расположения тепловых труб в порядке уменьшения интенсивности адиабатического нагрева приборов снизу вверх, а в верхней части на каждой панели в зонах конденсаторов тепловых труб смонтирован трубный теплообменник внешнего испарительного контура. Известная система обеспечения теплового режима обладает следующими недостатками: - силовые сотопанели имеют повышенный объем и массу; - используемые в системе аксиальные тепловые трубы, расположенные в сотопанелях вертикально и работающие в режиме термосифона, не обеспечивают устойчивую и эффективную термостабилизацию аппаратуры на участках полета ЛА со значительно меняющимися по величине и знакопеременными внешними нагрузками. Такие тепловые трубы эффективно функционируют только при отсутствии гравитации (например, в космосе) или при вертикальной ориентации без воздействия внешней нагрузки. Задачей настоящего технического решения является обеспечение устойчивой и эффективной термостабилизации бортовой аппаратуры ЛА, совершающего полет в условиях знакопеременных и меняющихся по величине внешних нагрузках (перегрузках, вибрации), а также уменьшение объема и массы агрегатов системы охлаждения. Поставленная задача решается тем, что в системе обеспечения теплового режима приборного отсека ЛА, содержащей теплоизолированный корпус и двухконтурную систему охлаждения с разомкнутым внешним испарительным контуром, внутренний контур системы охлаждения выполнен в виде контурных тепловых труб, установленных на теплонапряженных приборах, для которых без активного охлаждения максимальная температура к концу полета ЛА превышает допустимое значение и определена по соотношению: где N - тепловыделение прибора в полете, Вт; τ - продолжительность полета, с; С - теплоемкость прибора, Дж/°С; Тнач - начальная температура прибора, °С; при этом каждая из контурных тепловых труб снабжена регулятором отводимого теплового потока и испарителем, сопряженным с посадочным местом соответствующего теплонапряженного прибора, а конденсаторы контурных тепловых труб размещены в теплообменнике внешнего испарительного контура. Дополнительно, аппаратура приборного отсека может быть снабжена теплозащитными кожухами или терморегулирующими покрытиями для защиты от воздействия конвекции и излучения окружающей среды внутри приборного отсека. Контурные тепловые трубы (КТТ) относятся к двухфазным теплопередающим устройствам, работающим по испарительно-конденсационному циклу. Для прокачки теплоносителя в этих устройствах используются капиллярные силы. Контурные тепловые трубы обладают всеми основными достоинствами обычных тепловых труб. Дополнительно они способны эффективно передавать тепло на расстояние до нескольких метров при любой ориентации в гравитационном поле и до нескольких десятков метров в горизонтальном положении или в невесомости. Концепция КТТ допускает большое разнообразие различных конструктивных воплощений, которые существенно расширяют сферу функциональных возможностей и практического использования этих устройств. Конструктивно КТТ состоит из испарителя, паропровода, конденсатора и конденсатопровода. Основным элементом устройства является испаритель, который состоит из компенсационной полости и фитиля. Испаритель КТТ может иметь цилиндрическую, плоскую дискообразную, прямоугольную форму. Как правило, для снятия тепловой нагрузки с плоской поверхности приборного блока используется тепловой интерфейс. Масса КТТ для передачи теплового потока до 1 кВт составляет не более 1 кг (в заправленном состоянии). Эффективная передача контурной тепловой трубой теплового потока при любой ориентации в гравитационном поле достигается за счет использования мелкопористых фитилей из специальных капиллярно-пористых материалов, минимизации расстояния для движения жидкости в капиллярной структуре (достигается за счет конструкции фитиля), а также путем организации эффективного теплообмена при испарении и конденсации теплоносителя. Для предотвращения захолаживания приборов при работе КТТ применяют регуляторы давления (РД). Такие РД позволяют использовать КТТ для обеспечения уровня температур на тепловыделяющем приборном блоке не ниже заданной величины. В этом случае РД устанавливается непосредственно на выходе пара из испарителя и перенаправляет расход рабочего тела либо в конденсатор КТТ для сброса избыточной тепловой нагрузки оборудования во внешний контур охлаждения, либо возвращает рабочее тело, минуя конденсатор в компенсационную полость испарителя. Таким образом, выполнение КТТ регулируемыми также обуславливает улучшение термостабилизации аппаратуры вследствие того, что на посадочных местах приборов обеспечивается более узкий диапазон температур, который может быть не более ±5°С. Надежное функционирование внутреннего контура охлаждения аппаратуры в значительной степени определяется передачей тепловой нагрузки с конденсаторов КТТ по внешний контур. Для повышения эффективности процесса теплопередачи конденсаторы КТТ размещены в теплообменнике внешнего испарительного контура в отличие от аналога (патент №2622173), в котором теплопередача осуществляется через стенки трубного теплообменника внешнего испарительного контура. Уменьшение объема и массы агрегатов системы охлаждения сопряжено с определением оптимального (минимального) количества аппаратурных блоков, охлаждаемых с помощью КТТ. По предложенному соотношению (1) предварительно рассчитывается максимальная температура тепловыделяющих приборов (без использования охлаждения) и те приборы, для которых к концу полета ЛА максимальная температура превышает допустимое значение Тмах>Тдоп, снабжаются контурными тепловыми трубами. Дополнительный признак, касающийся снабжения приборов теплозащитными кожухами или терморегулирующими покрытиями, актуален для случая, когда теплоизолированный корпус ЛА не обеспечивает необходимую тепловую защиту от внешнего аэродинамического потока, вследствие чего температура газовой среды и внутренней поверхности теплоизолированного корпуса превышает допустимые значения для приборов. Сущность предложенного технического решения поясняется чертежом, на котором схематически изображена система обеспечения теплового режима приборного отсека ЛА. На чертеже введены следующие обозначения: 1 - теплоизолированный корпус приборного отсека; 2 - испаритель каждой КТТ; 3 - посадочное место каждого теплонапряженного прибора; 4 - регулятор давления каждой КТТ; 5 - теплозащитный кожух; 6 - теплонапряженные приборы; 7 - конденсатор каждой КТТ; 8 - теплообменник внешнего испарительного контура; 9 - пусковой пироклапан; 10 - емкость с хладагентом; 11 - нетеплонапряженные приборы. Система обеспечения теплового режима приборного отсека ЛА, размещенная в теплоизолированном корпусе 1, включает два контура - внутренний контур охлаждения и разомкнутый внешний испарительный контур. Внутренний контур охлаждения образуют КТТ, установленные на теплонапряженных приборах 6. Испаритель 2 каждой КТТ сопряжен с посадочным местом 3 соответствующего теплонапряженного прибора. При этом каждая КТТ содержит регулятор давления 4, а ее конденсатор 7 размещен в теплообменнике 8 внешнего испарительного контура, основными элементами которого являются трубопроводы, пусковой пироклапан 9 и емкость с хладагентом 10. Теплонапряженные приборы 6, а также отдельные нетеплонапряженные приборы 11 (блок 5) могут быть снабжены теплозащитными кожухами или терморегулирующими покрытиями 5. Предложенная система обеспечения теплового режима приборного отсека ЛА работает следующим образом. Предварительно определяют приборы, которые являются теплонапряженными по соотношению (1). Эти теплонапряженные приборы 6 снабжают контурными тепловыми трубами. В полете ЛА при функционировании теплонапряженных приборов 6 повышается их температура и, соответственно, происходит нагрев посадочных мест 3 приборов и испарителей 2 контурных тепловых труб, рабочее тело которых, испаряясь, охлаждает посадочные места 3 теплонапряженных приборных блоков 6. Пары хладагента КТТ в районе конденсаторов 7 охлаждаются в теплообменнике 8 внешнего испарительного контура. Внешний испарительный контур начинает работать с задействованием пускового пироклапана 9, после чего жидкий хладагент из емкости 10 поступает в теплообменник 8, где происходит охлаждение конденсаторов КТТ. Поддержание температур испарителей 2 КТТ и, соответственно, температур посадочных мест 3 теплонапряженных приборов 6 в заданном диапазоне происходит с помощью регуляторов давления 4, которые осуществляют распределение расходов рабочего тела КТТ между конденсатором КТТ (для сброса избыточной тепловой нагрузки оборудования во внешний контур охлаждения) и входом в компенсационную полость испарителя КТТ. Совокупность новых признаков предложенного технического решения - охлаждение посадочных мест теплонапряженных приборов, для которых определенная по предложенному соотношению максимальная температура к концу полета ЛА без активного охлаждения превышает допустимое значение, регулируемыми контурными тепловыми трубами, конденсаторы которых размещены в теплообменнике внешнего испарительного контура - позволяет получить новый, обусловленный взаимосвязью признаков, технический результат: обеспечение охлаждения и эффективную термостабилизацию бортовой аппаратуры ЛА, совершающего полет в условиях знакопеременных и меняющихся по величине внешних нагрузках.