Изобретение может быть использовано в оптическом диапазоне в качестве пассивной автономной ретрорефлекторной сферической системы (РСС) для калибровки измерений дальности лазерными дальномерами. РСС содержит равномерно расположенные в шарообразном корпусе несквозные отверстия, внутри которых установлены уголковые призменные световозвращатели (СВ) с боковыми гранями в форме треугольника и срезами углов у входной грани и бленды. СВ выполнены скругленными, имеют по три площадки, параллельные входной грани, и установлены на ступени боковых стенок несквозных отверстий, и зафиксированы блендами в виде цилиндров с внешней кольцевой и радиальной проточками на торцах со стороны фиксации призменных СВ. Радиус световой апертуры СВ, высота бленды, угол поля зрения СВ с блендой, высота призмы СВ и число СВ связаны между собой соотношениями. По второму варианту несквозные отверстия содержат цилиндрический корпус, являющийся оправой для СВ и бленды. Технический результат - повышение эффективной поверхности рассеяния, уменьшение «мертвых зон», исключение замедления и остановки собственного вращения РСС, обеспечение субмиллиметровой среднеквадратической ошибки определения дальности. 2 н.п. ф-лы, 3 ил.
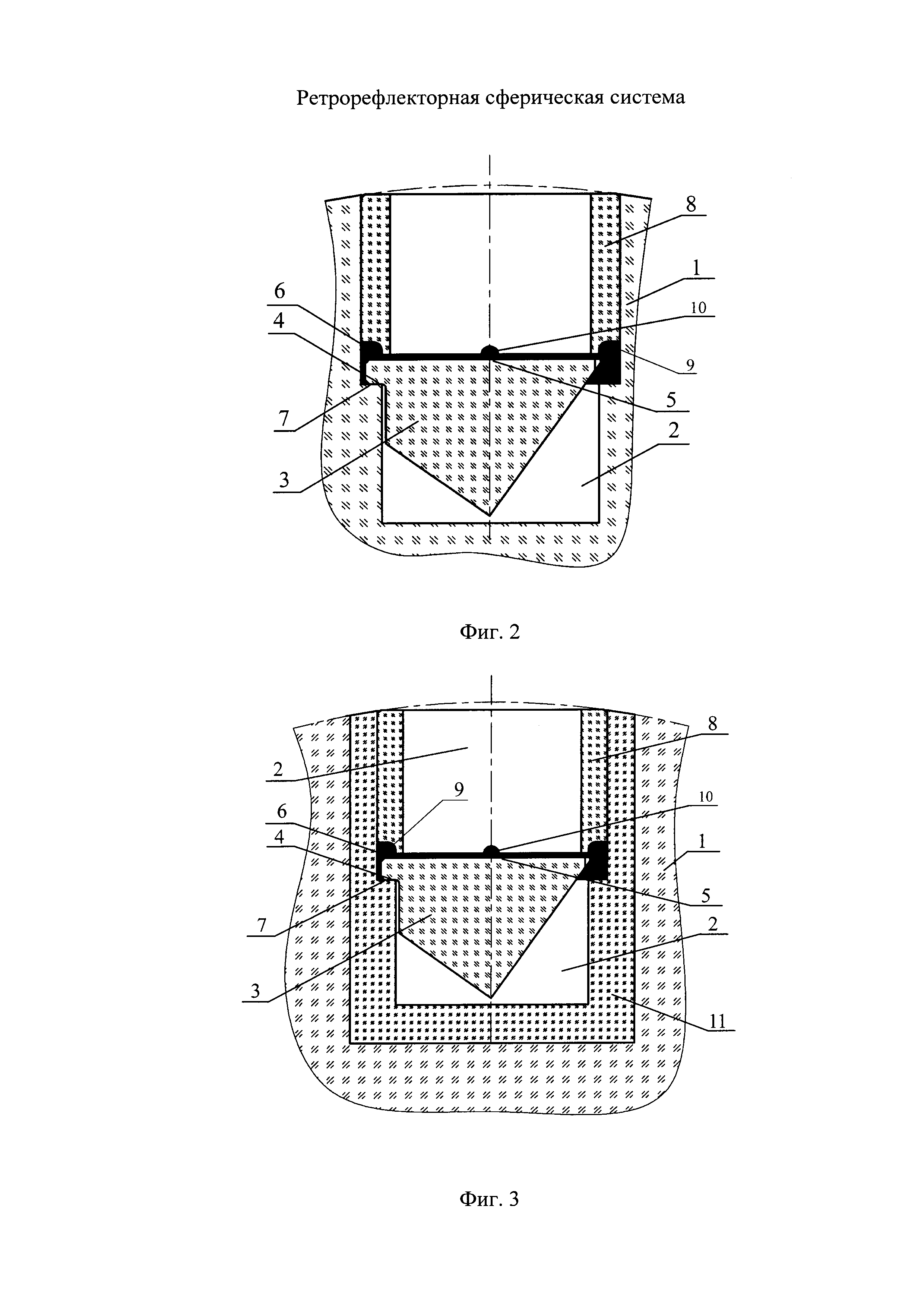
1. Ретрорефлекторная сферическая система, содержащая равномерно расположенные в однородном шарообразном корпусе, например, по три штуки на каждой из двадцати граней икосаэдра, вписанного в сферу, несквозные отверстия, внутри которых установлены уголковые призменные световозвращатели из стекла кварцевого оптического с боковыми гранями в форме треугольника и срезами углов у входной грани, и бленды, отличающаяся тем, что шарообразный корпус и бленда выполнены из диэлектрика, например из тяжелого флинта ТФ5, несквозные отверстия имеют боковые стенки ступенчатого профиля с кольцевой расточкой со стороны входа бленды, а призменные световозвращатели, выполненные скругленными, имеют по три площадки, параллельные входной грани, и установлены на демпфирующий герметик на ступени боковых стенок несквозных отверстий, и зафиксированы блендами, которые выполнены в виде отдельных цилиндров с внешней кольцевой и радиальной проточками на торцах со стороны фиксации призменных световозвращателей, и приклеены к боковым стенкам несквозных отверстий заподлицо с поверхностью сферы, кроме того, радиус RCB световой апертуры призменного световозвращателя, высота бленды hбл, угол поля зрения ±θ единичного световозвращателя с блендой, высота призмы hCB световозвращателя и число N световозвращателей в шарообразном корпусе взаимосвязаны между собой соотношениями где n - показатель преломления материала световозвращателя. 2. Ретрорефлекторная сферическая система, содержащая равномерно расположенные в однородном шарообразном корпусе, например, по три штуки на каждой из двадцати граней икосаэдра, вписанного в сферу, несквозные отверстия, внутри которых установлены уголковые призменные световозвращатели из стекла кварцевого оптического с боковыми гранями в форме треугольника и срезами углов у входной грани, и бленды, отличающаяся тем, что каждое несквозное отверстие дополнительно содержит цилиндрический корпус в виде втулки, являющийся оправой для световозвращателя и бленды, при этом шарообразный корпус, цилиндрический корпус и бленда выполнены из диэлектрика, например из тяжелого флинта ТФ5, причем внутренние стенки цилиндрического корпуса имеют ступенчатый профиль с кольцевой расточкой со стороны входа бленды, а призменные световозвращатели, выполненные скругленными, имеют по три площадки, параллельные входной грани, и установлены на демпфирующий герметик на ступени внутренних стенок цилиндрических корпусов, и зафиксированы блендами, которые выполнены в виде отдельных цилиндров с внешней кольцевой и радиальной проточками на торцах со стороны фиксации световозвращателей, и приклеены к внутренним стенкам цилиндрических корпусов заподлицо с поверхностью сферы, кроме того, радиус RCB световой апертуры призменного световозвращателя, высота бленды hбл, угол поля зрения ±θ единичного световозвращателя с блендой, высота призмы hCB световозвращателя и число N световозвращателей в шарообразном корпусе взаимосвязаны между собой соотношениями где n - показатель преломления материала световозвращателя.

Изобретение относится к пассивным автономным ретрорефлекторным сферическим системам (РСС), работающим в оптическом диапазоне и использующимся для решения задач калибровки измерений дальности лазерными дальномерами. Подобные РСС представляют собой автономные спутники со значительным отношением массы к площади поперечного сечения M/S (не менее 500 кг/м2. Пассивный характер цели подразумевает отражение сигнала дальномера посредством световозвращателей (СВ) - уголковых отражателей (триппель-призм). Широко известны РСС с металлическими шаровыми корпусами, на которых размещены СВ, например спутники: «ЭТАЛОН-1», «ЭТАЛОН-2» /1/, «ЛАРЕЦ» (Россия) /2/, «LARES» (ESA) /3/. У ранее созданных вышеперечисленных аналогов РСС, в формировании отраженного сигнала участвует группа СВ: от 70 штук СВ, как у РСС «ЭТАЛОН-1» и «ЭТАЛОН-2», до 2-3 штук СВ, как у РСС «ЛАРЕЦ». Отражение от пространственно разнесенных СВ приводит к неопределенности реального значения измеряемой дальности. Возникает среднеквадратическая ошибка (СКО) определения дальности. Величина СКО у РСС «ЭТАЛОН-1, 2» составляет 47 мм и 2 мм у РСС «ЛАРЕЦ». Эти РСС дают ответный сигнал независимо от ракурса РСС, так как поля зрения участвующих в отражении СВ перекрывают друг друга, а «мертвые зоны» формирования ответного сигнала отсутствуют. Развитие современной лазерной дальнометрии устанавливает требование снижения СКО измерения дальности до субмиллиметровых значений (СКО<1 мм). Субмиллиметровое значение СКО реализовано в разработанной в АО «НПК «СПП» РСС «WESTPAC» /4/. Спутник «WESTPAC» работает по принципу «один СВ - одно направление локации». В отражении участвует только один СВ за счет введения в конструкцию световой бленды СВ, ограничивающей поле зрения СВ. Однако это приводит к появлению угловых «мертвых зон» между соседними СВ. Для того, чтобы обеспечить быстрое прохождение этих зон от одного СВ к другому, была осуществлена закрутка «WESTPAC» вокруг центра масс спутника. РСС «WESTPAC» успешно работала как мерцающая цель, у которой ответные импульсы были разделены временными промежутками, обусловленными «мертвыми зонами» между СВ. Со временем осевое вращение спутника «WESTPAC» стало замедляться, и в конце своей миссии «WESTPAC» остановился и перестал отражать передающий сигнал наземного дальномера, по-видимому, развернувшись в направлении на Землю одной из «мертвых зон». Причина замедления вращения и остановки осевого вращения заключалась в возникновении вихревых токов в металлическом корпусе конструкции, наводимых электромагнитным полем Земли и противодействующих исходному вращению спутника «WESTPAC» вокруг собственного центра масс. Известны запатентованные РСС /5/, содержащие рассредоточенные по сферическому корпусу световозвращающие элементы - объективы с расположенными в фокусах каждого объектива зеркалами. Недостатками этих РСС являются способность к замедлению вращения и повышенная ошибка определения дальности, обусловленная работой группы СВ, а не одного СВ, как в предлагаемом устройстве. РСС «WESTPAC» является ближайшим аналогом (прототипом) /4/ предлагаемого технического решения. «WESTPAC» содержит равномерно расположенные СВ в однородном металлическом шарообразном корпусе, по три штуки на каждой из двадцати граней икосаэдра, вписанного в сферу, несквозные отверстия. Внутри отверстий установлены в оправе уголковые призменные СВ из стекла кварцевого оптического с боковыми гранями в форме треугольника и срезами углов у входной грани. На оправу СВ навинчена световая бленда. В РСС «WESTPAC» использована конструкция крепления уголковых призменных СВ в металлической оправе /1/. Все детали конструкции «WESTPAC», кроме СВ, металлические. Основными недостатками прототипа являются: - значительное угловое пространство «мертвых зон» величиной не менее 30% от сферы в 4 π стерадиан, время неэффективной локации которых увеличивалось в течение миссии спутника из-за замедления осевого вращения; - окончательная остановка собственного вращения спутника в конце миссии в направлении на Землю одной из «мертвых зон» вследствие тормозящего действия силы вихревых токов, наводимых электромагнитным полем Земли, и как следствие - отсутствие отраженного сигнала; - на боковые грани СВ WESTPAC было нанесено отражающее алюминиевое покрытие. Коэффициент отражения СВ вследствие потерь на 3-х алюминированных гранях не превышал 0.57. Первый минимум диаграммы направленности (ДН) СВ (распределение Эйри) РСС «WESTPAC» для рабочей длины волны λ=0.532 мкм и диаметра световой апертуры D=20.5 мм составляет 1.22 λ/D=6.5 угл. сек. При анализе ДН любой РСС следует учитывать явление скоростной аберрации света, состоящего в том, что отраженный луч отклоняется вперед по направлению вектора скорости спутника на некоторый угол, зависящий от высоты орбиты спутника, зенитного расстояния и угла восхождения спутника над горизонтом. Для низкоорбитальных спутников, к которым относится РСС «WESTPAC», угловая величина скоростной аберрации света находится в диапазоне от 5 до 10 угл. сек. В результате рабочая угловая кольцевая зона аберрации скорости света шириной от 5 до 10 угл. сек, при нормальном падении света на входную грань СВ, приходилась на минимальные уровни ДН, где интенсивность отраженного излучения стремится к нулю. В результате СВ «WESTPAC» активно работали только при наклонном падении света, когда ДН расширялась. Эффективная поверхность рассеяния (ЭПР) РСС «WESTPAC» достигала примерно 104-105 м2. Задачей предлагаемого технического решения является устранение указанных недостатков. Технический результат заключается в повышении ЭПР предлагаемой РРС примерно до 106 м2; в уменьшении пространства «мертвых зон» РСС; в исключении замедления и остановки собственного вращения РСС; в обеспечении субмиллиметрового (<1 мм) СКО определения дальности; обеспечении достаточно высокого баллистического коэффициента M/S ~ 640 кг/м2. Это достигается тем, что в РСС, содержащей равномерно расположенные в однородном шарообразном корпусе, например, по три штуки на каждой из двадцати граней икосаэдра, вписанного в сферу, несквозные отверстия, внутри которых установлены уголковые призменные световозвращатели (СВ) из стекла кварцевого оптического с боковыми гранями в форме треугольника и срезами углов у входной грани, и бленды, - шарообразный корпус и бленда выполнены из диэлектрика, например из тяжелого флинта ТФ5, несквозные отверстия имеют боковые стенки ступенчатого профиля с кольцевой расточкой со стороны входа бленды, а призменные СВ, выполненные скругленными, имеют по три площадки, параллельные входной грани, и установлены на демпфирующий герметик на ступени боковых стенок несквозных отверстий, и зафиксированы блендами, которые выполнены в виде отдельных цилиндров с внешней кольцевой и радиальной проточками на торцах со стороны фиксации призменных СВ, и приклеены к боковым стенкам несквозных отверстий заподлицо с поверхностью сферы, кроме того, радиус световой апертуры RCB призменного СВ, высота бленды hбл, угол поля зрения ±θ единичного СВ с блендой и число N СВ в шарообразном корпусе взаимосвязаны между собой соотношениями θ=arccos(1-2/N), где n - показатель преломления материала световозвращателя. По второму варианту технического решения РСС это достигается тем, что в РСС, содержащей равномерно расположенные в однородном шарообразном корпусе, например, по три штуки на каждой из двадцати граней икосаэдра, вписанного в сферу, несквозные отверстия, внутри которых установлены уголковые призменные световозвращатели из стекла кварцевого оптического с боковыми гранями в форме треугольника и срезами углов у входной грани, и бленды, - каждое несквозное отверстие дополнительно содержит цилиндрический корпус в виде втулки, являющийся оправой для световозвращателя и бленды, при этом шарообразный корпус, цилиндрический корпус и бленда выполнены из диэлектрика, например из тяжелого флинта ТФ5, причем внутренние стенки цилиндрического корпуса имеют ступенчатый профиль с кольцевой расточкой со стороны входа бленды, а призменные световозвращатели, выполненные скругленными, имеют по три площадки, параллельные входной грани, и установлены на демпфирующий герметик на ступени внутренних стенок цилиндрических корпусов, и зафиксированы блендами, которые выполнены в виде отдельных цилиндров с внешней кольцевой и радиальной проточками на торцах со стороны фиксации световозвращателей, и приклеены к внутренним стенкам цилиндрических корпусов заподлицо с поверхностью сферы, кроме того радиус световой апертуры RCB призменного СВ, высота бленды hбл, угол поля зрения ±θ единичного СВ с блендой, высота призмы hCB СВ и число N СВ в шарообразном корпусе взаимосвязаны между собой соотношениями θ=arccos(1-2/N), где n - показатель преломления материала световозвращателя. Техническое решение поясняется чертежами, где изображены на фиг. 1 - общий вид РСС; фиг. 2 - размещение СВ в несквозном отверстии шарообразного корпуса (первый вариант); фиг. 3 - размещение СВ в несквозном отверстии шарообразного корпуса (второй вариант). РСС на фиг. 1 содержит равномерно расположенные в однородном шарообразном корпусе 1, например, по три штуки на каждой из двадцати граней икосаэдра, вписанного в сферу, несквозные отверстия 2, внутри которых установлены уголковые призменные СВ 3 из стекла кварцевого оптического с боковыми гранями в форме треугольника и срезами углов у входной грани. Призменные СВ 3 выполнены скругленными, имеют по три площадки 4, которые выполнены в верхней части срезов углов, и параллельны входной грани 5. Несквозные отверстия 2 имеют боковые стенки ступенчатого профиля с кольцевой расточкой со стороны входа лучей. Установлены СВ 3 на демпфирующий герметик 6 на ступени 7 боковых стенок несквозных отверстий 2 и зафиксированы блендами 8. Бленды 8 выполнены в виде отдельных цилиндров с внешней кольцевой проточкой 9 и радиальной 10 проточками на торцах со стороны фиксации призменных СВ 3, и приклеены к боковым стенкам несквозных отверстий 2 заподлицо с поверхностью сферы шарообразного корпуса 1. По второму варианту технического решения РСС каждое несквозное отверстие 2 дополнительно содержит цилиндрический корпус 11 в виде втулки, являющийся оправой для световозвращателя 3 и бленды 8. Внутренние стенки цилиндрического корпуса 11 имеют ступенчатый профиль с кольцевой расточкой со стороны входа бленды. Призменные световозвращатели также выполнены скругленными, имеют по три площадки 4, параллельные входной грани 5, и установлены на демпфирующий герметик на ступени внутренних стенок цилиндрических корпусов 11, и зафиксированы блендами 8. Бленды 8 выполнены в виде отдельных цилиндров с внешней кольцевой и радиальной 10 проточками на торцах со стороны фиксации световозвращателей 3 и приклеены к внутренним стенкам цилиндрических корпусов заподлицо с поверхностью сферы (шарообразного корпуса 1). Шарообразный корпус 1, цилиндрический корпус 11 и бленда 8 выполнены из диэлектрика, например из тяжелого флинта ТФ5. Во втором варианте предлагаемого устройства в сквозные отверстия шарообразного корпуса устанавливается предварительно склеенная сборка, состоящая из цилиндрического корпуса 11 (оправы), в котором последовательно установлены призменный СВ 3 и бленда 8. Указанная сборка затем вклеивается в несквозное отверстие шарообразного корпуса. Подобный вариант конструкции может быть более удобным для сборки, юстировки, взаимозаменяемости отдельных сборок устройства. Он также более технологичен при изготовлении РСС, так как сверление сложного ступенчатого отверстия в корпусе под установку призменного СВ сложнее, чем сверление цилиндрического отверстия под оправу. СВ конструктивно могут быть выполнены как без отражающего покрытия боковых граней, работающих в этом случае на основе полного внутреннего отражения, так и с интерференционным диэлектрическим или другим отражающим покрытием. Технический результат достигается тем, что в предлагаемом устройстве уменьшена «мертвая зона» локации РСС в результате подбора светового радиуса СВ RCB и высоты бленды hбл. Радиус световой апертуры RCB призменного СВ, высота бленды hбл, угол поля зрения ±θ единичного СВ с блендой, высота призмы СВ hCB и число N СВ в шарообразном корпусе взаимосвязаны между собой соотношениями θ=arccos(1-2/N). Телесный угол обзора единичного СВ равен Ω=2π⋅(1-cosθ). Суммарное пространственное поле зрения N СВ относительно сферы в 4π стерадиан равно Условие отсутствия «мертвых зон» РСС: Ωотн=1, откуда θ=arccos(1-2/N). При N=60 поле зрения единичного СВ с блендой должно составлять примерно θ=±15 угл. град. Для выбранных в устройстве значений RСВ=12 мм, hСВ=19.1 мм и hбл=25 мм угол обзора единичного СВ составит θ=17.5 угл. град., а относительный телесный угол обзора (отражения) - Ωотн~1,3. Реальный относительный телесный угол отражения РСС в этом случае будет близок к 1, так как вблизи границ поля зрения СВ с блендой отраженный сигнал стремится к 0. Ωотн реал<1,3→1. Для угла поля зрения θ=15 угл. град., когда как показано выше Ωотн=1, реальный относительный телесный угол будет меньше 1, что приведет к образованию «мертвых зон» вблизи границ поля зрения СВ. При уменьшении высоты бленды hбл<25 мм значение относительного телесного угла обзора Ωотн возрастет, в отражении будут участвовать более 1 СВ, и среднеквадратическая ошибка определения дальности превысит субмиллиметровые значения. Источники информации: 1. В.Б. Бурмистров, Н.М. Союзова, Т.П. Старцев, Т.И. Хорошева, В.Д. Шаргородский. / «Разработка лазерных ретрорефлекторных антенн на основе уголковых световозвращателей для высокоточных измерений дальности до космических аппаратов» // Электромагнитные волны & электронные системы, №2, т. 2, 1997, с. 50-57/. 2. V.B. Burmistrov, N.N. Parkhomenko, V.D. Shargorodsky, V.P. Vasiliev. «REFLECTOR, LARETS and METEOR-3M». 14th International Workshop on Laser Ranging, San Fernando, Spain 7-11 June, 2004. Интернет доступ: [http://cddis.gsfc.nasa.gov/lw14/docs/papers/tar3a_vbm.pdf]. 3. Ciufolini, A. Paolozzi, C. Paris. Overview of the LARES Mission: orbit, error analysis and technological aspects. JOURNAL OF PHYSICS. CONFERENCE SERIES, vol. 354, p. 1-9, 2012. Интернет доступ: [http://iopscience.iop.org/1742-6596/354/1/012002/pdf/1742-6596_354_1_012002.pdf]. 4. Scientific-technical note for user - NASA Интернет доступ: [http://ilrs.gsfc.nasa.gov/docs/Westpac_final.pdf]. - Прототип. 5. US, патент №5357371, кл. G02B 5/126, 1994 и RU, патент №2101737, кл. G02B 5/10, 1998.


