патент
№ RU 2642775
МПК B41M1/00

СПОСОБ НАНЕСЕНИЯ ГИДРОФОБНОГО И ОЛЕОФОБНОГО ПОКРЫТИЯ НА ТЕКСТИЛЬНЫЙ МАТЕРИАЛ И ТЕКСТИЛЬНЫЙ МАТЕРИАЛ С ГИДРОФОБНЫМ И ОЛЕОФОБНЫМ ПОКРЫТИЕМ

Авторы:
Эльманович Игорь Владимирович Коломыткин Дмитрий Олегович Кондратенко Михаил Сергеевич
Все (4)
Номер заявки
2016136426
Дата подачи заявки
09.09.2016
Опубликовано
25.01.2018
Страна
RU
Как управлять
интеллектуальной собственностью
Чертежи 
1
Реферат

Изобретение относится к способу нанесения гидрофобного и олеофобного покрытия на текстильный материал, включающему выдержку текстильного материала в растворе сополимера в сверхкритическом диоксиде углерода в реакторе высокого давления, характеризующемуся тем, что указанный раствор содержит сополимер, содержащий фторированные (мет)акриловые гидрофобные звенья, аффинные по отношению к СО, и (мет)акриловые функциональные звенья, содержащие функциональную группу, и сшивающий агент, содержащий по меньшей мере две функциональные группы, реакционноспособные по отношению к функциональным группам сополимера, причем указанный сшивающий агент не является частью указанного сополимера. Способ в соответствии с изобретением позволяет получить текстильный материал с гидрофобным и олеофобным покрытием, устойчивым к многократным циклам стирки в стиральной машине. Изобретение также относится к текстильному материалу с гидрофобным и олеофобным покрытием, имеющему угол смачивания каплей воды ≥130°, показатель в тесте на водоотталкивающую способность ААТСС 22 выше 90 баллов, показатель в тесте на маслостойкость ААТСС 118 от 6 баллов и выше, паропроницаемость в тесте на паропроницаемость по стандарту АТСМ Е 96 (Procedure В) после модификации не менее 0,95 от результата немодифицированного материала, сохраняющему водоотталкивающие и маслоотталкивающие свойства и паропроницаемость после 10 или более стирок в стиральной машине, проведенных по стандартной методике ISO 6330, процедура 6А, полученному способом в соответствии с изобретением. 2 н. и 16 з.п. ф-лы, 2 ил.

Формула изобретения

1. Способ нанесения гидрофобного и олеофобного покрытия на текстильный материал, включающий выдержку текстильного материала в растворе сополимера в сверхкритическом диоксиде углерода в реакторе высокого давления, отличающийся тем, что указанный раствор содержит:

сополимер, содержащий фторированные (мет)акриловые гидрофобные звенья, аффинные по отношению к СО2, и (мет)акриловые функциональные звенья, содержащие функциональную группу, и

сшивающий агент, содержащий по меньшей мере две функциональные группы, реакционноспособные по отношению к функциональным группам сополимера, причем указанный сшивающий агент не является частью указанного сополимера.

2. Способ по п. 1, отличающийся тем, что указанные фторированные (мет)акриловые гидрофобные звенья представляют собой фторированные акриловые или метакриловые звенья, содержащие фторированные алкильные цепи с концевой CF3 группой.

3. Способ по п. 1, отличающийся тем, что указанный сополимер дополнительно содержит нефторированные гидрофобные звенья, представляющие собой акриловые или метакриловые звенья, содержащие цепи полидиметилсилоксанов или нефторированные алкильные цепи.

4. Способ по п. 1, отличающийся тем, что указанные (мет)акриловые функциональные звенья содержат функциональную гидроксильную, амидную или аминогруппу.

5. Способ по п. 4, отличающийся тем, что указанный сшивающий агент содержит по меньшей мере две изоцианатные функциональные группы.

6. Способ по п. 1, отличающийся тем, что указанные (мет)акриловые функциональные звенья содержат изоцианатную функциональную группу.

7. Способ по п. 6, отличающийся тем, что указанный сшивающий агент содержит по меньшей мере две функциональные гидроксильные, амидные или аминогруппы.

8. Способ по любому из пп. 1-7, отличающийся тем, что указанный текстильный материал также содержит функциональные группы, реакционноспособные по отношению к функциональным группам сшивающего агента.

9. Способ по п. 8, отличающийся тем, что указанный текстильный материал содержит функциональные группы, аналогичные функциональным группам сополимера.

10. Способ по п. 1, отличающийся тем, что нанесение проводят при температуре 35-200°C.

11. Способ по п. 1, отличающийся тем, что плотность сверхкритического диоксида углерода в реакторе высокого давления составляет 0,5-1,5 г/мл.

12. Способ по п. 1, отличающийся тем, что массовое содержание сополимера в растворе сверхкритического диоксида углерода составляет 0,1-10 мас.% от массы текстильного материала.

13. Способ по п. 1, отличающийся тем, что массовое содержание сшивающего агента в растворе сверхкритического диоксида углерода составляет 0,01-1 мас.% от массы текстильного материала.

14. Способ по п. 1, отличающийся тем, что количественное соотношение фторированных (мет)акриловых гидрофобных звеньев к (мет)акриловым функциональным звеньям составляет от 1:1 до 20:1.

15. Способ по п. 1, отличающийся тем, что в качестве сшивающего агента используют диизоцианат.

16. Способ по п. 1, отличающийся тем, что в качестве текстильного материала используют ткань из материала нейлон 6,6, ткань из материала полиэфир, нетканый фильтровальный материал на основе полипарафениленоксадиазольных волокон, нетканый фильтровальный материал на основе ароматических полиамидов.

17. Способ по п. 1, отличающийся тем, что после осаждения покрытия проводят его термическую обработку при температуре 80-200°C в течение 20-200 мин.

18. Текстильный материал с гидрофобным и олеофобным покрытием, полученный способом по любому из пп. 1-17, имеющий угол смачивания каплей воды ≥130°, показатель в тесте на водоотталкивающую способность ААТСС 22 выше 90 баллов, показатель в тесте на маслостойкость ААТСС 118 от 6 баллов и выше, паропроницаемость в тесте на паропроницаемость по стандарту АТСМ Е 96 (Procedure В) после модификации не менее 0,95 от результата немодифицированного материала, сохраняющий водоотталкивающие и маслоотталкивающие свойства и паропроницаемость после 10 или более стирок в стиральной машине, проведенных по стандартной методике ISO 6330, процедура 6А.

Описание

[1]

Область техники, к которой относится изобретение

[2]

Настоящее изобретение относится к области финишной обработки текстильных материалов. Более конкретно, изобретение относится к области нанесения на тканые и нетканые текстильные материалы гидрофобных и олеофобных покрытий, устойчивых к износу, многократным циклам машинной стирки, не снижающих паропроницаемость материала. В частности, изобретение относится к способу нанесения гидрофобного и олеофобного фторполимерного покрытия с использованием раствора фторсодержащего сополимера и сшивающего агента в сверхкритическом диоксиде углерода. Способ в соответствии с изобретением позволяет формировать гидрофобные и олеофобные покрытия на текстильных материалах из синтетических и натуральных тканей, нетканых материалов, в том числе нетканых фильтровальных материалов, придающие им водо- и маслоотталкивающие свойства, сохраняющиеся после многократных циклов машинной стирки.

[3]

Уровень техники

[4]

Из уровня техники известен способ создания грязезащитного покрытия на текстильных материалах – тканях, при котором перфторированный модифицирующий агент полимерной природы и сшивающий агент наносятся на текстильный материал из их раствора или дисперсии на водной основе [US 2012/0094564 А1, 19.04.2012]. Недостатком этого способа является использование жидкого водного раствора или дисперсии для нанесения перфторированного модифицирующего агента. Использование жидкого водного раствора или дисперсии для пропитки текстильного материала перфорированным модифицирующим агентом не позволяет достичь однородности покрытия текстильного материала таким перфорированным агентом из-за наличия в жидком растворителе капиллярных эффектов, обусловленных поверхностным натяжением, на стадиях пропитки и сушки. Поверхностное натяжение жидкого растворителя не позволяет наносить равномерные покрытия в глубине малых пор материала, а также приводит к деструкции уже нанесенного покрытия при уходе жидкого растворителя в процессе его высушивания. Таким образом, указанный способ не позволяет производить обработку всей поверхности микро- и нанопористых материалов, а также приводит к формированию дефектов и неоднородностей в покрытии. Все это ухудшает устойчивость покрытия к износу, к многократным циклам машинной стирки, а также снижает паропроницаемость материала из-за частичной блокировки пор вследствие неоднородности распределения перфорированного модифицирующего агента по поверхности материала.

[5]

Известны способы создания водоотталкивающего покрытия на шероховатых материалах, включая текстильные материалы, в которых фторированный полимер наносится из растворов в сверхкритическом диоксиде углерода [RU 2331532, 20.08.2008 и US 6,030,663 А, 29.02.2000]. Использование сверхкритического диоксида углерода в качестве растворителя позволяет создавать равномерное покрытие на материале, что приводит к высоким водоотталкивающим свойствам. Недостатком такого способа является низкая долговечность создаваемых покрытий. Из-за отсутствия химической связи полимера и текстильного материала получаемые таким способом покрытия на текстильных материалах не устойчивы к износу и к многократным циклам машинной стирки.

[6]

Известен способ модификации пористой мембраны из экспандированного политетрафторэтилена для придания ей олеофобных свойств, в котором фторсодержащий полимер наносят из растворов в сверхкритическом диоксиде углерода (СК СО2) [US 7,534,471 В2, 16.06.2005]. Этот способ обеспечивает высокую устойчивость к износу покрытий за счет механизма набухания мембраны из экспандированного политетрафторэтилена (эПТФЭ) в СК СО2 и последующего коллапса при декомпрессии. В результате, полимерные цепи модифицирующего агента оказываются механически скреплены с модифицируемым материалом. Недостатком данного способа является то, что невозможно придать устойчивость к износу покрытий на материалах, плохо набухающих в СК СО2. Получаемые на плохо набухающих в СК СО2 материалах, таких как синтетические текстильные материалы, покрытия обладают низкой устойчивостью к износу и к многократным циклам машинной стирки.

[7]

Наиболее близким к заявляемому является способ нанесения покрытия на пористый ламинат, состоящий из мембраны из экспандированного политетрафторэтилена и двух слоев синтетической ткани, из раствора фторированного сополимера, содержащего функциональные изоцианатные группы, в сверхкритическом диоксиде углерода [US 8,735,306 В2]. Изоцианатные группы в составе сополимера способны реагировать с гидроксильными, амидными и аминогруппами волокон тканей, составляющих ламинированный материал, и обеспечивают ковалентное пришивание покрытия к волокнам тканей. Недостатком данного покрытия является то, что сшивающий агент является одним из блоков сополимера, а не отдельным компонентом покрытия. Такой сшивающий агент может лишь обеспечить пришивание молекулы полимера к волокну ткани, но не способен обеспечить сшивание молекул полимера между собой. Это приводит к низкой долговечности покрытия на материалах, которые не содержат указанных функциональных групп, и на которых не может осуществляться пришивка покрытия к обрабатываемому материалу.

[8]

Раскрытие сущности изобретения

[9]

Задачей изобретения является разработка способа нанесения гидрофобного и олеофобного покрытия на текстильный материал, который позволяет получить прочное водоотталкивающее и олеофобное покрытие на текстильных материалах, позволяет нанести однородное покрытие на пористые материалы, обеспечивая однородное покрытие поверхности микропор и нанопор текстильного материала, позволяет сохранить паропроницаемость текстильного материала и позволяет получить текстильный материал с углом смачивания каплей воды ≥130°, показателем в тесте на водоотталкивающую способность ААТСС 22 выше 90 баллов, с показателем в тесте на маслостойкость ААТСС 118 от 6 баллов и выше, с результатом в тесте на паропроницаемость по стандарту АТСМ Е 96 (Procedure В) после модификации не менее 0,95 от результата немодифицированного материала, с сохранением водоотталкивающих и маслоотталкивающих свойств и паропроницаемости после 10 или более стирок в стиральной машине, проведенных по стандартной методике ISO 6330, процедура 6А.

[10]

Указанная задача решается способом нанесения гидрофобного и олеофобного покрытия на текстильный материал, включающим выдержку текстильного материала в растворе сополимера в сверхкритическом диоксиде углерода в реакторе высокого давления, причем указанный раствор содержит сополимер, содержащий фторированные (мет)акриловые гидрофобные звенья, аффинные по отношению к СО2, и (мет)акриловые функциональные звенья, содержащие функциональную группу, и сшивающий агент, содержащий по меньшей мере две функциональные группы, реакционноспособные по отношению к функциональным группам сополимера, причем указанный сшивающий агент не является частью указанного сополимера.

[11]

Предпочтительно указанные фторированные (мет)акриловые гидрофобные звенья, афинные по отношению к СО2, представляют собой акриловые или метакриловые звенья, содержащие фторированные алкильные цепи с концевой CF3 группой.

[12]

В соответствии с одним из вариантов осуществления изобретения указанные (мет)акриловые функциональные звенья предпочтительно содержат гидроксильную, амидную или аминогруппу.

[13]

В соответствии с одним из вариантов осуществления изобретения указанный сшивающий агент содержит по меньшей мере две изоцианатные группы.

[14]

Предпочтительно указанный текстильный материал также содержит функциональные группы, реакционноспособные по отношению к функциональным группам сшивающего агента, а наиболее предпочтительно функциональные группы, аналогичные функциональным группам сополимера.

[15]

В соответствии с другим вариантом осуществления изобретения (мет)акриловые функциональные звенья сополимера содержат изоцианатные группы. В этом случае в качестве сшивающих агентов могут быть использованы соединения, содержащие две или более функциональных групп, выбираемых из ряда: аминогруппа, амидная группа, гидроксильная группа.

[16]

В этом случае предпочтительно выбирать сшивающие агенты с функциональными группами, совпадающими с функциональными группами на поверхности обрабатываемого материала, для обеспечения близких скоростей реакций функциональных групп сополимера с функциональными группами на поверхности материала, с одной стороны, и функциональными группами сшивающего агента, с другой, и, соответственно, равномерного распределения сшивок типа сополимер-текстильный материал и сополимер-сополимер.

[17]

Обычно нанесение покрытия проводят при температуре 35-200°С и плотность сверхкритического диоксида углерода в реакторе высокого давления составляет 0,5-1,5 г/мл.

[18]

Предпочтительно массовое содержание сополимера в растворе сверхкритического диоксида углерода составляет 0,1-10 мас. % от массы текстильного материала.

[19]

Предпочтительно массовое содержание сшивающего агента в растворе сверхкритического диоксида углерода составляет 0,01-1 мас. % от массы текстильного материала.

[20]

В одном варианте осуществления изобретения гидрофобные звенья сополимера содержат перфторалкилакрилат, функциональные звенья сополимера содержат гидроксиалкилакрилат, и количественное соотношение перфорированных звеньев к функциональным звеньям составляет 10:1

[21]

Предпочтительно в качестве сшивающего агента используют диизоцианат.

[22]

Предпочтительно в качестве текстильного материала используют ткань из материала нейлон 6,6, ткань из материала полиэфир, нетканый фильтровальный материал на основе полипарафениленоксадиазольных волокон, нетканый фильтровальный материал на основе ароматических полиамидов.

[23]

Предпочтительно после осаждения покрытия проводят его термическую обработку при температуре 80-200°С в течение 20-200 мин.

[24]

Другой задачей изобретения является получить текстильный материал с гидрофобным и олеофобным покрытием, имеющий угол смачивания каплей воды ≥130°, показатель в тесте на водоотталкивающую способность ААТСС 22 выше 90 баллов, показатель в тесте на маслостойкость ААТСС 118 от 6 баллов и выше, паропроницаемость в тесте на паропроницаемость по стандарту АТСМ Е 96 (Procedure В) после модификации не менее 0,95 от результата немодифицированного материала, сохраняющий водоотталкивающие и маслоотталкивающие свойства и паропроницаемость после 10 или более стирок в стиральной машине, проведенных по стандартной методике ISO 6330, процедура 6А. Указанный текстильный материал может быть получен способом в соответствии с настоящим изобретением.

[25]

В соответствии с изобретением способ нанесения гидрофобного и олеофобного покрытия на текстильный материал заключается в том, что текстильный материал выдерживают в растворе сополимера в сверхкритическом диоксиде углерода в реакторе высокого давления. Способ в соответствии с изобретением характеризуется тем, что указанный сополимер содержит фторированные (мет)акриловые гидрофобные звенья, аффинные по отношению к СО2, и (мет)акриловые функциональные звенья, содержащие функциональные группы. Кроме того, способ в соответствии с изобретением характеризуется тем, что помимо указанного сополимера в сверхкритическом диоксиде углерода растворен сшивающий агент, содержащий по меньшей мере две функциональные группы, реакционноспособные по отношению к функциональным группам сополимера, причем указанный сшивающий агент не является частью макромолекул сополимера, а является отдельным химическим соединением, помещаемым в реактор. Функциональные группы сшивающего агента реагируют с функциональными группами макромолекул сополимера, обеспечивая химическое сшивание макромолекул сополимера между собой. Также, в предпочтительном варианте осуществления изобретения, в случае наличия на поверхности модифицируемого текстильного материала функциональных групп, реакционноспособных по отношению к функциональным группам сшивающего агента, обеспечивается также химическое пришивание покрытия к обрабатываемому текстильному материалу.

[26]

В качестве гидрофобного звена сополимера используют фторированные (мет)акриловые звенья, аффинные по отношению к СО2 (СО2-фильные). В частности, в качестве гидрофобных звеньев предпочтительно использовать (мет)акриловые звенья, содержащие фторированные алкильные цепи с CF3 группой на конце, поскольку плотная упаковка CF3 групп позволяет получать покрытия с наименьшей поверхностной энергией, репеллентные по отношению к жидкостям не только с высоким (вода), но и с низким поверхностным натяжением (маслам). Кроме этого, наличие фторированных фрагментов способствует аффинности звена по отношению к СО2 и, как правило, положительно влияет на растворимость полимеров, содержащих такие звенья в жидком и сверхкритическом СО2. В частности, в качестве гидрофобных звеньев предпочтительно использовать фторированные акриловые или метакриловые звенья, получаемые в результате полимеризации, например, следующих фторированных акриловых или метакриловых мономеров: 1,1-дигидроперфтороктил акрилат, 1,1-дигидроперфтороктилметакрилат, 1,1,2,2-тетрагидроперфторалкил метакрилат, 1,1,2,2-тетрагидроперфторалкил акрилат, 1,1,2,2,3,3-гексагидроперфторалкил метакрилат, 1,1,2,2,3,3-гексагидроперфторалкил акрилат, 2-(N-этилперфтороктансульфонамидо)этил акрилат, 2-(N-этилперфтороктансульфонамидо)этил метакрилат, 2-(N-метилперфтороктансульфонамидо)этил акрилат, 2-(N-метилперфтороктансульфонамидо)этил метакрилат, 2-(N-метилперфторгексансульфонамидо)этил акрилат, 2-(N-этилперфторгексансульфонамидо)этил метакрилат, 2-(N-метилперфторбутансульфонамидо)этил акрилат, 2-(N-метилперфторбутансульфонамидо)этил метакрилат.

[27]

При необходимости, помимо указанных фторированных (мет)акриловых гидрофобных звеньев и указанных (мет)акриловых функциональных звеньев, сополимер может дополнительно содержать нефторированные гидрофобные звенья, в качестве которых могут быть использованы акриловые и метакриловые звенья, содержащие цепи полидиметилсилоксанов различной длины, такие как монометакрилоксипропил терминированный полидиметилсилоксан, метакрилоксипропил Т-структурированный полидиметилсилоксан, монометакрилоксипропил политрифторпропилметилсилоксан, производимые компанией Gelest. Также в качестве нефторированных гидрофобных звеньев могут быть использованы (мет)акриловые звенья, содержащие нефторированные алкильные фрагменты, например бутилакрилат, бутилметакрилат, октилакрилат и т.п.

[28]

В частности, в качестве функционального звена сополимера предпочтительно использовать акриловые или метакриловые звенья, содержащие гидрокси, амино, амидную или изоцианатную группы: гидроксиалкил акрилат (гидроксиэтил акрилат, гидроксипропил акрилат, гидроксибутил акрилат), гидроксиалкил метакрилат (гидроксиэтил метакрилат, гидроксипропил метакрилат, гидроксибутил метакрилат), акриламид, аминоалкил акрилат (аминоэтил акрилат, аминопропил акрилат, аминобутил акрилат), аминоалкил метакрилат (аминоэтил метакрилат, аминопропил метакрилат, аминобутил метакрилат), изопропенилдиметилбензил изоцианат. Предпочтительно выбирать функциональные звенья, содержащие функциональные группы, аналогичные функциональным группам на поверхности обрабатываемого материала, в случае наличия последних. Это обеспечит близкие скорости реакций сшивания макромолекул покрытия между собой и реакций пришивания покрытия к волокну, что позволит получить наиболее равномерное распределение сшивок между макромолекулами покрытия и макромолекулами обрабатываемых волокон.

[29]

В частности, в качестве сшивающего агента предпочтительно использовать соединения, содержащие две или более функциональные группы, реакционноспособные как по отношению к функциональным группам функциональных звеньев наносимого сополимера, так и по отношению к функциональным группам на поверхности обрабатываемого материала, в случае наличия последних. Предпочтительно использовать соединения, содержащие изоцианатные группы, поскольку они являются реакционноспособными с гидрокси, амино и амидными группами, которые часто встречаются в составе как натуральных, так и синтетических волокон текстильных материалов. В частности, предпочтительно использовать соединения с двумя или более изоцианатными группами. Целесообразно использовать, например, следующие диизоцианаты из ряда: толуен диизоцианат, фенилен диизоцианат, гексаметилен диизоцианат, метилен дифенил диизоцианат, изофорондиизоцианат. Возможно использовать также триизоцианаты, например: трифенилметан триизоцианат, ундекан триил триизоцианат, толуен триилтриизоцианат. С целью защиты от гидролиза и повышения химической устойчивости изоцианатных групп, могут быть использованы блокированные формы вышеуказанных диизоцианатов и триизоцианатов, содержащие изоцианатные группы, блокированные оксимами, пиразолами, малонатами.

[30]

В случае, когда функциональные звенья сополимера содержат изоцианатные группы, а в качестве сшивающих агентов используются соединения, содержащие две или более функциональных групп, выбираемых из ряда: аминогруппа, амидная группа, гидроксильная группа, в качестве сшивающих агентов возможно использовать, например, следующие соединения: диолы (этиленгликоль, пропиленгликоль, гидрокситерминированный полидиметилсилоксан), триолы (глицерин, триметилолпропан, триметилолэтан), диамины (гексаметилендиамин, парафенилендиамин), диамиды дикарбоновых кислот, триамины (меламин).

[31]

В частности, в качестве текстильных материалов предпочтительно использовать ткани различного плетения на основе полиэфирных или полиамидных волокон, а также ткани различного плетения на основе хлопка. В качестве текстильных материалов на основе полиамидных волокон могут быть использованы, например, следующие текстильные материалы: крученый нейлон 6,6 прямого плетения (spun nylon 6.6 plane weave, плотность материала 190 г/м2), нейлоновая ткань плетения bunting (nylon oxford bunting, плотность материала 108 г/м2), растягивающийся нейлон 6,6 двойного плетения (texturized nylon 6.6 stretch fabric, плотность материала 260 г/м2), нейлоновый трикотажный материал (filament nylon 6 tricot-bright, плотность материала 73 г/м2). Например, в качестве ткани на основе полиамидных волокон могут быть использованы нейлоновые ткани от компании Ivuniforma. В качестве текстильных материалов на основе полиэфирных волокон могут быть использованы, например, следующие текстильные материалы: полиэфирная искусственная замша (poly suede, плотность материала 240 г/м2), полиэфирный жоржет (poly georgette, плотность материала 57 г/м2), полиэфирный искусственный шелк (poly "silk", плотность материала 73 г/м2), полиэфирный эпонж (poly pongee, плотность материала 73 г/м2). В качестве тканей на основе полиэфирных волокон могут быть использованы, например, полиэфирные ткани от фирмы Itkani. Также в качестве натуральных текстильных материалов могут быть использованы, например, следующие текстильные материалы: неотбеленная хлопковая фланель (unbleached cotton flannel, плотность материала 125 г/м2), отбеленная хлопковая фланель (bleached cotton flannel, плотность материала 152 г/м2), хлопковая парусина (greige cotton duck, плотность материала 500 г/м2), хлопковый вельвет (Cotton Corduroy, плотность материала 255 г/м2).

[32]

В частности, в качестве текстильных материалов предпочтительно также использовать нетканые материалы на основе полипарафениленоксадиазольных волокон или на основе волокон из ароматических полиамидов. Например, в качестве нетканого материала может быть использован материал на основе ароматических полиамидов Nomex KD от фирмы DuPont. Также в качестве нетканого материала может быть использован материал на основе полипарафениленоксадиазольных волокон Арселон от фирмы Волброк.

[33]

Нанесение сополимера и сшивающего агента предпочтительно проводить в реакторе высокого давления с рабочими давлениями от 1 до 1000 атм, в частности от 1 до 300 атм.

[34]

Нанесение сополимера и сшивающего агента предпочтительно проводить из сверхкритического диоксида углерода плотностью 0,5-1,5 г/мл.

[35]

Нанесение сополимера и сшивающего агента предпочтительно проводить при температуре 35-200°С.

[36]

Нанесение сополимера и сшивающего агента предпочтительно проводить в течение 1-24 часов.

[37]

Предпочтительно массовое содержание сополимера в растворе сверхкритического диоксида углерода составляет 0,1-10 мас. % от массы текстильного материала.

[38]

Предпочтительно массовое содержание сшивающего агента в растворе сверхкритического диоксида углерода составляет 0,01-1 мас. % от массы текстильного материала.

[39]

Предпочтительно количественное соотношение фторированных (мет)акриловых гидрофобных звеньев к (мет)акриловым функциональным звеньям составляет от 1:1 до 20:1, наиболее предпочтительно от 3:1 до 10:1. Выбор диапазона соотношений между звеньями обусловлен необходимостью соблюдения баланса между водо- и маслоотталкивающими свойствами, с одной стороны, и устойчивостью к машинным стиркам, с другой. При более низких чем 1:1 соотношениях фторированных (мет)акриловых гидрофобных звеньев к (мет)акриловым функциональным звеньям не достигаются требуемые водо- и маслоотталкивающие свойства. При более высоких чем 20:1 соотношениях фторированных (мет)акриловых гидрофобных звеньев к (мет)акриловым функциональным звеньям покрытия становятся неустойчивыми к машинной стирке.

[40]

Предпочтительно, молекулярная масса наносимого сополимера, измеряемая методом гель-проникающей хроматографии, составляет от 10000 до 400000 г/моль, наиболее предпочтительно от 100000 до 300000 г/моль.

[41]

Предпочтительно после осаждения покрытия проводят его термическую обработку при температуре 80-200°С в течение 20-200 мин. Термическая обработка позволяет обеспечить реакцию функциональных групп наносимого сополимера и волокон обрабатываемого материала с функциональными группами сшивающего агента и необходима для получения долговечного химически сшитого покрытия. Кроме этого, термическая обработка способствует ориентации фторированных боковых цепей сополимера на основе фторированных акриловых мономеров перпендикулярно поверхности материала и сосредоточению неполярных CF3 групп на поверхности покрытия, что необходимо для обеспечения наиболее низкой поверхностной энергии и, соответственно, наиболее высоких маслоотталкивающих свойств покрытия.

[42]

Способ в соответствии с изобретением позволяет получить прочное гидрофобное и олеофобное покрытие на текстильном материале, не снижающее паропроницаемость модифицируемого текстильного материала. Преимущества заявленного изобретения при достижении технического результата обусловлены тем, что для модификации поверхности текстильного материала используют сополимер, содержащий фторсодержащие гидрофобные звенья, что обеспечивает контактные углы модифицированной поверхности с каплей воды более 130° и показатель маслостойкости в тесте ААТСС 118 не ниже 6 баллов. Кроме того, технический результат достигается тем, что в качестве растворителя для сополимера используется сверхкритический диоксид углерода, что позволяет равномерно наносить тонкую пленку сополимера на каждое отдельное волокно текстильного материала, обрабатывая поры любого диаметра, в том числе микроразмерные и наноразмерные поры текстильного материала, что позволяет достигать в тесте на водостойкость ААТСС 22 100 баллов, а также позволяет достигать паропроницаемости в тесте по стандарту АТСМ Е 96 (Procedure В) после нанесения покрытия не менее 0,95 от результата немодифицированного материала. Кроме того, технический результат достигается тем, что сшивающий агент с двумя или более функциональными группами, реакционноспособными по отношению к функциональным группам сополимера, добавляется отдельно от сополимера. Это позволяет обеспечивать как сшивку функциональных групп сополимера между собой, так и, предпочтительно, пришивку сополимера по функциональным группам к поверхности волокон текстильных материалов. Это создает цепь химических сшивок сополимера вокруг волокна ткани и обеспечивает сохранение водо- и маслоотталкивающих свойств покрытия после 10 стирок в стиральной машине, проведенных по стандартной методике ISO 6330, процедура 6А.

[43]

В частности, при использовании в качестве модифицируемого текстильного материала ткани на основе полиамидных или полиэфирных волокон в качестве продукта получают водостойкую и маслостойкую ткань, сохраняющую водо- и маслоотталкивающие свойства после многократных стирок в стиральной машине. Такая ткань может быть использована как внешний слой мембранных тканей, как ткань для одежды для спортивного отдыха, как ткань для аксессуаров для активного отдыха и туризма.

[44]

В частности, при использовании в качестве модифицируемого текстильного материала нетканых фильтровальных материалов на основе полипарафениленоксадиазольных волокон или на основе волокон из ароматических полиамидов в качестве продукта получают маслостойкий фильтровальный материал. Маслостойкость фильтровального материала повышает ресурс его работы. Таким образом, дополнительным техническим результатом в данном случае является создание маслостойкого фильтровального материала с повышенным ресурсом работы.

[45]

Краткое описание чертежей

[46]

На фиг. 1 схематически изображен иллюстративный пример установки, позволяющей осуществить способ в соответствии с изобретением.

[47]

На фиг. 2 приведено схематическое изображение механизма сшивки наносимого покрытия с волокном гидрофобизируемой ткани, реализуемого в заявленном способе.

[48]

Осуществление изобретения

[49]

Далее способ в соответствии с изобретением будет более подробно описан со ссылкой на прилагаемые чертежи.

[50]

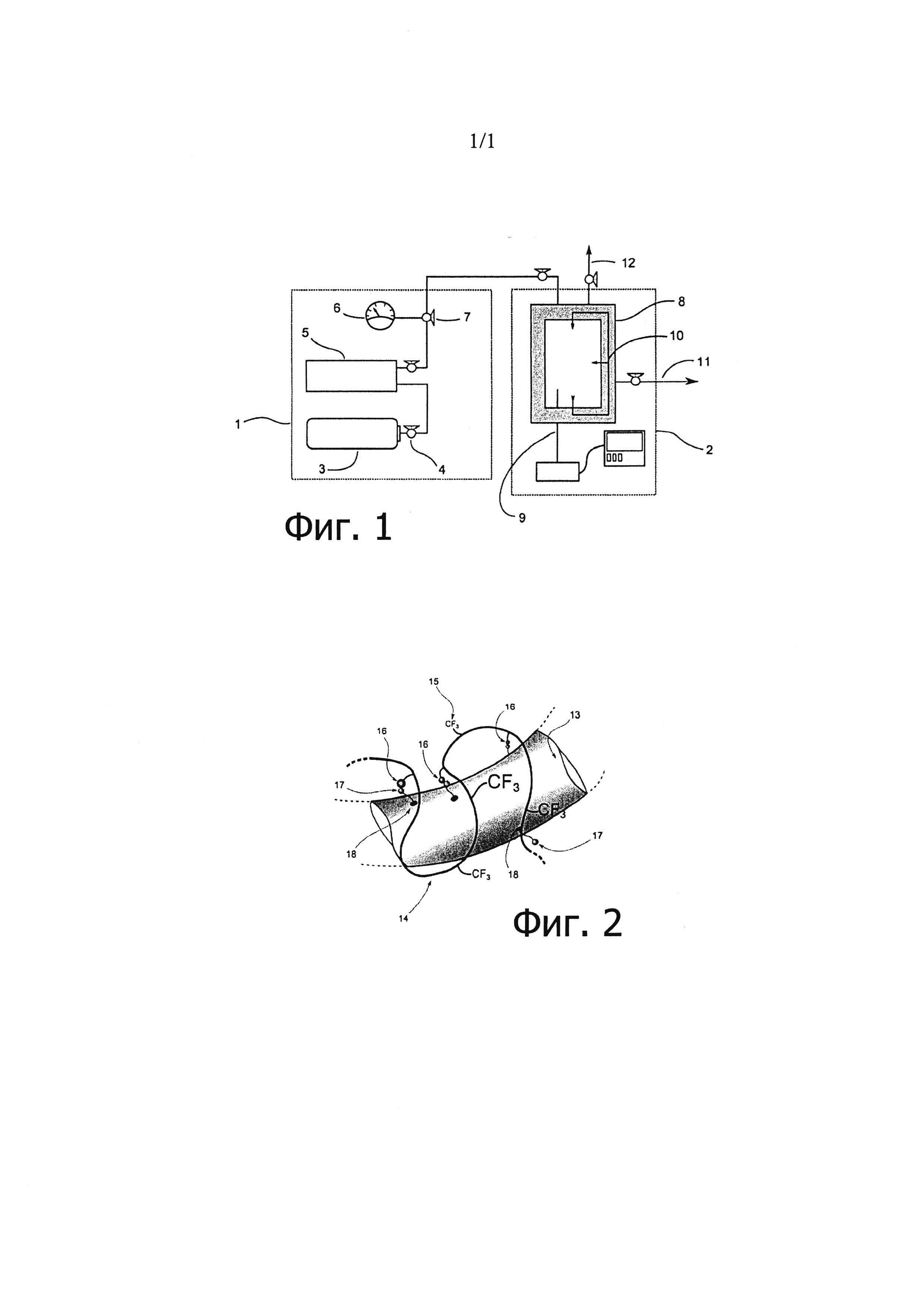
Заявленный способ осуществляется с помощью установки, схема которой представлена на фиг. 1. В термостатируемый реактор высокого давления (номер 8 на фиг. 1) помещается текстильный материал, подлежащий модификации, а также сополимер. При помощи генератора высокого давления (номер 5 на фиг. 1), подключенного к баллону с СО2 (номер 3 на фиг. 1) через двунаправленный вентиль (номер 4 на фиг. 1) в термостатируемом реакторе высокого давления (номер 8 на фиг. 1), генерируется необходимое давление СО2. Давление при этом измеряется манометром (номер 6 на фиг. 1), подключенным к системе через трехнаправленный вентиль (7 на фиг. 1). Температура при этом измеряется термопарой (9). После того как необходимое давление СО2 в реакторе достигнуто, реактор отсекается от системы путем перекрывания двунаправленного вентиля. После этого содержимое реактора перемешивается при помощи системы перемешивания (10 на фиг. 1) необходимое количество времени. После этого осуществляется сброс давления при помощи выпускной системы (номер 11 на фиг. 1). Когда давление в реакторе становится равным атмосферному, реактор открывают и извлекают модифицированную ткань.

[51]

В результате модификации на волокно ткани (номер 13 на фиг. 2) нанесен сополимер (номер 14 на фиг. 2). При этом функциональные звенья сополимера (номер 16 на фиг. 2) прореагировали и образовали химическую связь с одной из функциональных групп сшивающего агента (номер 17 на фиг. 2), а вторая функциональная группа сшивающего агента (номер 18 на фиг. 2) прореагировала с функциональной группой волокна текстильного материала, тем самым осуществилась химическая пришивка сополимера к волокну текстильного материала, либо с еще одной функциональной группой сополимера, тем самым осуществилось сшивание макромолекул сополимера между собой.

[52]

Пример 1

[53]

В качестве сополимера (14) используют полиперфтордецилакрилат-со-полигидроксипропилметакрилат. В качестве сшивающего агента (17, 18) используют 1,4-толуен диизоцианат. В качестве подлежащего гидрофобизации материала (13) - ткань Spun nylon, представляющую собой крученые волокна нейлона. Плотность ткани равна 200 г/м2, диаметр волокон составляет 20 мкм, толщина ткани - 390 мкм.

[54]

В реактор высокого давления (8) помещают ткань размером 20×20 см, плотно свернутую в рулон. В реактор помещают сополимер в массовом отношении к массе рулона ткани 1:50. В реактор помещают сшивающий агент в массовом отношении к массе модифицирующего агента 1:10. После этого, при помощи генератора высокого давления (5), подключенного к баллону с СО2 (3), ректор заполняют СО2. Давление контролируют с помощью манометра (6). После того как необходимое значение давления в 200 бар достигнуто, реактор закрывают и помещают в термостат, при температуре 90°С. После помещения в термостат и выравнивания температуры проводят экспозицию в течение 3 часов. Контроль температуры производят при помощи термопары (9). Затем кювету охлаждают до 50°С и медленно декомпрессируют, тем самым обеспечивая переход растворителя из сверхкритического в газообразное состояние, минуя жидкую фазу. Образец ткани с осажденным покрытием подвергают отжигу при 140°С в течение 30 минут.

[55]

После гидрофобизации краевой угол капли воды на поверхности ткани составляет около 150°. Потери паропроницаемости не превышают 5%, согласно измерениям по стандарту АТСМ Е 96, Procedure В. Маслостойкость образца ткани после нанесения покрытия - 6 по стандарту ААТСС 118. Уровень водоотталкивающей способности - 100 баллов по тесту стандарта ААТСС 22. После 10 стирок в стиральной машине, проведенных по стандартной методике ISO 6330, процедура 6А, краевой угол, маслостойкость и уровень водоотталкивающей способности ткани не снижаются.

[56]

Пример 2

[57]

В условиях примера 1 в качестве подложки используют полиэфирный искусственный шелк.

[58]

После модификации краевой угол капли воды на поверхности ткани составляет 150°. Потери паропроницаемости не превышают 5%, согласно измерениям по стандарту АТСМ Е 96, Procedure В. Маслостойкость образца ткани после нанесения покрытия - 6 по стандарту ААТСС 118. Уровень водоотталкивающей способности - 100 баллов по тесту стандарта ААТСС 22. После 10 стирок в стиральной машине, проведенных по стандартной методике ISO 6330, процедура 6А, краевой угол, маслостойкость и уровень водоотталкивающей способности ткани не снижаются.

[59]

Пример 3

[60]

В условиях примера 1 используют нетканый фильтровальный материал Nomex KD (DuPont, США).

[61]

После модификации краевой угол капли воды на поверхности ткани составляет 150°. Потери паропроницаемости не превышают 5%, согласно измерениям по стандарту АТСМ Е 96, Procedure В. Маслостойкость образца ткани после нанесения покрытия - 6 по стандарту ААТСС 118. Уровень водоотталкивающей способности - 100 баллов по тесту стандарта ААТСС 22. После 10 стирок в стиральной машине, проведенных по стандартной методике ISO 6330, процедура 6А, краевой угол, маслостойкость и уровень водоотталкивающей способности нетканого фильтровального материала не снижаются.

[62]

Пример 4

[63]

В условиях примера 1 используют нетканый фильтровальный материал на основе волокон арселона Арсефил (Волброк, Россия).

[64]

После модификации краевой угол капли воды на поверхности ткани составляет 150°. Потери паропроницаемости не превышают 5%, согласно измерениям по стандарту АТСМ Е 96, Procedure В. Маслостойкость образца ткани после нанесения покрытия - 6 по стандарту ААТСС 118. Уровень водоотталкивающей способности - 100 баллов по тесту стандарта ААТСС 22. После 10 стирок в стиральной машине, проведенных по стандартной методике ISO 6330, процедура 6А, краевой угол, маслостойкость и уровень водоотталкивающей способности нетканого фильтровального материала не снижаются.

[65]

Пример 5

[66]

В качестве сополимера (14) используют 2-(N-этилперфтороктансульфонамидо)этилметакрилат-со-полигидроксипропилметакрилат. В качестве сшивающего агента (17, 18) используют 1,4-толуендиизоцианат. В качестве подлежащего гидрофобизации материала (13) - натуральную ткань, состоящую из хлопковой парусины.

[67]

В реактор высокого давления (8) помещают ткань размером 20×20 см, плотно свернутую в рулон. В реактор помещают сополимер в массовом отношении к массе рулона ткани 1:30. В реактор помещают сшивающий агент в массовом отношении к массе модифицирующего агента 1:5. После этого, при помощи генератора высокого давления (5), подключенного к баллону с СО2 (3), ректор заполняют СО2. Давление контролируют с помощью манометра (6). После того как необходимое значение давления в 150 бар достигнуто, реактор закрывают и помещают в термостат, при температуре 50°С. После помещения в термостат и выравнивания температуры проводят экспозицию в течение 2 часов. Контроль температуры производят при помощи термопары (9). Затем кювету охлаждают до 40°С и медленно декомпрессируют, тем самым обеспечивая переход растворителя из сверхкритического в газообразное состояние, минуя жидкую фазу.

[68]

После гидрофобизации краевой угол капли воды на поверхности ткани составляет около 135°. Потери паропроницаемости не превышают 5%, согласно измерениям по стандарту АТСМ Е 96, Procedure В. Маслостойкость образца ткани после нанесения покрытия - 6 по стандарту ААТСС 118. Уровень водоотталкивающей способности - 100 баллов по тесту стандарта ААТСС 22. После 10 стирок в стиральной машине, проведенных по стандартной методике ISO 6330, процедура 6А, краевой угол, маслостойкость и уровень водоотталкивающей способности ткани не снижаются.

[69]

Пример 6

[70]

В условиях примера 1 в качестве сополимера используют полиперфтордецилакрилат-со-акриламид. После гидрофобизации краевой угол капли воды на поверхности ткани составляет около 150°. Потери паропроницаемости не превышают 5%, согласно измерениям по стандарту АТСМ Е 96, Procedure В. Маслостойкость образца ткани после нанесения покрытия - 6 по стандарту ААТСС 118. Уровень водоотталкивающей способности - 100 баллов по тесту стандарта ААТСС 22. После 10 стирок в стиральной машине, проведенных по стандартной методике ISO 6330, процедура 6А, краевой угол, маслостойкость и уровень водоотталкивающей способности ткани не снижаются.

[71]

Пример 7

[72]

В условиях примера 1 в качестве сополимера используют полиперфтордецилакрилат-со-акриламид, а в качестве сшивателя используют толуен триилтриизоцианат. После гидрофобизации краевой угол капли воды на поверхности ткани составляет около 150°. Потери паропроницаемости не превышают 5%, согласно измерениям по стандарту АТСМ Е 96, Procedure В. Маслостойкость образца ткани после нанесения покрытия - 6 по стандарту ААТСС 118. Уровень водоотталкивающей способности - 100 баллов по тесту стандарта ААТСС 22. После 10 стирок в стиральной машине, проведенных по стандартной методике ISO 6330, процедура 6А, краевой угол, маслостойкость и уровень водоотталкивающей способности ткани не снижаются.

[73]

Пример 8

[74]

В условиях примера 1 в качестве сополимера используют сополимер 1,1,2,2-тетрагидроперфтордецил акрилата (60 мол. %) в качестве фторированного гидрофобного звена, монометакрилоксипропил терминированного полидиметилсилоксана (20 мол. %) в качестве нефторированного гидрофобного звена, гидроксипропилметакрилата в качестве функционального звена. В качестве сшивающего агента используют толуен диизоцианат. После гидрофобизации краевой угол капли воды на поверхности ткани составляет около 150°. Потери паропроницаемости не превышают 5%, согласно измерениям по стандарту АТСМ Е 96, Procedure В. Маслостойкость образца ткани после нанесения покрытия - 6 по стандарту ААТСС 118. Уровень водоотталкивающей способности - 100 баллов по тесту стандарта ААТСС 22. После 10 стирок в стиральной машине, проведенных по стандартной методике ISO 6330, процедура 6А, краевой угол, маслостойкость и уровень водоотталкивающей способности ткани не снижаются.

[75]

Пример 9

[76]

В условиях примера 1 в качестве сополимера используют сополимер 1,1,2,2-тетрагидроперфтордецил акрилата (60 мол. %) в качестве фторированного гидрофобного звена, бутил акрилата (20 мол. %) в качестве нефторированного гидрофобного звена, гидроксипропилметакрилата в качестве функционального звена. В качестве сшивающего агента используют толуен диизоцианат. После гидрофобизации краевой угол капли воды на поверхности ткани составляет около 150°. Потери паропроницаемости не превышают 5%, согласно измерениям по стандарту АТСМ Е 96, Procedure В. Маслостойкость образца ткани после нанесения покрытия - 6 по стандарту ААТСС 118. Уровень водоотталкивающей способности - 100 баллов по тесту стандарта ААТСС 22. После 10 стирок в стиральной машине, проведенных по стандартной методике ISO 6330, процедура 6А, краевой угол, маслостойкость и уровень водоотталкивающей способности ткани не снижаются.

[77]

Пример 10

[78]

В условиях примера 1 в качестве сополимера используют сополимер 1,1,2,2-тетрагидроперфтороктил акрилата, бутил акрилата и изопропенил-диметилбензил изоцианата (молярная доля тетрагидроперфтороктил акрилата более 50%), а в качестве сшивающего агента используют гидрокситерминированный полидиметилсилоксан (Gelest DMS-S14). После гидрофобизации краевой угол капли воды на поверхности ткани составляет около 150°. Потери паропроницаемости не превышают 5%, согласно измерениям по стандарту АТСМ Е 96, Procedure В. Маслостойкость образца ткани после нанесения покрытия - 6 по стандарту ААТСС 118. Уровень водоотталкивающей способности - 100 баллов по тесту стандарта ААТСС 22. После 10 стирок в стиральной машине, проведенных по стандартной методике ISO 6330, процедура 6А, краевой угол, маслостойкость и уровень водоотталкивающей способности ткани не снижаются.

[79]

Пример 11

[80]

В условиях примера 1 в качестве сополимера используют сополимер 1,1,2,2-тетрагидроперфтороктил акрилата, бутил акрилата и изопропенил-диметилбензил изоцианата (молярная доля тетрагидроперфтороктил акрилата более 50%), а в качестве сшивающего агента используют гексаметилендиамин. После гидрофобизации краевой угол капли воды на поверхности ткани составляет около 150°. Потери паропроницаемости не превышают 5%, согласно измерениям по стандарту АТСМ Е 96, Procedure В. Маслостойкость образца ткани после нанесения покрытия - 6 по стандарту ААТСС 118. Уровень водоотталкивающей способности - 100 баллов по тесту стандарта ААТСС 22. После 10 стирок в стиральной машине, проведенных по стандартной методике ISO 6330, процедура 6А, краевой угол, маслостойкость и уровень водоотталкивающей способности ткани не снижаются.

[81]

Сравнительный пример 1 в соответствии с патентом RU 2331532. В условиях примера 1 в качестве сополимера, следуя патенту RU 2331532, используют ультрадисперсный политетрафторэтилен (УПТФЭ) "Форум" и не используют сшивающий агент. После 10 стирок материала в стиральной машине, проведенных по стандартной методике ISO 6330, процедура 6А, краевой угол стремится к нулю (капля впитывается), маслостойкость и водоотталкивающая способность материала ткани не детектируются.

[82]

Сравнительный пример 2 в соответствии с патентом RU 2331532. В условиях примера 1 в качестве сополимера, следуя патенту RU 2331532, используют коммерческий сополимер Teflon AF2400 и не используют сшивающий агент. После 10 стирок материала в стиральной машине, проведенных по стандартной методике ISO 6330, процедура 6А, краевой угол стремится к нулю (капля впитывается), маслостойкость и водоотталкивающая способность материала ткани не детектируются.

[83]

Сравнительный пример 3 в соответствии с патентом US 8,735,306. В условиях примера 1 в качестве сополимера, следуя патенту US 8,735,306, используют сополимер 1,1,2,2-тетрагидроперфтороктил акрилата, бутил акрилата и изопропенил-диметилбензил изоцианата и не используют сшивающий агент. После 10 стирок материала в стиральной машине, проведенных по стандартной методике ISO 6330, процедура 6А, уровень водоотталкивающей способности - 80 баллов по тесту стандарта ААТСС 22, олеофобность - 5 баллов по стандарту ААТСС 118.

Как компенсировать расходы
на инновационную разработку
Похожие патенты