патент
№ RU 2704189
МПК B01F11/02

УСТРОЙСТВО И СПОСОБ УЛЬТРАЗВУКОВОГО ДИСПЕРГИРОВАНИЯ ЖИДКОСТЕЙ

Авторы:
Ромашкин Алексей Валентинович Левин Денис Дмитриевич Долныков Олег Геннадьевич
Все (5)
Номер заявки
2018146557
Дата подачи заявки
26.12.2018
Опубликовано
24.10.2019
Страна
RU
Как управлять
интеллектуальной собственностью
Чертежи 
2
Реферат

Устройство предназначено для приготовления, а также поддержания во взвешенном состоянии дисперсий в сменных емкостях небольшого объема типа шприцев, пробирок с патрубком в дне или аналогичных и дает возможность в процессе работы подавать в емкость или забирать из нее обрабатываемую жидкость или продувать газ и контролировать внешними приборами или визуально объем и параметры жидкости. Устройство состоит из электроакустического преобразователя с необходимыми для его работы элементами и трубчатого звукопровода. Звукопровод имеет также отверстие сбоку для вывода наружу трубки, присоединяемой к патрубку, имеющемуся в дне емкости. К выходной поверхности звукопровода прижимают дно емкости, таким образом, устройство не имеет частей, соприкасающихся с жидкостью непосредственно. Устройство может найти применение в составе лабораторных установок, где требуется ультразвуковая обработка жидкостей, в том числе автоматизированных и снабженных системами автоматической подачи жидкости и датчиками уровня и параметров жидкости, а также в качестве самостоятельного прибора там, где требуется сохранение высокой чистоты обрабатываемой жидкости. Способ ультразвукового диспергирования состоит в продувании через емкость малого потока газа совместно с работой устройства и позволяет улучшить перемешивание жидкости, снизить необходимую для диспергирования мощность подаваемых ультразвуковых колебаний. Изобретение обеспечивает возможность слива или залива жидкости в сменную емкость без снятия емкости с устройства, что необходимо для применения его в системах с автоматической подачей жидкостей, улучшение удобства работы с устройством и упрощение его конструкции, обеспечение возможности дополнительного перемешивания обрабатываемой жидкости путем продувания через нее небольшого потока газа, возможность снижения порога кавитации и, следовательно, необходимой для диспергирования мощности ультразвуковых колебаний, что увеличивает эффективность работы и снижает нагрев емкости, что важно при продолжительной работе и обработке жидкостей с низкой температурой кипения. 2 н. и 3 з.п. ф-лы, 3 ил.

Формула изобретения

1. Устройство для ультразвукового диспергирования жидкостей, содержащее электроакустический преобразователь с отражательной накладкой, цилиндрический звукопровод, имеющий выходную поверхность, соответствующую форме дна емкости, сменную емкость для жидкости, находящуюся в контакте с выходной поверхностью звукопровода, цилиндрической либо конической формы с коническим либо плоским дном и патрубком в середине дна для слива или залива жидкости или подачи газа, узел, прижимающий емкость к звукопроводу и фиксирующий ее верхнюю часть, отличающееся тем, что звукопровод выполнен в форме трубчатого цилиндра и имеет отверстие сбоку, открывающееся во внутреннюю полость звукопровода, служащее для вывода трубки, присоединенной ко дну емкости, а узел, прижимающий емкость к звукопроводу и фиксирующий ее верхнюю часть, выполнен в виде упругой плоской пластины, прикрепленной с помощью разъемного соединения одним концом к основанию устройства и имеющей выступающие части, входящие внутрь емкости и/или охватывающие ее снаружи.

2. Устройство для ультразвукового диспергирования жидкостей по п. 1, имеющее в составе акустический концентратор.

3. Устройство для ультразвукового диспергирования жидкостей по п. 1 или 2, в котором выходная поверхность звукопровода имеет вертикальный кольцевой выступ по диаметру, большему диаметра дна емкости, служащий для ее центрирования.

4. Устройство для ультразвукового диспергирования жидкостей по пп. 1, 2 или 3, в котором выходная поверхность звукопровода частично или полностью покрыта слоем эластичного материала, например, резины или слоем пластичного материала, например, бутилкаучука.

5. Способ ультразвукового диспергирования жидкостей, заключающийся в подаче ультразвуковых колебаний в емкость с жидкостью и одновременной подаче потока газа, отличающийся тем, что ультразвуковые колебания подаются через дно емкости, прижимаемой к ультразвуковой колебательной системе, а газ подают через трубку, присоединенную к патрубку в дне емкости с потоком, не приводящим к выбросу жидкости из емкости.

Описание

[1]

Устройство предназначено для приготовления, а также поддержания во взвешенном состоянии жидких дисперсий в сменных емкостях небольшого объема типа шприцев, пробирок с патрубком в дне или аналогичных и дает возможность в процессе работы подавать в емкость или забирать из нее обрабатываемую жидкость или продувать газ и контролировать внешними приборами или визуально объем и параметры жидкости.

[2]

Устройство может найти применение в составе лабораторных установок где требуется ультразвуковая обработка жидкостей, в том числе автоматизированных и снабженных системами автоматической подачи жидкости и датчиками уровня и параметров жидкости, а также в качестве самостоятельного прибора там, где требуется сохранение высокой чистоты жидкости при ультразвуковой обработке.

[3]

Известны и широко применяются устройства для ультразвуковой обработки небольших объемов жидкостей, состоящие из акустоэлектрического преобразователя с отражающей накладкой, акустического трансформатора скоростей и протяженного звукопровода, погружаемые концом звукопровода в открытую емкость с жидкостью, описанные, например, в [1]. Такие устройства при простоте конструкции и применения не лишены недостатков, таких как сложность герметизации емкости с жидкостью при возникновении такой необходимости и кавитационный износ звукопровода, который приводит не только к необходимости его замены, но и к загрязнению обрабатываемой жидкости продуктами износа. Существуют способы уменьшения износа звукопровода, например, прикрепление к его излучающей поверхности защитных накладок [2], но на практике они применяются редко из-за увеличения сложности и уменьшения надежности устройства. Также, ввод ультразвукового излучения в жидкость посредством звукопровода сверху затрудняет применение датчиков уровня жидкости, что необходимо при использовании устройства в составе автоматизированных систем. Также, такие устройства работают только при уровне жидкости, лежащем в определенном диапазоне, а наибольшая эффективность достигается при нахождении излучателя вблизи середины толщи жидкости. Под жидкостью подразумевается в данном случае любое вещество, имеющее жидкое агрегатное состояние, и в том числе, например, органические растворители и их смеси, растворы, и в том числе коллоидные растворы и различные дисперсные системы в которых дисперсионная среда имеет жидкое агрегатное состояние.

[4]

Также для ультразвуковой обработки жидкостей широко применяют ультразвуковые ванны, в том числе имеющие патрубки для слива жидкости. Ультразвуковые ванны не позволяют обрабатывать напрямую малые объемы жидкости (до 20 мл), имеют неравномерное акустическое поле, большие размеры и массу. Обработка малых объемов жидкостей с помощью ультразвуковых ванн производится путем помещения сосудов с жидкостью (например, пробирок или колб) в ванну, наполненную другой жидкостью, обычно водой, это создает определенные неудобства, снижает эффективность обработки и делает невозможной автоматизацию процесса обработки, слив и залив жидкости в емкость, находящуюся в ванне, без вынимания, приборный контроль ее уровня, а также препятствует перемешиванию жидкости.

[5]

Известно устройство для ультразвуковой обработки жидкостей в шприцах или пробирках [3], включающее в себя ультразвуковой преобразователь и звукопровод с концом такой формы что возможно его присоединение к концу шприца или пробирки. Такое устройство со вводом ультразвуковых колебаний через дно сосуда не имеет частей, непосредственно контактирующих с жидкостью и, следовательно, не загрязняет ее продуктами износа, создает равномерное ультразвуковое поле по объему сосуда независимо от уровня жидкости, позволяет проводить визуальный и приборный контроль уровня жидкости в сосуде, и ее состояние, например, дисперсность, наличие или отсутствия осадка или конгломератов. Однако, применение такого устройства в автоматизированных системах ограничено ввиду невозможности залива или слива жидкости, из сосуда, находящегося в устройстве.

[6]

В устройстве-прототипе прижатие емкости к звукопроводу для обеспечения хорошего контакта осуществляется пружинами либо пневматическим цилиндром, при этом подвижной выполнена ультразвуковая колебательная система, что усложняет конструкцию и затрудняет автоматизацию применения устройства, поскольку приборы контроля состояния жидкости также приходится размещать на подвижном основании.

[7]

Задачей изобретения является обеспечение возможности слива или залива жидкости в сменную емкость без снятия емкости с устройства, что необходимо для применения его в системах с автоматической подачей жидкостей, улучшение удобства работы с устройством и упрощение его конструкции, обеспечение возможности дополнительного перемешивания обрабатываемой жидкости путем продувания через нее небольшого потока газа, возможность снижения порога кавитации и следовательно, необходимой для диспергирования мощности ультразвуковых колебаний, что увеличивает эффективность работы и снижает нагрев емкости, что важно при продолжительной работе и обработке жидкостей с низкой температурой кипения.

[8]

Способ ультразвукового диспергирования жидкостей, заключающийся в одновременной ультразвуковой обработке жидкости в сменной емкости с введением и подачей газа через трубку, присоединенную к отверстию в дне емкости, решает задачу снижения порога возникновения кавитации и улучшения перемешивания обрабатываемой жидкости.

[9]

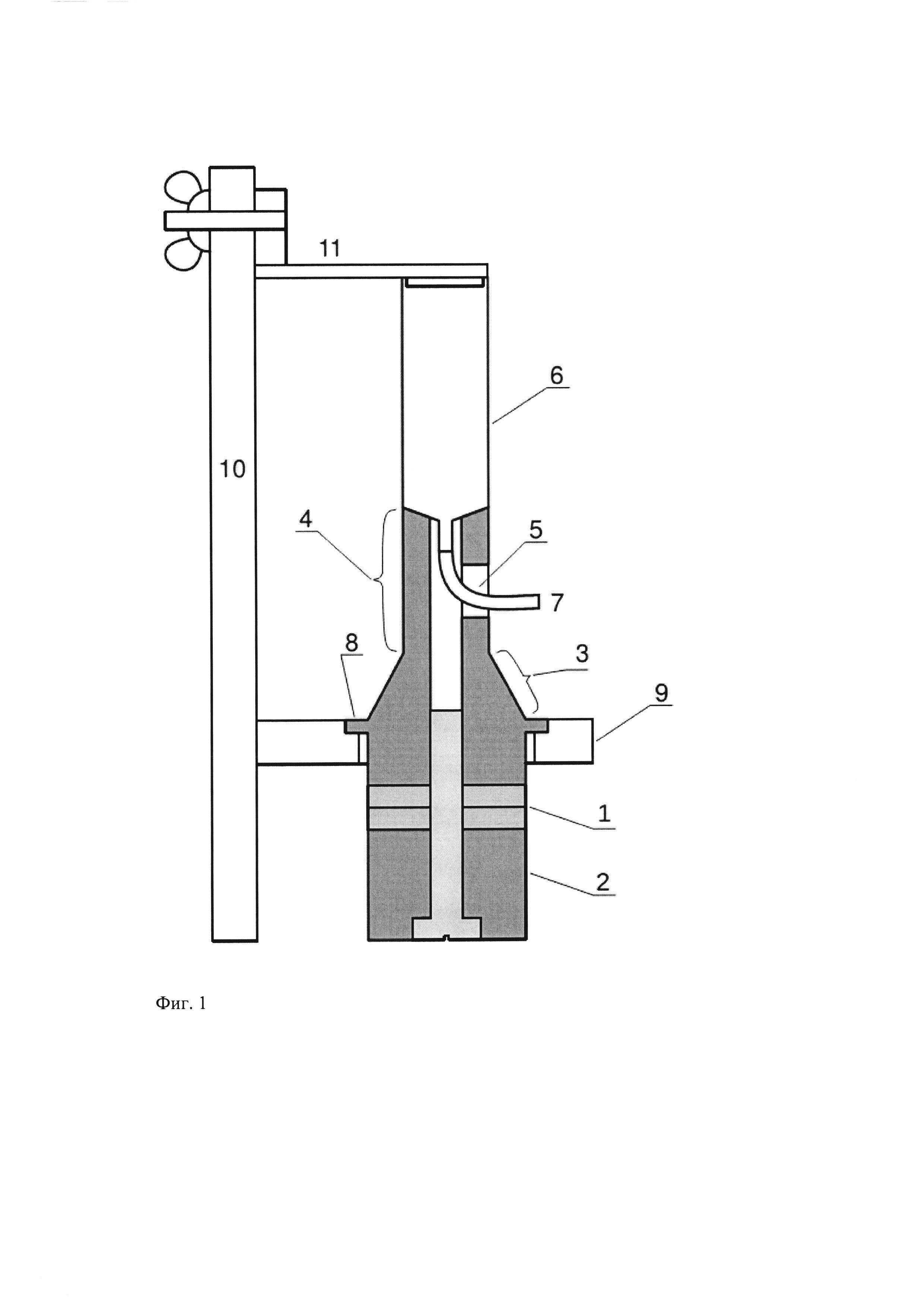
Конструкция устройства в разрезе представлена на фиг. 1. Устройство состоит из электроакустического преобразователя 1, являющегося источником колебаний, отражательной накладки 2, концентратора 3, служащего для увеличения амплитуды ультразвуковых колебаний, создаваемых преобразователем и согласования его с обрабатываемой средой. Концентратор, в зависимости от задачи, может иметь различную конструкцию или отсутствовать. Звукопровод 4, имеющий форму толстостенной трубки круглого сечения, подводит колебания ко дну емкости 6. Звукопровод имеет сбоку отверстие 5, открывающееся во внутренний канал звукопровода, которое служит для вывода наружу трубки 7, присоединенной к патрубку в дне емкости и проходящей по внутреннему каналу звукопровода. Трубка служит для слива или залива обрабатываемой жидкости в емкость, а также для подачи газа с целью улучшения эффективности ультразвуковой обработки. Верхняя поверхность звукопровода передает ультразвуковые колебания на дно емкости с обрабатываемой жидкостью и имеет форму, соответствующую форме дна емкости. Так, при использовании в качестве емкости пластикового медицинского шприца с коническим дном, выходная поверхность звукопровода выбирается подобной боковой поверхности усеченного конуса с соотвествующими размерами и конусностью. Целесообразно выбирать наружный диаметр звукопровода близким к диаметру емкости, внутренний - минимальным достаточным для прохождения трубки для жидкости, ширину бокового отверстия для вывода трубки равной диаметру внутреннего канала звукопровода, а его высоту достаточной для пропускания трубки без ее смятия.

[10]

Ультразвуковая колебательная система удерживается крепежным пояском 8 в отверстии горизонтальной пластины 9. Пластина жестко крепится к основанию 10, за которое предпочтительно закреплять устройство. Для прижатия емкости к звукопроводу и ее фиксации устройство имеет соответствующий узел, представляющий собой упругую пластину 11. В пластине имеется центрирующий выступ, входящий внутрь емкости и/или охватывающий ее. Пластина 11 прикреплена одним концом к основанию 10 винтом и гайкой-барашком так, что возможно быстрое ее снятие либо отвод вверх для снятия емкости, а также регулирование силы прижатия емкости к звукопроводу. При необходимости герметичного закрытия емкости сверху, например, с целью создания контролируемого давления над жидкостью, либо обеспечение слива или залива жидкости путем создания разряжения в емкости, пластина может быть выполнена с уплотняющими элементами и при необходимости снабжена соответствующим патрубком.

[11]

При установке емкости в устройство для обеспечения хорошего акустического контакта требуется ее центрирование на звукопроводе. Центрирование может обеспечиваться патрубком емкости, входящим в центральной отверстие звукопровода. Для более точного центрирования звукопровод изготавливают с вертикальным кольцевым выступом, охватывающим дно емкости как показано на фиг. 2. Практически достаточна высота выступа не более 1 мм.

[12]

В некоторых случаях подача ультразвуковых колебаний на стенки емкости нежелательна, поскольку может вызвать их чрезмерный нагрев или повреждение емкости. В этих случаях звукопровод выполняют диаметром меньшим дна емкости (фиг. 3), тогда колебания дна частично демпфируются его участками, не находящимися в контакте со звукопроводом и колебания, передающиеся на стенки емкости ослабляются.

[13]

В реальных условиях плотного прилегания дна сменной емкости к выходной поверхности звукопровода по всей площади добиться сложно, поэтому для улучшения передачи звука используют промежуточные слои мягких материалов, проводящие звук. Гелеобразные материалы, используемые в медицине и дефектоскопии, для передачи ультразвука высокой мощности непригодны вследствие текучести и разбрызгивания, поэтому для получения плотного прилегания емкости и хорошей передачи звука выходную поверхность покрывают слоем упругого материала, например, резины, причем для лучшей передачи звука резину можно вулканизировать непосредственно на поверхности звукопровода. При большом разбросе форм дна емкостей, при сложностях связанных с применением резины или нежелательности сильного прижатия сосуда, выходную поверхность звукопровода покрывают слоем пластичного вещества. Хорошие результаты получаются при применении слоя бутилкаучука, при этом излишки материала могут быть выдавлены наружу прижатием емкости.

[14]

Промышленностью изготавливаются устройства для ультразвуковой обработки с возможностью введения газа в обрабатываемую жидкость что значительно улучшает ее перемешивание во время диспергирования [1]. Также известно что возникновению и развитию кавитации способствую пузырьки, находящиеся в обрабатываемой жидкости и являющиеся центрами развития кавитации [4]. Таким образом, подача газа в обрабатываемую жидкость не только способствует ее лучшему перемешиванию, но и снижает мощность ультразвука, необходимую для развития кавитации, что наблюдается на практике. В указанном устройстве-прототипе такой режим обработки обеспечить невозможно, а выпускаемые промышленностью устройства являются погружными, а значит имеют контакт с жидкостью, а также вводят газ в середину толщи жидкости, что приводит к неравномерности распределения в ней пузырьков-зародышей кавитации.

[15]

Способ ультразвуковой обработки жидкости с одновременным введением в нее газа в настоящем устройстве позволяет улучшить перемешивание обрабатываемой жидкости и снизить требуемую для возникновения кавитации мощность. При реализации такого способа газ небольшим потоком (недостаточным для выплескивания или выдувания жидкости из емкости) подается в обрабатываемую жидкость через патрубок в дне емкости по трубке во время работы устройства. Для емкости объемом 10 мл (медицинский шприц) достаточный расход газа составляет 1-10 мл/мин. Ультразвуковое воздействие также разбивает пузыри газа на более мелкие, таким образом возможна обработка жидкости таким способом в емкостях небольшого диаметра, не приводящая к выплескиванию жидкости, что возможно при пузырьковом перемешивании без использования ультразвука. При продувании воздуха зрительно наблюдается интенсивное перемешивание жидкости, а также снижение мощности, необходимой для возникновения кавитации, до двух раз, в зависимости от свойств жидкости и ее температуры.

[16]

Источники информации

[17]

1. Хмелев В.Н., Попова О.В. Многофункциональные ультразвуковые аппараты и их применение в условиях малых производств, сельском и домашнем хозяйстве. - Барнаул: Изд-во Алт. гос. техн. ун-та, 1997.

[18]

2. Патент Великобритании GB 2250931.

[19]

3. Патент США US 20120238736. (прототип)

[20]

4. Агранат Б.А. и др. Основы физики и техники ультразвука // М.: Высшая школа. - 1987. - Т. 352.

Как компенсировать расходы
на инновационную разработку
Похожие патенты