патент
№ RU 2682232
МПК F16L3/12

Узел крепления трубопровода на корпусе турбомашины

Авторы:
Терешко Антон Герольдович
Номер заявки
2017139953
Дата подачи заявки
17.11.2017
Опубликовано
15.03.2019
Страна
RU
Как управлять
интеллектуальной собственностью
Чертежи 
2
Реферат

Изобретение относится к конструированию узлов крепежной арматуры трубопроводов в машиностроении, преимущественно в турбомашиностроении. Узел крепления трубопровода на корпусе турбомашины содержит хомут, охватывающий участок трубопровода и закрепленный при помощи средства фиксации на корпусе турбомашины, при этом хомут снабжен по меньшей мере двумя фланцами со сквозными отверстиями под средство фиксации, прокладку, установленную между хомутом и охватываемым участком трубопровода. Кроме того, узел крепления трубопровода снабжен четным количеством плоских ребер жесткости, попарно соединяющих хомут с фланцами. При этом ось сквозных отверстий расположена между соответствующей парой ребер жесткости, а хомут, фланцы и ребра жесткости выполнены из композитного материала, армированного полиимидными или арамидными волокнами. Изобретение обеспечивает снижение массы при сохранении требуемой жесткости и прочности и, как следствие, обеспечение ресурса и надежности узла крепления трубопровода на корпусе турбомашины в целом, в том числе и в условии работы при высоких температурах, то есть при температурах, близких к верхним границам температур допустимой работоспособности применяемых материалов. 9 з.п. ф-лы, 2 ил.

Формула изобретения

1. Узел крепления трубопровода на корпусе турбомашины, содержащий хомут, охватывающий участок трубопровода и закрепленный при помощи средства фиксации на корпусе турбомашины, при этом хомут снабжен по меньшей мере двумя фланцами со сквозными отверстиями под средство фиксации, прокладку, установленную между хомутом и охватываемым участком трубопровода, отличающийся тем, что он снабжен четным количеством плоских ребер жесткости, попарно соединяющих хомут с фланцами, при этом ось сквозных отверстий расположена между соответствующей парой ребер жесткости, а хомут, фланцы и ребра жесткости выполнены из композитного материала, армированного полиимидными или арамидными волокнами.

2. Узел крепления трубопровода на корпусе турбомашины по п. 1, отличающийся тем, что он снабжен шарниром с полой осью, охватывающим участок трубопровода, при этом шарнир установлен внутри хомута, а прокладка установлена соответственно между хомутом и шарниром или между шарниром и трубопроводом.

3. Узел крепления трубопровода на корпусе турбомашины по п. 2, отличающийся тем, что шарнир с полой осью выполнен из антифрикционного материала.

4. Узел крепления трубопровода на корпусе турбомашины по п. 3, отличающийся тем, что шарнир с полой осью выполнен из фторопласта.

5. Узел крепления трубопровода на корпусе турбомашины по п. 1, отличающийся тем, что он снабжен по меньшей мере одним крепежным элементом для средства фиксации, соосным соответствующему сквозному отверстию.

6. Узел крепления трубопровода на корпусе турбомашины по п. 5, отличающийся тем, что крепежный элемент выполнен зацело с фланцем.

7. Узел крепления трубопровода на корпусе турбомашины по п. 1, отличающийся тем, что хомут выполнен в виде цельной детали.

8. Узел крепления трубопровода на корпусе турбомашины по п. 1, отличающийся тем, что хомут выполнен из двух разъемных частей.

9. Узел крепления трубопровода на корпусе турбомашины по п. 8, отличающийся тем, что разъемные части хомута выполнены симметричными относительно плоскости их разъема.

10. Узел крепления трубопровода на корпусе турбомашины по п. 8, отличающийся тем, что между противоположными фланцами разных разъемных частей хомута реализован зазор.

Описание

[1]

Изобретение относится к конструированию узлов крепежной арматуры трубопроводов в машиностроении, преимущественно в турбомашиностроении.

[2]

В качестве наиболее близкого аналога (прототипа) выбран узел крепления трубопровода на корпусе турбомашины, содержащий хомут, охватывающий участок трубопровода и закрепленный при помощи средства фиксации на корпусе турбомашины, при этом хомут снабжен, по меньшей мере, двумя фланцами со сквозными отверстиями под средство фиксации, прокладку, установленную между хомутом и охватываемым участком трубопровода (А.А. Иноземцев, М.А. Нихамкин, В.Л. Сандрацкий, «Газотурбинные двигатели», ОАО «Авиадвигатель», г. Пермь, 2007 г., стр. 888-889, рис. 13.2.1.6_1 а, б, г, д, е).

[3]

Основными недостатками такого технического решения является значительная масса.

[4]

Задачей предлагаемого изобретения является снижение массы устройства с сохранение высокой надежности по аналогии с прототипом в условиях работы при высоких температурах.

[5]

Техническим результатом, достигаемым при использовании заявленного устройства, является снижение массы при сохранении требуемой жесткости и прочности и, как следствие, обеспечение ресурса и надежности узла крепления трубопровода на корпусе турбомашины в целом, в том числе и в условии работы при высоких температурах, то есть при температурах, близких к верхним границам температур допустимой работоспособности применяемых материалов.

[6]

Ожидаемый технический результат достигается тем, что узел крепления трубопровода на корпусе турбомашины содержит хомут, охватывающий участок трубопровода и закрепленный при помощи средства фиксации на корпусе турбомашины, при этом хомут снабжен, по меньшей мере, двумя фланцами со сквозными отверстиями под средство фиксации, прокладку, установленную между хомутом и охватываемым участком трубопровода, при этом он снабжен четным количеством плоских ребер жесткости, попарно соединяющих хомут с фланцами, при этом ось сквозных отверстий расположена между соответствующей парой ребер жесткости, а хомут, фланцы и ребра жесткости выполнены из композитного материала, армированного полиимидными или арамидными волокнами.

[7]

Кроме того, узел крепления трубопровода на корпусе турбомашины снабжен шарниром с полой осью охватывающим участок трубопровода, при этом шарнир установлен внутри хомута, а прокладка установлена соответственно между хомутом и шарниром или между шарниром и трубопроводом.

[8]

При этом, в узле крепления трубопровода на корпусе турбомашины шарнир с полой осью выполнен из антифрикционного материала.

[9]

При этом, в узле крепления трубопровода на корпусе турбомашины шарнир с полой осью выполнен из фторопласта.

[10]

При этом, в узле крепления трубопровода на корпусе турбомашины узел крепления трубопровода на корпусе турбомашины снабжен по меньшей мере одним крепежным элементом для средства фиксации соосным соответствующему сквозному отверстию.

[11]

Кроме того, в узле крепления трубопровода на корпусе турбомашины крепежный элемент выполнен зацело с фланцем.

[12]

Кроме того, в узле крепления трубопровода на корпусе турбомашины хомут выполнен в виде цельной детали.

[13]

Кроме того, в узле крепления трубопровода на корпусе турбомашины хомут выполнен из двух разъемных частей.

[14]

Кроме того, в узле крепления трубопровода на корпусе турбомашины разъемные части хомута выполнены симметричными относительно плоскости их разъема.

[15]

Кроме того, в узле крепления трубопровода на корпусе турбомашины между противоположными фланцами разных разъемных частей хомута реализован зазор.

[16]

Снабжение четным количеством плоских ребер жесткости, попарно соединяющих хомут с фланцами, обеспечивает требуемую жесткость и прочность узла крепления, который воспринимают нагрузки с трубопровода в работе, что обеспечивает ресурс и надежность узла крепления трубопровода в целом.

[17]

Расположение оси сквозных отверстий между соответствующей парой ребер жесткости, обеспечивает требуемую жесткость и прочность узла крепления, который воспринимают нагрузки с трубопровода в работе, что обеспечивает ресурс и надежность узла крепления трубопровода в целом.

[18]

Выполнение хомута, фланцев и ребер жесткости из композитного материала, армированного полиимидными или арамидными волокнами, обеспечивает требуемую жесткость и прочность при снижении массы, что обеспечивает ресурс и надежность узла крепления трубопровода в целом, в том числе в условиях работы при высоких температурах.

[19]

Снабжение хомута шарниром с полой осью, охватывающим трубопровод, при этом шарнир установлен внутри хомута, а прокладка установлена соответственно между хомутом и шарниром или между шарниром и трубопроводом, снижает нагрузку на хомут с трубопровода, а именно, исключает ее моментную составляющую, что обеспечивает ресурс и надежность узла крепления трубопровода в целом.

[20]

Выполнение шарнира с полой осью из антифрикционного материала снижает износ шарнира, что обеспечивает ресурс и надежность узла крепления трубопровода в целом.

[21]

Выполнение шарнира с полой осью из фторопласта снижает массу узла крепления трубопровода в целом.

[22]

Снабжение, по меньшей мере, одним крепежным элементом (ответная часть может быть частью корпуса турбомашины) для средства фиксации, соосным соответствующим сквозным отверстиям, обеспечивает требуемую жесткость, ресурс и надежность узла крепления трубопровода в целом.

[23]

Выполнение крепежного элемента зацело с фланцем замещает объем материала фланца материалом крепежного элемента, что снижает массу узла крепления трубопровода в целом.

[24]

Выполнение хомута в виде цельной детали увеличивает жесткость, что обеспечивает ресурс и надежность узла крепления трубопровода в целом. Требуется в случае необходимости крепить хомут на корпусе турбомашины в одной точке.

[25]

Выполнение хомута из двух разъемных частей повышает прочность фланцев узла крепления трубопровода, с которого приходит усилие и передается через фланцы на две точки крепления, что обеспечивает ресурс и надежность узла крепления трубопровода в целом.

[26]

Выполнение разъемных частей хомута симметричными относительно плоскости их разъема позволяет равномерно (пополам) распределить нагрузку с трубопровода между ними. Свойство равнопрочности разъемных частей хомута обеспечивает требуемые ресурс и надежность узла крепления трубопровода в целом.

[27]

Реализация зазора между противоположными фланцами разных разъемных частей хомута обеспечивает гарантированное стягивание разъемных частей хомута крепежным элементом или крепежными элементами, в случае неточности их изготовления, то есть исключает возможность упереться одной разъемной части хомута в другую до обеспечения требуемого усилия обжатия участка трубопровода с прокладкой, что обеспечивает требуемую жесткость, ресурс и надежность узла крепления трубопровода в целом.

[28]

Сущность настоящего изобретения поясняется чертежами.

[29]

На фиг. 1 - представлен частный случай реализации узла крепления трубопровода из композитного материала на корпусе турбомашины;

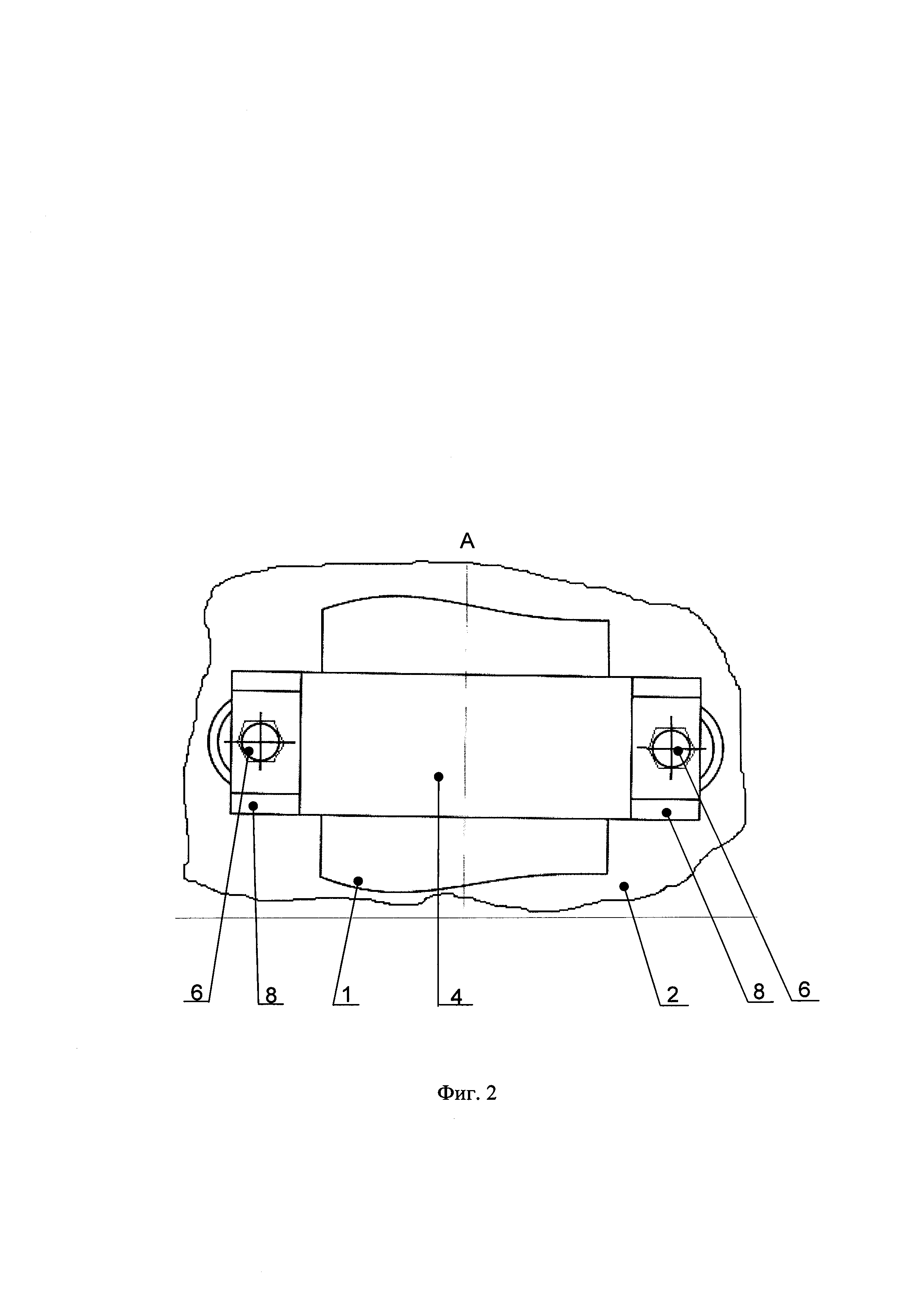
[30]

На фиг. 2 - представлен вид А - вид сверху на узел крепления трубопровода из композитного материала на корпусе турбомашины.

[31]

В частном случае реализации узел крепления трубопровода 1 на корпус 2 турбомашины содержит хомут 3 (фиг. 1), состоящий из двух разъемных частей 4, 5, выполненных из композитного материала, армированного полиимидными или арамидными волокнами, что позволяет сохранять работоспособность при высоких температурах, средства фиксации 6 и прокладку 7, выполняющую функцию демпфера. Хомут 3 снабжен двумя парами плоских ребер 8, выполненных на разъемной части 4 и соединяющих хомут 3 с фланцами 9 разъемной части 4. Разъемная часть 5 также снабжена фланцами 10. Плоские ребра 8 и фланцы 9, 10 также выполнены из композитного материала, армированного полиимидными или арамидными волокнами, зацело с хомутом 3 (фиг. 2).

[32]

Сборка узла осуществляется следующим образом: на закрепляемый участок трубопровода 1 устанавливают прокладку 7. Охватывают ее с двух сторон разъемными частями 4, 5. После чего крепят последние средствами фиксации 6 на корпусе 2 турбомашины, в представленном случае исполнения конструкции узла - это два винтовых соединения.

[33]

В работе конструкция при помощи хомута 3 связывает трубопровод 1 с корпусом 2 и образует между ними более жесткую систему, чем трубопровод 1 в отдельности. Из-за высокой динамической нагруженности турбомашины все элементы ее конструкции подвергаются динамическому воздействию, что приводит к их вынужденным колебаниям. Представленное крепление снижает амплитуды колебаний трубопровода 1 и привносит в систему дополнительное демпфирование за счет свойств прокладки 7, тем самым снижая динамические напряжения в трубопроводе 1. При этом трубопровод 1 нагружает хомут 3. Поэтому хомут 3, а именно разъемные части 4, 5 и их средство фиксации 6, удерживают трубопровод 1 в месте соединения не корпусе 2 турбомашины, обеспечивая их совместные колебания за счет своих жесткостных и прочностных свойств.

[34]

Исполнение заявленной конструкции из композитного материала, армированного полиимидными или арамидными волокнами, позволяет значительно снизить массу и обеспечить требуемые ресурс и надежность, в том числе и при работе в условиях высоких температур всего узла в целом.

Как компенсировать расходы
на инновационную разработку
Похожие патенты