патент
№ RU 2652467
МПК G06F13/00

ПРЕОБРАЗОВАТЕЛЬ УГЛОВОЙ ИНФОРМАЦИИ

Авторы:
Казаков Сергей Васильевич Ленский Юрий Владимирович Петров Виктор Владимирович
Все (4)
Номер заявки
2016151365
Дата подачи заявки
27.12.2016
Опубликовано
26.04.2018
Страна
RU
Как управлять
интеллектуальной собственностью
Чертежи 
1
Реферат

Изобретение относится к устройствам сопряжения интерфейсов обмена информацией, ее контроля и обработки. Техническим результатом является расширение функциональных возможностей преобразователя, позволяющее прямое и обратное преобразование интерфейса. Преобразователь угловой информации содержит: микроконтроллер (МК), приемопередатчик интерфейса RS-485/RS-422, основную шину данных, шину адреса абонента, входной и выходной буферные регистры, согласно изобретению введены два приемопередатчика интерфейса М2 с трансформаторной гальванической развязкой (ПМ2), адаптер мультиплексного канала (АМК) и формирователь прерываний (ФП), при этом входы-выходы ПМ2 образуют входы-выходы интерфейса М2 устройства, вход-выход приемопередатчика интерфейса RS-485/RS-422 соединен с линией данных абонента устройства, вход АМК соединен с шиной адреса абонента, выходы - с соответствующими входами буферных регистров, а входы-выходы соединены с соответствующими входами-выходами ПМ2, входы-выходы основной шины данных соединены с соответствующими входами-выходами АМК, входного и выходного буферных регистров, входы ФП соединены с соответствующими выходами АМК; МК входами-выходами соединен с соответствующими входами-выходами основной шины данных и приемопередатчика интерфейса RS-485/RS-422, входами - с портом USB преобразователя, выходами ФП, выходом АМК и входом - с шиной данных для программирования, а выходами - с входами абонента устройства и входами входного и выходного буферных регистров, а также выходом - с шиной данных для управления циклограмм обмена со специализированными устройствами. 1 ил.

Формула изобретения

Преобразователь угловой информации, содержащий микроконтроллер (МК), приемопередатчик интерфейса RS-485/RS-422, основную шину данных, шину адреса абонента, входной и выходной буферные регистры, отличающийся тем, что введены два приемопередатчика интерфейса М2 с трансформаторной гальванической развязкой (ПМ2), адаптер мультиплексного канала (АМК) и формирователь прерываний (ФП), при этом первые входы-выходы ПМ2 образуют входы-выходы интерфейса М2 преобразователя, первый вход-выход приемопередатчика интерфейса RS-485/RS-422 соединен с линией данных абонента преобразователя, АМК первым входом соединен с шиной адреса абонента, а первым и вторым входами-выходами соединен соответственно со вторыми входами-выходами ПМ2, первым выходом - с первым входом входного буферного регистра; первый вход-выход основной шины данных соединен с третьим входом-выходом АМК, а второй вход-выход - с первыми входами-выходами входного и выходного буферных регистров; первый, второй и третий входы ФП соединены соответственно со вторым, третьим и четвертым выходами АМК; первый вход-выход ФП соединен со вторым входом-выходом входного буферного регистра, первый вход выходного буферного регистра соединен со вторым выходом АМК; МК первым входом-выходом соединен с третьим входом-выходом основной шины данных, первым входом - с портом USB преобразователя, вторым входом-выходом - со вторым входом-выходом приемопередатчика интерфейса RS-485/RS-422, первым выходом - с входом абонента преобразователя, вторым выходом - со вторым входом входного буферного регистра, вторым входом - с четвертым выходом АМК, третьим и четвертым входами - с первым и вторым выходами ФП, третьим выходом - со вторым входом выходного буферного регистра, четвертым выходом - с шиной данных для управления и формирования циклограмм обмена, пятым входом - с шиной данных для программирования.

Описание

[1]

Изобретение относится к области цифровой вычислительной техники, а именно к устройствам сопряжения интерфейсов обмена информацией, ее контроля и обработки.

[2]

Из уровня техники известен аналог предлагаемого технического решения «Устройство сопряжения с основным цифровым каналом» (свидетельство на полезную модель RU 50693 U1), который принят за прототип.

[3]

Устройство сопряжения с основным цифровым каналом содержит узел-переходник к порту RS-232, микроконтроллер AT89S53, программируемую логическую интегральную схему (ПЛИС), реализующую шину данных, шину адреса, регистр индикации, регистр скорости, регистр передачи основного цифрового канала (ОЦК), регистр принятых данных ОЦК, регистр передаваемых данных биимпульсного канала (БИ), регистр принимаемых данных биимпульсного канала, кодер ОЦК, декодер ОЦК, схему вставки старт-стопных импульсов, схему вырезки старт-стопных импульсов, схему настройки скорости канала передачи, схему настройки скорости канала приема, а также светодиодный индикатор состояния устройства, биимпульсный узел аналоговых приемопередатчиков, цепи связи с портом ОЦК, цепи связи с биимпульсным каналом.

[4]

Устройство сопряжения с основным цифровым каналом предназначено для прямого и обратного преобразования сигналов ОЦК в интерфейс С1-И, ОЦК в интерфейс RS-232, а также взаимного преобразования интерфейсов RS-232 и С1-И.

[5]

Устройство обеспечивает следующие скорости обмена:

[6]

- по интерфейсу RS-232 - 57,6, 38,4, 19,2 и 9,6 кбит/с;

[7]

- по интерфейсу С1-И - 64, 48, 32, 16, 9,6, 4,8, 2,4 кбит/с;

[8]

- по ОЦК (G703) - 64 кбит/с в противонаправленном и сонаправленном режимах.

[9]

Режим работы определяется положением задающих микропереключателей либо настройками прикладного программного обеспечения.

[10]

Недостатками данного прототипа являются его малые функциональные возможности, не позволяющие осуществить преобразование и обмен информацией по каналам с наиболее перспективными и более скоростными интерфейсами передачи данных, а также отсутствие возможности промежуточной обработки, контроля данных и формирования сообщений в цифровой канал о недостоверности информации (в виде конкретного кода при нарушениях в обмене). Кроме того, прототип выполнен на импортной элементной базе.

[11]

Задачей предлагаемого технического решения является расширение функциональных возможностей - не только прямое и обратное преобразование интерфейса М2 ЦБК (как наиболее перспективного интерфейса, как по аппаратным затратам, так и по надежности) в интерфейсы абонентов RS-485/RS-422, USB (возможны и SPI, 12С), но и промежуточную обработку данных, контроль правильности обмена и достоверности данных, формирование сообщений в цифровой канал о недостоверности информации (в виде конкретного кода при нарушениях в обмене). Кроме того, преобразователь угловой информации должен быть выполнен, в отличие от прототипа, на современной отечественной элементной базе с применением БИС.

[12]

Заявленный технический результат достигается тем, что в преобразователь угловой информации, содержащий: микроконтроллер (МК), приемопередатчик интерфейса RS-485/RS-422, основную шину данных, шину адреса абонента, входной и выходной буферные регистры, согласно изобретению введены два приемопередатчика интерфейса М2 с трансформаторной гальванической развязкой (ПМ2), адаптер мультиплексного канала (АМК) и формирователь прерываний (ФП), при этом входы-выходы ГГМ2 образуют входы-выходы интерфейса М2 устройства, вход-выход приемопередатчика интерфейса RS-485/RS-422 соединен с линией данных абонента устройства, вход АМК соединен с шиной адреса абонента, выходы - с соответствующими входами буферных регистров, а входы-выходы соединены с соответствующими входами-выходами ПМ2, входы-выходы основной шины данных соединены с соответствующими входами-выходами АМК, входного и выходного буферных регистров, входы ФП соединены с соответствующими выходами АМК; МК входами-выходами соединен с соответствующими входами-выходами основной шины данных и приемопередатчика интерфейса RS-485/RS-422, входами - с портом USB преобразователя, выходами ФП, выходом АМК и входом - с шиной данных для программирования, а выходами - с входами абонента устройства и входами входного и выходного буферных регистров, а также выходом - с шиной данных для управления и формирования циклограмм обмена.

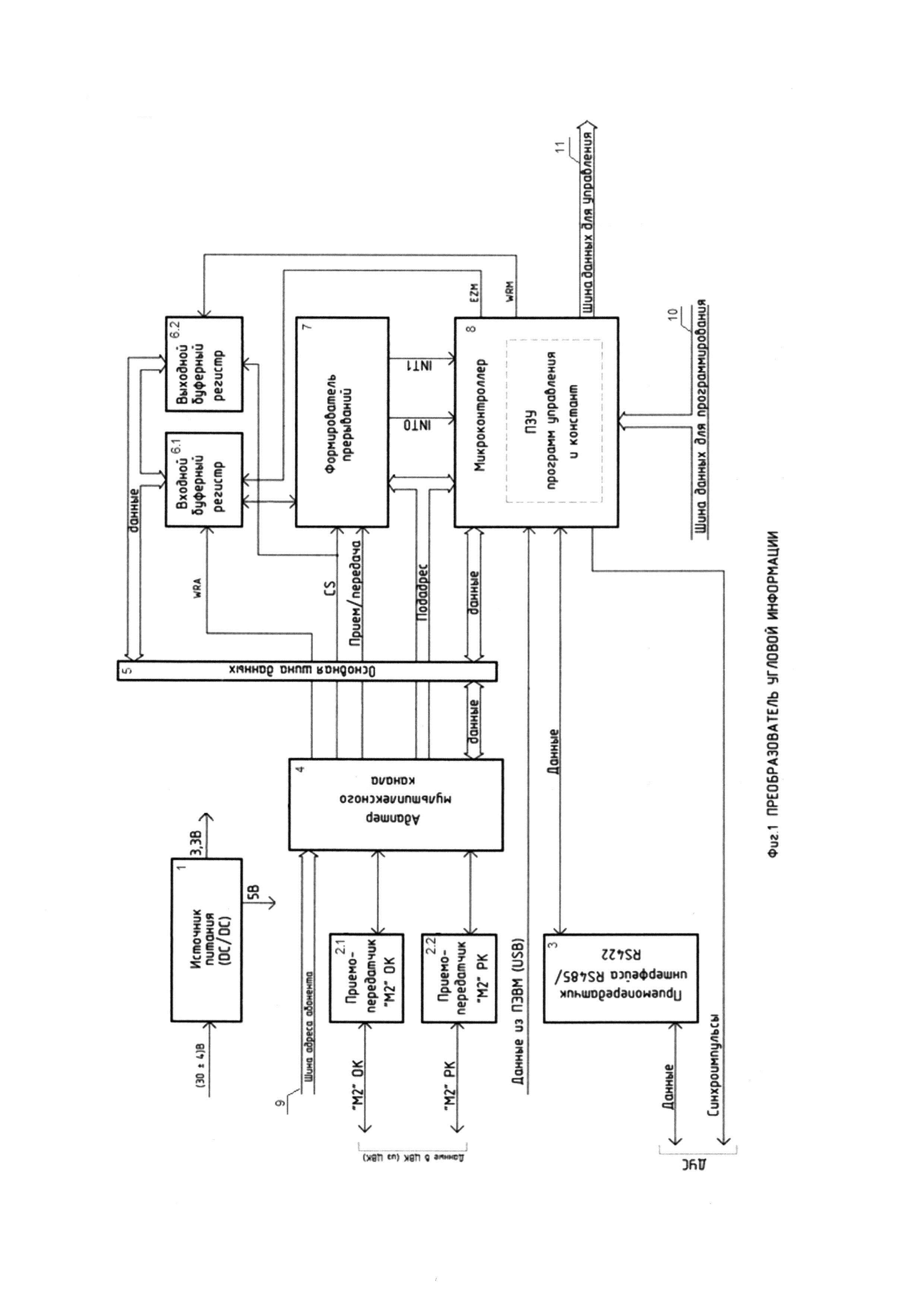
[13]

На фиг. 1 приведена структурная схема устройства преобразования угловой информации. Для питания устройства используется источник вторичного питания (DC/DC) (1).

[14]

Преобразователь угловой информации содержит: ПМ2 по основному (ОК) и резервному (РК) каналам (2.1 и 2.2), приемопередатчик по интерфейсам RS-485/RS-422 (3), адаптер мультиплексного канала (4), реализующий функцию приема последовательного кода интерфейса М2, его преобразования в параллельный цифровой код и обратное его преобразование при передаче данных, основная шина данных (5), входной и выходной буферные регистры (6.1 и 6.2), формирователь прерываний (7), микроконтроллер (8), шина адреса абонента (9), шина данных для программирования (10), шина данных для управления (11), цепи связи: с ЦВК, с ПЭВМ, с ДУС.

[15]

Преобразователь угловой информации предназначен для сопряжения интерфейсов абонентов - датчиков угловой скорости (ДУС) (RS-485/RS-422) в интерфейс М2 ЦВК, интерфейса USB ПЭВМ в интерфейс М2 ЦВК, прямого и обратного сигнала в параллельный 8- разрядный цифровой код, а также для контроля достоверности принимаемой с ДУСов информации и формирования при нарушениях в обмене сообщения с признаком недостоверности данных.

[16]

Устройство обеспечивает следующие скорости обмена:

[17]

- по интерфейсам RS-485/ RS-422 - от 9600 до 460800 бит/с;

[18]

- по интерфейсу USB - 1,5 Мбит/с, 12 Мбит/с;

[19]

- по интерфейсу М2 со стороны ЦВК - 1 Мбит/с.

[20]

Скорость обмена по интерфейсам RS-485/RS-422, USB может задаваться:

[21]

- программно при прошивке ПЗУ программ МК;

[22]

- путем перепрограммирования ПЗУ программ в составе устройства;

[23]

- по интерфейсу USB ПЭВМ задание скорости обмена ДУС.

[24]

Инициализация работы устройства осуществляется выдачей из ЦВК по интерфейсу М2 ОК или М2 РК командного слова (КС1) со словом данных (СД1), при условии совпадения адреса абонента (4…8)р КС1, с адресом абонента, установленным на шине адреса абонента (первый вход АМК), через внешний соединитель устройства.

[25]

КС1 со словом данных (Ф1 ГОСТ) поступает на ПМ2 ОК, который преобразует фазоманипулированный код М2 в биполярный, поступающий на вход АМК, который в свою очередь преобразует информацию из последовательного биполярного кода на входе в параллельный цифровой код на выходе. Переключение на обмен по РК осуществляется ЦВК при любом из нарушений протокола обмена по ОК интерфейса М2 согласно ГОСТ.

[26]

По сигналу WRA (запись), который также формируется АМК на первом выходе, производится запись СД1 из АМК во входной буферный регистр. Сигналы управления CS (чтение), «прием/передача» (направление обмена), и код подадреса (принятый по КС1), формируемые АМК на втором, третьем и четвертом выходах, передаются на первый, второй и третий входы ФП, который по результату их анализа формирует и выдает в МК сигнал прерывания INTO. Сигнал CS передается также на первый вход выходного буферного регистра. Кодовой комбинацией СД1 определяется один из следующих режимов работы устройства:

[27]

- опрос угловой информации с ДУС и ее передача в ЦВК;

[28]

- настройка технических характеристик ДУС (через второй вход-выход приемопередатчика интерфейса RS-485/RS-422, для опроса мгновенной или средней угловой скорости, частоты опроса, формата обмена);

[29]

- выбор констант для расчета контрольной суммы принимаемой из различных типов ДУС информации и соответствующей циклограммы обмена.

[30]

МК по сигналу прерывания INTO анализирует:

[31]

- код подадреса и переходит на соответствующую подпрограмму формирования циклограммы обмена с ДУС;

[32]

- слово данных (СД1), которое поступает на первый вход-выход МК через основную шину данных из входного буферного регистра по сигналу EZM, поступающему во входной буферный регистр из МК, и определяет соответствующие константы для расчета контрольной суммы принимаемой из ДУС информации.

[33]

По импульсу синхронизации МК ДУС фиксирует текущее значение угловой информации (скорости) и передает ее по линии данных на вход приемопередатчика интерфейса RS-485/RS-422, с выхода которого данные принимает МК в буфер приема типа FIFO, проверяет достоверность принятой от абонента информации по угловой скорости путем вычисления контрольной суммы принятых данных и ее сравнения с контрольной суммой, сопровождающей информацию, при нарушении правил обмена с ДУС устройство формирует и передает в ЦВК константу в виде кода 7FFF (как признак недостоверности данных) по всем трем осям ДУС, при правильности обмена информация из буфера приема типа FIFO переписывается в ОЗУ МК для последующей ее передачи в ЦВК. Для подготовки к опросу угловой информации со стороны ЦВК по интерфейсу М2 МК формирует и передает в выходной буферный регистр, сигнал WRM и переписывает первые два байта данных через первый вход-выход в выходной буферный регистр.

[34]

Опрос угловой информации производится по КС2 (Ф2 ГОСТ), поступающему из ЦВК через ПМ2 ОК на вход АМК.

[35]

По КС2 код подадреса и сигналы управления CS (чтение), «прием/передача» (направление обмена), формируемые АМК, на формирователь прерываний, который по результату их анализа формирует и выдает в МК сигналы прерывания INT1. Количество сигналов прерывания INT1 определяется форматом данных (разрядностью) массива данных по угловой скорости ДУС.

[36]

По первому сигналу INT1 ранее подготовленные для передачи данные (16р) из выходного буферного регистра, через основную шину данных записываются в буферный регистр АМК и передаются через ПМ2 ОК или ПМ2 РК по интерфейсу М2 ОК или М2 РК в ЦВК, далее по концу данного сигнала INT1 МК читает из внутреннего ОЗУ следующие 16p данных и записывает их в выходной буферный регистр.

[37]

По второму сигналу и последующим до шестого INT1 процедура обмена аналогична с первым INT1.

[38]

По шестому сигналу INT1 (после процесса передачи СД6 по интерфейсу М2) МК переписывает вновь из ОЗУ первые два байта данных ДУС в выходной буферный регистр. Необходимость данной операции предусматривается для возможности повторного опроса угловой информации ДУС (в случае когда протокол обмена по ОК интерфейса М2 признан ЦВК не соответствующим ГОСТ, опрос повторяется по РК).

[39]

В МК предусмотрена стыковка с ПЭВМ по интерфейсу USB, которая позволяет при отработочных испытаниях задавать через второй вход-выход приемопередатчика интерфейса скорость обмена, соответствующую интерфейсу RS-485/RS-422; режим работы ДУС (синхронный, асинхронный); выходную информацию (средняя скорость, мгновенная скорость, ускорение), а также реализована возможность с помощью ПЭВМ через порт USB формировать на шине данных для управления циклограммы обмена.

[40]

Для возможности внесения изменений в программу прошивки ПЗУ МК, которым определяются циклограммы обмена устройства в ЦВК, на входе устройства организована шина данных для программирования, для сигналов управления и данных, поступающих с внешнего программатора.

[41]

Таким образом, заявлен преобразователь угловой информации, содержащий МК, приемопередатчик интерфейса RS-485/RS-422, основную шину данных, шину адреса абонента, входной и выходной буферные регистры. Отличительная особенность заключается в том, что введены два приемопередатчика интерфейса М2 с трансформаторной гальванической развязкой (ПМ2), адаптер мультиплексного канала (АМК) и формирователь прерываний (ФП), при этом первые входы-выходы ПМ2 образуют входы-выходы интерфейса М2 преобразователя, первый вход-выход приемопередатчика интерфейса RS-485/RS-422 соединен с линией данных абонента преобразователя, АМК первым входом соединен с шиной адреса абонента, а первым и вторым входами-выходами соединен соответственно со вторыми входами-выходами ПМ2, первым выходом - с первым входом входного буферного регистра; первый вход-выход основной шины данных соединен с третьим входом-выходом АМК, а второй вход-выход - с первыми входами-выходами входного и выходного буферных регистров; первый, второй и третий входы ФП соединены соответственно со вторым, третьим и четвертым выходами АМК; первый вход-выход ФП соединен со вторым входом-выходом входного буферного регистра, первый вход выходного буферного регистра соединен со вторым выходом АМК; МК первым входом-выходом соединен с третьим входом-выходом основной шины данных, первым входом - с портом USB преобразователя, вторым входом-выходом - со вторым входом-выходом приемопередатчика интерфейса RS-485/RS-422, первым выходом - с входом абонента преобразователя, вторым выходом - со вторым входом входного буферного регистра, вторым входом - с четвертым выходом АМК, третьим и четвертым входами - с первым и вторым выходами ФП, третьим выходом - со вторым входом выходного буферного регистра, четвертым выходом - с шиной данных для управления и формирования циклограмм обмена, пятым входом - с шиной данных для программирования.

[42]

Техническим результатом является расширение функциональных возможностей преобразователя, позволяющее не только прямое и обратное преобразование интерфейса, но и промежуточную обработку данных, а также осуществление контроля правильности обмена и достоверности данных, формирование сообщения в цифровой канал о недостоверности информации.

Как компенсировать расходы
на инновационную разработку
Похожие патенты