патент
№ RU 2490411
МПК E05B65/46

ЗАПОРНОЕ УСТРОЙСТВО ШКАФА

Авторы:
Петров Евгений Валерьевич (PL)
Номер заявки
2012120270/12
Дата подачи заявки
16.05.2012
Опубликовано
20.08.2013
Страна
RU
Как управлять
интеллектуальной собственностью
Чертежи 
5
Реферат

Изобретение относится к запирающим и/или блокирующим механизмам, используемым для фиксирования положения и исключения перемещения, которое имеет место в выдвижных ящиках шкафов, столов, тумб т.д. Запорное устройство включает смонтированную на внутренней поверхности корпуса шкафа вертикальную запорную штангу, оснащенную элементами блокирования выдвижных ящиков в закрытом положении, взаимодействующие между собой кнопку-толкатель с возвратной пружиной и передаточный механизм, а также устройство контроля доступа, связанное с соленоидом, шток которого выполнен с возможностью блокирования кнопки-толкателя с возвратной пружиной в нажатом положении. Жесткость возвратной пружины кнопки-толкателя выбрана из расчета обеспечения механической блокировки кнопкой-толкателем возвратно-поступательного перемещения штока соленоида. Технический результат заключается в упрощении конструкции запорного устройства и повышении надежности фиксации выдвижных ящиков мебели в закрытом состоянии. 8 з.п. ф-лы, 6 ил.

Формула изобретения

1. Запорное устройство шкафа с, по крайней мере, одним выдвижным ящиком, включающее смонтированную на внутренней поверхности корпуса шкафа вертикальную запорную штангу, оснащенную, по крайней мере, одним элементом блокирования выдвижного ящика в закрытом положении, отличающееся тем, что оно дополнительно содержит взаимодействующие между собой кнопку-толкатель с возвратной пружиной и передаточный механизм, выполненные с возможностью передачи горизонтального поступательного движения кнопки-толкателя в вертикальное поступательное движение вертикальной запорной штанги для блокирования и разблокирования, по крайней мере, одного выдвижного ящика в закрытом положении, а также устройство контроля доступа с блоком идентификации, связанное с соленоидом, шток которого выполнен с возможностью блокирования кнопки-толкателя с возвратной пружиной в нажатом положении, при котором, по крайней мере, один выдвижной ящик находится в закрытом положении и доступ к его содержимому невозможен, при этом жесткость возвратной пружины кнопки-толкателя выбрана из расчета обеспечения механической блокировки возвратно-поступательного перемещения штока соленоида.

2. Запорное устройство по п.1, отличающееся тем, что блок идентификации устройства контроля доступа установлен на лицевой панели корпуса шкафа.

3. Запорное устройство по п.1, отличающееся тем, что блок идентификации устройства контроля доступа установлен на лицевой панели, по крайней мере, одного выдвижного ящика.

4. Запорное устройство по любому из пп.1-3, отличающееся тем, что кнопка-толкатель установлена на лицевой панели корпуса шкафа.

5. Запорное устройство по любому из пп.1-3, отличающееся тем, что кнопка-толкатель установлена на лицевой панели, по крайней мере, одного выдвижного ящика.

6. Запорное устройство по любому из пп.1-3, отличающееся тем, что в качестве блока идентификации устройства контроля доступа используется кодовая клавиатура.

7. Запорное устройство по п.1, отличающееся тем, что запирание, по крайней мере, одного выдвижного ящика осуществляется при задвинутом выдвижном ящике путем передачи поступательного механического воздействия с кнопки-толкателя на вертикальную запорную штангу через механизм преобразования горизонтального поступательного движения кнопки-толкателя в вертикальное поступательное движение вертикальной запорной штанги, которая, перемещаясь в крайнее верхнее положение, блокирует выдвижение, по крайней мере, одного выдвижного ящика, в свою очередь кнопка-толкатель блокируется посредством штока соленоида в нажатом положении.

8. Запорное устройство по п.1, отличающееся тем, что возврат запорного устройства шкафа из положения "закрыто" в положение "открыто" осуществляется последовательно управляющей командой с устройства контроля доступа на соленоид и механическим нажатием на кнопку-толкатель.

9. Запорное устройство по п.1, отличающееся тем, что корпус шкафа и выдвижные ящики выполнены с использованием технологий и из материалов, обеспечивающих сохранность содержимого шкафа в случае внешнего воздействия высоких температур.

Описание

[1]

Изобретение относится к машиностроению, в частности, к запирающим и/или блокирующим механизмам, используемым для фиксирования закрытого положения и исключения перемещения, например такого, которое имеет место в выдвижных ящиках шкафов, столов, тумб, и т.д.

[2]

Из уровня техники широко известны разнообразные запирающие устройства для мебели ящичного типа, выполненные с механическими, кодовыми и электронными замками, а также с автоматическим, механическими или комбинированными механизмами перемещения запорно-блокирующего элемента (см., например, SU 1557308 от 15.04.1990, US 5634701 от 03.01.1997, CA 2406782 от 05.06.2003).

[3]

Известные запирающие механизмы для мебели ящичного типа (для выдвижных ящиков) имеют целый ряд недостатков. В некоторых случаях механизмы являются громоздкими, тяжелыми или ненадежными, то есть не подходят для использования во многих случаях и вариантах условий эксплуатации. В других известных устройствах слишком большое потребление электроэнергии, достаточно много сервомеханизмов или сложные электронные схемы и ненадежные системы взаимодействия отдельных элементов.

[4]

Задачей заявленного устройства является создание простого и надежного запорного устройства, лишенного вышеперечисленных недостатков.

[5]

Технический результат, достигаемый при решении поставленной задачи, выражается в упрощении конструкции запорного устройства и повышении надежности фиксации выдвижных ящиков мебели в закрытом состоянии и в повышении степени защиты от несанкционированного доступа к содержимому выдвижных ящиков.

[6]

Заявляемый технический результат достигается за счет того, что запорное устройство шкафа с, по крайней мере, одним выдвижным ящиком, включает смонтированную на внутренней поверхности корпуса шкафа вертикальную запорную штангу, с возможностью ее вертикального перемещения, оснащенную, по крайней мере, одним элементом блокирования выдвижного ящика в закрытом положении. Новым, согласно предполагаемому изобретению, является то, что запорное устройство шкафа дополнительно содержит взаимодействующие между собой кнопку-толкатель с возвратной пружиной и передаточный механизм, выполненные с возможностью передачи горизонтального поступательного движения кнопки-толкателя в вертикальное поступательное движение вертикальной запорной штанги для блокирования и разблокирования, по крайней мере, одного выдвижного ящика в закрытом положении, а также устройство контроля доступа, связанное с соленоидом, шток которого имеет возможность блокирования кнопки-толкателя с возвратной пружиной в нажатом положении, при котором, по крайней мере, один выдвижной ящик находится в закрытом положении и доступ к его содержимому невозможен, при этом жесткость возвратной пружины кнопки-толкателя выбрана из расчета обеспечения механической блокировки кнопкой-толкателем возвратно-поступательного перемещения штока соленоида.

[7]

Предлагаемое компоновочное решение механических элементов устройства с минимальным количеством рабочих элементов: кнопка-толкатель и вертикальная запорная штанга значительно упрощает конструкцию запорного устройства и повышает его надежность и ремонтопригодность, включение же в схему электромагнитного соленоида, в качестве исполнительного механизма устройства контроля доступа позволяет использовать в его составе различные решения для идентификации пользователя. В частности, кодовые клавиатуры, считыватели магнитных карт, различные биометрические сенсоры и др. При этом, оптимальным с точки зрения защиты от несанкционированного доступа является разделение устройства контроля доступа на блок идентификации и блок подачи управляющей команды на соленоид, и размещение их снаружи и внутри корпуса устройства соответственно.

[8]

Для повышения надежности фиксации выдвижных ящиков целесообразно, чтобы запирание осуществлялось при их задвинутом положении путем передачи поступательного механического воздействия с кнопки-толкателя на вертикальную запорную штангу через механизм преобразования горизонтального поступательного движения кнопки-толкателя в вертикальное поступательное движение вертикальной запорной штанги, которая, перемещаясь в крайнее верхнее положение, будет блокировать выдвижение выдвижных ящиков, при этом кнопка-толкатель будет блокироваться посредством штока соленоида в нажатом положении.

[9]

Также актуально, чтобы возврат запорного устройства шкафа из положения "закрыто" в положение "открыто" осуществлялся последовательно управляющей командой с устройства контроля доступа на соленоид и механическим нажатием на кнопку-толкатель.

[10]

Для упрощения конструкции и повышения надежности в некоторых случаях будет целесообразно, чтобы блок идентификации и кнопка-толкатель были установлены на лицевой панели корпуса шкафа или на лицевой панели, по крайней мере, одного выдвижного ящика.

[11]

В предпочтительном варианте исполнения расположение соленоида выполнено таким образом, что ось его штока горизонтальна. Однако, возможны варианты исполнения, при которых ось штока расположена вертикально, либо под углом к горизонтальной плоскости.

[12]

В предпочтительном варианте исполнения будет целесообразно, если корпус шкафа и выдвижные ящики будут выполнены с использованием технологий и из материалов, обеспечивающих сохранность содержимого шкафа в случае внешнего воздействия высоких температур, в частности в случае пожара.

[13]

Далее предлагаемое изобретение будет раскрыто в предпочтительном, но не единственно возможном варианте исполнения более подробно, со ссылкой на графические материалы, на которых изображено:

[14]

- фиг.1 - внешний вид шкафа с тремя выдвижными ящиками в задвинутом положении,

[15]

- фиг.2 - внешний вид шкафа с выдвинутым верхним ящиком,

[16]

- фиг.3 - внутренне устройство шкафа при выдвинутом верхнем ящике,

[17]

- фиг.4 - увеличенный вид верхнего ящика и механизма запирания шкафа в положении - ящик выдвинут механизм запирания открыт,

[18]

- фиг.5 - увеличенный вид верхнего ящика и механизма запирания шкафа в положении - ящик задвинут, механизм запирания открыт,

[19]

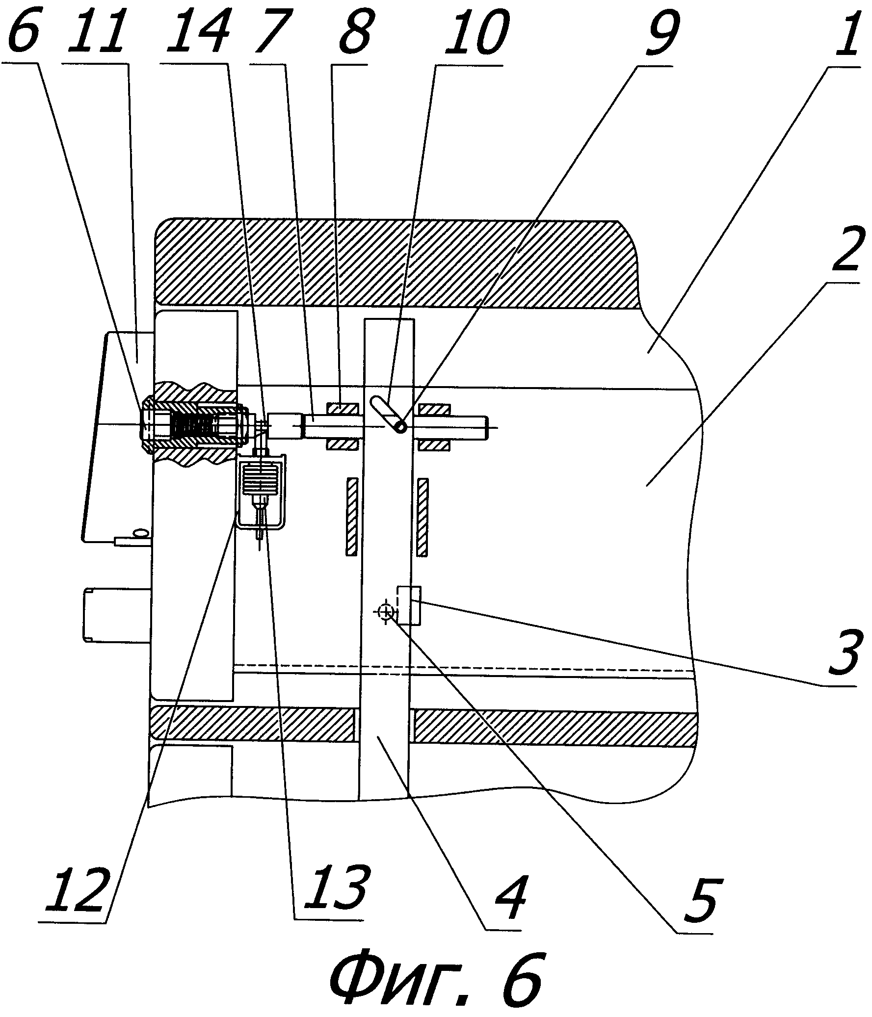
- фиг.6 - увеличенный вид верхнего ящика и механизма запирания шкафа в положении - ящик задвинут, механизм запирания закрыт.

[20]

Как было отмечено ранее, предлагаемое запорное устройство может быть использовано в шкафах, столах, тумбах, и подобной мебели.

[21]

На графических материалах изображен шкаф, включающий корпус 1 и выдвижные ящики 2 с блокирующими элементами 3.

[22]

В зависимости от назначения и условий эксплуатации, количество выдвижных ящиков, а также материал их исполнения могут быть различны и подобраны оптимальным образом. Так, например, для хранения документов и медианосителей корпус шкафа и выдвижные ящики могут быть выполнены с использованием технологий и из материалов, обеспечивающих сохранность содержимого шкафа в случае внешнего воздействия высоких температур. Однако, для специалиста должно быть очевидно, что такое выполнение не является единственно возможным.

[23]

На внутренней поверхности корпуса 1 шкафа смонтирована вертикальная запорная штанга 4. В зависимости от условий эксплуатации вертикальная запорная штанга 4 может быть выполнена из любого подходящего материала, например, из металла.

[24]

Вертикальная запорная штанга 4 оснащена элементами блокирования выдвижных ящиков 5 в закрытом положении. В предпочтительном варианте исполнения количество элементов блокирования выдвижных ящиков 5 соответствует количеству выдвижных ящиков 2.

[25]

Конструктивное выполнение и способ крепления элементов 5 к вертикальной запорной штанге 4, а также элементов 3 к выдвижным ящикам не имеют принципиального значения и выбираются из условий обеспечения оптимальных характеристик по надежности фиксации выдвижных ящиков 2 в закрытом положении.

[26]

На лицевой панели корпуса 1 шкафа или на лицевой панели, по крайней мере, одного выдвижного ящика 2 установлена кнопка-толкатель 6 с возвратной пружиной.

[27]

Кнопка-толкатель 6 через передаточный механизм взаимодействует с вертикальной запорной штангой 4.

[28]

Передаточный механизм предназначен для передачи горизонтального поступательного движения кнопки-толкателя 6 в вертикальное поступательное движение вертикальной запорной штанги 4 для блокирования и разблокирования выдвижных ящиков 2 в закрытом положении и может быть выполнен любым известным способом. На графических материалах показано выполнение передаточного механизма в виде подвижного элемента 7, имеющего возможность перемещения в направляющих 8, а также стержнеобразного выступа 9, предусмотренного на подвижном элементе 7 и расположенного в пазе 10, выполненном в вертикальной запорной штанге 4.

[29]

На лицевой панели корпуса 1 шкафа или на лицевой панели, по крайней мере, одного выдвижного ящика 2 установлен блок идентификации 11 устройства контроля доступа. В материалах данной заявки раскрыто техническое решение, где в качестве блока идентификации 11 устройства контроля доступа используется цифровая кодовая клавиатура, что не является единственным возможным решением, однако наглядно демонстрирует возможность достижения заявленного технического результата.

[30]

Блок идентификации 11 устройства контроля доступа связан с соленоидом 12, имеющим шток 13.

[31]

Соленоид 12 размещен таким образом, чтобы шток 13 при линейном перемещении имел возможность взаимодействия с кнопкой-толкателем 6, на хвостовой части которой для этого предусмотрена проточка 14.

[32]

Устройство работает следующим образом.

[33]

Запирание, по крайней мере, одного выдвижного ящика 2 осуществляется при задвинутом выдвижном ящике 2 путем нажатия на кнопку-толкатель 6, то есть за счет передачи поступательного механического воздействия с кнопки-толкателя 6 на вертикальную запорную штангу 4.

[34]

При перемещении посредством кнопки-толкателя 6 подвижного элемента 7 в сторону от лицевой панели выдвижного ящика 2 стержнеобразный выступ 9 через стенки паза 10 взаимодействует с вертикальной запорной штангой 4, перемещая ее в крайнее верхнее положение, в результате чего элементы 5 взаимодействуя с элементами 3, предусмотренными в выдвижных ящиках 2, блокируют выдвижение последних.

[35]

В свою очередь кнопка-толкатель 6 блокируется посредством штока 13 соленоида 12 в нажатом положении.

[36]

Конструкция соленоида может быть подобрана таким образом, чтобы его шток постоянно находился в нормально выдвинутом из катушки положении, что позволит свести расход электроэнергии к минимуму, производя запирание выдвижных ящиков без подачи управляющих электросигналов на соленоид.

[37]

Однако можно установить и такой соленоид, чтобы его шток выдвигался из катушки по управляющему электросигналу от устройства контроля доступа, блокируя, как это было описано ранее, кнопку-толкатель 6 в нажатом положении.

[38]

Возвратная пружина кнопки-толкателя 6 установлена таким образом, что стремится вывести кнопку-толкатель 6 из нажатого положения.

[39]

Жесткость возвратной пружины кнопки-толкателя 6 выбрана таким образом, чтобы усилие воздействия стенки проточки 14, предусмотренной на хвостовой части кнопки-толкателя 6, на шток 13 соленоида было больше усилия, стремящегося втянуть шток 13 в катушку соленоида 12. Таким образом, обеспечивается механическая блокировка возвратно-поступательного перемещения штока соленоида.

[40]

Возврат запорного устройства шкафа из положения "закрыто" в положение "открыто" осуществляется последовательно управляющей командой с устройства контроля доступа на соленоид и нажатием на кнопку-толкатель, что обеспечивает высвобождение штока соленоида от взаимодействия с кнопкой. При ослаблении нажатия, кнопка выталкивается под действием возвратной пружины, а штанга под собственным весом опускается в нижнее положение.

[41]

Элементы 5 блокирования выдвижных ящиков 2 выходят из взаимодействия с блокирующими элементами ящика 3, снимая, тем самым, блокировку возможности выдвижения (открытия) выдвижных ящиков 2.

[42]

Таким образом, предлагаемое изобретение является простым в эксплуатации и позволяет значительно повысить надежность фиксации выдвижных ящиков мебели в закрытом состоянии.

Как компенсировать расходы
на инновационную разработку
Похожие патенты