патент
№ RU 2626746
МПК H01P7/04

КОАКСИАЛЬНЫЙ ИЗМЕРИТЕЛЬНЫЙ РЕЗОНАТОР С НЕИЗЛУЧАЮЩИМ ОКНОМ ДЛЯ ВВОДА ОБРАЗЦА

Авторы:
Егоров Виктор Николаевич
Номер заявки
2016105226
Дата подачи заявки
17.02.2016
Опубликовано
31.07.2017
Страна
RU
Как управлять
интеллектуальной собственностью
Чертежи 
6
Реферат

Использование: для измерения диэлектрических параметров материалов в дециметровом диапазоне электромагнитных волн. Сущность изобретения заключается в том, что в коаксиальном измерительном резонаторе с цилиндрическим корпусом, центральным соосным проводником в виде двух электродов с измерительным зазором между ними и окном в корпусе резонатора для ввода измеряемого образца в зазор между электродами, окно для ввода измеряемого образца выполнено в виде неизлучающей щели, параллельной линиям поверхностного тока в корпусе резонатора, диаметр электродов dвыбран меньше диаметра измеряемого дискового образца d, внутренний диаметр корпуса резонатора D выбран из соотношения D≥d+2dи для центрирования образца в измерительном зазоре в резонатор введены тонкие диэлектрические нити, расположенные параллельно центральному проводнику резонатора на полуокружности с диаметром d≈dи общим с электродами центром. 2 з.п. ф-лы, 8 ил.

Формула изобретения

1. Коаксиальный измерительный резонатор с цилиндрическим корпусом, центральным соосным проводником в виде двух электродов с измерительным зазором между ними и окном в корпусе резонатора для ввода измеряемого образца в зазор между электродами, отличающийся тем, что окно для ввода измеряемого образца выполнено в виде неизлучающей щели, параллельной линиям поверхностного тока в корпусе резонатора, диаметр электродов di выбран меньше диаметра измеряемого дискового образца ds, внутренний диаметр корпуса резонатора D выбран из соотношения D≥di+2ds и для центрирования образца в измерительном зазоре в резонатор введены тонкие диэлектрические нити, расположенные параллельно центральному проводнику резонатора на полуокружности с диаметром dc≈ds и общим с электродами центром.

2. Резонатор по п. 1, отличающийся тем, что на внешней поверхности резонатора размещены источники света и видеокамера, которые через отверстия в корпусе резонатора обеспечивают подсветку и визуальное наблюдение процесса ввода образца в измерительный зазор резонатора и вывода его обратно.

3. Резонатор по п. 1, отличающийся тем, что перед окном для ввода образца установлена направляющая для держателя образца, обеспечивающая поворот образца внутри резонатора и точный ввод образца в измерительный зазор.

Описание

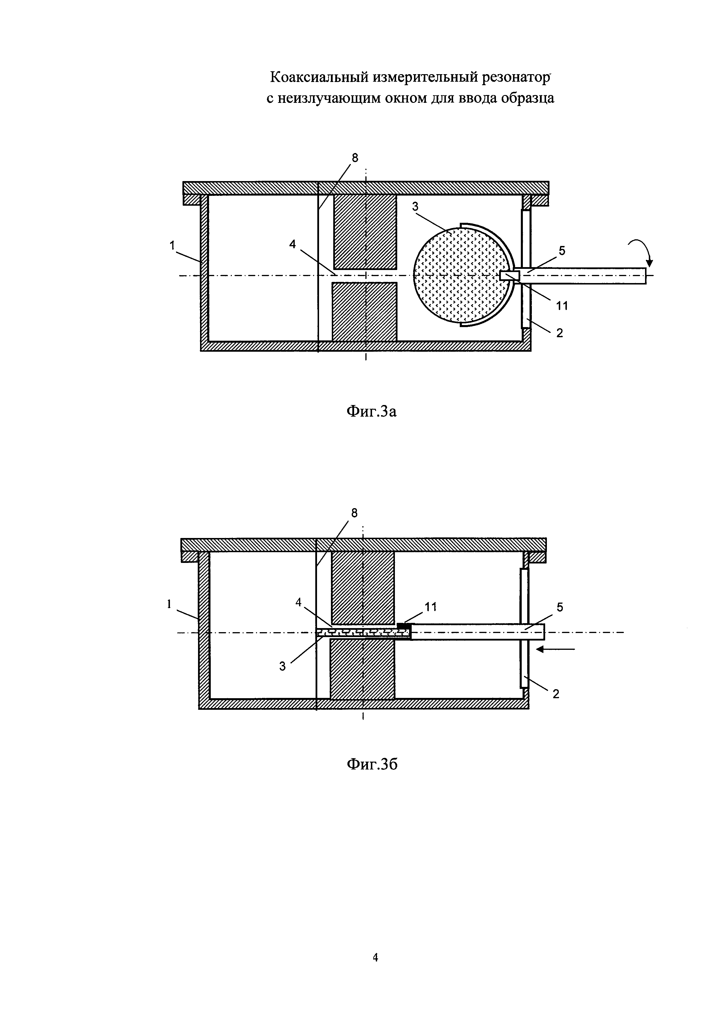
[1]

Изобретение относится к измерительной технике, в частности к измерительным резонаторам СВЧ для определения относительной диэлектрической проницаемости и тангенса угла диэлектрических потерь.

[2]

Известны коаксиальные измерительные резонаторы с цилиндрическим металлическим корпусом, в котором размещен центральный проводник в виде двух разделенных измерительным зазором соосных электродов и окном (отверстием, щелью) в корпусе резонатора для ввода измеряемого дискового образца диэлектрика в измерительный зазор [1], [2], [3].

[3]

Зазор между торцевыми поверхностями электродов образует конденсатор. На заданной резонансной частоте емкость этого конденсатора («укорачивающая» емкость) позволяет существенно уменьшить длину резонатора относительно полуволновой при сохранении достаточно высокой добротности, что находит применение в дециметровом диапазоне электромагнитных волн.

[4]

В известных резонаторах измеряемый дисковый образец диэлектрика находится в центре измерительного зазора («укорачивающего» конденсатора), соосно с электродами, которые имеют диаметр di больше диаметра измеряемого образца ds. Измеряемый образец помещается в зазор между торцевыми поверхностями электродов и центрируется в нем через окно (отверстие, щель) в корпусе резонатора. Измерение диэлектрических параметров образца проводится по изменению резонансной частоты и добротности резонатора после помещения образца в измерительный зазор резонатора. Электрическое поле резонатора сконцентрировано в измерительном зазоре - укорачивающем конденсаторе, и неоднородно в радиальном направлении, т.е. изменяется по радиусу от центра зазора к периферии. Емкость конденсатора, заполненного измеряемым дисковым образцом, пропорциональна площади плоской поверхности образца, т.е. квадрату его диаметра, и зависит от положения образца относительно оси резонатора из-за радиальной зависимости поля в зазоре. Резонансная частота резонатора, по которой измеряется диэлектрическая проницаемость образца, определяется емкостью измерительного зазора с образцом.

[5]

Точность измерения диаметра образца и смещение образца от оси резонатора при диаметре электродов, большем диаметра образца, существенно влияют на точность измерения его диэлектрической проницаемости.

[6]

Окно (отверстие, щель) для ввода измеряемого дискового образца внутрь резонатора выполняется в корпусе известных резонаторов параллельно измерительному зазору, т.е. перпендикулярно оси резонатора. Дисковый образец вводится внутрь резонатора через это окно (отверстие, щель) в корпусе резонатора параллельно измерительному зазору и далее в измерительный зазор без поворота плоскости образца внутри резонатора. При таком расположении окно (отверстие, щель) пересекает линии поверхностного тока в корпусе резонатора и является излучающим, что приводит к потере энергии колебания на излучение и к снижению добротности резонатора. Снижение добротности резонатора ограничивает возможность точного измерения малых диэлектрических потерь исследуемых материалов.

[7]

Таким образом, недостатками известных резонаторов являются:

[8]

1. Излучение энергии электромагнитного колебания через окно для ввода образца в корпусе резонатора, уменьшающее добротность резонатора и, тем самым, точность измерения диэлектрических потерь слабопоглощающих диэлектриков.

[9]

2. Сильная зависимость результатов измерения диэлектрической проницаемости образца от диаметра образца и от положения образца в измерительном зазоре относительно оси резонатора (т.е. от точности центрирования образца).

[10]

3. Сложность центрирования образца в измерительном зазоре и отсутствие приспособления для центрирования образца при его вводе в измерительный зазор резонатора.

[11]

Наиболее близким аналогом заявляемого резонатора является коаксиальный измерительный резонатор (Фиг. 1) с цилиндрическим металлическим корпусом, в котором размещен центральный проводник в виде двух разделенных измерительным зазором соосных электродов, и окном в корпусе резонатора для ввода измеряемого дискового образца диэлектрика в измерительный зазор [4].

[12]

Окно для ввода измеряемого дискового образца в корпусе резонатора выполнено так, чтобы измеряемый образец можно было свободно ввести в измерительный зазор между электродами без поворота плоскости дискового образца, т.е. параллельно измерительному зазору. При таком расположении окно перпендикулярно линиям поверхностного тока в корпусе резонатора и пересекает их, что приводит к излучению части запасенной в резонаторе энергии, снижению добротности резонатора относительно максимально достижимой и ограничению в измерениях малых диэлектрических потерь.

[13]

Диаметр di электродов в данном резонаторе больше диаметра dsизмеряемого образца и образец размещен в измерительном зазоре соосно с электродами. Образец занимает по диаметру часть измерительного зазора, и емкость измерительного конденсатора, заполненного образцом, составляет часть полной емкости измерительного конденсатора, сильно зависящую от диаметра образца и его положения относительно центра (оси резонатора).

[14]

Приспособление для центрирования образца в измерительном зазоре в данном резонаторе отсутствует.

[15]

Таким образом, в наиболее близком аналоге заявляемого резонатора (прототипе) имеются указанные выше недостатки.

[16]

Задачей изобретения является повышение точности измерения диэлектрической проницаемости и тангенса угла диэлектрических потерь слабопоглощающих диэлектриков.

[17]

Технический результат достигается тем, что в заявляемом резонаторе с цилиндрическим корпусом, центральным соосным проводником в виде двух электродов с измерительным зазором между ними и окном в корпусе резонатора для ввода измеряемого образца в зазор между электродами, окно для ввода измеряемого образца выполнено в виде неизлучающей щели, параллельной линиям поверхностного тока в корпусе резонатора, диаметр электродов di выбран меньше диаметра измеряемого дискового образца ds, внутренний диаметр корпуса резонатора D выбран из соотношения D≥di+2ds и для центрирования образца в измерительном зазоре в резонатор введены тонкие диэлектрические нити, расположенные параллельно центральному проводнику резонатора на полуокружности с диаметром dc≈ds и общим с электродами центром.

[18]

На внешней поверхности резонатора размещены источники света и видеокамера, которые через отверстия в корпусе резонатора обеспечивают подсветку и визуальное наблюдение процесса ввода образца в измерительный зазор резонатора и вывода его обратно.

[19]

Перед окном для ввода образца установлена направляющая для держателя образца, обеспечивающая поворот образца внутри резонатора и точный ввод образца в измерительный зазор.

[20]

Изобретение поясняется чертежами.

[21]

На Фиг. 1 представлен коаксиальный измерительный резонатор (прототип);

[22]

на Фиг. 2а представлен коаксиальный измерительный резонатор с неизлучающим окном для ввода образца;

[23]

на Фиг. 2б представлен коаксиальный измерительный резонатор с неизлучающим окном для ввода образца (вид сверху в разрезе);

[24]

на Фиг. 2в представлен коаксиальный измерительный резонатор с неизлучающим окном для ввода образца (вид сбоку в разрезе);

[25]

на Фиг. 3а представлен ввод образца в коаксиальный измерительный резонатор через неизлучающее окно (шаг 1 - ввод держателя с образцом в резонатор и разворот плоскости образца на 90°);

[26]

на Фиг. 3б представлен ввод образца в коаксиальный измерительный резонатор через неизлучающее окно (шаг 2 - установка образца в измерительном зазоре);

[27]

на Фиг. 3в представлен ввод образца в коаксиальный измерительный резонатор через неизлучающее окно (шаг 3 - вывод держателя без образца из резонатора);

[28]

на Фиг. 4 представлен коаксиальный измерительный резонатор с неизлучающим окном, направляющей для ввода-вывода образца, подсветкой и видеокамерой для контроля ввода-вывода образца.

[29]

В корпусе 1 предлагаемого резонатора (Фиг. 2а, 2б, 2в) имеется окно 2 для ввода образца 3 выполненное в виде неизлучающей щели, перпендикулярной измерительному зазору 4 и параллельной оси резонатора, а ввод образца 3 в измерительный зазор 4 резонатора производится с поворотом плоскости образца на 90° внутри резонатора с помощью специального держателя 5 (Фиг. 3а, 3б, 3в), извлекаемого из резонатора после установки образца 3 в измерительный зазор 4 резонатора.

[30]

Диаметр di центрального проводника в виде двух разделенных измерительным зазором электродов 6 и 7 выбран меньше диаметра dsизмеряемого дискового образца 3 (di<ds). Электрическое поле резонатора сконцентрировано в измерительном зазоре 4 в пределах диаметра di, электродов 6 и 7. Периферийная часть образца 3 при di<ds находится вне зазора 4 в области слабого электрического поля. Таким образом, периферийная часть образца 3, его диаметр и небольшие смещения образца от оси резонатора практически не влияют на резонансную частоту и точность определения диэлектрической проницаемости образца.

[31]

Внутренний диаметр корпуса 1 резонатора D выбран из соотношения D≥di+2ds для обеспечения возможности разворота образца 3 на 90° внутри резонатора перед вводом образца в измерительный зазор 4.

[32]

В резонатор введены тонкие диэлектрические нити 8 для центрирования образца 3 в измерительном зазоре 4, параллельные центральному проводнику (электродам 6 и 7) и расположенные на окружности с диаметром, близким к диаметру измеряемого дискового образца 3 и общим с электродами 6 и 7 центром.

[33]

На фиг. 3а, 3б, в показан ввод образца в измерительный зазор резонатора через неизлучающее окно. В резонатор измеряемый образец 3 вводится специальным держателем 5. Держатель 5 с образцом 3 вводится в резонатор с последующим поворотом образца 3 во внутренней полости резонатора на 90° (параллельно измерительному зазору 4). Далее держатель 5 с образцом 3 перемещается к центру резонатора. При этом образец 3 входит в измерительный зазор 4 до упора в центрирующие нити 8. После установки образца 3 держатель 5 без образца выводится из резонатора.

[34]

На фиг. 4 показано расположение источников света, видеокамеры и направляющей для ввода-вывода держателя образца. На внешней поверхности корпуса 1 резонатора размещены источники света 9 и видеокамера 10, которые через отверстия (на чертеже не оцифрованы) в корпусе 1 резонатора обеспечивают подсветку и визуальное наблюдение процесса ввода образца 3 в измерительный зазор 4 резонатора и вывода его обратно.

[35]

Держатель образца 5 имеет пружинный захват 11 для упрощения ввода-вывода образца и вводится в резонатор и выводится из него по направляющей 12, расположенной снаружи резонатора.

[36]

Устройство работает следующим образом.

[37]

Окно 2 для ввода измеряемого образца 3 в измерительный зазор 4 в корпусе 1 резонатора выполнено в виде щели, параллельной центральному проводнику (электродам 6 и 7) и линиям поверхностного тока, что делает ее неизлучающей и тем самым повышает добротность резонатора (Фиг. 2а, 2б, 2в). Это позволяет проводить измерение малых диэлектрических потерь в образце и повысить точность их измерения.

[38]

Измеряемый дисковый образец специальным держателем 5 с пружинным захватом 11 образца вводится в полость резонатора через неизлучающую щель перпендикулярно измерительному зазору 4 с последующим разворотом плоскости образца на 90° (параллельно измерительному зазору) (Фиг. 3а) и вводом в измерительный зазор 4 резонатора (Фиг. 3б). Для того чтобы образец мог быть развернут внутри резонатора, внутренний диаметр корпуса 1 резонатора должен удовлетворять соотношению D≥di+2ds, где di - диаметр электродов 6 и 7 резонатора, ds - диаметр дискового образца 3. После установки образца в измерительном зазоре 4 (Фиг. 3б) пружинный захват 11 держателя освобождает образец и держатель 5 без образца выводится из резонатора в обратном порядке (Фиг. 3в).

[39]

Центрирование образца в измерительном зазоре осуществляется при его вводе и установке между натянутыми центрирующими диэлектрическими нитями 8, дополнительно введенными в резонатор (Фиг. 2б). Диэлектрические нити установлены в резонаторе на полуокружности диаметром dc≈ds с общим с электродами 6 и 7 центром. Диэлектрические нити 8 натянуты параллельно электродам 6 и 7 и центрируют образец 3 в зазоре (Фиг. 2а, 2б, 2в, Фиг. 3б, 3в).

[40]

Повышение точности измерения диэлектрической проницаемости достигается тем, что периферийная часть дискового образца при диаметре электродов менее диаметра образца di<ds находится в области, где электрическое поле рабочего электромагнитного колебания практически отсутствует и диаметр образца и малые смещения образца слабо влияют на резонансную частоту и результат измерения. Образец центрируется диэлектрическими нитями, что дополнительно уменьшает влияние возможных смещений на результат измерения.

[41]

На корпусе 1 резонатора снаружи установлены источники света 9 (например, светодиоды) и видеокамера 10 (Фиг. 4), которые через отверстия (на чертеже не оцифрованы) в корпусе обеспечивают подсветку и визуальное наблюдение процессов ввода образца 3 в резонатор, его установки в измерительный зазор 4 и вывода образца из резонатора.

[42]

Снаружи резонатора напротив окна для ввода образца установлена направляющая 12 (Фиг. 4). Направляющая выполняет роль опоры для держателя образца и задает направление перемещения держателя к центру резонатора и обратно на уровне измерительного зазора, что упрощает ввод держателя с образцом в резонатор, ввод образца в измерительный зазор, захват образца держателем перед извлечением и вывод держателя из резонатора.

[43]

Источники информации

[44]

1. Карих Н.М., Матвейчук В.Ф., Серов А.В., Сибирцев С.Н., Черноусова Н.Н. Государственный первичный эталон единиц относительных диэлектрической и магнитной проницаемостей в диапазоне частот 1 МГц - 18 ГГц // Измерительная техника, 2010, №9, с. 3-7.

[45]

2. Baker-Jarvis J., Riddl B.F. Dielectric Measurements Using a Reentrant Cavity: Mode-Matching Analysis//NIST Technical Note 1384, 1996, P. 1-13.

[46]

3. Брандт А.А. Исследование диэлектриков на сверхвысоких частотах. - М.: ГИФМЛ, 1963, с. 70-78.

[47]

4. ГОСТ 27496.1-87, ГОСТ 27496.2-87, (МЭК 377-1-73, МЭК 377-2-77) Материалы электроизоляционные. Методы определения диэлектрических свойств на частотах свыше 300 МГц, с. 23 (и более поздняя редакция стандарта МЭК: IEC 60377-2 Recommended methods for the determination of the dielectric properties of insulating materials at frequencies above 300 MHz. Part 2: Resonance methods, p. 33).

Как компенсировать расходы
на инновационную разработку
Похожие патенты