патент
№ RU 2532564
МПК C02F1/30
Номер заявки
2013125703/05
Дата подачи заявки
04.06.2013
Опубликовано
10.11.2014
Страна
RU
Как управлять
интеллектуальной собственностью
Чертежи 
1
Реферат

Изобретение относится к конструкциям установок для облучения текущих сред и может быть применено в установках, предназначенных для стерилизации текущих жидкостей, активации химических реакций в текущих растворах, ядерного превращения текущих радиоактивных отходов, используемых, в частности, в медицине, пищевой, химической и атомной промышленностях. Камера для облучения текущих сред содержит камеру с патрубками для подвода и отвода текущей среды, при этом патрубки разнесены по высоте один относительно другого, камера выполнена в виде двух коаксиальных труб переменного диаметра, внутренняя труба образует полость, открытую со стороны выходного патрубка, диаметр которой в любом сечении превышает диаметр излучателя. Техническим результатом изобретения является обеспечение обслуживания и замены излучателя без прекращения потока текущей среды. 3 ил.

Формула изобретения

Камера для облучения текущих сред, содержащая камеру с патрубками для подвода и отвода текущей среды, при этом патрубки разнесены по высоте один относительно другого, отличающаяся тем, что камера выполнена в виде двух коаксиальных труб переменного диаметра, внутренняя труба образует полость, открытую со стороны выходного патрубка, диаметр которой в любом сечении превышает диаметр излучателя.

Описание

[1]

Изобретение относится к конструкциям установок для облучения текущих сред и может быть применено в установках, предназначенных для стерилизации текущих жидкостей, активации химических реакций в текущих растворах, ядерного превращения текущих радиоактивных отходов, используемых, в частности, в медицине, пищевой, химической и атомной промышленностях.

[2]

Для облучения текущую среду пропускают через камеру, в которой потоку придают цилиндрическую форму. Обычно среда протекает по кольцевому зазору, образованному корпусом камеры и излучателем. Скорость потока определяет время нахождения текущей среды в зоне облучения. Количество излучения, поглощенное текущей средой в процессе облучения при заданной плотности потока излучения на ее поверхности, прямо пропорционально времени облучения и, следовательно, обратно пропорционально скорости потока текущей среды.

[3]

Для облучения текущей среды применяют различные виды излучений: электромагнитное, например, ультрафиолетовое, рентгеновское или гамма-излучение, а также нейтронное.

[4]

Источники излучения обеспечивают требуемую плотность потока на поверхности текущей среды. Для равномерного облучения потока текущей среды цилиндрической формы диаграмма направленности излучения источника имеет ось симметрии, а источник устанавливают внутрь потока текущей среды таким образом, чтобы ось симметрии диаграммы направленности излучения совпадала с осью потока. В качестве излучателя применяют кварцевые лампы, ампульные гамма-источники, рентгеновские и нейтронные портативные генераторы и др.

[5]

Поток текущей среды в камере должен быть однородным в пространстве и постоянным во времени. В противном случае, несмотря на обеспечение симметрии потока излучения, облучение среды становится неконтролируемым. Неоднородность и непостоянство потока возникает в случае, когда текущая среда состоит из нескольких фракций, отличающихся своими свойствами, или/и при наличии газовой фракции. Нарушение однородности проявляется в виде распределения плотности среды в облучаемом сечении и вызывается, в основном, действием силы гравитации особенно в случае горизонтального расположения камеры или центробежной силы в случае кругового потока.

[6]

Известно «Устройство для переработки редкометальных концентратов» [Заявка на изобретение RU 95111909, МПК С22В 3/02, 27.06.1997. Аналог], содержащее импульсный источник оптического излучения, состоящий из излучателя, конденсаторного накопителя энергии, пульта управления, объединяющего системы источника управляющей связью, насос с приводом, аппарат для автоклавного выщелачивания, цилиндрическую камеру с патрубками для подвода и отвода пульпы с размещенным в ней каоксиально излучателем, датчик уровня, размещенный на входе выходного патрубка, причем площади сечений подводящих труб и патрубков выполнены одинаковыми и более площади сечения диаметрального коаксиального зазора между камерой и излучателем, при этом конденсаторный накопитель энергии выполнен многосекционным с числом секций, определяемым соотношением h=No/N1, где No - число импульсов в минуту, обеспечивающее необходимую производительность и достаточное качество активации, N1 - максимально допустимое число импульсов в минуту для выборного типа конденсаторов, входящих в конденсаторный накопитель, причем устройство снабжено переключателем секций накопителя на излучатель, отличающееся тем, что устройство содержит циркуляционный контур, состоящий из насоса с приводом, системы управления потоком пульпы, трубопроводов объемом, определяемым из соотношения V=Vnn/h, где Vn - объем коаксиальной полости между излучателем и камерой, n - экспериментально или расчетно определенное число импульсов облучения, при котором достигается максимальная степень выщелачивания сырья.

[7]

Недостатками аналога являются: ограниченная область применения, определяемая средами, в которых длина пробега излучения равна или больше расстояния между стенкой излучателя и стенкой цилиндрической камеры; невозможность обслуживания и замены излучателя без прекращения потока пульпы, вследствие того, что пульпа протекает между стенкой излучателя и стенкой цилиндрической камеры.

[8]

Известно «Устройство для стерилизации жидкости» [Заявка на изобретение RU 94009348, МПК C02F 1/32, 10.05.1997. Прототип], содержащее цилиндрическую камеру с патрубками для подвода и отвода текущей среды, источник оптического излучения, содержащий излучатель, коаксиально расположенный в камере, датчик, пульт управления, функционально связанный с датчиком и насос с приводом, при этом патрубки разнесены по высоте один относительно другого, отличающееся тем, что диаметр камеры Дк выбран из соотношения Дки+2l, где Ди - диаметр излучателя, l - расчетное или экспериментально подобранное значение пробега излучения в обрабатываемой жидкости, при котором достигается эффект обеззараживания этой жидкости, источник излучения содержит импульсный газоразрядный излучатель и импульсный конденсаторный источник питания, цилиндрическая камера расположена горизонтально, входной и выходной патрубки расположены под прямым углом к оси камеры по одной вертикали, при этом входной и выходной патрубки выполнены с сечениями, удлиняющимися от подводящей и отводящей жидкость труб до размера, совпадающего с длиной облучаемой части камеры, а ширина сечения патрубков на выходе входного патрубка и на входе выходного патрубка выполнена не более (Дки), причем площади нормальных к оси сечений входного и выходного патрубков по всей их длине выполнены одинаковыми и равными площади нормального сечения подводящей и отводящей труб, датчик уровня размещен во входном сечении выходного патрубка, при этом источник питания выполнен многосекционным с числом секций, определяемым из соотношения n=N/N1, где N - число импульсов в минуту, обеспечивающее необходимую производительность и нужное качество очистки, N1 - максимально допустимое число импульсов в минуту для выбранного типа конденсаторов, причем устройство снабжено переключателем секций накопителя на импульсный излучатель.

[9]

Недостатком прототипа является невозможность обслуживания и замены излучателя без прекращения потока жидкости, вследствие того, что жидкость протекает между стенкой излучателя и стенкой цилиндрической камеры.

[10]

Техническим результатом изобретения является: обеспечение обслуживания и замены излучателя без прекращения потока текущей среды.

[11]

Технический результат достигается тем, что в камере для облучения текущих сред, содержащей камеру с патрубками для подвода и отвода текущей среды, при этом патрубки разнесены по высоте один относительно другого, камера выполнена в виде двух коаксиальных труб переменного диаметра, внутренняя труба образует полость, открытую со стороны выходного патрубка, диаметр которой в любом сечении превышает диаметр излучателя.

[12]

Сущность изобретения поясняется на фиг.1, где 1 - внешняя коаксиальная труба камеры; 2 - внутренняя коаксиальная труба камеры; 3 - текущая среда, протекающая между внешней 1 и внутренней 2 коаксиальными трубами; 4 - полость внутри камеры, связанная с пространством вне камеры; 5 - дифференциальный датчик давления; 6, 7 - входной и выходной патрубки камеры; 8 - направление потока текущей среды через камеру.

[13]

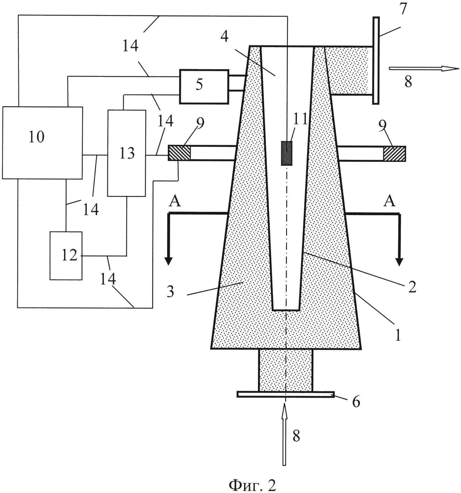
Пример реализации устройства на основе заявляемой камеры поясняется на фиг.2, где 9 - кольцевой секционированный датчик излучения; 10 - блок питания; 11 - излучатель; 12 - пульт управления излучателем; 13 - регистратор для регистрации показаний дифференциального датчика давления 5 и показаний кольцевого секционированного датчика излучения 9; 14 - электрические кабели.

[14]

Камера включает в себя две коаксиальные трубы 1 и 2, входной 6 и выходной 7 патрубки и дифференциальный датчик давления 5, который герметично соединен с объемом, занимаемым текущей средой, с помощью проходных отверстий в трубе 2 и трубопроводов.

[15]

Устройство камеры обеспечивает возможность обслуживания и замены излучателя 11 без прекращения потока текущей среды 3 за счет того, что внутренняя труба 2 открыта со стороны выходного патрубка 7, а ее диаметр в любом ее сечении превышает диаметр излучателя.

[16]

Коаксиальные трубы 1 и 2 выполняются переменного диаметра, что расширяет область применения устройства. Переменный диаметр одной или обеих труб, в отличие от случая постоянного диаметра обеих труб, обеспечивает изменение величины кольцевого зазора между трубами по длине камеры и позволяет, вследствие этого, облучать более широкий набор текучих сред, отличающихся по своим свойствам в более широких пределах, чем в случае камеры с постоянной величиной зазора. Переменный зазор между трубами 1 и 2 может быть реализован путем применения конических труб, как показано на Фиг.1, 2, или труб, составленных из отрезков цилиндрических труб различного диаметра. Для изготовления труб применяют материал достаточно прозрачный для излучения излучателя 11. В случае ультрафиолетового излучения это может быть, например, кварц.

[17]

Кольцевой секционированный датчик излучения 9 установлен на направляющих (на чертеже не показаны) и может перемещаться вдоль оси камеры. Тип датчика определяется видом излучения и может быть выполнен в виде набора одинаковых датчиков, устанавливаемых по окружности вокруг камеры, или в виде одного позиционно-чувствительного датчика. Выход кольцевого секционированного датчика излучения 9 электрически соединен с входом регистратора 13 с помощью кабелей 14. Регистратор 13 выводит на дисплей показания интенсивности излучения, прошедшего через текущую среду 3, получаемые с секций кольцевого секционированного датчика излучения 9 в различных частях поперечного сечения камеры, обеспечивая контроль поглощенной энергии в этих частях.

[18]

Дифференциальный датчик давления 5 обеспечивает контроль скорости потока текущей среды 3 и тем самым степень облучения среды. Принцип работы дифференциального датчика давления 5 основан на том, что падение давления в потоке жидкости на измеряемом участке пропорционально квадрату скорости потока жидкости. Значение скорости получают, измеряя дифференциальное давление в потоке жидкости и вычисляя из него квадратный корень. Дифференциальный датчик давления 5 электрически соединен с регистратором 13 с помощью кабелей 14.

[19]

Регистратор 13 соединен с помощью электрических кабелей 14 с датчиком дифференциального давления 5, с секциями кольцевого секционированного датчика излучения 9 и с пультом управления излучателем 12, обрабатывает данные поступающие с датчиков 5 и 9, и управляет работой излучателя 11 посредством пульта управления 12.

[20]

Излучатель 11 устанавливается в полости 4 камеры в сечение, в котором величина пробега излучения превышает размер зазора между трубами 1 и 2. Для этого излучатель 11 закреплен на конце штанги (на чертеже не показана), которая может перемещаться внутри втулок (на чертеже не показаны), закрепленных на корпусе камеры, вдоль ее оси. Расположение излучателя 11 на оси камеры обеспечивает осевую симметрию пространственного распределения интенсивности излучения. Плотность потока излучения на поверхности текущей среды 3 изменяется при этом обратно пропорционально квадрату расстояния между излучателем 11 и поверхностью текущей среды 3. Излучателем 11 могут быть, например, кварцевая лампа, рентгеновский или нейтронный портативный генератор.

[21]

Перемещение излучателя 11 вдоль оси камеры обеспечивает изменение плотности потока излучения на поверхности текущей среды 3 без изменения режима работы излучателя 11. Возможность изменения плотности потока на поверхности текущей среды 3 за счет перемещения излучателя 11 вдоль оси камеры расширяет область применения устройства.

[22]

Блок питания 10, пульт управления излучателем 12, кольцевой секционированный датчик излучения 9, дифференциальный датчик давления 5 и регистратор 13 располагают снаружи камеры и соединяют между собой с помощью электрических кабелей 14.

[23]

Для проведения облучения камеру устанавливают на трубопровод, используемый для прокачки текущей среды 3, с помощью входного 6 и выходного 7 патрубков стационарно, либо на время облучения, используя гибкие рукава. В случае текущей среды, имеющей фракционный состав и/или газовую фракцию, камера устанавливается так, чтобы ее ось занимала вертикальное положение.

[24]

Камера работает следующим образом.

[25]

Блок питания 10 обеспечивает электропитанием излучатель 11, кольцевой секционированный датчик излучения 9, дифференциальный датчик давления 5, регистратор 13 и пульт управления излучателем 12. Текущая среда 3 втекает во входной патрубок 6, протекает по зазору между трубами 1 и 2 и вытекает через патрубок 7. Поток текущей среды 3 на участке зазора между трубами 1 и 2, к которому подключен дифференциальный датчик давления 5, воздействует на дифференциальный датчик давления 5, показания выводятся на его дисплей регистратора 13 с помощью кабелей 14. Находясь в зазоре между трубами 1 и 2, текущая среда 3 подвергается облучению излучением от излучателя 11, находящегося на оси камеры в сечении, для которого величина зазора между трубами 1 и 2 меньше длины пробега излучения в облучаемой текущей среде 3. В процессе облучения излучение излучателя 11 частично поглощается текущей средой 3, а частично выходит наружу камеры, где попадает на кольцевой секционированный датчик излучения 9, показания которого поступают в регистратор 13.

Как компенсировать расходы
на инновационную разработку
Похожие патенты