патент
№ RU 2588362
МПК F16C11/06

ШАРОВАЯ ОПОРА

Авторы:
Молоканов Артемий Владимирович Пармузин Дмитрий Борисович Шишурин Александр Владимирович
Все (4)
Номер заявки
2015121528/11
Дата подачи заявки
05.06.2015
Опубликовано
27.06.2016
Страна
RU
Как управлять
интеллектуальной собственностью
Чертежи 
2
Реферат

[17]

Изобретение относится к области машиностроения и может быть использовано в качестве опор скольжения в узлах крепления, способных сохранять свою работоспособность в широком диапазоне нагрузок как в воздушной среде, так и в глубоком вакууме. Шаровая опора содержит корпус, выполненный их двух крышек (1, 2), жестко соединенных между собой, с заключенным в корпус шаровым пальцем (3) со сферической головкой, размещенной во вкладыше (4). Шаровой палец (3) выполнен из материала ВЖЛ-16, а на его поверхности сформировано многослойное композиционное покрытие (7) со сдвиговым сопротивлением, меньшим сдвигового сопротивления шаровой опоры, при этом первый слой подложки методом гальванического покрытия выполнен из тантала, второй слой из серебра нанесен электролитическим способом, а третий - твердосмазочное покрытие ВАП. Технический результат: повышение износостойкости шаровой опоры, обеспечение положительного градиента напряжения, а также способность к восстановлению повреждений антифрикционного слоя. 2 ил

Формула изобретения

Шаровая опора, содержащая корпус, выполненный из двух частей в виде крышек, жестко соединенных между собой, с заключенным в корпус шаровым пальцем со сферической головкой, размещенной во вкладыше, при этом между вкладышем и корпусом находится термопластичный наполнитель, отличающийся тем, что шаровой палец выполнен из материала ВЖЛ-16, а на его поверхности сформировано многослойное композиционное покрытие со сдвиговым сопротивлением, меньшим сдвигового сопротивления шаровой опоры, при этом первый слой подложки методом гальванического покрытия выполнен из тантала, второй слой из серебра нанесен электролитическим способом, а третий - твердосмазочное покрытие ВАП.

Описание

[1]

Изобретение относится к области машиностроения и может быть использовано в шаровых шарнирах рулевых механизмов различных транспортных средств.

[2]

Необходимость надежного функционирования узлов трения с малым значением коэффициента трения вызвала широкие исследования в области твердых смазок и твердосмазочных покрытий. Твердосмазочные покрытия способны обеспечить смазочное действие как при обычных условиях, так и в экстремальных, т.е. при очень высоких контактных давлениях, низких и высоких температурах, в вакууме в других средах, в условиях сильного облучения.

[3]

По своему действию твердосмазочные покрытия можно разделить на две группы:

[4]

1) образующие антифрикционные пленки на поверхности трения путем химического взаимодействия с подложкой, разрушающиеся и восстанавливающиеся в процессе работы;

[5]

2) обладающие хорошими адгезионными свойствами, имеющие слоистую структуру, обеспечивающую легкое скольжение одного слоя относительно другого.

[6]

Отдельные компоненты твердосмазочных покрытий используются в узком диапазоне условий эксплуатации, что не дает необходимого эффекта при работе в изменяющихся условиях воздействия на узлы трения: нормальных, высоких и низких температур, воздушной среды и вакууме, контактных давлений в широком диапазоне их значений.

[7]

Так графитовое покрытие хорошо работает как при низких, так и при высоких температурах на воздухе, но не удовлетворительно в вакууме. Дисульфид молибдена, - напротив, на воздухе, уже при температурах 623К начинает окисляться, зато довольно хорошо выдерживает повышенную температуру в вакууме. Совместить положительные качества отдельных твердосмазочных покрытий попытались при создании композиционных многослойных покрытий.

[8]

Известны сферические шаровые опоры с подшипниками скольжения (А.с. СССР №2016277, F16C 11/06, 1992 г., Патент РФ №2049376, F16C 11/06, 1994 г., Патент РФ №2338936, F16C 11/06, 2007 г., Патент РФ №2432506, F16C 11/06, 2010 г.).

[9]

Наиболее близким по набору существенных признаков является техническое решение по Патенту РФ №2352829, F16C11/06, 2009 г., которое было принято авторами за ближайший аналог.

[10]

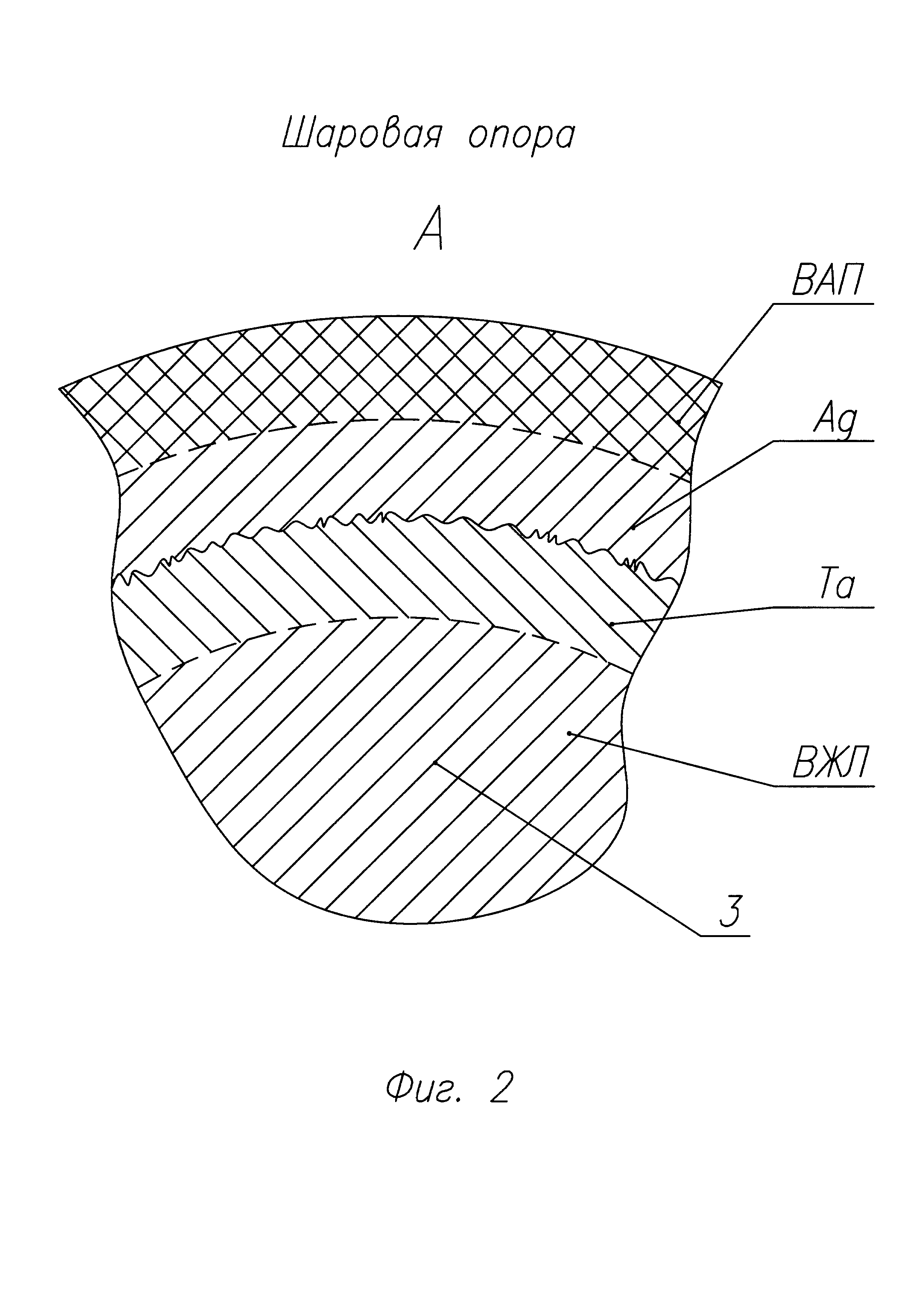
Шаровая опора содержит корпус, состоящий из двух крышек 1 и 2 (фиг. 1), неразъемно соединенных между собой, металлический шаровой палец 3, заключенный в корпус, вкладыш полимерный 4, наполнитель 5 с металлическими гранулами 6. Вкладыш 4 выполнен из твердосмазочного материала (фторопласт-4, ЦПА 6/15 и др.). Наполнитель 5 выполнен из полимера модифицированного металлическими гранулами 6.

[11]

Недостатком данной сферической опоры является недостаточная поверхностная прочность поверхности металлического шарового пальца, а также недостаточная способность к восстановлению и «залечиванию» повреждений антифрикционного слоя, которая тоже во многом зависит от материала подложки твердосмазочного покрытия.

[12]

Антифрикционные свойства оцениваются по способности материалов трущихся деталей и слоя смазки обеспечивать малое трение в заданном диапазоне действующих факторов, а в предлагаемом варианте присутствует свойство не схватываться при трении, а прирабатываться и образовывать на поверхности трения прочные слои, предохраняющие поверхности контактирующих тел от металлического контакта при высоких нагрузках, восстанавливать эти слои при их местном разрушении.

[13]

Технической задачей является повышение износостойкости шаровой опоры со сферическим подшипником скольжения, обеспечение положительного градиента напряжений, а также способность к восстановлению и «залечиванию» повреждений антифрикционного слоя.

[14]

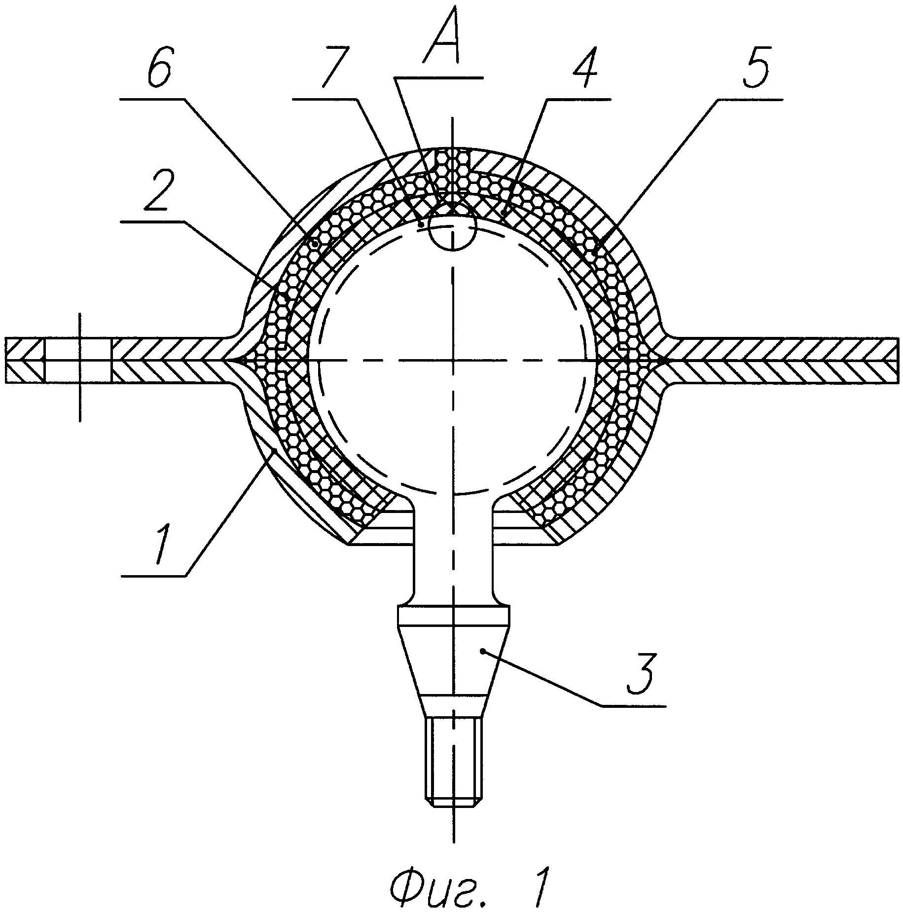
Указанная задача решается за счет того, что в шаровой опоре, содержащей корпус, выполненный из двух частей в виде крышек, неразъемно соединенных между собой, с заключенным в корпус шаровым пальцем, сферической головкой, размещенной во вкладыше, при этом пространство между вкладышем и корпусом заполнено термопластичным наполнителем. Материал пальца 3 выполнен из жаропрочного сплава ВХЛ-16, а на сферической поверхности сформирована структура многослойного покрытия 7 методом гальванического покрытия подложки Та и электролитическим слоем Ag на подложку Та с последующим нанесением твердосмазочного покрытия ВАП (фиг. 2), состоящего из микродисперсного молибдена с лаком ФЛ.

[15]

Под действием высоких контактных давлений и повышенных температур в процессе фрикционного взаимодействия возникает пластическое течение серебряного слоя и активное внедрение кристаллов дисульфида молибдена в его поверхность, т.е. возникают новые фрикционные свойства, которые не были присущи отдельным слоям. Это обусловлено облегченным скольжением по плоскостям базиса в процессе трения.

[16]

Таким образом, формируя композиционные твердосмазочные покрытия со сдвиговым сопротивлением, меньшим сдвигового сопротивления материала основы, существенно повышается износостойкость шаровой опоры, а также возникает способность к восстановлению и «залечиванию» антифрикционного слоя.

Как компенсировать расходы
на инновационную разработку
Похожие патенты