патент
№ RU 2617461
МПК H01L21/306

СПОСОБ ПОДГОТОВКИ КРИСТАЛЛИЧЕСКОЙ ИЛИ ПОЛИКРИСТАЛЛИЧЕСКОЙ ПОДЛОЖКИ ПОД МЕТАЛЛИЗАЦИЮ

Авторы:
Верба Владимир Степанович Воронцов Леонид Викторович Даниленко Дмитрий Александрович
Все (4)
Номер заявки
2015144367
Дата подачи заявки
15.10.2015
Опубликовано
25.04.2017
Страна
RU
Как управлять
интеллектуальной собственностью
Чертежи 
1
Реферат

Изобретение относится к радиоэлектронике, а точнее к технологии производства печатных плат. Сущность способа подготовки кристаллической или поликристаллической подложки под металлизацию заключается в том, что кристаллическую или поликристаллическую подложку стандартным образом шлифуют, на подложку наносят фоторезист, который затем засвечивают и травят, фоторезист покрывают маской и активным металлом для снятия заряда, создают внедренные дислокации, для чего выбранный металл обрабатывают потоком ионов от ионного ускорителя и после активации подложки маску и активный металл смывают жидким веществом, не реагирующим с активирующим металлом. Техническим результатом изобретения является расширение арсенала технических средств для подготовки кристаллических или поликристаллических подложек под металлизацию. 1 ил.

Формула изобретения

Способ подготовки кристаллической или поликристаллической подложки под металлизацию, заключающийся в том, что кристаллическую или поликристаллическую подложку стандартным образом шлифуют, на подложку наносят фоторезист, который затем засвечивают и травят, фоторезист покрывают маской и активным металлом для снятия заряда, создают внедренные дислокации, для чего выбранный металл обрабатывают потоком ионов от ионного ускорителя и после активации подложки маску и активный металл смывают жидким веществом, не реагирующим с активирующим металлом.

Описание

[1]

Изобретение относится к радиоэлектронике, а точнее к технологии производства печатных плат.

[2]

"В производстве приборов, средств вычислительной техники, различных видов электронных устройств и бытовой радиотехнической аппаратуры, как средство автоматизации монтажно-сборочных операций, широко применяются печатные платы (ПП).

[3]

Они обеспечивают снижение металлоемкости, габаритных размеров, а также повышение эксплуатационных свойств изделий. При изготовлении ПП в зависимости от их конструктивных особенностей и масштабов производства применяются различные варианты технологических процессов, в которых используются химические и гальванические операции [1].

[4]

В настоящее время почти все схемы радиоаппаратуры, будь это простейший радиоприемник или блок ЭВМ, обычно изготовляются в виде металлического рисунка на диэлектрической основе путем химического избирательного вытравливания отдельных участков медной фольги, приклеенной на основу из диэлектрика. Участки фольги, которые не должны вытравливаться и которые составляют нужный электропроводящий рисунок радиотехнической схемы, защищаются от воздействия травильного раствора стойким в нем покрытием (резистом). Последний может иметь органическую природу или выполняться из неразрушающегося металла или сплава [2].

[5]

Химическим путем производится покрытие медью отверстий ПП (сначала химическим, а затем электрохимическим методами) и нанесение металлических резистов на нужные участки медной фольги на платах (методом гальванопокрытий).

[6]

Принципиально новым шагом в производстве радиоэлектронных схем является замена технологии изготовления изделий с применением радиотехнического рисунка из вытравленной медной фольги на процесс получения радиосхем непосредственно на диэлектрических основах, используя физико-термические и химические методы локального нанесения покрытий различными металлами - медью, никелем, серебром и др. Это позволяет значительно снизить расход металлов, а также уменьшить габариты и массу изделий [3].

[7]

Широкое распространение в производстве радиоэлектронных изделий получили процессы химической металлизации, особенно химическое меднение и никелирование [4]. Металлизация поверхности деталей производится для получения желаемых поверхностных характеристик: электропроводности, коррозионной стойкости, декоративных качеств, магнитных свойств, паяемости. Качество нанесенного на поверхность диэлектрика металлического покрытия (адгезия, пластичность, электропроводность, разрешающая способность и др.) во многом определяется подготовкой поверхности диэлектрика перед металлизацией, к которой предъявляются два вида требований: оптимальные структурные характеристики поверхности диэлектрика (однородность, шероховатость); достаточно высокая поверхностная концентрация активных центров, обеспечивающая локализацию процесса восстановления металла на поверхности диэлектрика, а не в объеме раствора меднения" [5].

[8]

Известны химические и плазмохимические методы подготовки поверхности кристаллических или поликристаллических подложек к металлизации (иногда называются активацией) [6, 7]. Методы основаны на предположении, что причина плохой адгезии - загрязнения на поверхности или свойства поверхности кристалла.

[9]

Предлагаемый способ предполагает, что плохая адгезия - свойство самого кристалла и потому поверхность под контакт с напылением надо изменить. Меняем ее мы при помощи ионной имплантации.

[10]

"Ионная имплантация (ионное внедрение, ионное легирование) - введение примесных атомов в твердое тело бомбардировкой его поверхности ускоренными ионами. При ионной бомбардировке мишени наряду с процессами распыления поверхности, ионно-ионной эмиссии, образования радиационных эффектов и др. происходит проникновение ионов в глубь мишени. Внедрение ионов становится существенным при энергии ионов Е>1 кэВ" [8].

[11]

В отличие от обычного применения ионной имплантации, наша цель - создать дислокации в поверхностном слое кристалла или кристаллов в поликристаллической массе. Побочным и тоже небесполезным явлением будет наличие некоторого количества металла в поверхностном слое, что тоже улучшит адгезию.

[12]

С этой целью используется поток ионов с энергией порядка 10…100 эВ. Это позволяет создать дислокации около поверхности (что обычно травлением простых кристаллов не достигается - не та энергия), но при этом не создается легирование в глубине материала. Так как напряжение маленькое, для стекания зарядов применяется металлизация маски.

[13]

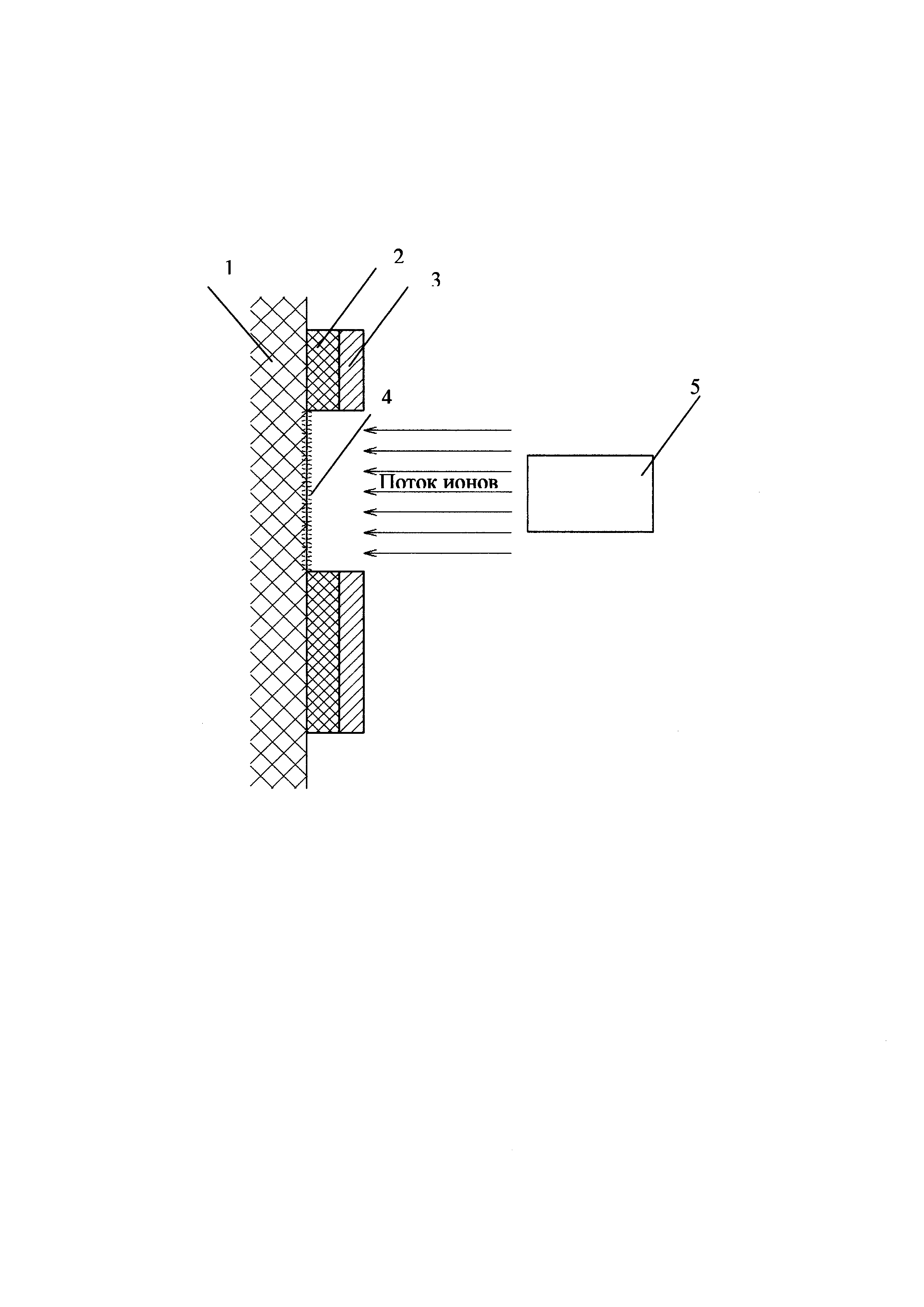
Предлагаемый способ реализуют следующим образом (см. чертеж).

[14]

1. Кристаллическую или поликристаллическую подложку 1 стандартным образом шлифуют.

[15]

2. На подложку наносят фоторезист, который затем засвечивают и травят.

[16]

3. Фоторезист покрывают маской 2 и активным металлом 3, например Zn или Ca, для снятия заряда.

[17]

4. Создают внедренные дислокации 4, для чего выбранный металл обрабатывают потоком ионов от ионного ускорителя 5. Используют, например, ионы Cu или Ag, или Au, или Al.

[18]

5. После активации подложки слои 2 и 3 смывают жидким веществом, например соляной кислотой, не реагирующим с активирующим металлом.

[19]

Подготовленную поверхность покрывают металлом каким-нибудь стандартным способом.

[20]

Техническим результатом изобретения является расширение арсенала технических средств для подготовки кристаллических или поликристаллических подложек под металлизацию.

[21]

Список использованных источников

[22]

1. Инженерная гальванотехника в приборостроении / Под редакцией A.M. Гинберга. М.: Машиностроение, 1977. 512 с.

[23]

2. Федулова А.А., Котов Е.А., Явич Э.Р. Многослойные печатные платы. М.: Советское радио, 1977. 248 с.

[24]

3. Мазур А.И., Алехин В.П., Шоршоров М.Х. Процессы сварки и пайки в производстве полупроводниковых приборов. М.: Радио и связь, 1981. 224 с.

[25]

4. Вишепков С.А. Химические и электрохимические способы осаждения металлопокрытий. М.: Машиностроение, 1975. 312 с.

[26]

5. http://www.dissercat.com/content/fiziko-khimicheskie-zakonomernosti-aktivirovaniya-poverkhnosti-dielektricheskikh-materialov-?_openstat=cmVmZXJ1bi5jb207bm9kZTthZDE7.

[27]

6. Там же.

[28]

7. Патент RU 2039848.

[29]

8. Физическая энциклопедия. В 5-ти томах. М.: Советская энциклопедия. Главный редактор А.М. Прохоров. 1988. / Цит. по: http://dic.academic.ru/dic.nsf/enc_physics/3387.

Как компенсировать расходы
на инновационную разработку
Похожие патенты