патент
№ RU 2615478
МПК B65H59/06

СТАНОК НАМОТОЧНЫЙ

Авторы:
Коротков Анатолий Николаевич Маринин Владимир Иванович Семенченко Иван Гаврилович
Все (9)
Номер заявки
2015150284
Дата подачи заявки
25.11.2015
Опубликовано
04.04.2017
Страна
RU
Как управлять
интеллектуальной собственностью
Чертежи 
2
Реферат

[25]

Изобретение относится к области станкостроения, в частности к намоточным станкам с ЧПУ, и может быть использовано для изготовления изделий из полимерных композиционных материалов. Станок намоточный содержит станину. На станине смонтированы намоточная головка, передняя и задняя бабки и механизм регулирования натяжения жгута. Бабки предназначены для установки, закрепления и приведения во вращение оправки. Оправка предназначена для намотки на нее жгута со шпулярника при формировании изделия. Механизм регулирования натяжения жгута выполнен в виде вилки. Вилка установлена центральной частью на оси с возможностью поворота. На концах вилки установлены валы. Через валы пропущен жгут. Механизм регулирования оснащен задатчиком усилия натяжения в виде пневмоцилиндра. Шток пневмоцилиндра связан с вилкой. Полость штока имеет возможность соединения с компрессором и датчиком усилия натяжения жгута. Датчик усилия натяжения связан с блоком управления работой привода вращения шпулярника. Обеспечивается качественная намотка изделий широкого спектра назначений. 3 ил.

Формула изобретения

Станок намоточный, содержащий станину, на которой смонтированы намоточная головка, передняя и задняя бабки, предназначенные для установки, закрепления и приведения во вращение оправки, предназначенной для намотки на нее жгута со шпулярника при формировании изделия, а также механизм регулирования натяжения жгута, отличающийся тем, что механизм регулирования натяжения жгута выполнен в виде вилки, установленной центральной частью на оси с возможностью поворота, на концах вилки установлены валы, через которые пропущен жгут, механизм регулирования оснащен задатчиком усилия натяжения, выполненным в виде пневмоцилиндра, шток которого связан с вилкой, а полость штока имеет возможность соединения с компрессором, и датчиком усилия натяжения жгута, связанного с блоком управления, предназначенным для управления работой привода вращения шпулярника.

Описание

[1]

Изобретение относится к области станкостроения, в частности к намоточным станкам с ЧПУ, и может быть использовано для изготовления сопел, топливных труб высокого давления, в том числе для криогенных магистралей, из полимерных композиционных материалов.

[2]

Известен станок намоточный, содержащий приводную и опорную бабки, расположенные на станине, каретку, имеющую возможность перемещения по направляющим, проложенным вдоль оси станка.

[3]

На каретке установлен лентопротяжный тракт, включающий в себя бобину с лентой. На валу бобины установлен тормоз, создающий предварительное натяжение ленты, постоянство предварительного натяжения которой обеспечивается устройством, отслеживающим изменения диаметра рулона ленты. Рабочее натяжение ленты при намотке ее на оправку обеспечивается натяжным устройством.

[4]

В состав лентопротяжного тракта также входит устройство слежения и корректировки положения кромки ленты, выполненное в виде замкнутой цепи, натянутой на две звездочки, одна из которых является приводной. На каждом звене цепи в обоймах на осях в подшипниках расположены свободно вращающиеся шинованные ролики, а под одной из ветвей цепи, контактирующей с наматываемой лентой, установлена пластина, взаимодействующая с элементами цепи и исключающая прогиб цепи от натяжения ленты

[5]

При работе станка лента с бобины при заправке проводится через весь лентопротяжный тракт и закрепляется на оправке. При вращении оправки и перемещении каретки с лентопротяжным трактом с заданным шагом вдоль оси станка полосы ленты ложатся с таким же шагом на оправку, формируя изделие. Устройство слежения и корректировки положения кромки ленты, по сигналу об ее отклонении от заданного положения, производит сдвиг ленты в сторону, противоположную уклону оправки, выравнивая положение ленты на оправке, то есть происходит дискретная корректировка положения ленты на оправке при отслеживании положения ее кромки (см. патент РФ №2488541, кл. В65Н 18/08, 2013 г.) - наиболее близкий аналог.

[6]

В результате анализа известного намоточного станка необходимо отметить, что он имеет невысокую точность регулирования величины натяжения материала (жгута), так как натяжное устройство не отслеживает реального натяжения ленты материала в течение всего цикла намотки.

[7]

Техническим результатом заявленного изобретения является повышение качества намотки изделий за счет повышения точности регулирования натяжения жгута с учетом изменения скорости протяжки жгута в широком диапазоне (в том числе компенсации рывков и провисов материала), расширения регулируемого диапазона натяжения, компенсации изменения момента инерции шпулярника в процессе намотки при изменении его массы и диаметра.

[8]

Указанный технический результат обеспечивается тем, что в станке намоточном, содержащем станину, на которой смонтированы намоточная головка, передняя и задняя бабки, предназначенные для установки, закрепления и приведения во вращение оправки, предназначенной для намотки на нее жгута со шпулярника при формировании изделия, а также механизм регулирования натяжения жгута, новым является то, что механизм регулирования натяжения жгута выполнен в виде вилки, установленной центральной частью на оси с возможностью поворота, на концах вилки установлены валы, через которые пропущен жгут, механизм регулирования оснащен задатчиком усилия натяжения, выполненным в виде пневмоцилиндра, шток которого связан с вилкой, а полость штока имеет возможность соединения с компрессором, и датчиком усилия натяжения жгута, связанного с блоком управления, предназначенным для управления работой привода вращения шпулярника.

[9]

Сущность заявленного изобретения поясняется графическими материалами, на которых:

[10]

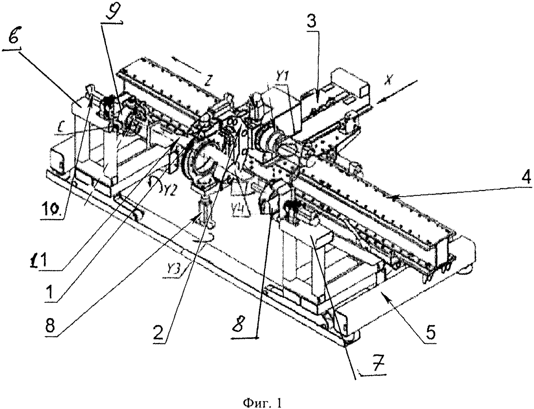
- на фиг. 1 - станок намоточный, общий вид;

[11]

- на фиг. 2 - функциональная схема регулятора натяжения;

[12]

- на фиг. 3 - механизм регулирования натяжения жгута.

[13]

Станок намоточный содержит регулятор натяжения 1 наматываемого жгута, установленный на намоточной головке 2 станка. Головка 2 может быть выполнена в виде вертлюга и смонтирована на каретке 3, имеющей возможность перемещения посредством привода в поперечном (относительно продольной оси станка) направлении (по оси X) и посредством привода продольного (вдоль продольной оси станка по оси Z) перемещения по направляющей 4 станины 5 станка.

[14]

Станок содержит установленную на станине 5 переднюю 6 и заднюю 7 шпиндельные бабки с зажимными приспособлениями 8. Шпиндель 9 передней бабки оснащен приводом 10 его вращения. Шпиндельные бабки предназначены для закрепления и приведения во вращение оправки 11. Оправка 11 предназначена для намотки на нее со шпулярника 12 жгута 13 при формировании изделия. Шпулярник 12 может быть размещен как на головке 2, так и автономно около станины.

[15]

Станок оснащен механизмом регулирования натяжения жгута. Данный механизм выполнен в виде компенсатора 14, представляющего собой установленную средней частью на оси с возможностью поворота в пределах упоров (позициями не обозначены) равноплечую вилку. На концах вилки закреплены валы. Вилка соединена со штоком пневмоцилиндра 15, являющегося задатчиком усилия натяжения. Соединительный элемент штока с вилкой имеет возможность перемещения по вилке. Полость пневмоцилиндра соединена с компрессором (не показан), размещенным около станины станка.

[16]

Для отслеживания положения компенсатора 14 (текущего усилия натяжения) предназначен датчик положения компенсатора, выполненный в виде кулачка 16, соединенного с вилкой 14 и связанного с индуктивным датчиком 17 линейного перемещения. Шпулярник 12 оснащен регулируемым электрическим приводом 18 его вращения. Управление работой двигателя осуществляется от блока управления 19. Связанным с датчиком 17.

[17]

Станок работает следующим образом.

[18]

Для работы станка на шпулярник 12, радиусом шпули r устанавливают рулон жгута радиусом RO. В зажимные приспособления 8 шпиндельных бабок 6 и 7 устанавливают оправку 11 и фиксируют ее. Сматывают с рулона конец жгута, пропускают его через валы компенсатора 14 и пропускают в головку 2. Шток пневмоцилиндра 15 соединен с компенсатором 14 и воздействует на него с силой F*. Усилие натяжения жгута обозначено символом N. Расстояние от оси поворота компенсатора 14 до места соединения с ним штока пневмоцилиндра обозначено символом h. Включают в работу головку 2, приводят во вращение оправку 11, включают привод 18 вращения шпулярника 12. Осуществляют намотку на оправку жгута 13, формируя изделие. Процесс намотки материала на оправку является широко известным и нет необходимости подробно приводить его в данной заявке.

[19]

Для обеспечения качественной намотки в процессе поддержания изделия необходимо в течение всего цикла намотки поддерживать заданное усилие натяжения N жгута 13. Заданное усилие натяжения поддерживается механизмом регулирования натяжения жгута. Это осуществляется следующим образом.

[20]

В процессе работы станка шток пневмоцилиндра с заданной силой F*, задаваемой компрессором, пытается провернуть вилку компенсатора 14 против движения жгута 13 через ее валы. Крайние положения компенсатора ограничены с двух сторон упорами (позицией не обозначены). Силу F* рассчитывают по формуле:

[21]

F*=Sц2рыч, где Sц - площадь пневмоцилиндра 15, P2 - давление, поданное в пневмоцилиндр 15 (определяет натяжение жгута), Крыч - коэффициент передачи регулируемого рычага-штока, через который пневмоцилиндр давит на компенсатор.

[22]

Регулирование размера плеча h вилки позволяет расширить диапазон регулирования натяжения. Положение вилки (которое характеризует реальное натяжение жгута) постоянно отслеживается датчиком 16, информация с которого преобразуется в линейные значения датчиком 17 и передается на блок управления 19, который управляет работой привода 18, изменяя скорость вращения шпулярника 12, таким образом, чтобы поддерживать заданное натяжение жгута в течение всего цикла его намотки на оправку.

[23]

Укладка ленты по расчетной программе осуществляется по нескольким независимым управляемым координатам, скорости и величины перемещений рабочих элементов станка по которым строго увязаны между собой. В процессе намотки вращение оправки возвратно-поступательные движения каретки и поворот головки со жгутом осуществляются по заданному циклу, поэтому намотка изделия без участия системы программного управления невозможна.

[24]

Использование данного станка обеспечивает качественную намотку изделий широкого спектра назначений.

Как компенсировать расходы
на инновационную разработку
Похожие патенты