патент
№ RU 2674232
МПК F02K1/12

Плоское сопло турбореактивного авиационного двигателя

Авторы:
Демченко Александр Валерьевич
Номер заявки
2017135015
Дата подачи заявки
05.10.2017
Опубликовано
05.12.2018
Страна
RU
Как управлять
интеллектуальной собственностью
Чертежи 
3
Реферат

Изобретение относится к области авиационного двигателестроения, а именно к конструкции плоских сопел турбореактивных двигателей. Плоское сопло содержит последовательно установленные и шарнирно соединенные друг с другом корпус, дозвуковые створки и сверхзвуковые створки, а также внешние створки, соединенные с корпусом и сверхзвуковыми створками, а также обтекатели, каждый из которых выполнен в поперечном разрезе П-образной формы и контактирует с соответствующей сверхзвуковой створкой по боковым поверхностям. Со стороны среза плоского сопла обтекатель контактирует с наружной поверхностью сверхзвуковой створки, а с противоположной стороны обтекателя выполнена цилиндрическая законцовка, контактирующая по наружной поверхности с ответной поверхностью близлежащего торца соответствующей внешней створки. Продольная ось цилиндрической законцовки совмещена с осью вращения соответствующей сверхзвуковой створки. Любой из обтекателей жестко зафиксирован на соответствующей сверхзвуковой створке в местах контакта с последней. Любая из внешних створок соединена с корпусом посредством, по меньшей мере, одного кронштейна, одним концом жестко соединенного с первой, а другим концом шарнирно соединенного с последним. С соответствующей сверхзвуковой створкой любая из внешних створок соединена посредством, по меньшей мере, одного кронштейна, жестко соединенного с последней, и, по меньшей мере, одной тяги, соединенной с первой посредством шарнирного соединения. Ось вращения указанного шарнирного соединения совмещена с осью вращения сверхзвуковой створки. Кронштейн с тягой соединены шарнирно. Изобретение позволяет снизить потери тяги плоского сопла за счет снижения донного сопротивления. 4 ил.

Формула изобретения

Плоское сопло турбореактивного авиационного двигателя, содержащее последовательно установленные и шарнирно соединенные друг с другом корпус, дозвуковые створки и сверхзвуковые створки, а также внешние створки, соединенные с корпусом и сверхзвуковыми створками, отличающееся тем, что содержит обтекатели, любой из которых выполнен в поперечном разрезе П-образной формы и контактирует с соответствующей сверхзвуковой створкой по боковым поверхностям, причем со стороны среза плоского сопла обтекатель контактирует с наружной поверхностью сверхзвуковой створки, а с противоположной стороны обтекателя выполнена цилиндрическая законцовка, контактирующая по наружной поверхности с ответной поверхностью близлежащего торца соответствующей внешней створки, причем продольная ось цилиндрической законцовки совмещена с осью вращения соответствующей сверхзвуковой створки, кроме того, любой из обтекателей жестко зафиксирован на соответствующей сверхзвуковой створке в местах контакта с последней, при этом любая из внешних створок соединена с корпусом посредством по меньшей мере одного кронштейна, одним концом жестко соединенного с первой, а другим концом шарнирно соединенного с последним, а с соответствующей сверхзвуковой створкой любая из внешних створок соединена по меньшей мере посредством одного кронштейна, жестко соединенного с последней, и по меньшей мере одной тяги, соединенной с первой посредством шарнирного соединения, ось вращения которого совмещена с осью вращения сверхзвуковой створки, причем кронштейн с тягой соединены шарнирно.

Описание

[1]

Изобретение относится к области авиационного двигателестроения, а именно к конструкции плоских сопел турбореактивных авиационных двигателей.

[2]

В качестве наиболее близкого аналога (прототипа) выбрано плоское сопло турбореактивного двигателя, содержащее последовательно установленные и шарнирно соединенные друг с другом корпус, дозвуковые створки и сверхзвуковые створки, а также внешние створки, соединенные с корпусом и сверхзвуковыми створками (RU 2445486 С1).

[3]

Недостатком прототипа является наличие зазора между сверхзвуковыми и внешними створками сопла в его выходном сечении (на срезе сопла). Это приводит к образованию за ним области пониженного давления во время работы плоского сопла в условиях полета, что в свою очередь приводит к потерям эффективной тяги двигателя в результате донного сопротивления (Теория и расчет авиационных двигателей / Под ред. С.М. Шляхтенко. Учебник для вузов. - 2-е изд., перераб. и доп. - М.: Машиностроение, 1987. - 568 с.: ил., страница 177).

[4]

Техническим результатом, достигаемым заявленным устройством, является снижение потерь эффективной тяги плоского сопла за счет устранения донного сопротивления.

[5]

Указанный технический результат достигается тем, что известное плоское сопло турбореактивного авиационного двигателя, содержащее последовательно установленные и шарнирно соединенные друг с другом корпус, дозвуковые створки и сверхзвуковые створки, а также внешние створки, соединенные с корпусом и сверхзвуковыми створками, согласно настоящему изобретению содержит обтекатели, любой из которых выполнен в поперечном разрезе П-образной формы и контактирует с соответствующей сверхзвуковой створкой по боковым поверхностям, причем со стороны среза плоского сопла обтекатель контактирует с наружной поверхностью сверхзвуковой створки, а с противоположной стороны обтекателя выполнена цилиндрическая законцовка, контактирующая по наружной поверхности с ответной поверхностью близлежащего торца соответствующей внешней створки, причем продольная ось цилиндрической законцовки совмещена с осью вращения соответствующей сверхзвуковой створки, кроме того, любой из обтекателей жестко зафиксирован на соответствующей сверхзвуковой створке в местах контакта с последней, при этом любая из внешних створок соединена с корпусом посредством по меньшей мере одного кронштейна, одним концом жестко соединенного с первой, а другим концом шарнирно соединенного с последним, а с соответствующей сверхзвуковой створкой любая из внешних створок соединена по меньшей мере посредством одного кронштейна, жестко соединенного с последней, и по меньшей мере одной тяги, соединенной с первой посредством шарнирного соединения, ось вращения которого совмещена с осью вращения сверхзвуковой створки, причем кронштейн с тягой соединены шарнирно.

[6]

Обтекатели, любой из которых выполнен в поперечном разрезе П-образной формы и контактирует с соответствующей сверхзвуковой створкой по боковым поверхностям, устраняют зазор между внешней и сверхзвуковой створками за счет того, что со стороны среза плоского сопла обтекатель контактирует с наружной поверхностью сверхзвуковой створки, а с противоположной стороны обтекателя выполнена цилиндрическая законцовка, контактирующая по наружной поверхности с ответной поверхностью близлежащего торца соответствующей внешней створки.

[7]

Продольная ось цилиндрической законцовки совмещена с осью вращения соответствующей сверхзвуковой створки, кроме того, любой из обтекателей жестко зафиксирован на соответствующей сверхзвуковой створке в местах контакта с последней. Это позволяет избежать возникновения зазора между обтекателем и внешней створкой при вращении сверхзвуковой створки относительно дозвуковой (при изменении площади среза сопла).

[8]

Любая из внешних створок соединена с корпусом посредством по меньшей мере одного кронштейна, одним концом жестко соединенного с первой, а другим концом шарнирно соединенного с последним, а с соответствующей сверхзвуковой створкой любая из внешних створок соединена по меньшей мере посредством одного кронштейна, жестко соединенного с последней и по меньшей мере одной тяги, соединенной с первой посредством шарнирного соединения, ось вращения которого совмещена с осью вращения сверхзвуковой створки, причем кронштейн с тягой соединены шарнирно. Благодаря этому, каждая внешняя створка может вращаться относительно корпуса плоского сопла при изменении положения дозвуковых створок (изменении площади критического сечения плоского сопла) без образования зазора в месте контакта с обтекателем.

[9]

Сущность настоящего изобретения поясняется фигурами чертежей.

[10]

На фигуре 1 изображен продольный разрез плоского сопла турбореактивного авиационного двигателя.

[11]

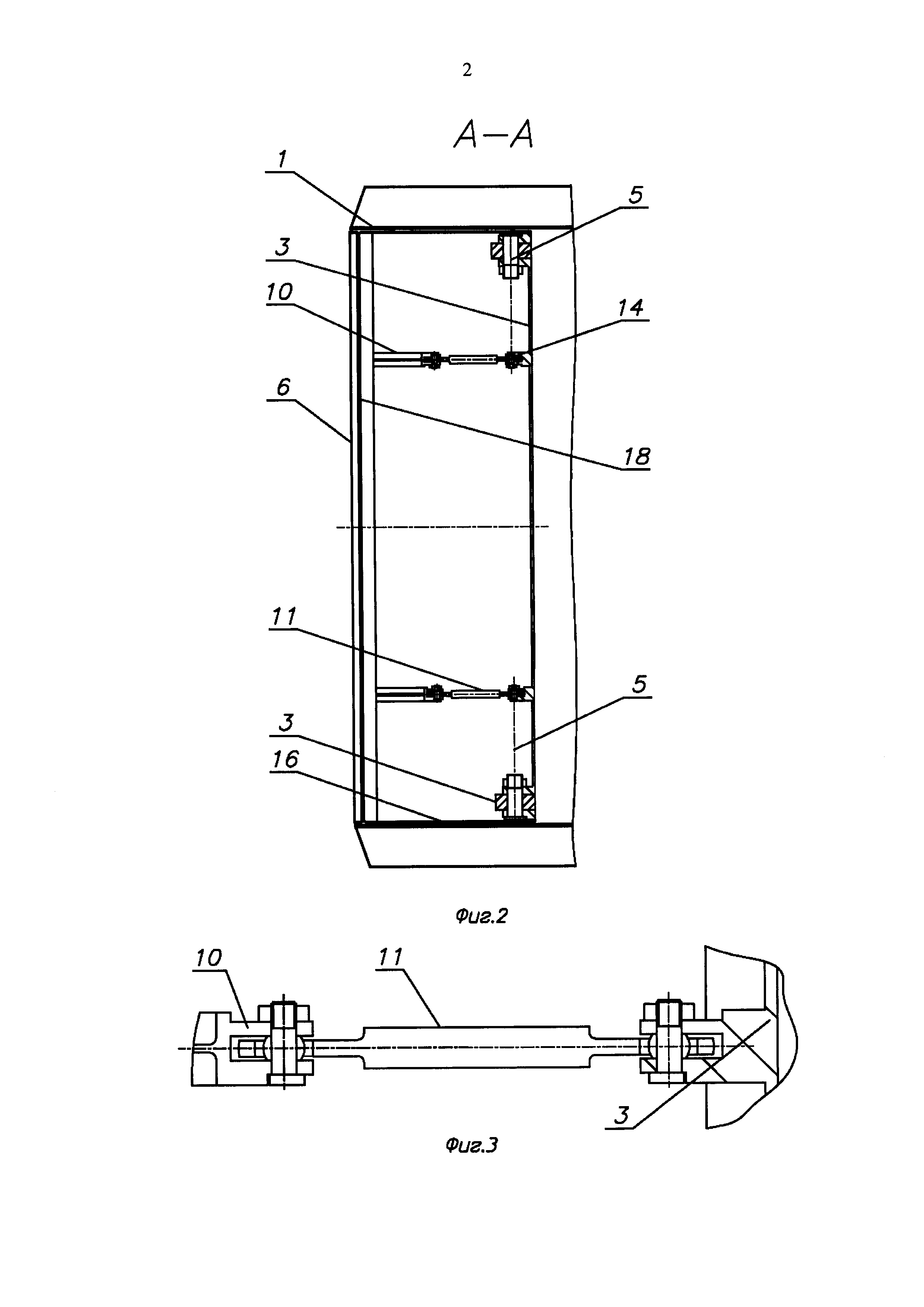
На фигуре 2 изображен разрез А-А.

[12]

На фигуре 3 представлено увеличенное изображение тяги и мест ее соединения с кронштейном внешней створки и со сверхзвуковой створкой.

[13]

На фигуре 4 изображен разрез Б-Б.

[14]

Плоское сопло турбореактивного авиационного двигателя содержит последовательно установленные корпус 1, дозвуковые створки 2 и сверхзвуковые створки 3, причем корпус 1 соединен с дозвуковыми створками 2 посредством шарнирных соединений 4, дозвуковые створки 2 в свою очередь соединены с сверхзвуковыми створками 3 посредством шарнирных соединений 5.

[15]

Плоское сопло турбореактивного авиационного двигателя также содержит внешние створки 6. При этом любая из внешних створок 6 соединена с корпусом 1 посредством по меньшей мере одного кронштейна 7 (возможно их параллельное соединение несколькими кронштейнами 7), одним концом жестко соединенного с первой посредством фланцевого соединения 8, а другим концом соединенного с последним посредством шарнирного соединения 9. А с соответствующей сверхзвуковой створкой 3 любая из внешних створок 6 соединена по меньшей мере посредством одного кронштейна 10 с тягой 11 (возможно их параллельное соединение несколькими кронштейнами 10 с тягами 11), соединенных между собой посредством шарнирного соединения 12, причем любой из кронштейнов 10 жестко соединен с соответствующей внешней створкой 6 посредством фланцевого соединения 13, а любая из тяг 11 соединена с соответствующей сверхзвуковой створкой 3 посредством шарнирного соединения 14, ось вращения которого совмещена с осью вращения сверхзвуковой створки 3.

[16]

Плоское сопло турбореактивного авиационного двигателя дополнительно содержит обтекатели 15, любой из которых выполнен в поперечном разрезе П-образной формы и контактирует с соответствующей сверхзвуковой створкой 3 по боковым поверхностям 16 и 17 (см. фиг. 4), а со стороны среза плоского сопла обтекатель 15 контактирует с соответствующей наружной поверхностью сверхзвуковой створки 3, при этом любой из обтекателей 15 жестко зафиксирован на соответствующей сверхзвуковой створке 3 в местах контакта с последней, например, болтами.

[17]

Причем с противоположенной стороны любого из обтекателей 15, относительно стороны среза плоского сопла, выполнена цилиндрическая законцовка 18, контактирующая по наружной поверхности с ответной поверхностью 19 близлежащего торца соответствующей внешней створки 6 (а именно, торца, направленного в сторону среза плоского сопла), причем продольная ось цилиндрической законцовки 18 совмещена с осью вращения соответствующей сверхзвуковой створки 3.

[18]

Устройство работает следующим образом.

[19]

В процессе работы турбореактивного авиационного двигателя изменяются площади критического и выходного сечений плоского сопла за счет поворота дозвуковых и сверхзвуковых створок 2 и 3. При этом тяги 11, соединяющие внешние створки 6 со сверхзвуковыми створками 3, также поворачивают последние относительно осей шарнирных соединений 9. Вместе с дозвуковыми створками 2 и внешними створками 6 изменяют свое положение и сверхзвуковые створки 3 с жестко закрепленными на них обтекателями 15. Так как каждый кронштейн 10 неподвижно закреплен на соответствующей внешней створке 6, то расстояние между осью шарнирного соединения 12 и ответной поверхностью 19 близлежащего торца соответствующей внешней створки 6, контактирующей с обтекателем 15, всегда постоянно.

[20]

Вследствие того, что тяга 11, соединяющая кронштейн 10 со сверхзвуковой створкой 3, прикреплена шарнирным соединением 14 к последней соосно шарнирному соединению 5, то ответная поверхность 19 близлежащего торца соответствующей внешней створки 6, контактирующей с цилиндрической законцовкой 18 обтекателя 15, всегда перемещается относительно последнего также соосно оси вращения шарнирного соединения 5, которая также является и продольной осью симметрии этой цилиндрической законцовки 18. Вследствие этого взаимные перемещения внешней створки 6 и обтекателя 15 происходят без образования зазоров. Последний вблизи выходного сечения также соединяется со сверхзвуковой створкой 3 беззазорно.

[21]

Таким образом, в конструкции заявленного плоского сопла при любых взаимных положениях дозвуковых 2, сверхзвуковых 3 и внешних 6 створок, между последними отсутствует зазор как на срезе (в выходном сечении), так и в месте контакта обтекателя 15 с внешней створкой 6, в результате чего внешний поток воздуха обтекает наружную поверхность плоского сопла, не имеющую уступов.

[22]

Вследствие этого в конструкции плоского сопла отсутствуют потери эффективной тяги от донного сопротивления, которое заключается в образовании областей пониженного давления при обтекании потоком уступов, которые в свою очередь отсутствуют в данном плоском сопле.

[23]

Такое выполнение конструкции позволит повысить эффективную тягу двигателя и уменьшить удельный расход топлива при его работе.

Как компенсировать расходы
на инновационную разработку
Похожие патенты