патент
№ RU 2660107
МПК F16C27/00

Упругодемпферная опора ротора турбомашины

Авторы:
Гусенко Сергей Михайлович Мартынова Анна Александровна Райков Юрий Васильевич
Все (4)
Номер заявки
2017129675
Дата подачи заявки
22.08.2017
Опубликовано
04.07.2018
Страна
RU
Как управлять
интеллектуальной собственностью
Чертежи 
3
Реферат

Изобретение относится к области турбомашиностроения, преимущественно к авиадвигателестроению, а именно к конструкции упругодемпферных опор роторов турбомашин. Упругодемпферная опора ротора турбомашины содержит вал, опирающийся на радиальный подшипник, статорный элемент с выполненными в нем отверстиями для подачи масла и кольцевой проточкой. Гидродинамический демпфер соединяет статорный элемент с радиальным подшипником. Крышка установлена на статорном элементе. Гидродинамический демпфер выполнен в виде единого упругого кольца с цилиндрическими наружной и внутренней поверхностями, в окружном направлении которого выполнены сквозные прорези, образующие опорные перемычки и дугообразные пружины с отверстиями. Упругодемпферная опора снабжена по меньшей мере одним окружным рядом сквозных прорезей, выполненных концентрично относительно оси гидродинамического демпфера и образующих по меньшей мере два кольца, соединенных опорными перемычками и расположенных на равном расстоянии друг от друга с образованием симметрично расположенных дугообразных пружин. В дугообразных пружинах выполнены наклонные отверстия. В каждой второй опорной перемычке выполнены прорези, образующие выступы на дугообразных пружинах, между которыми выполнен радиальный зазор, для обеспечения возможности изгиба последних. В двух соседних рядах сквозных прорезей выступы и опорные перемычки расположены в шахматном порядке. Отверстия для подачи масла и кольцевая проточка выполнены со стороны торца гидродинамического демпфера. Технический результат: обеспечение большой эффективности демпфирования на различных режимах работы турбомашины и снижение общего уровня вибрации. 1 з.п. ф-лы, 3 ил.

Формула изобретения

1. Упругодемпферная опора ротора турбомашины, содержащая вал, опирающийся на радиальный подшипник, статорный элемент с выполненными в нем отверстиями для подачи масла и кольцевой проточкой, гидродинамический демпфер, соединяющий статорный элемент с радиальным подшипником, крышку, установленную на статорном элементе, при этом гидродинамический демпфер выполнен в виде единого упругого кольца с цилиндрическими наружной и внутренней поверхностями, в окружном направлении которого выполнены сквозные прорези, образующие опорные перемычки и дугообразные пружины с отверстиями, отличающаяся тем, что она снабжена по меньшей мере одним окружным рядом сквозных прорезей, выполненных концентрично относительно оси гидродинамического демпфера и образующих по меньшей мере два кольца, соединенных опорными перемычками, расположенными на равном расстоянии друг от друга с образованием симметрично расположенных дугообразных пружин, при этом в дугообразных пружинах выполнены наклонные отверстия, в каждой второй опорной перемычке выполнены прорези, образующие выступы на дугообразных пружинах, между которыми выполнен радиальный зазор для обеспечения возможности изгиба последних, причем в двух соседних рядах сквозных прорезей выступы и опорные перемычки расположены в шахматном порядке, а отверстия для подачи масла и кольцевая проточка выполнены со стороны торца гидродинамического демпфера.

2. Упругодемпферная опора ротора турбомашины по п. 1, отличающаяся тем, что наклонные отверстия в дугообразных пружинах выполнены в сторону торцов гидродинамического демпфера.

Описание

[1]

Изобретение относится к области турбомашиностроения, преимущественно к авиадвигателестроению, а именно к конструкции упругодемпферных опор роторов турбомашин.

[2]

В качестве наиболее близкого аналога выбрана упругодемпферная опора роторной турбомашины, содержащая вал, опирающийся на радиальный подшипник, статорный элемент с выполненными в нем отверстиями для подачи масла и кольцевой проточкой, гидродинамический демпфер, соединяющий статорный элемент с радиальным подшипником, крышку, установленную на статорном элементе, при этом гидродинамический демпфер выполнен в виде единого упругого кольца с цилиндрическими наружной и внутренней поверхностями, в окружном направлении которого выполнены сквозные прорези, образующие опорные перемычки и дугообразные пружины с отверстиями (патент US №4872767, F16C 27/00, 10.10.1989 г.).

[3]

Недостатками известной опоры является плавно изменяемая в узком диапазоне радиальная податливость упругого кольца гидродинамического демпфера в зависимости от направления нагрузки с вала и радиальные отверстия подачи масла в демпфер, что снижает эффективность и количество режимов демпфирования вала турбомашины.

[4]

Задачей изобретения является реализация упругодемпферной опоры со ступенчато изменяемой радиальной податливостью упругого кольца гидродинамического демпфера в зависимости от величины нагрузки с вала и возможностью более оптимальной подачи масла в последний.

[5]

Техническим результатом, достигаемым при использовании заявленного устройства, является скачкообразное изменение жесткости внутри гидродинамического демпфера путем последовательного послойного задействования большего количества дугообразных пружин посредством опорных перемычек с прорезями для воздействия на масло в зависимости от режима работы турбомашины и, как следствие, ступенчатое изменение амплитудно-частотной характеристики вала в процессе работы и увеличение перетечек масла внутри гидродинамического демпфера за счет наклонных отверстий в дугообразных пружинах и большем их количестве, воздействующем на масло при изгибе, а также более равномерная подача и прокачка масла в гидродинамическом демпфере от торца к торцу упругого кольца, что обеспечивает большую эффективность демпфирования на различных режимах работы турбомашины и снижение общего уровня вибрации.

[6]

Ожидаемый технический результат достигается тем, что упругодемпферная опора ротора турбомашины содержит вал, опирающийся на радиальный подшипник, статорный элемент с выполненными в нем отверстиями для подачи масла и кольцевой проточкой, гидродинамический демпфер, соединяющий статорный элемент с радиальным подшипником, крышку, установленную на статорном элементе, при этом гидродинамический демпфер выполнен в виде единого упругого кольца с цилиндрическими наружной и внутренней поверхностями, в окружном направлении которого выполнены сквозные прорези, образующие опорные перемычки и дугообразные пружины с отверстиями, при этом упругодемпферная опора снабжена по меньшей мере одним окружным рядом сквозных прорезей, выполненных концентрично относительно оси гидродинамического демпфера и образующих по меньшей мере два кольца, соединенных опорными перемычками, расположенными на равном расстоянии друг от друга с образованием симметрично расположенных дугообразных пружин, при этом в дугообразных пружинах выполнены наклонные отверстия, в каждой второй опорной перемычке выполнены прорези, образующие выступы на дугообразных пружинах, между которыми выполнен радиальный зазор для обеспечения возможности изгиба последних, причем в двух соседних рядах сквозных прорезей выступы и опорные перемычки расположены в шахматном порядке, а отверстия для подачи масла и кольцевая проточка выполнены со стороны торца гидродинамического демпфера.

[7]

Кроме того, наклонные отверстия в дугообразных пружинах выполнены в сторону торцов гидродинамического демпфера.

[8]

Снабжение гидродинамического демпфера по меньшей мере одним окружным рядом сквозных прорезей выполненных концентрично относительно оси гидродинамического демпфера и образующих по меньшей мере два кольца, соединенных опорными перемычками, расположенными на равном расстоянии друг от друга с образованием симметрично расположенных дугообразных пружин, при этом в каждой второй опорной перемычке выполнены прорези, образующие выступы на дугообразных пружинах, между которыми выполнен радиальный зазор, что за счет изгиба дугообразных пружин относительно опорных перемычек позволяет воздействовать на масло внутри гидродинамического демпфера и смыкаться выступам, заставляя включаться в работу соседнему кольцу, образованному дугообразными пружинами, меняя тем самым амплитудно-частотную характеристику вала и режим демпфирования, что обеспечивает большую эффективность демпфирования на различных режимах работы турбомашины и снижение общего уровня вибрации.

[9]

Выполнение наклонных отверстий в дугообразных пружинах обеспечивает дополнительные перетечки масла внутри гидродинамического демпфера и увеличивает длину каналов (отверстий) под перетечки масла, что обеспечивает большую эффективность демпфирования на различных режимах работы турбомашины и снижение общего уровня вибрации.

[10]

Расположение в двух соседних рядах сквозных прорезей, выступов и опорных перемычек в шахматном порядке позволяет обеспечить стабильные упругие свойства дугообразным пружинам наподобие двухопорной балки с максимумом прогиба по середине и, как следствие, стабильную характеристику демпфирования на требуемом режиме работы турбомашины, что обеспечивает большую эффективность демпфирования на различных режимах работы турбомашины и снижение общего уровня вибрации.

[11]

Выполнение отверстий для подачи масла и кольцевой проточки со стороны торца гидродинамического демпфера, позволяет более равномерно и быстро заполнить сквозные прорези маслом и обеспечить более стабильную прокачку масла через гидродинамический демпфер в работе, что обеспечивает большую эффективность демпфирования на различных режимах работы турбомашины и снижение общего уровня вибрации.

[12]

Выполнение наклонных отверстий в дугообразных пружинах в сторону торцов гидродинамического демпфера позволяет выдавливать масло из последнего в работе, что снижает значение максимальной рабочей температуры масла, снижает вероятность его коксования и, как следствие, сохраняет площадь проходного сечения сквозных прорезей, что обеспечивает стабильную эффективность демпфирования и снижение общего уровня вибрации турбомашины на стадии выработки ресурса.

[13]

Сущность изобретения поясняется чертежами.

[14]

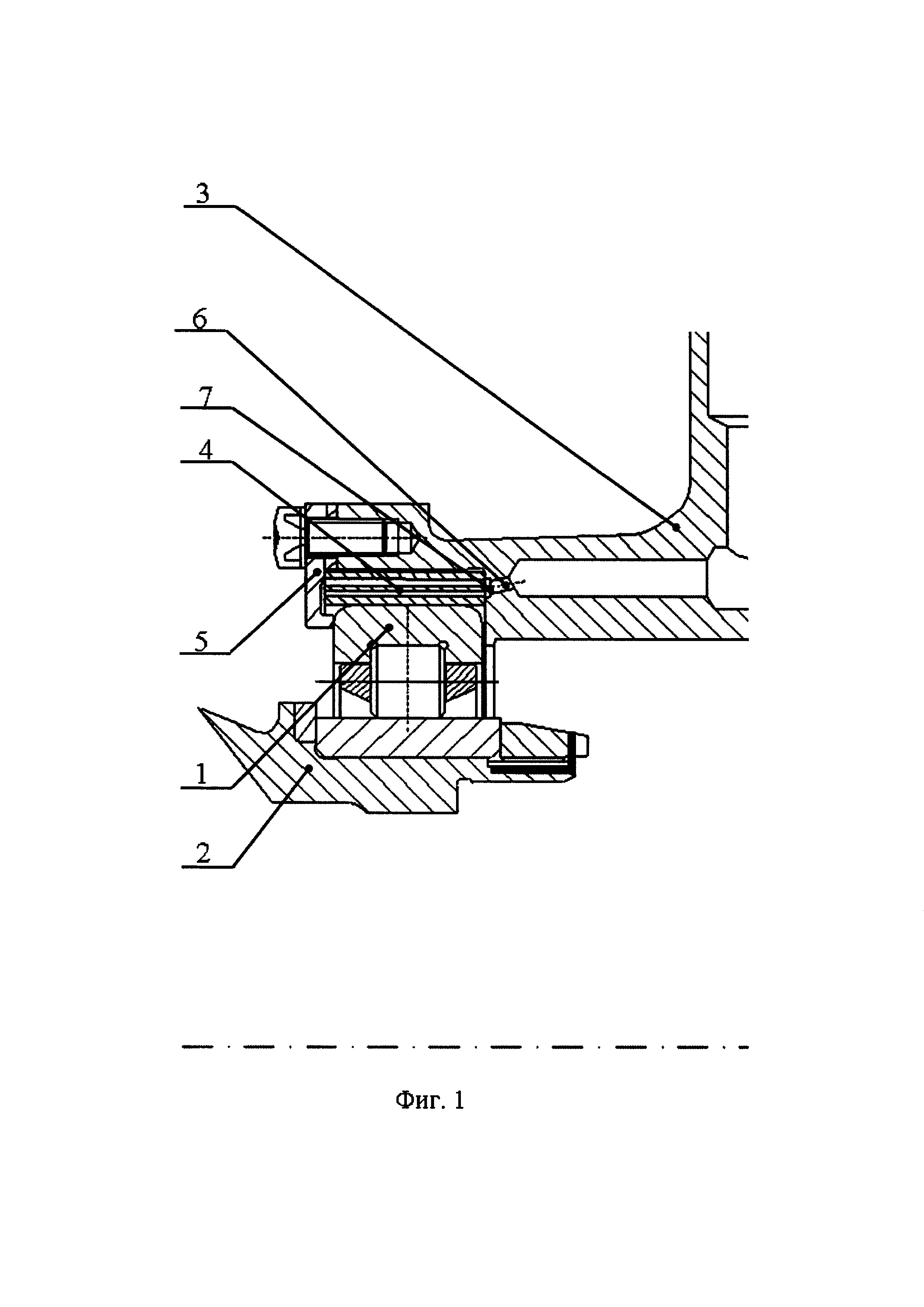
На фиг. 1 представлен продольный разрез упругодемпферной опоры с гидродинамическим демпфером вала турбомашины, а именно опоры турбины.

[15]

На фиг. 2 представлен вариант конструкции упругого кольца гидродинамического демпфера.

[16]

На фиг. 3 представлен разрез А-А упругого кольца гидродинамического демпфера по наклонным отверстиям в дугообразных пружинах.

[17]

В частном случае реализации упругодемпферная опора вала турбомашины содержит радиальный подшипник 1, установленный в него вал 2, статорный элемент 3, упругое кольцо 4 гидродинамического демпфера, крышку 5, установленную на статорном элементе 3 и удерживающую от смещения вдоль оси опоры радиальный подшипник 2 и упругое кольцо 4. Для подачи масла в гидродинамический демпфер в статорном элементе со стороны торца упругого кольца 4 выполнены отверстия 6 и кольцевая проточка 7 (фиг. 1). При этом в упругом кольце 4 выполнены три ряда окружных сквозных прорезей 8, являющихся концентрическими относительно оси опоры и образующих четыре кольца 9, соединенных перемычками 10, которые расположены на одном расстоянии друг от друга в каждом ряду сквозных прорезей 8. Также на упругом кольце 4 наружная и внутренняя поверхности выполнены цилиндрическими, а кольцевая проточка 7 по ширине перекрывает сквозные прорези 8. Притом каждая вторая перемычка 10 имеет прорезь 11 с образованием выступов 12, между которыми реализован зазор. А в каждом соседнем ряду сквозных прорезей 8 перемычки 10 расположены в шахматном порядке. Между соседними перемычками 10 без прорезей 11 соседних рядов сквозных прорезей 8 образованы дугообразные пружины 13 (фиг. 2). То есть каждое кольцо 9 образовано дугообразными пружинами 13, в которых выполнены наклонные отверстия 14 (фиг. 3).

[18]

Сборка опоры осуществляется в следующем порядке.

[19]

На статорный элемент 3 последовательно устанавливают упругое кольцо 4 гидродинамического демпфера с радиальным подшипником 1, крышку 5, после чего в радиальный подшипник 1 заводят вал 2.

[20]

Упругодемпферная опора работает следующим образом:

[21]

В процессе работы в гидродинамический демпфер подается масло через отверстия 6 и проточку 7, которая необходима для более равномерного и своевременного заполнения полостей внутри упругого кольца 4. Оно заполняет собой отверстия 14 и сквозные прорези 8 упругого кольца 4 и постоянно прокачивается через них. При этом вращающаяся нагрузка с вала 2 передается на статорный элемент 3 через подшипник 1 и упругое кольцо 4, заставляя изгибаться дугообразные пружины 13, которые воздействуют на масло, заставляя последнее перетекать внутри упругого кольца 4 и выдавливаться из него. Так энергия движения вала 2 преобразуется в энергию вязкого трения масла, за счет чего и осуществляется демпфирование. Чем больше вязкого трения или больше перетечек, тем эффективнее осуществляется демпфирование. В зависимости от величины нагрузки со стороны вала 2 дугообразные пружины могут изогнуться таким образом, что заставят контактировать выступы 12 перемычек 10, в которых реализованы прорези 11. При этом дугообразная пружина 13, наиближайшая к валу 2, заставит изгибаться смежную дугообразную пружину 13 соседнего кольца 9. Следует отметить, что в местах соединения колец 9 перемычками 10 без прорезей 11 совместно изгибаются оба кольца 9. И таким образом могут быть задействованы все 4 кольца 9. В момент контакта выступов 12 происходит ступенчатое изменение жесткости упругого кольца, что приводит к изменению амплитудно-частотной характеристики вала 2, а это, как правило, приводит к снижению амплитуд вибрационных нагрузок, приходящих с вала 2 на статорный элемент 3.

[22]

Применение изобретения позволяет за счет своих конструктивных особенностей, а именно, конструкции упругого кольца 4 и правильной организации подвода и прокачки масла через гидродинамический демпфер, эффективно демпфировать нагрузки с вала 2, менять его амплитудно-частотную характеристику, чем снижает общий уровень вибраций турбомашины.

Как компенсировать расходы
на инновационную разработку
Похожие патенты