патент
№ RU 2641208
МПК B23K37/02

ГОЛОВКА ДЛЯ ОРБИТАЛЬНОЙ СВАРКИ

Авторы:
Кулик Виктор Иванович Сушко Владимир Михайлович Садовский Олег Иванович
Все (5)
Номер заявки
2016126239
Дата подачи заявки
30.06.2016
Опубликовано
16.01.2018
Страна
RU
Как управлять
интеллектуальной собственностью
Чертежи 
3
Реферат

[49]

Изобретение относится к области сварки и может быть использовано для сварки неповоротных стыков трубопроводов. Головка содержит основание с радиальным вырезом, сменный центрирующий вкладыш, смонтированную на основании с возможностью вращения посредством установленного на основании привода планшайбу, выполненную из двух установленных соосно рядом друг с другом зубчатых колес с радиальными вырезами и с зубчатым венцом по их образующей, размещенные на основании сварочную горелку с электродом и штуцером для подвода защитного газа, механизм подачи присадочной проволоки и механизм фиксации головки на свариваемом трубопроводе. При этом головка снабжена кареткой, установленной на планшайбе с возможностью настроечного перемещения, а привод вращения планшайбы выполнен съемным. Использование изобретения позволяет повысить качество сварного соединения за счет более точной настройки головки на свариваемый стык и исключения деформации трубопровода при фиксации на нем головки. 3 ил.

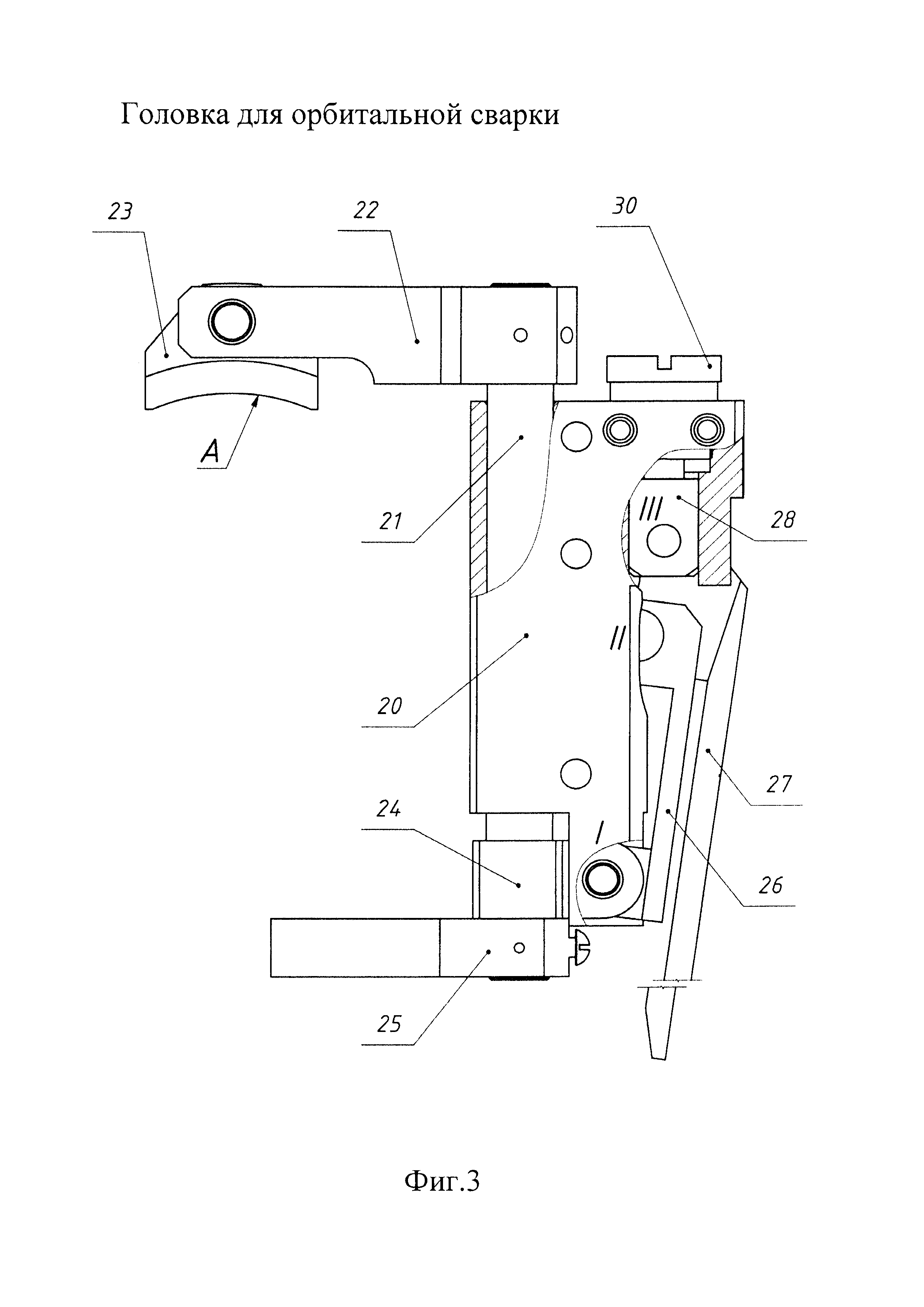
Формула изобретения

Головка для орбитальной сварки трубопроводов, содержащая основание с радиальным вырезом, сменный центрирующий вкладыш, установленный на основании в зоне, прилегающей к упомянутому вырезу, с возможностью контакта с поверхностью свариваемого трубопровода для центрирования головки, смонтированную на основании с возможностью вращения посредством установленного на основании привода планшайбу, выполненную из двух установленных соосно рядом друг с другом зубчатых колес с радиальными вырезами и с зубчатым венцом по их образующей, имеющих возможность относительного поворота и фиксации относительно друг друга, размещенные на основании сварочную горелку с электродом и штуцером для подвода защитного газа, механизм подачи присадочной проволоки и механизм фиксации головки на свариваемом трубопроводе, отличающаяся тем, что она снабжена кареткой, установленной на планшайбе с возможностью настроечного перемещения посредством механизма настроечного перемещения для настройки положения размещенных на каретке сварочной горелки и механизма подачи присадочной проволоки относительно свариваемого стыка, причем механизм настроечного перемещения каретки выполнен в виде установленной на планшайбе с возможностью вращения втулки с резьбовым отверстием и стержня, один конец которого скреплен с кареткой, а второй выполнен резьбовым и ввинчен в резьбовое отверстие втулки, при этом механизм фиксации головки на свариваемом трубопроводе выполнен в виде закрепленного на основании корпуса, в котором в направляющей установлена ось, имеющая возможность поворота относительно своей продольной геометрической оси посредством закрепленной на одном из ее концов рукоятки и поступательного перемещения с обеспечением перемещения закрепленного на другом конце оси коромысла со сменным вкладышем, имеющим опорную поверхность с кривизной, соответствующей поверхности свариваемого трубопровода, и закрепленного с возможностью самоустановки по данной поверхности, в сторону центрирующего вкладыша с возможностью контакта вкладыша коромысла с поверхностью свариваемого трубопровода и в сторону от центрирующего вкладыша, причем упомянутая направляющая оси шарнирно соединена с тягой, выполненной из пружинной стали, которая шарнирно соединена с рычагом, шарнирно соединенным с вилкой, связанной с регулировочной втулкой, установленной на корпусе механизма фиксации, а привод вращения планшайбы выполнен съемным.

Описание

[1]

Изобретение относится к сварочной технике, в частности к устройствам для сварки неповоротных стыков трубопроводов в среде защитных газов с присадочной проволокой.

[2]

Известно устройство для сварки неповоротных стыков труб, состоящее из разъемного корпуса, разрезной планшайбы с зубчатым венцом по ее образующей, установленной в корпусе. На планшайбе размещена сварочная горелка с соплом и электродом. Напротив сварочной горелки установлен жиклер. Механизм вращения головки содержит связанный с электродвигателем червяк, который через промежуточное зубчатое колесо передает движение на зубчатый венец планшайбы. Корпус выполнен из подвижной и неподвижной частей, установленных на общей оси и подпружиненных друг относительно друга. На подвижной части корпуса имеется лапка. Для удобства монтажа устройства на образующей поверхности планшайбы установлены невыпадающие винты. Штуцер для подачи защитного газа установлен в неподвижной части корпуса. Токосъемник установлен в разъеме планшайбы.

[3]

(См. патент РФ №2260504, кл. B23K 31/02, 2005 г.) - наиболее близкий аналог.

[4]

В результате анализа известного устройства необходимо отметить, что оно, как и заявленное, имеет вращающуюся планшайбу, на которой установлены электрод, сварочная горелка и штуцер подачи защитного газа в зону сварки. Однако механизм фиксации устройства на трубе не обеспечивает ее фиксацию на разных диаметрах свариваемых труб, что существенно снижает функциональные возможности устройства. Использование в нем невыпадающих винтов затрудняет процесс фиксации, делает его неудобным. Отсутствие механизма подачи присадочной проволоки не позволяет использовать при проведении сварки присадочную проволоку, что снижает качество сварки.

[5]

Известна головка для сварки неповоротных стыков трубопроводов, содержащая основание с радиальным вырезом, планшайбу с зубчатым венцом по образующей, связанную с приводом ее вращения и несущую сварочную горелку с электродом и штуцером для подачи защитного газа, механизм фиксации головки на свариваемой трубе, на планшайбе размещен механизм подачи присадочной проволоки, планшайба выполнена из двух дисков с радиальными вырезами, имеющих возможность относительного поворота и фиксации друг с другом, механизм фиксации выполнен в виде сменного вкладыша, закрепленного на основании в области ее выреза, а также двух рычагов, установленных на общей оси на основании с возможностью поворота и подпружиненных относительно друг друга, на одном рычаге установлен прижим, имеющий возможность контакта с трубой, а на другом с возможностью поворота размещена собачка, контактирующая с зубьями, имеющимися на основании.

[6]

(См. патент РФ №94500, кл. B23K 37/02, 2010 г.) - наиболее близкий аналог.

[7]

В результате анализа выполнения данной головки необходимо отметить, что ее конструкция, как правило, не позволяет выставить в точно заданное положение относительно свариваемого стыка сварочную горелку, что приводит в снижению качества сварки, при этом механизм фиксации головки на свариваемом трубопроводе не обеспечивает ее фиксации с оптимальным зажимным усилием, что может привести к деформированию трубопровода. Монтаж головки на трубопроводе в точно заданном положении занимает много времени.

[8]

Техническим результатом настоящего изобретения является повышение качества сварки трубопроводов за счет обеспечения точной настройки электрода и присадочной проволоки на свариваемый стык и исключения деформации трубопровода при фиксации на нем головки, а также повышение производительности сварки за счет сокращения времени на монтаж-демонтаж головки.

[9]

Указанный технический результат обеспечивается тем, что в головке для орбитальной сварки, содержащей основание с радиальным вырезом, в области которого на основании закреплен центрирующий вкладыш, смонтированную на основании с возможностью вращения посредством установленного на основании привода планшайбу, выполненную в виде двух зубчатых колес с радиальными вырезами, имеющих возможность относительного поворота и фиксации друг относительно друга, сварочную горелку с электродом и штуцером для подачи защитного газа и механизм подачи присадочной проволоки, а также установленный на основании механизм фиксации головки на свариваемом трубопроводе, новым является то, что привод вращения планшайбы выполнен съемным, головка оснащена кареткой, установленной на планшайбе с возможностью настроечного перемещения для настройки положения размещенных на ней сварочной горелки и механизма подачи присадочной проволоки относительно свариваемого стыка, а механизм настроечного перемещения каретки выполнен в виде втулки с резьбовым отверстием, установленной на планшайбе с возможностью вращения, и стержня, один конец которого скреплен с кареткой, а второй выполнен резьбовым и ввинчен в резьбовое отверстие втулки, при этом механизм фиксации головки на свариваемом трубопроводе выполнен в виде закрепленного на основании корпуса, в котором в направляющей установлена ось, имеющая возможность поворота и поступательного перемещения в направлении, перпендикулярном оси центрирующего вкладыша, на одном конце оси закреплено коромысло с вкладышем, а на другом - рукоятка, при этом в состав механизма фиксации входят шарнирно соединенная с направляющей тяга, выполненная из упругой стали, шарнирно соединенная с рычагом, который шарнирно соединен с вилкой, связанной с регулировочной втулкой, установленной на корпусе механизма фиксации.

[10]

Сущность заявленного изобретения поясняется графическими материалами, на которых:

[11]

- на фиг. 1 - головка для орбитальной сварки, вид со стороны механизма подачи присадочной проволоки;

[12]

- на фиг. 2 - головка для орбитальной сварки, вид со стороны механизма зажима;

[13]

- на фиг. 3 - механизм зажима головки на трубопроводе.

[14]

Головка для орбитальной сварки содержит основание 1 с радиальным вырезом, на основании смонтирована с возможностью вращения посредством привода планшайба, состоящая из двух частей - в виде цилиндрических зубчатых колес 2 и 3 с зубчатой нарезкой по образующим и радиальным пазом в каждом из них для установки головки на свариваемый трубопровод. Головка оснащена устанавливаемым на основании съемным приводом 4 вращения планшайбы, установленным на основании упором 5, предназначенным для центрирования съемного привода 4, накладкой 6 с пазом, предназначенной для фиксации съемного привода 4 в заданном положении.

[15]

На основании установлены центрирующий вкладыш 7, охватывающий примерно половину диаметра свариваемого трубопровода, а также механизм 8 фиксации сварочной головки на свариваемом трубопроводе.

[16]

Планшайба обеспечивает вращение установленных на ней основных исполнительных элементов головки для орбитальной сварки относительно оси свариваемого трубопровода. К таковым основным элементам относятся сварочная горелка 9 с воздушным охлаждением, закрепленная на кронштейне 10, механизм 11 подачи присадочной проволоки, кассета 12 с катушкой присадочной проволоки и фиксатор 13 частей планшайбы друг относительно друга.

[17]

Съемный привод 4 вращения планшайбы состоит из установленных в корпусе (позицией не обозначен) конической зубчатой передачи 14, ведущее колесо которой соединено с выходным валом электродвигателя (например, шагового, марки FL42STH60-1206А), а ведомое колесо зубчатой передачи 14 находится в зацеплении с зубчатым колесом 15, находящимся в зацеплении с зубьями зубчатых колес 2 и 3, образующих планшайбу.

[18]

При подаче питания на шаговый электродвигатель вращающий момент с выходного вала передается на коническую зубчатую передачу 14, связанную с зубчатым колесом 15, приводящего в движение планшайбу сварочной головки. Скорость вращения планшайбы регулируется системой управления сваркой.

[19]

На корпусе закреплен кронштейн 16, а зубчатая передача, электродвигатель и зубчатое колесо закрыты защитным кожухом 17. На кронштейне 16 установлен с возможностью поворота подпружиненный упругий рычаг 18.

[20]

Для фиксации съемного привода на основании необходимо завести кронштейн 16 под накладку 6 в направлении, перпендикулярном оси сварочной головки, центрировать привод по упору 5 и довести привод до момента зацепления рычага 18 с пазом накладки 6.

[21]

Для снятия привода необходимо посредством рукоятки 19 повернуть рычаг 18 до вывода его из паза накладки 6 и отсоединить привод перемещением его в обратном направлении. Выполнение механизма съемным делает более удобным установку головки на свариваемом трубопроводе, а также обеспечивает ее более точное позиционирование.

[22]

Механизм фиксации 8 сварочной головки на трубопроводе предназначен для надежной фиксации и центрирования сварочной головки на свариваемом трубопроводе. Механизм фиксации выполнен в виде установленного на основании корпуса 20, в котором установлена ось 21, имеющая возможность вращения и поступательного перемещения в направлении, перпендикулярном оси центрирующего вкладыша 7, закрепленного на основании 1.

[23]

На одном конце оси 21 закреплено коромысло 22 со сменным вкладышем 23, имеющим кривизну опорной поверхности А, соответствующую диаметру свариваемого трубопровода и установленным на коромысле 22 на оси с возможностью самоустановки относительно поверхности свариваемого трубопровода. На противоположном конце оси 21 имеются направляющая 24 и рукоятка 25. В состав механизма фиксации входят тяга 26, выполненная из упругой (пружинной) стали, рычаг 27 и вилка 28. Направляющая 24, тяга 26, рычаг 27 и вилка 28 шарнирно связаны между собой осями и образуют цепочку деталей. Корпус 20 механизма фиксации крепится к основанию посредством винтов 29.

[24]

Для фиксации сварочной головки на трубопроводе необходимо: установить вкладыши 7 и 23 заданного типоразмера; закрепить корпус 20 винтами 29 на основании 1, руководствуясь маркировкой интервалов свариваемых диаметров трубопроводов; повернуть за рукоятку 25 ось 21, а следовательно, и коромысло 22 с вкладышем 23 на 90° по часовой стрелке, отведя коромысло от радиальных пазы основания и зубчатых колес планшайбы, открыв их; позиционировать сварочную головку на трубопроводе. Установив ее посредством радиальных пазов до контакта с трубопроводом центрирующего вкладыша 7; повернуть рукоятку 25 на 90° в противоположную сторону, закрыв радиальные пазы основания и зубчатых колес, подведя коромысло 22 и вкладыш 23 под трубопровод с противоположной относительно вкладыша 7 стороны; выверить осевое положение сварочной головки на трубопроводе, после чего повернуть рычаг 27 по часовой стрелке до момента касания с трубопроводом вкладыша 23 и, преодолев усилие упругости тяги 26, регулируемое установленной на корпусе 20 втулкой 30, довести рычаг 27 до крайнего положения с упором тяги 26 во внутреннюю поверхность корпуса 20. При этом ось вращения II перемещается за плоскость, проходящую через оси I и III на величину ~2 мм, обеспечивая надежную фиксацию механизма, а следовательно, и головки, в рабочем состоянии. Механизм имеет компактные габариты, легок при снятии-установке, исключает возможность смятия трубопровода, обеспечивает быструю и надежную фиксацию сварочной головки на трубопроводе.

[25]

Сварочная горелка 9 состоит из корпуса 31 с воздушным охлаждением, штуцера 32 подвода защитного газа, цанги 33 для закрепления в ней вольфрамового электрода и керамического сопла 34. Подача напряжения к сварочной горелке осуществляется через токопроводящий кабель, зафиксированный на корпусе 31 при помощи винта 35. В конструкции сварочной головки предусмотрена ручная подрегулировка положения сварочной горелки относительно свариваемого стыка (осевое перемещение сварочной горелки). Подрегулировка осуществляется вращением винта 36.

[26]

Механизм 11 подачи присадочной проволоки обеспечивает бесперебойную подачу алюминиевой проволоки, установленной в кассете 12, в сварочную ванну. Подача присадочной проволоки осуществляется при помощи червячной передачи 37, ролика 38 и прижимного подшипника 39, с регулируемым усилием прижатия. При подаче напряжения на электродвигатель вращающий момент с выходного вала, на котором закреплен червяк, передается на червячное колесо, находящееся в неподвижной связи с роликом 38, имеющим проточку, равную половине диаметра присадочной проволоки. Присадочная проволока направляется в проточку ролика 38 и поджимается прижимным подшипником 39. Вращаясь, ролик протягивает проволоку в зону сварки. Червячная передача приводится в движение шаговым электродвигателем марки FL28STH51-0956A.

[27]

Перед сваркой необходимо: установить присадочную проволоку на быстросъемную катушку 40 (кассета 12 - это узел, предназначенный для установки в него присадочной проволоки); направить проволоку в корректор 41; протянуть проволоку через систему ролик - подшипник до момента поступления проволоки в боуден 42. Осевой вылет боудена регулируется винтом 43 (ослабляя винт 43, боуден 42 получает возможность ручного приближения-удаления к оси сварочной горелки).

[28]

Механизм 11 подачи присадочной проволоки и сварочная горелка 9 установлены на каретке 44. Каретка имеет возможность перемещения по направляющей, закрепленной на основании 1, в радиальном направлении по отношению к оси свариваемого трубопровода при помощи оси 45 и резьбовой втулки 46. Резьбовая втулка 46 закреплена на стойке (позицией не обозначена) и имеет возможность только вращения относительно своей оси. Ось 45 соединена с кареткой и связана с втулкой 46 посредством резьбы. Вращая втулку 46 по часовой/против стрелки ось 45 перемещает сварочный модуль относительно сварочного стыка. Ход каретки охватывает весь диапазон свариваемых диаметров трубопроводов. Таким образом, ось 45 и втулка 46 образуют механизм настройки сварочной горелки и механизма подачи присадочной проволоки на свариваемый стык.

[29]

К электродвигателю привода вращения планшайбы подведен разъем 47.

[30]

Механизм 11 подачи присадочной проволоки оснащен разъемом 48 для подсоединения к аппаратуре управления сваркой.

[31]

Фиксатор 13 предназначен для крепления цилиндрических зубчатых колес 2 и 3 относительно друг друга в двух положениях: в положении установки сварочной головки на трубопровод (радиальные пазы совмещены и параллельны друг другу); в рабочем положении (пазы развернуты относительно друг друга на 90° против часовой стрелки, образуя замкнутый зубчатый контур).

[32]

Головка для орбитальной сварки работает следующим образом.

[33]

Для проведения сварки необходимо выполнить следующие операции:

[34]

- подсоединить привод 4 вращения планшайбы представленным выше образом;

[35]

- установить вкладыши 7 и 23 требуемого типоразмера и зафиксировать сварочную головку на трубопроводе представленным выше образом;

[36]

- установить в рабочее положение цилиндрические зубчатые колеса 2 и 3 при помощи фиксатора 13 представленным выше образом;

[37]

- установить присадочную проволоку на катушку 40 и протянуть ее через систему ролик -подшипник до момента поступления проволоки в боуден 42 представленным выше образом;

[38]

- посредством резьбовой втулки 46 отрегулировать положение каретки 44 таким образом, чтобы сварочная горелка и присадочная проволока находились в области свариваемого стыка на заданном технологическим процессом расстоянии от него;

[39]

- при необходимости поднастроить положение сварочной горелки 9 относительно свариваемого стыка в осевом направлении при помощи винта 36;

[40]

- подсоединить шланг подвода защитного газа к штуцеру 32;

[41]

- подсоединить токопроводящий кабель к корпусу сварочной горелки 9 через винт 35, противоположным выводом к источнику питания;

[42]

- подсоединить привод вращения планшайбы 4 через разъем 47 к аппаратуре управления сваркой;

[43]

- подсоединить механизм 11 подачи присадочной проволоки через разъем 48 к аппаратуре управления сваркой;

[44]

- включить источник питания и аппаратуру управления сваркой;

[45]

- проверить установленные на аппаратуре управления сваркой параметры режима сварки на соответствие действующей технологии и рекомендациям ОСТ 92-1602-93;

[46]

- нажать кнопку ПУСК (не показана) и начать сварку;

[47]

Процесс сварки осуществляется в автоматическом режиме.

[48]

Использование данной головки обеспечивает простоту и удобство крепления ее на свариваемой трубе в заданном диапазоне диаметров свариваемых труб, удобство настройки и повышение качества сварки за счет точно настроенного положения сварочной горелки и присадочной проволоки относительно свариваемого стыка.

Как компенсировать расходы
на инновационную разработку
Похожие патенты