патент
№ RU 2573504
МПК B65G45/08

УСТРОЙСТВО ДЛЯ АВТОМАТИЧЕСКОЙ СМАЗКИ ШАРНИРОВ ТЯГОВОЙ ЦЕПИ ПОДВЕСНОГО КОНВЕЙЕРА

Авторы:
Плужник Валерий Павлович
Номер заявки
2014119732/11
Дата подачи заявки
16.05.2014
Опубликовано
20.01.2016
Страна
RU
Как управлять
интеллектуальной собственностью
Чертежи 
4
Реферат

Устройство включает представляющую собой двутавр трассу с расположенными на ней каретками, основание с распределительной плитой, блок подготовки воздуха, систему подачи смазочного материала, состоящую из резервуара со смазкой и трубопровода подачи смазочного материала, разветвляющегося на распределительной плите для подвода смазки к каждому из жиклеров, и конечный выключатель, связанный с электропневматическим клапаном. Устройство дополнительно содержит расположенную по обе стороны трассы несущую плиту, на которой посредством боковин закреплены две опорные плиты с установленными на них стабилизаторами цепи. Основание закреплено на одной из опорных плит и на нем посредством кронштейнов размещены конечный выключатель и связанная с ним подпружиненная ось с роликом, взаимодействующим с внутренним звеном тяговой цепи. Увеличивается срок службы тяговой цепи, упрощается конструкция устройства. 5 ил.

Формула изобретения

Устройство для автоматической смазки шарниров тяговой цепи подвесного конвейера, включающее представляющую собой двутавр трассу с расположенными на ней каретками, основание с распределительной плитой, блок подготовки воздуха, систему подачи смазочного материала, состоящую из резервуара со смазкой и трубопровода подачи смазочного материала, разветвляющегося на распределительной плите для подвода смазки к каждому из жиклеров, и конечный выключатель, связанный с электропневматическим клапаном, отличающееся тем, что содержит расположенную по обе стороны трассы несущую плиту, на которой посредством боковин закреплены две опорные плиты с установленными на них стабилизаторами цепи, при этом основание закреплено на одной из опорных плит и на нем посредством кронштейнов размещены конечный выключатель и связанная с ним подпружиненная ось с роликом, взаимодействующим с внутренним звеном тяговой цепи.

Описание

[1]

Настоящее изобретение относится к вспомогательным устройствам конвейеров, а именно к устройствам для смазки цепей, и может быть использовано для автоматической смазки шарниров тяговой цепи подвесного конвейера.

[2]

Наиболее близким к заявляемому изобретению является «Устройство для смазки подшипников кареток тяговой цепи», патент SU №2306461, F16C 33/66, F16N 7/32, B65G 45/02.

[3]

Данное устройство для смазки подшипников кареток тяговой цепи включает в себя трассу с расположенными на ней каретками, в которых закреплены подшипники, систему подачи смазки, состоящую из резервуара с термостойким смазочным материалом и трубопровода подачи смазочного материала с жиклерами, а также блок подготовки воздуха. На трассе, представляющей собой двутавр, установлено основание с закрепленной на нем распределительной плитой. На распределительной плите размещены конечный выключатель, связанный с электропневматическим клапаном, и два вертикально расположенных рычага. Рычаги закреплены на распределительной плите посредством винтов с возможностью свободного качения относительно этих винтов. Один из рычагов в месте крепления винтом выполнен более длинным и изогнутым с размещенным в верхней его части стержнем. Трубопровод на распределительной плите разветвляется для подвода смазочного материала к каждому из жиклеров. Жиклеры заключены в ролики и размещены в нижней части рычагов.

[4]

Недостатками известного устройства являются:

[5]

- отсутствие возможности осуществлять смазку шарниров тяговой цепи, что влечет за собой низкий срок службы цепи;

[6]

- сложность конструкции.

[7]

Заявляемое техническое решение направлено на увеличение срока службы тяговой цепи и упрощение конструкции.

[8]

Технический результат достигается тем, что устройство для автоматической смазки шарниров тяговой цепи подвесного конвейера, включающее представляющую собой двутавр трассу с расположенными на ней каретками, основание с распределительной плитой, блок подготовки воздуха, систему подачи смазочного материала, состоящую из резервуара со смазкой и трубопровода подачи смазочного материала, разветвляющегося на распределительной плите для подвода смазки к каждому из жиклеров, и конечный выключатель, связанный с электропневматическим клапаном, содержит расположенную по обе стороны трассы несущую плиту, на которой посредством боковин закреплены две опорные плиты с установленными на них стабилизаторами цепи, при этом основание закреплено на одной из опорных плит и на нем посредством кронштейнов размещены конечный выключатель и связанная с ним подпружиненная ось с роликом, взаимодействующим с внутренним звеном тяговой цепи.

[9]

На фиг. 1 показано устройство для автоматической смазки шарниров тяговой цепи подвесного конвейера, общий вид.

[10]

На фиг. 2 - разрез А-А на фиг. 1.

[11]

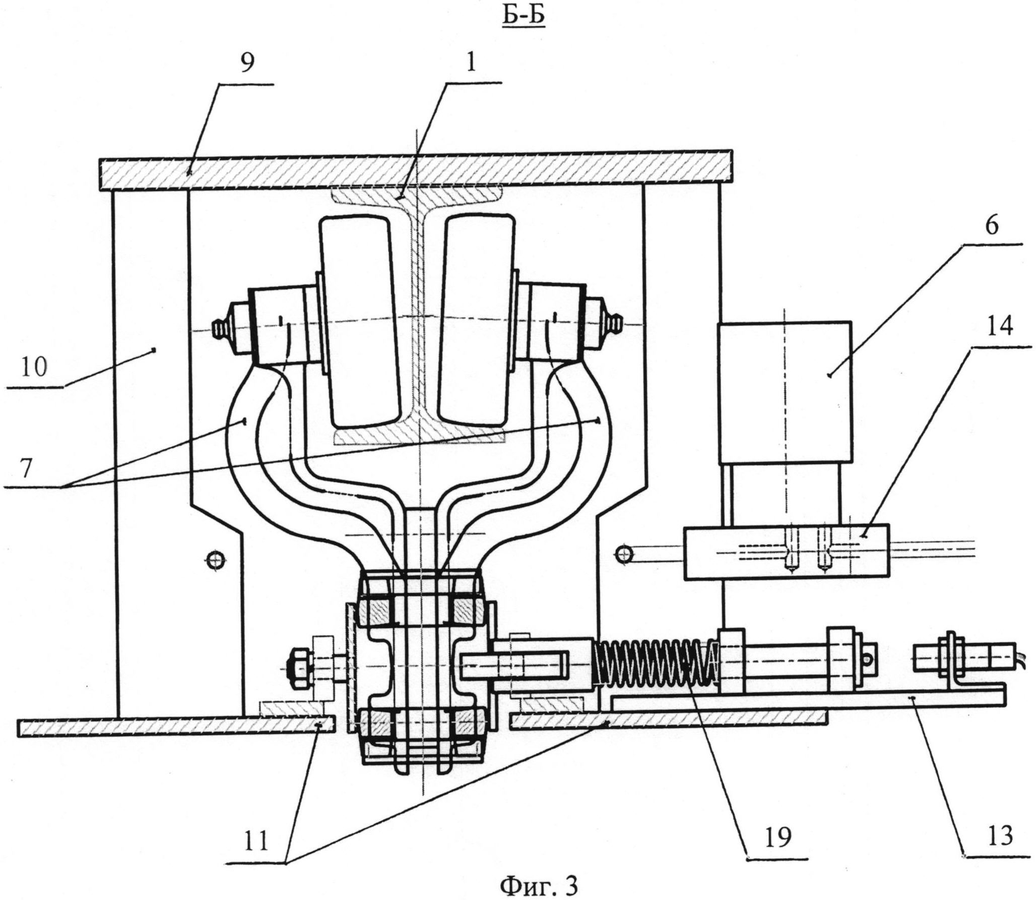
На фиг. 3 - разрез Б-Б на фиг. 1.

[12]

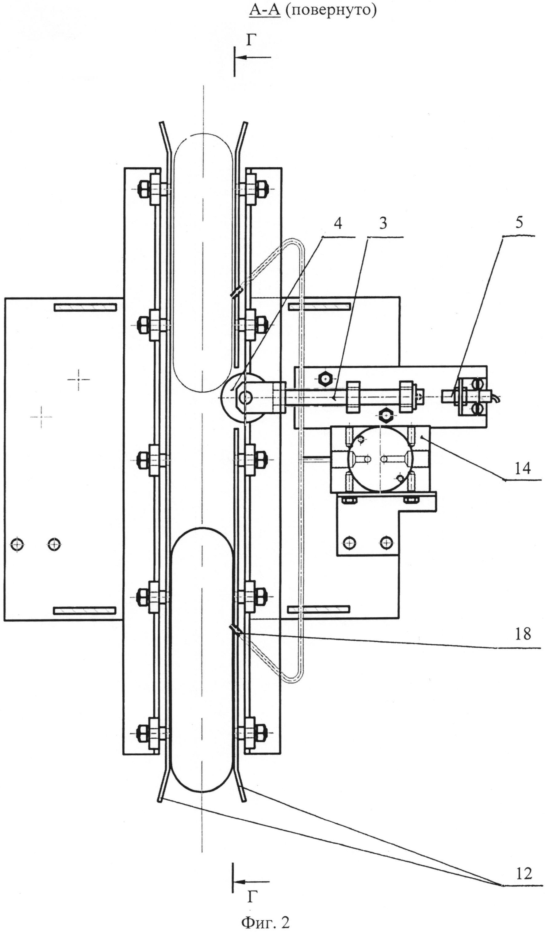
На фиг. 4 - вид В на фиг. 1.

[13]

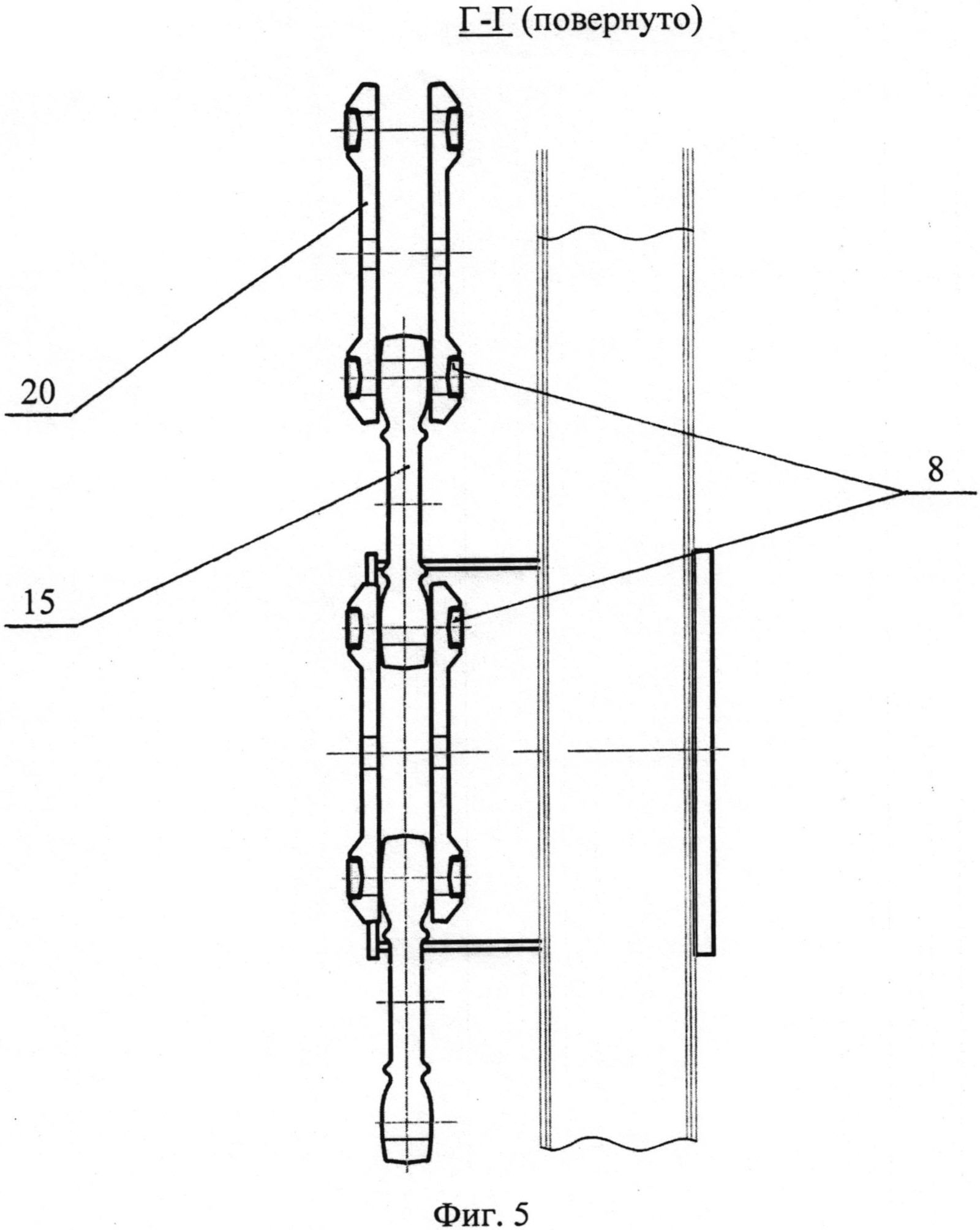
На фиг. 5 - разрез Г-Г на фиг. 1.

[14]

Устройство для автоматической смазки шарниров тяговой цепи подвесного конвейера состоит из трассы 1 с каретками, блока 2 подготовки воздуха и системы подачи смазки. При этом для осуществления процесса смазки в устройстве содержится подпружиненная ось 3 с закрепленным на ней роликом 4 и конечный выключатель 5, связанный с электропневматическим клапаном 6.

[15]

Трасса 1 представляет собой двутавр, а каждая каретка состоит из левой и правой полукареток 7, размещенных по обе стороны трассы 1. К кареткам прикреплены звенья цепи, соединенные между собой шарнирами 8. На трассе 1, по обе ее стороны, расположена несущая плита 9, на которой посредством двух боковин 10 закреплены опорные плиты 11 с установленными на них стабилизаторами 12 цепи. Стабилизаторы 12, закрепленные с двух сторон цепи, устраняют боковое колебание цепи. На одной из опорных плит 11 закреплено основание 13 с размещенной на нем посредством кронштейна распределительной плитой 14, на которой установлен электропневматический клапан 6.

[16]

На основании 13 посредством кронштейнов закреплены также подпружиненная ось 3 с роликом 4 и конечный выключатель 5. При этом конечный выключатель 5 связан с электропневматическим клапаном 6 и подпружиненной осью 3. Подпружиненная ось 3 выполнена с возможностью взаимодействия с одной стороны через ролик 4 с внутренним звеном 15 тяговой цепи, с другой стороны - с конечным выключателем 5.

[17]

Система подачи смазки включает в себя резервуар 16 со смазочным материалом и трубопровод 17 подачи смазочного материала с жиклерами 18. Трубопровод 17 подачи смазочного материала разветвляется на выходе с распределительной плиты 14 для подвода смазки к каждому из жиклеров 18.

[18]

Рабочей зоной системы подачи смазки являются ролик 4 подпружиненной оси 3, стабилизаторы 12 цепи и жиклеры 18, через которые подается смазочный материал на звенья цепи.

[19]

Устройство для автоматической смазки шарниров тяговой цепи подвесного конвейера работает следующим образом.

[20]

Устройство устанавливают вдоль цепи, имеющей непрерывное горизонтальное движение. Контакт устройства с цепью происходит посредством ролика 4, закрепленного на подпружиненной оси 3 и имеющего возможность вращения.

[21]

При движении тяговой цепи ролик 4, удерживаемый внутренним звеном 15 тяговой цепи, под действием пружины 19 попадает в промежуток между двумя наружными звеньями 20 цепи, расположенными друг над другом.

[22]

Автоматически срабатывает конечный выключатель 5, дающий команду на открытие электропневматического клапана 6, после чего открываются каналы подачи смазочного материала. Смазочный материал под давлением воздуха по разветвленному трубопроводу 17 через жиклеры 18 одновременно подается на шарниры 8 тяговой цепи. В процессе дальнейшего движения цепи ролик 4 подпружиненной оси 3 наезжает на внутреннее звено 15 тяговой цепи, тем самым возвращаясь в исходное положение. При этом отключается конечный выключатель 5, в результате чего закрывается электропневматический клапан 6 и прекращается подача смазочного материала. При дальнейшем движении тяговой цепи смазываются шарниры следующих звеньев, и цикл повторяется.

[23]

Использование заявляемого технического решения позволяет:

[24]

1. Увеличить срок службы тяговой цепи

[25]

- за счет смазки шарниров тяговой цепи благодаря наличию подпружиненной оси с роликом, взаимодействующей с одной стороны через ролик с внутренним звеном тяговой цепи, с другой стороны - с конечным выключателем;

[26]

- за счет наличия стабилизаторов, устраняющих боковое колебание цепи.

[27]

2. Упростить конструкцию за счет уменьшения количества комплектующих деталей.

Как компенсировать расходы
на инновационную разработку
Похожие патенты