Изобретение относится к контрольно-измерительной технике, а именно к способам неразрушающего контроля магнитных материалов. Способ неразрушающего контроля объекта из магнитного материала заключается в том, что контролируемый объект помещают в постоянное магнитное поле и подвергают механическому воздействию, по значению отклика судят о механических свойствах объекта. Магнитное поле используют для намагничивания объекта в заданном продольном или поперечном направлении. В зависимости от направления намагничивания в качестве механического воздействия применяют соответственно продольное или поперечное воздействие, обеспечивающее возбуждение в контролируемом объекте собственных форм колебаний в звуковом диапазоне частот. Регистрируют частотный состав колебаний объекта по напряжению, наведенному в обмотке при указанном воздействии и по значениям частот максимумов судят о механических свойствах объекта. Намагничивание объекта и регистрацию частотного состава колебаний осуществляют посредством одной и той же обмотки, охватывающей контролируемый объект в продольном или поперечном направлении соответственно. Технический результат – повышение точности и производительности контроля механических свойств магнитных материалов. 1 з.п. ф-лы, 4 ил., 2 табл.
1. Способ неразрушающего контроля объекта из магнитного материала, заключающийся в том, что контролируемый объект помещают в постоянное магнитное поле, а затем подвергают механическому воздействию, по значению отклика судят о механических свойствах объекта, отличающийся тем, что магнитное поле используют для намагничивания объекта в заданном продольном или поперечном направлении, в зависимости от направления намагничивания в качестве механического воздействия применяют соответственно продольное или поперечное воздействие, обеспечивающее возбуждение в контролируемом объекте собственных форм колебаний в звуковом диапазоне частот, регистрируют частотный состав колебаний объекта по напряжению, наведенному в обмотке при указанном воздействии, и по значениям частот максимумов судят о механических свойствах объекта, причем намагничивание объекта и регистрацию частотного состава колебаний осуществляют посредством одной и той же обмотки, охватывающей контролируемый объект в продольном или поперечном направлении соответственно. 2. Способ по п. 1, отличающийся тем, что в качестве механического воздействия используют импульсное или случайное воздействие с формой спектра, близкой к равномерному.
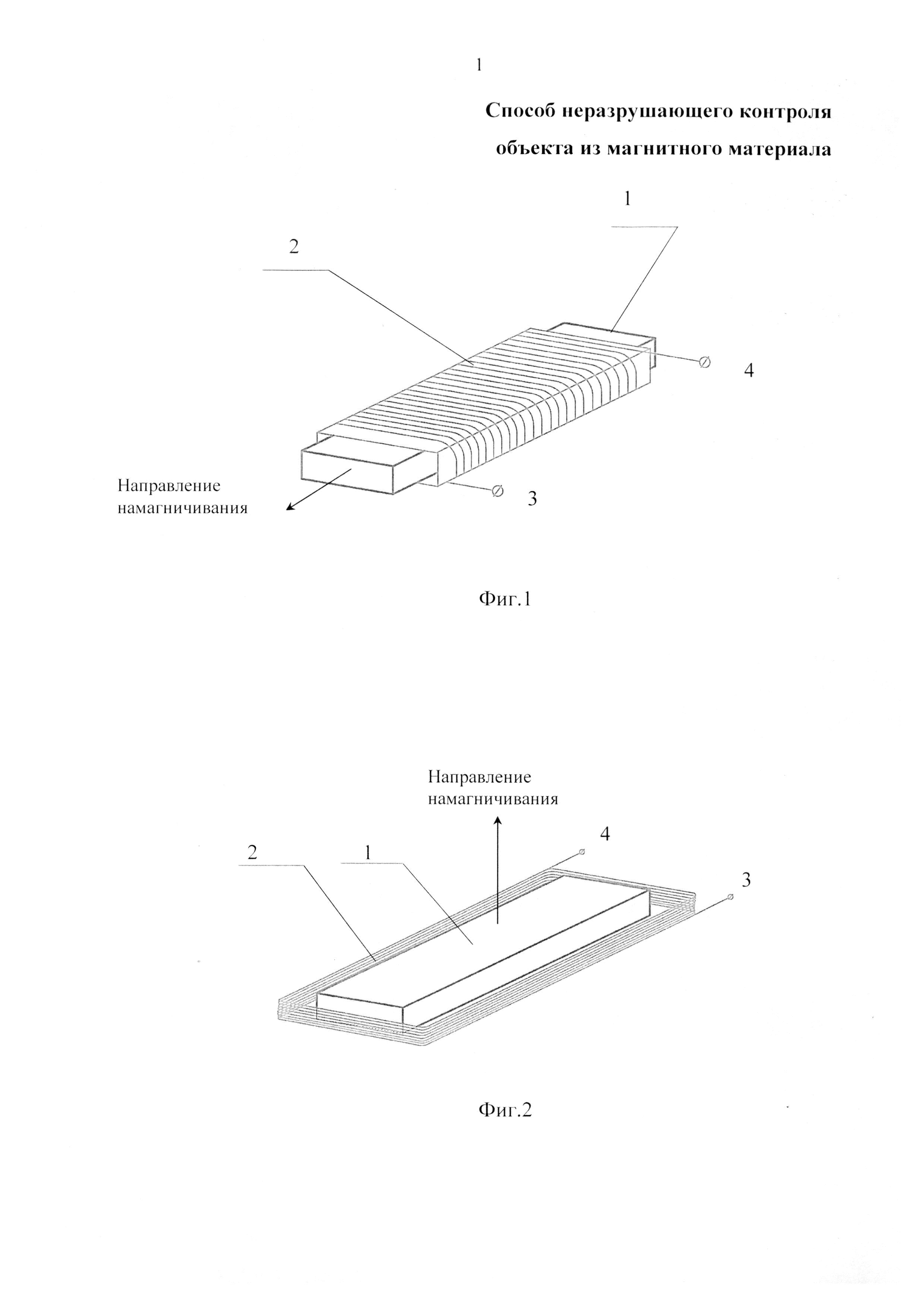
Изобретение относится к контрольно-измерительной технике, а именно к способам неразрушающего контроля магнитных материалов. Известен способ электромагнитного контроля механических свойств изделий в процессе испытания [SU №370517, МПК G01N 27/86, опуб. 15.11.1973 г], заключающийся в том, что контролируемые магнитные материалы (исследуемый и эталонный образцы) помещают в заданное переменное магнитное поле и подвергают механическому воздействию, по значению отклика судят о механических свойствах материалов. В данном способе используют переменное магнитное поле, посредством двух измерительных обмоток фиксируют параметры поля. Электродвижущую силу (ЭДС), зарегистрированную в измерительных обмотках, выпрямляют и измеряют дифференциальным методом, повторно производят измерение ЭДС, определяют разность ЭДС, измеренных до и после упругого статического механического воздействия (сжатие или растяжение), по величине которой судят о прочности и твердости изделия. Однако в данном способе за счет влияния вихревых токов намагничивание происходит на небольшую глубину, что приводит к снижению точности контроля. Также известен способ неразрушающего контроля магнитных материалов [SU №549732, МПК G01N 27/86, опуб. 05.03.1977 г], заключающийся в том, что контролируемые магнитные материалы помещают в постоянное магнитное поле и подвергают механическому воздействию, по значению отклика судят о механических свойствах материалов. В отличии от предыдущего аналога, в известном способе используют постоянное магнитное поле, а в качестве механического воздействия создают механические напряжения с помощью ультразвуковых колебаний, а о механических свойствах материалов судят по величине переменной составляющей ЭДС в них. При контроле массивных магнитных материалов применяют локальный ввод мощных ульразвуковых колебаний. Данный способ является наиболее близким по технической сущности и достигаемому эффекту к предлагаемому изобретению, однако, ему свойственен ряд недостатков: - при реализации механического воздействия с помощью источника ультразвуковых колебаний возможно одновременное возбуждение продольных, поперечных или крутильных форм колебаний исследуемого образца. Их взаимодействие может привести к неоднозначным результатам за счет ориентации измерительных обмоток относительно объекта исследований, места и направления механических воздействий, что отрицательно скажется на точности контроля; - при реализации способа необходимо одновременно обеспечивать постоянное подмагничивание исследуемого образца и проводить измерение индукции на эталонном и исследуемом образце, для чего используют несколько обмоток, что приводит к усложнению конструкции испытательной установки и снижает производительность контроля механических свойств магнитных материалов. Техническим результатом, на достижение которого направлено предполагаемое изобретение, является повышение точности и производительности контроля механических свойств магнитных материалов. Технический результат достигается тем, что способ неразрушающего контроля объекта из магнитного материала, заключающийся в том, что контролируемый объект помещают в постоянное магнитное поле, а затем подвергают механическому воздействию, по значению отклика судят о механических свойствах объекта, согласно изобретению магнитное поле используют для намагничивания объекта в заданном продольном или поперечном направлении, в зависимости от направления намагничивания, в качестве механического воздействия применяют соответственно продольное или поперечное воздействие, обеспечивающее возбуждение в контролируемом объекте собственных форм колебаний в звуковом диапазоне частот, регистрируют частотный состав колебаний объекта по напряжению, наведенному в обмотке при указанном воздействии и по значениям частот максимумов судят о механических свойствах объекта, причем намагничивание объекта и регистрацию частотного состава колебаний осуществляют посредством одной и той же обмотки, охватывающей контролируемый объект в продольном или поперечном направлении соответственно. Использование магнитного поля для намагничивания объекта в заданном продольном или поперечном направлении, применение в зависимости от направления намагничивания в качестве механического воздействия, соответственно продольное или поперечное воздействие, обеспечивающее возбуждение в контролируемом объекте собственных форм колебаний в звуковом диапазоне частот, а также регистрация частотного состава колебаний объекта по напряжению, наведенному в обмотке при указанном воздействии, и суждение по значениям частот максимумов механических свойствах объекта, все это позволяет исключить влияние на регистрацию форм колебаний объекта, не совпадающих с заданным направлением намагничивания, и тем самым повысить точность контроля механических свойств объекта из магнитного материала. А осуществление операций намагничивания и регистрации посредством одной и той же обмотки, которая охватывает контролируемый объект соответственно в продольном или поперечном направлении повышает производительность контроля за счет максимального упрощения процедуры. В частном случае осуществления изобретения технический результат достигается за счет использования в качестве механического воздействия импульсного или случайного воздействия с формой спектра близкой к равномерному. Наличие в заявляемом изобретении признаков, отличающих его от прототипа, позволяет считать его соответствующим условию «новизна». Новые признаки, которые содержит отличительная часть формулы изобретения, не выявлены в технических решениях аналогичного назначения. На этом основании можно сделать вывод о соответствии заявляемого изобретения условию «изобретательский уровень». Сущность предлагаемого изобретения поясняется чертежами: на фиг. 1 представлено схематичное изображение образца с обмоткой, охватывающей образец в продольном направлении; на фиг. 2 - схематичное изображение образца с обмоткой, охватывающей образец в поперечном направлении; на фиг. 3 - график, демонстрирующий частотный состав колебаний объекта при механическом воздействии в продольном направлении (где G(f) - спектральная плотность мощности напряжения, наведенного в обмотке при механическом воздействии; a f- частота напряжения); на фиг. 4 - график, демонстрирующий частотный состав колебаний объекта при механическом воздействии в поперечном направлении (где G(ƒ) - спектральная плотность мощности напряжения, наведенного в обмотке при механическом воздействии, f- частота напряжения). Способ осуществляется следующим образом. Контролируемый объект 1 из магнитного материала намагничивают путем кратковременного воздействия постоянного магнитного поля, создаваемого посредством внешней обмотки 2 при прохождении через нее постоянного тока. Для определения собственных частот продольных колебаний образец 1 из магнитного материала размещают внутри обмотки 2, выполненной из токопроводящего материала, которая охватывает образец в продольном направлении (фиг. 1). А для намагничивания в поперечном направлении используют обмотку 2, которая охватывает объект 1 соответственно в поперечном направлении (фиг. 2). При этом на вводы 3, 4 обмотки 2 кратковременно подают постоянное напряжение (например, U=4,5B при I=9А). Для регистрации продольных колебаний (фиг. 3) используется обмотка, форма которой соответствует обмотке, охватывающей образец в продольном направлении. Для регистрации поперечных колебаний (фиг. 4) используется обмотка, форма которой соответствует обмотке, охватывающей образец в поперечном направлении. В случае продольного направления намагничивания - длина обмотки 2 сопоставима с продольными размерами объекта 1, а в случае поперечного направления намагничивания - размер обмотки 2 сопоставим с размерами объекта 1. Механическая связь в обоих случаях между обмоткой 2 и поверхностью объекта 1 отсутствует, при этом расстояние между поверхностью объекта 1 и обмоткой 2 минимально. После намагничивания объекта 1: - в случае продольного направления намагничивания к торцу образца 1 прикладывают импульсное или вибрационное воздействие со спектральным составом типа «белый шум» соответственно в продольном направлении. В результате указанного воздействия в объекте 1 происходит возбуждение собственных форм колебаний в звуковом диапазоне частот; - а в случае поперечного направления намагничивания к образцу 1 прикладывают импульсное или вибрационное со спектральным составом типа «белый шум» соответственно в поперечном направлении. Одновременно с механическим воздействием с вводов 3, 4 обмотки 2 регистрируют временные процессы напряжения, наведенные в обмотке 2 за счет локальных изменений напряженности остаточного магнитного поля, обусловленных возникновением собственных форм механических колебаний исследуемого образца 1, в процессе продольных или поперечных (изгибных) колебаний и определяют спектральный состав колебаний G(f). Катушка 2 обеспечивает регистрацию колебаний только в том направлении, в котором она намагнитила исследуемый образец 1. По значениям частот максимумов спектральных составляющих (фиг. 3, 4) судят о механических свойствах образца. Так, возможно определить модуль упругости материала контролируемого объекта или оценить качество изготовления объекта по результатам измерений значения частот собственных форм колебаний, сравнив их с собственными частотами эталонного образца или изделия. Практическая возможность достижения требуемого технического результата при использовании изобретения подтверждена сравнением экспериментальных и расчетных данных, представленных в таблицах 1, 2 (в таблице 1 - в продольном направлении воздействия, в таблице 2 - в поперечном направлении воздействия). Известно, что собственные формы колебаний любого образца из магнитного материала определяются его механическими свойствами и геометрической формой, при этом колебания происходят с вовлечением всего массива материала, что позволяет более точно оценить его механические характеристики, в частности модуль упругости Е. Расчетные и экспериментальные данные были определены для балки постоянного сечения со свободными концами из магнитного материала (Сталь 30, длина 0,5 м; ширина 0,05 м; толщина 0,0077 м). Расчет собственных частот ƒk балки со свободными концами, помещенной в обмотку, охватывающей балку в продольном направлении, были определены по формуле [В.Л. Бидерман. Теория механических колебаний. Высшая школа 1980 г., стр. 145-146]. k - целое число; Е - модуль упругости материала; В случае продольных колебаний модуль упругости Расчет собственных частот ƒk балки со свободными концами, помещенной в обмотку, охватывающей балку в поперечном направлении, были определены по формуле [В.Л. Бидерман. Теория механических колебаний. Высшая школа 1980 г., стр. 151, 154]. k - целое число; λ - собственные числа (для схемы стержня со свободными концами λ1=0,753; λ2=1.25; Е - модуль упругости материала образца; m0=ρ⋅S - масса единицы длины балки, где В случае поперечных (изгибных) колебаний Данные таблиц 1, 2 наглядно демонстрируют динамику повышения точности контроля механических свойств магнитных материалов, достигаемой при использовании предлагаемого способа. Сравнение расчетных и экспериментальных данных подтверждает работоспособность и достоверность заявляемого способа неразрушающего контроля объекта из магнитного материла. Расхождение значений частот максимумов соответствующих форм колебаний не превышает 7%. Таким образом, представленные сведения свидетельствуют о выполнении при использовании заявляемого изобретения следующей совокупности условий: - средство, воплощающее заявляемый способ при его осуществлении, относится к способам неразрушающего контроля магнитных материалов; - обеспечение повышения точности и производительности контроля механических свойств объекта из магнитного материала; - для заявляемого способа в том виде, в котором он охарактеризован в формуле изобретения, подтверждена возможность его осуществления с помощью описанных в заявке и известных до даты приоритета средств и методов. Следовательно, заявляемое изобретение соответствует условию «промышленная применимость».
, где
- плотность материала, где m - масса образца, V - объем образца;
- длина балки.
, где
- длина балки, k - целое число, плотность материала
, где m - масса образца, V - объем образца.
где
- момент инерции сечения балки, где b - толщина балки, h - ширина балки;
, где m - масса образца, V - объем образца; S - площадь сечения балки;
- длина балки.
, где
- длина балки, k - целое число, λ - собственные числа, m0=ρ⋅S - масса единицы длины балки, где S - площадь сечения балки (
, где m - масса образца, V - объем образца),
- момент инерции сечения балки, где b - толщина балки, h - ширина балки.