патент
№ RU 2592467
МПК G07C5/08

УСТРОЙСТВО КОНТРОЛЯ ТЕХНИЧЕСКОГО СОСТОЯНИЯ СИЛОВОЙ УСТАНОВКИ (ВАРИАНТЫ)

Авторы:
Пемов Александр Владимирович Бебутов Георгий Георгиевич Школин Владимир Петрович
Все (4)
Номер заявки
2015110098/11
Дата подачи заявки
23.03.2015
Опубликовано
20.07.2016
Страна
RU
Как управлять
интеллектуальной собственностью
Чертежи 
4
Реферат

Группа изобретений относится к устройствам контроля технического состояния силовой установки. Устройство контроля технического состояния силовой установки содержит модуль обработки и анализа данных, регистратор параметров и диагностических данных, модуль документирования и отображения данных, модуль интерфейсов, модуль контроля и изменения программного обеспечения, подключенных определенным образом через сеть контроллеров и выполненных с возможностью подключения к самолетным системам и оборудованию. Обеспечивается контроль технического состояния силовой установки с прогнозированием уровня надежности ее деталей и узлов, контролем развития дефектов (повреждений) по наработке до достижения предельно опасной степени их развития. 2 н. и 11 з.п. ф-лы, 6 ил.

Формула изобретения

1. Устройство контроля технического состояния силовой установки, содержащее модуль обработки и анализа данных, регистратор параметров и диагностических данных, отличающееся тем, что дополнительно содержит модуль документирования и отображения данных, модуль интерфейсов, модуль контроля и изменения программного обеспечения (ПО), при этом модуль обработки и анализа данных выполнен с возможностью подключения к самолетным системам и оборудованию, причем каждый из указанных модулей и регистратор параметров и диагностических данных подключены к сети контроллеров, при этом, первый вход и второй выход модуля обработки и анализа данных соединены соответственно с первым выходом и третьим входом модуля контроля и изменения ПО, второй вход модуля обработки и анализа данных соединен со вторым выходом модуля интерфейсов, а первый выход модуля обработки и анализа данных соединен с первым входом регистратора параметров и диагностических данных, второй вход и второй выход которого соединены соответственно с первым выходом и четвертым входом модуля контроля и изменения ПО, а третий вход и третий выход регистратора параметров и диагностических данных соединены соответственно с третьим выходом и вторым входом модуля интерфейсов, причем первый выход регистратора параметров и диагностических данных соединен с первым входом модуля документирования и отображения данных, второй вход и второй выход которого соединены соответственно с третьим выходом и вторым входом модуля контроля и изменения ПО, а первый выход и третий вход модуля документирования и отображения данных соединены соответственно с первым входом и четвертым выходом модуля интерфейсов, третий вход и первый выход которого соединены соответственно со вторым выходом и первым входом модуля контроля и измерения ПО.

2. Устройство по п. 1, отличающееся тем, что модуль обработки и анализа данных содержит модуль электропитания, модуль входной аналоговой информации, модуль дискретных интерфейсов, модуль входной информации и модуль процессора, при этом модуль электропитания соединен с системой электроснабжения самолетом (СЭС), модулем входной аналоговой информации и модулем дискретных интерфейсов, а модуль дискретных интерфейсов соединен с сигнализаторами, а также с модулем процессора посредством шины передачи данных, при этом модуль входной информации соединен с устройствами самолетных систем и оборудования посредством последовательного канала информационного обмена, модуль входной информации также соединен с модулем входной аналоговой информации и модулем процессора при помощи шины передачи данных, причем модуль процессора выполнен с возможностью соединения с регистратором параметров и диагностических данных, с модулем контроля и изменения ПО и модулем интерфейсов при помощи сети контроллеров.

3. Устройство по п. 2, отличающееся тем, что модуль входной аналоговой информации содержит устройство электропитания датчиков, устройство интерфейсов датчиков и аналого-цифровой преобразователь, соединенные между собой, при этом устройство электропитания датчиков соединено с модулем электропитания, устройство интерфейсов датчиков соединено с датчиками, а аналого-цифровой преобразователь соединен с модулем входной информации при помощи шины передачи данных.

4. Устройство по п. 1, отличающееся тем, что регистратор параметров и диагностических данных содержит модуль электропитания, модуль входной информации, модуль процессора, модуль передачи данных и модуль регистрации данных, при этом модуль электропитания соединен с системой электроснабжения самолетом и с модулем процессора, причем модуль процессора соединен с модулем входной информации, модулем передачи данных и модулем регистрации данных посредством шины передачи данных.

5. Устройство по п. 4, отличающееся тем, что модуль входной информации выполнен с возможностью подключения к модулю обработки и анализа данных, модулю интерфейсов и модулю контроля и изменения ПО посредством сети контроллеров, а модуль передачи данных выполнен с возможностью подключения к модулю документирования и отображения данных, модулю интерфейсов и модулю контроля и измерения ПО посредством сети контроллеров.

6. Устройство по п. 4, отличающееся тем, что модуль регистрации данных включает в себя регистратор и сменное регистрирующее устройство.

7. Устройство по п. 1, отличающееся тем, что модуль документирования и отображения данных содержит модуль электропитания и модуль процессора, соединенные между собой.

8. Устройство по п. 7, отличающееся тем, что модуль процессора содержит устройство вычисления и устройство интерфейса вход/выход, соединенные между собой посредством шины передачи данных, при этом устройство вычисления соединено с модулем электропитания, а устройство интерфейса вход/выход выполнено с возможностью соединения с печатающим устройством, устройством отображения и авионикой самолета, а также с возможностью соединения с регистратором параметров и диагностических данных, модулем интерфейсов и модулем контроля и изменения ПО при помощи сети контроллеров.

9. Устройство по п. 1, отличающееся тем, что модуль интерфейсов содержит модуль электропитания и модуль вычисления и интерфейсов, соединенных между собой, при этом модуль электропитания соединен с системой электроснабжения самолета.

10. Устройство по п. 9, отличающееся тем, что модуль вычисления и интерфейсов содержит устройство вычисления, устройство интерфейса вход/выход и устройство связи, соединенные между собой при помощи шины передачи данных, при этом устройство вычисления соединено с модулем электропитания, устройство связи соединено с центром обслуживания силовой установки посредством двухпроводной шины данных, а устройство интерфейса вход/выход соединено с устройством управления, авионикой самолета, а также с модулем обработки и анализа данных, регистратором параметров и диагностических данных, модулем документирования и отображения данных, модулем контроля и изменения ПО при помощи сети контроллеров.

11. Устройство по п. 1, отличающееся тем, что модуль контроля и изменения программного обеспечения содержит модуль электропитания и модуль вычисления, контроля и интерфейса, соединенные между собой, при этом модуль электропитания соединен с системой электроснабжения самолета.

12. Устройство по п. 12, отличающееся тем, что модуль вычисления, контроля и интерфейса содержит устройство вычисления, устройство считывания, устройство считывания и обработки данных и устройство интерфейса входа/выхода, соединенные между собой шиной передачи данных, при этом устройство вычисления соединено с модулем электропитания, устройство считывания соединено с загрузчиком программного обеспечения, устройство считывания и обработки данных соединено с аварийным считыванием и загрузчиком данных, а устройство интерфейса входа/выхода соединено с модулем обработки и анализа данных, регистратором параметров и диагностических данных, модулем документирования и отображения данных и модулем интерфейсов при помощи сети контроллеров.

13. Устройство контроля технического состояния силовой установки, содержащее модуль обработки и анализа данных, регистратор параметров и диагностических данных, отличающееся тем, что дополнительно содержит модуль документирования и отображения данных, модуль интерфейсов, модуль контроля и изменения программного обеспечения (ПО), при этом модуль обработки и анализа данных выполнен с возможностью подключения к самолетным системам и оборудованию, причем каждый из указанных модулей подключен к сети контроллеров.

Описание

[1]

Область техники, к которой относится изобретение

[2]

Изобретение относится к области авиаприборостроения, а именно к устройствам контроля технического состояния силовой установки летательных аппаратов, осуществляющим сбор и диагностику состояния силовой установки летательных аппаратов для обеспечения эксплуатации силовой установки с заданными функциями и характеристиками.

[3]

Уровень техники

[4]

Силовая установка летательного аппарата представляет собой совокупность авиационного двигателя, систем и устройств летательного аппарата и обеспечивает создание необходимой для полета тяги.

[5]

Современные самолеты оборудованы системами, осуществляющими сбор, обработку и анализ информации, получаемой от самолетных систем и оборудования с множеством разнообразных датчиков и сигнализаторов. Такие системы представляют собой комплекс вычислительных устройств, соединенных между собой посредством сети передачи данных.

[6]

Известна бортовая система технического обслуживания (WO 96/41260 A1, МПК G06F 9/45, опубл. 19.12.1996), содержащая канал информационного обмена, соответствующий спецификации ARINC-429 и обеспечивающий обмен данными между встроенными системами контроля (ВСК) самолетных систем и вычислителем бортовой системы технического обслуживания. Известная система также содержит дисплей, принтер, адресно-отчетную систему авиационной связи, загрузчик данных и устройство записи полетной информации. Существенным недостатком такой системы является использование в коммутируемой бортовой сети связи самолета лишь одной транслирующей шины данных, соответствующей спецификации ARINC-429, что приводит к ограничению контролепригодности и, как следствие, к снижению надежности и безопасности полета.

[7]

Известна комплексная система диагностики и представления информации о состоянии различных систем летательного аппарата (US 2012260180 A1, МПК G06F 15/16, опубл. 11.10.2012), содержащая различные устройства обработки и анализа данных, подключенные к сети передачи данных, выполненные с возможностью приема информации и ее последующей передачи сетевому анализатору. К недостаткам данной известной системы относится сложность в ее использовании для контроля систем летательного аппарата непосредственно в полете.

[8]

Наиболее близким аналогом изобретения является система обработки полетной информации (патент на изобретение RU 2169394 C1, МПК G09B 9/08, опубл. 20.06.2001), содержащая блок обработки информации, дисплей, клавиатуру, съемный накопитель информации, устройство приема информации, аналого-цифровой преобразователь и генератор акустических сигналов. Система обеспечивает обработку параметрической информации, накопленной бортовым устройством регистрации с помощью соответствующего программного обеспечения и отражает результаты обработки на экране дисплея. Режим работы системы задается оператором при помощи клавиатуры, а накопление и хранение информации осуществляется на съемном накопителе.

[9]

К недостаткам наиболее близкого аналога относится ограниченность объема памяти, низкое быстродействие и невозможность параллельного решения множества информационно-вычислительных задач по определению состояния систем и оборудования летательного аппарата и контроля деятельности экипажа в полете.

[10]

Сущность изобретения

[11]

Задачей, решаемой изобретением, является создание устройства контроля технического состояния силовой установки, обеспечивающего возможность контроля технического состояния множества самолетных систем и оборудования и сигнализирующего об их износе и неисправности при выходе параметров за заданный диапазон.

[12]

Еще одной задачей, решаемой изобретением является создание устройства контроля технического состояния силовой установки с повышенной достоверностью результатов контроля.

[13]

Поставленные задачи решаются предлагаемым устройством контроля технического состояния силовой установки, содержащим модуль обработки и анализа данных, регистратор параметров и диагностических данных, которое согласно изобретению дополнительно содержит модуль документирования и отображения данных, модуль интерфейсов, модуль контроля и изменения программного обеспечения (ПО), при этом модуль обработки и анализа данных выполнен с возможностью подключения к самолетным системам и оборудованию, причем каждый из указанных модулей и регистратор параметров и диагностических данных подключены к сети контроллеров, при этом, первый вход и второй выход модуля обработки и анализа данных соединены соответственно с первым выходом и третьим входом модуля контроля и изменения ПО, второй вход модуля обработки и анализа данных соединен со вторым выходом модуля интерфейсов, а первый выход модуля обработки и анализа данных соединен с первым входом регистратора параметров и диагностических данных, второй вход и второй выход которого соединены соответственно с первым выходом и четвертым входом модуля контроля и изменения ПО, а третий вход и третий выходы регистратора параметров и диагностических данных соединены соответственно с третьим выходом и вторым входом модуля интерфейсов, причем первый выход регистратора параметров и диагностических данных соединен с первым входом модуля документирования и отображения данных, второй вход и второй выход которого соединены соответственно с третьим выходом и вторым входом модуля контроля и изменения ПО, а первый выход и третий вход модуля документирования и отображения данных соединены соответственно с первым входом и четвертым выходом модуля интерфейсов, третий вход и первый выход которого соединены соответственно со вторым выходом и первым входом модуля контроля и измерения ПО.

[14]

Техническим результатом предлагаемого устройства контроля технического состояния силовой установки является обеспечение эксплуатации двигателей с прогнозированием уровня надежности, а именно эксплуатацию деталей и узлов с контролем развития дефектов (повреждений) по наработке до достижения предельно опасной степени их развития.

[15]

Также, еще один технический результат изобретения заключается в снижении трудоемкости по обслуживанию силовой установки.

[16]

Еще одним техническим результатом изобретения является сокращение время обслуживания силовой установки в части оценки ее технического состояния.

[17]

Кроме того, еще одним техническим результатом изобретения является повышение межремонтного ресурса двигателей при эксплуатации.

[18]

Помимо этого, еще один технический результат изобретения заключается в повышении показателей наработки двигателя на выключение в полете.

[19]

Указанные технические результаты достигаются тем, что в устройство контроля технического состояния силовой установки, содержащее модуль обработки и анализа данных, регистратор параметров и диагностических данных, дополнительно введены модуль документирования и отображения данных, модуль интерфейсов, модуль контроля и изменения программного обеспечения (ПО), при этом модуль обработки и анализа данных выполнен с возможностью подключения к самолетным системам и оборудованию, причем каждый из указанных модулей подключен к сети контроллеров, при этом первый вход и второй выход модуля обработки и анализа данных соединены соответственно с первым выходом и третьим входом модуля контроля и изменения ПО, второй вход модуля обработки и анализа данных соединен со вторым выходом модуля интерфейсов, а первый выход модуля обработки и анализа данных соединен с первым входом регистратора параметров и диагностических данных, второй вход и второй выход которого соединены соответственно с первым выходом и четвертым входом модуля контроля и изменения ПО, а третий вход и третий выходы регистратора параметров и диагностических данных соединены соответственно с третьим выходом и вторым входом модуля интерфейсов, причем первый выход регистратора параметров и диагностических данных соединен с первым входом модуля документирования и отображения данных, второй вход и второй выход которого соединены соответственно с третьим выходом и вторым входом модуля контроля и изменения ПО, а первый выход и третий вход модуля документирования и отображения данных соединены соответственно с первым входом и четвертым выходом модуля интерфейсов, третий вход и первый выход которого соединены соответственно со вторым выходом и первым входом модуля контроля и измерения ПО.

[20]

Технические результаты обеспечиваются за счет реализации нейросетевых алгоритмов прогнозирования возникновения отказов на ранней стадии их развития, переноса выполнения функций обработки и анализа полетной информации с наземных средств контроля в бортовое устройство, реализации верхнего уровня управления информационным обменом между взаимодействующими модулями в части сбора, ранжирования и долговременного хранения параметров и диагностических данных, возможности передачи информации на наземные центры обслуживания силовой установки, осуществления открытой структуры аппаратного и программного обеспечения с возможностью адаптации алгоритмов диагностирования и базы данных к конкретным условиям эксплуатации, возможности подключения и отключения любых функциональных аппаратных и программных средств, входящих в состав системы обслуживания, от системы без нарушения работы системы обслуживания в целом.

[21]

В варианте реализации изобретения модуль обработки и анализа данных содержит модуль электропитания, модуль входной аналоговой информации, модуль дискретных интерфейсов, модуль входной информации и модуль процессора, при этом модуль электропитания соединен с системой электроснабжения самолетом (СЭС), модулем входной аналоговой информации и модулем дискретных интерфейсов, а модуль дискретных интерфейсов соединен с сигнализаторами, а также с модулем процессора посредством шины передачи данных, при этом модуль входной информации соединен с устройствами самолетных систем и оборудования посредством последовательного канала информационного обмена, модуль входной информации также соединен с модулем входной аналоговой информации и модулем процессора при помощи шины передачи данных, причем модуль процессора выполнен с возможностью соединения с регистратором параметров и диагностических данных, с модулем контроля и изменения ПО и модулем интерфейсов при помощи сети контроллеров.

[22]

Также в еще одном варианте реализации изобретения модуль входной аналоговой информации содержит соединенные между собой устройство электропитания датчиков, устройство интерфейсов датчиков и аналого-цифровой преобразователь, при этом также устройство электропитания датчиков соединено с модулем электропитания, устройство интерфейсов датчиков соединено с датчиками, а аналого-цифровой преобразователь соединен с модулем входной информации при помощи шины передачи данных.

[23]

В другом варианте реализации заявленного изобретения регистратор параметров и диагностических данных содержит модуль электропитания, модуль входной информации, модуль процессора, модуль передачи данных и модуль регистрации данных, при этом модуль электропитания соединен с системой электроснабжения самолетом и с модулем процессора, причем модуль процессора соединен с модулем входной информации, модулем передачи данных и модулем регистрации данных посредством шины передачи данных.

[24]

В еще одном варианте реализации изобретения модуль входной информации выполнен с возможностью подключения к модулю обработки и анализа данных, модулю интерфейсов и модулю контроля и изменения ПО посредством сети контроллеров, а модуль передачи данных выполнен с возможностью подключения к модулю документирования и отображения данных, модулю интерфейсов и модулю контроля и измерения ПО посредством сети контроллеров.

[25]

Также, в еще одном из вариантов реализации изобретения модуль регистрации данных включает в себя регистратор и сменное регистрирующее устройство.

[26]

В другом варианте реализации изобретения модуль документирования и отображения данных содержит модуль электропитания и модуль процессора, соединенных между собой.

[27]

В частном случае реализации изобретения модуль процессора содержит устройство вычисления и устройство интерфейса вход/выход, соединенные между собой посредством шины передачи данных, при этом устройство вычисления соединено с модулем электропитания, а устройство интерфейса вход/выход выполнено с возможностью соединения с печатающим устройством, устройством отображения и бортовым электронным оборудованием самолета, а также с возможностью соединения с регистратором параметров и диагностических данных, модулем интерфейсов и модулем контроля и изменения ПО при помощи сети контроллеров.

[28]

В еще одном частном случае реализации изобретения модуль интерфейсов содержит модуль электропитания и модуль вычисления и интерфейсов, соединенных между собой, при этом модуль электропитания соединен с системой электроснабжения самолета.

[29]

Также, в еще одном варианте реализации изобретения модуль вычисления и интерфейсов содержит устройство вычисления, устройство интерфейса вход/выход и устройство связи, соединенные между собой при помощи шины передачи данных, при этом устройство вычисления соединено с модулем электропитания, устройство связи соединено с центром обслуживания силовой установки посредством двухпроводной шины данных, а устройство интерфейса вход/выход соединено с устройством управления, бортовой электроникой самолета, а также с модулем обработки и анализа данных, регистратором параметров и диагностических данных, модулем документирования и отображения данных, модулем контроля и изменения ПО при помощи сети контроллеров.

[30]

Краткое описание чертежей

[31]

Изобретение иллюстрируется следующими чертежами:

[32]

фиг. 1 - структурная схема устройства контроля технического состояния силовой установки;

[33]

фиг. 2 - структурная схема модуля обработки и анализа данных устройства контроля технического состояния силовой установки;

[34]

фиг. 3 - структурная схема регистратора параметров и диагностических данных устройства контроля технического состояния силовой установки;

[35]

фиг. 4 - структурная схема модуля документирования и отображения данных устройства контроля технического состояния силовой установки;

[36]

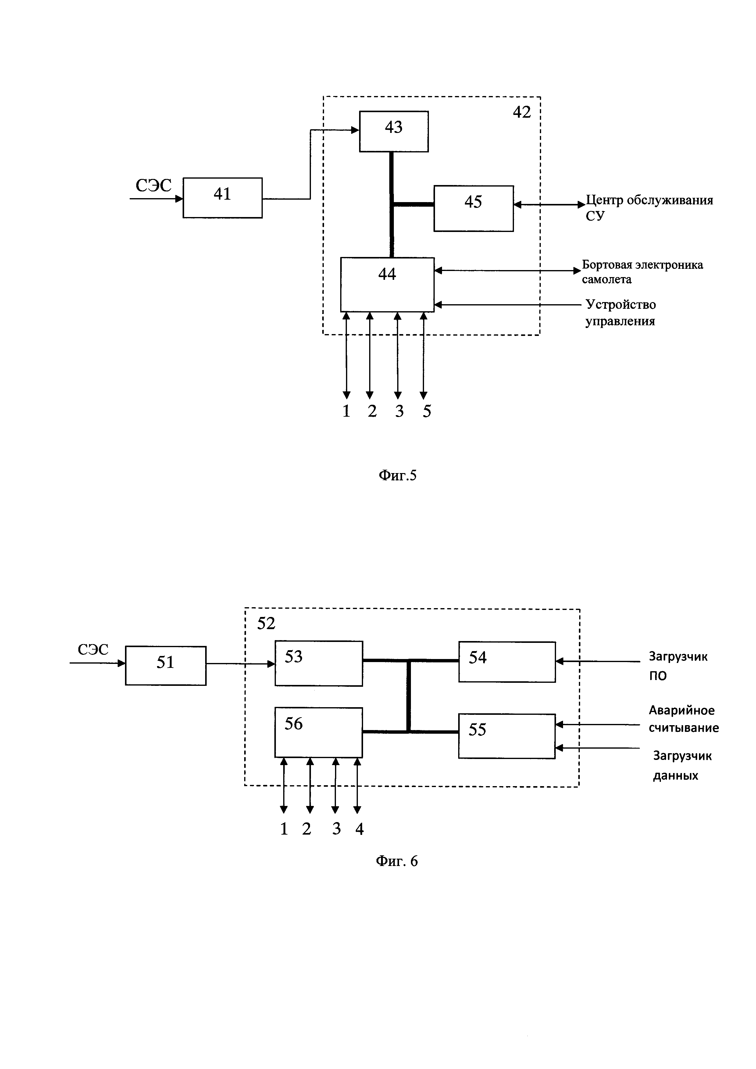
фиг. 5 - структурная схема модуля интерфейсов устройства контроля технического состояния силовой установки;

[37]

фиг. 6 - структурная схема модуля контроля и изменения программного обеспечения (ПО) устройства контроля технического состояния силовой установки.

[38]

На чертежах позициями обозначены следующие модули предлагаемого устройства контроля технического состояния силовой установки.

[39]

Устройство контроля технического состояния силовой установки (см. фиг. 1) содержит модуль (1) обработки и анализа данных; регистратор (2) параметров и диагностических данных; модуль (3) документирования и отображения данных; модуль (4) интерфейсов; модуль (5) контроля и изменения программного обеспечения (ПО).

[40]

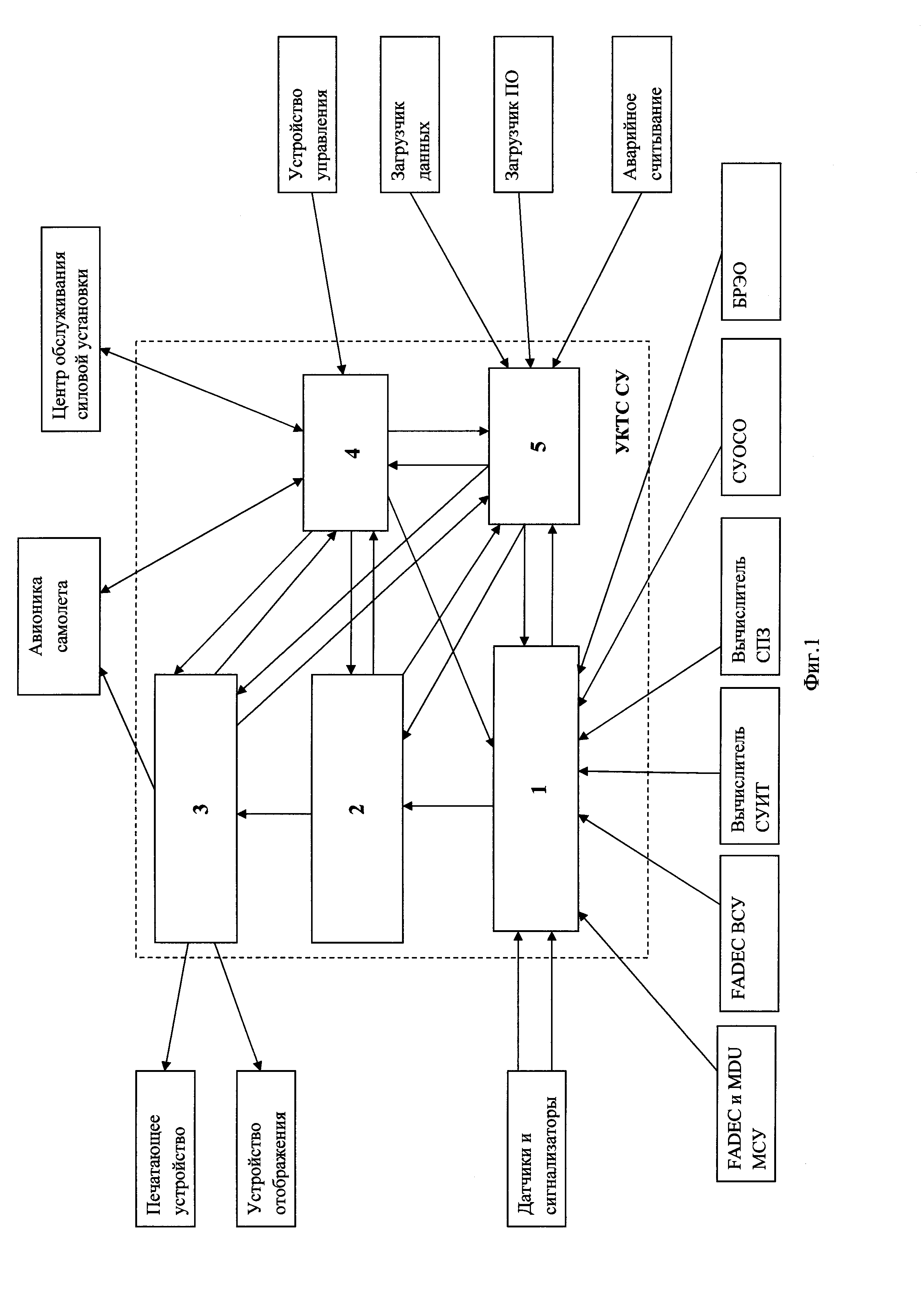
Модуль (1) обработки и анализа данных (см. фиг. 2) содержит модуль (11) электропитания; модуль (12) входной аналоговой информации; модуль (13) дискретных интерфейсов; модуль (14) входной информации; модуль (15) процессора; устройство (16) электропитания датчиков; устройство (17) интерфейсов датчиков; аналого-цифровой преобразователь (18).

[41]

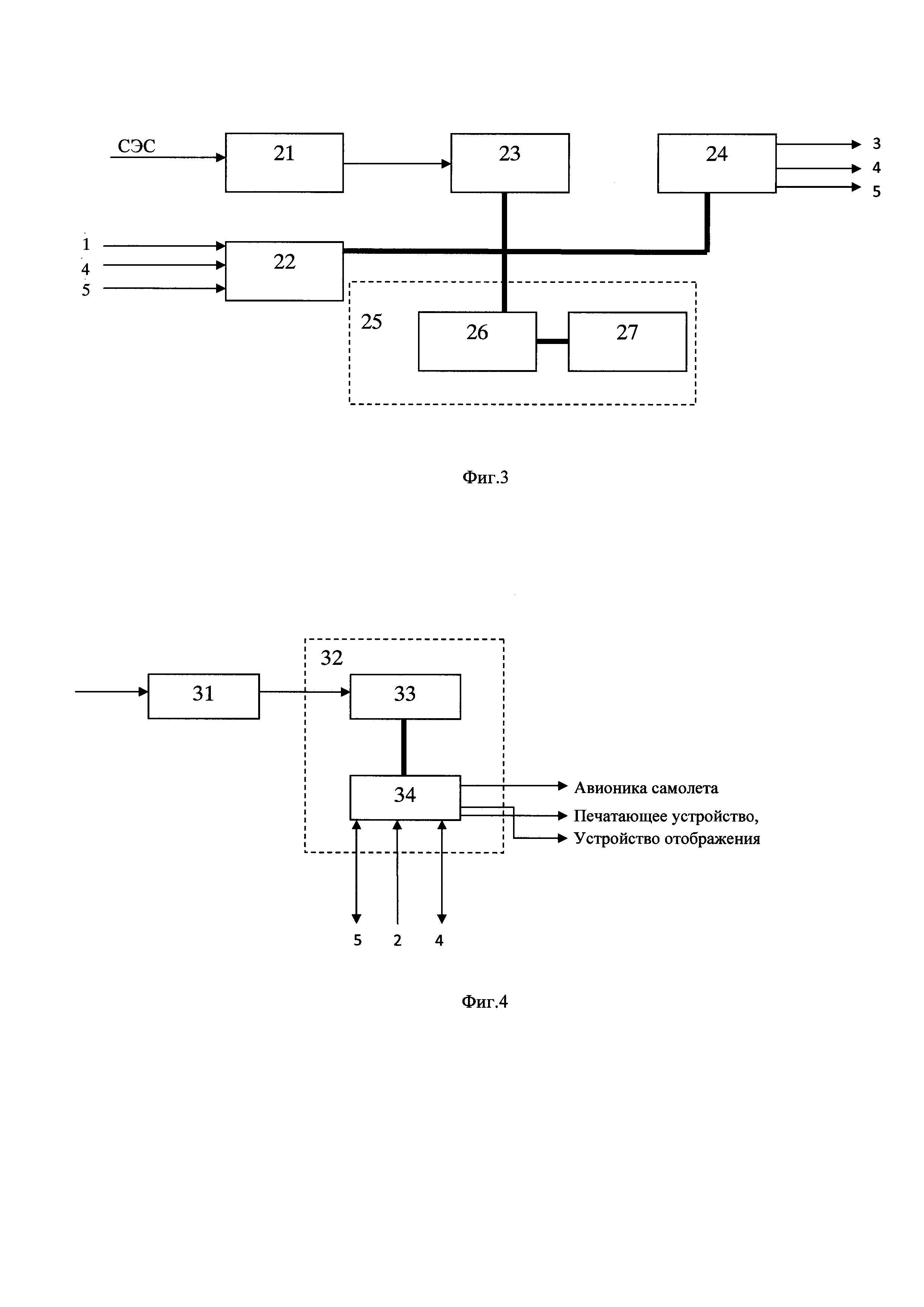
Регистратор (2) параметров и диагностических данных (см. фиг. 3) содержит модуль (21) электропитания; модуль (22) входной информации; модуль (23) процессора; модуль (24) передачи данных; модуль (25) регистрации данных; регистратор (26); сменное регистрирующее устройство (27).

[42]

Модуль (3) документирования и отображения данных (см. фиг. 4) содержит модуль (31) электропитания; модуль (32) процессора; устройство (33) вычисления; устройство (34) интерфейса вход/выход.

[43]

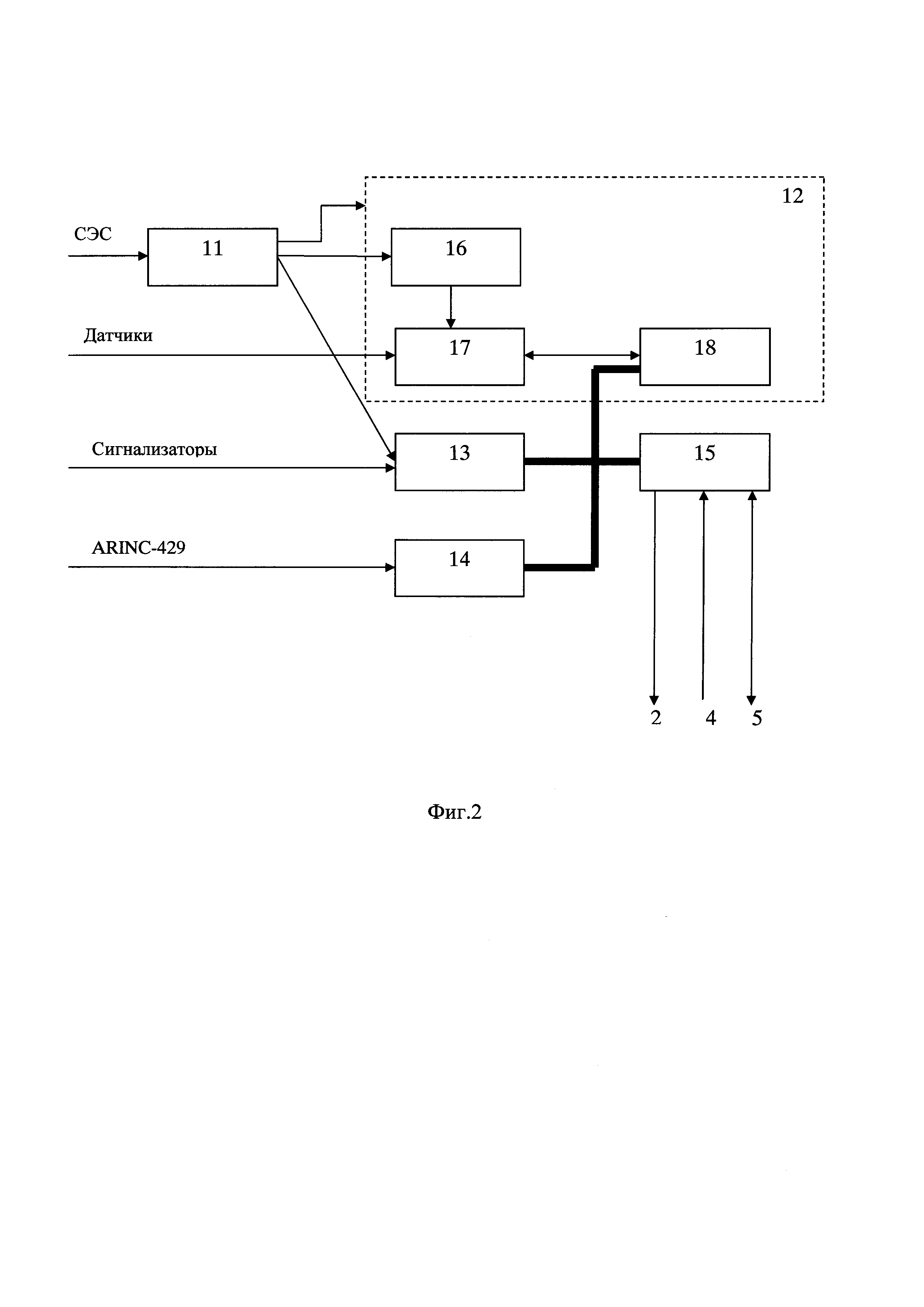
Модуль (4) интерфейсов (см. фиг. 5) содержит модуль (41) электропитания; модуль (42) вычисления и интерфейсов; устройство (43) вычисления; устройство (44) интерфейса вход/выход; устройство (45) связи.

[44]

Модуль (5) контроля и изменения ПО (фиг. 6) содержит модуль (51) электропитания и модуль вычисления, контроля и интерфейса (52); устройство (53) вычисления; устройство (54) считывания; устройство (55) считывания и обработки данных; устройство (56)интерфейса входа/выхода.

[45]

Раскрытие изобретения

[46]

Предлагаемое устройство контроля технического состояния силовой установки включает в себя (см. фиг. 1) модуль (1) обработки и анализа данных, регистратор (2) параметров и диагностических данных, модуль (3) документирования и отображения данных, модуль (4) интерфейсов, модуль (5) контроля и изменения ПО, соединенные посредством сети контроллеров следующим образом: первый вход и второй выход модуля (1) обработки и анализа данных соединены соответственно с первым выходом и третьим входом модуля (5) контроля и изменения ПО, второй вход модуля (1) обработки и анализа данных соединен со вторым выходом модуля (4) интерфейсов, первый выход модуля (1) обработки и анализа данных соединен с первым входом регистратора (2) параметров и диагностических данных, второй вход и второй выход регистратора (2) параметров и диагностических данных соединены соответственно с первым выходом и четвертым входом модуля (5) контроля и изменения ПО, третий вход и третий выходы регистратора (2) параметров и диагностических данных соединены соответственно с третьим выходом и вторым входом модуля (4) интерфейсов, первый выход регистратора (2) параметров и диагностических данных соединен с первым входом модуля (3) документирования и отображения данных, второй вход и второй выход модуля (3) документирования и отображения данных соединены соответственно с третьим выходом и вторым входом модуля (5) контроля и изменения ПО, первый выход и третий вход модуля (3) документирования и отображения данных соединены соответственно с первым входом и четвертым выходом модуля (4) интерфейсов, третий вход и первый выход модуля (4) интерфейсов соединены соответственно со вторым выходом и первым входом модуля (5) контроля и измерения ПО.

[47]

Модуль (1) обработки и анализа данных (см. фиг. 2) предназначен, в частности, для получения сигналов от датчиков, сигнализаторов и устройств следующих самолетных систем и оборудования (на чертеже не показаны):

[48]

- от электронно-цифровой системы управления двигателем (FADEC) маршевой силовой установки;

[49]

- от распределителя питания маршевой силовой установки;

[50]

- от электронно-цифровой системы управления двигателем (FADEC) вспомогательной силовой установки;

[51]

- от вычислителя системы управления и измерения топлива;

[52]

- от вычислителя системы пожарной защиты;

[53]

- от вычислителя системы управления общесамолетным оборудованием (СУОСО);

[54]

- от вычислителя бортового радиоэлектронного оборудования.

[55]

Указанные самолетные системы и оборудование соединяются с модулем (1) обработки и анализа данных посредством последовательного канала информационного обмена. В варианте осуществления изобретения, упомянутый последовательный канал информационного обмена соответствует спецификации ARINC-429.

[56]

Кроме того, модуль (1) обработки и анализа данных также подключен к датчикам и сигнализаторам силовой установки и самолета (на фиг. не показаны), от которых в модуль (1) обработки и анализа данных поступают сигналы об измеренных параметрах и состоянии изделия.

[57]

Модуль (1) обработки и анализа данных содержит (см. фиг. 2) модуль (11) электропитания, модуль (12) входной аналоговой информации, модуль (13) дискретных интерфейсов, модуль (14) входной информации и модуль (15) процессора. Модуль (11) электропитания соединен с системой электроснабжения самолетом (СЭС), модулем (12) входной аналоговой информации и модулем (13) дискретных интерфейсов, который, в свою очередь, соединен с упомянутыми сигнализаторами. Модуль (13) дискретных интерфейсов соединен с модулем (15) процессора посредством шины передачи данных. Модуль входной информации (14) соединен с устройствами самолетных систем и оборудования посредством последовательного канала информационного обмена (на чертеже не показаны). Модуль (14) входной информации соединен с модулем (12) входной аналоговой информации и модулем (15) процессора при помощи шины передачи данных. Сигнал от модуля (15) процессора через сеть контроллеров поступает на регистратор (2) параметров и диагностических данных, на модуль (5) контроля и изменения ПО и на модуль (4) интерфейсов.

[58]

Модуль (11) электропитания подключен к системе электроснабжения самолета и обеспечивает защиту модуля (12) входной аналоговой информации, модуля (13) дискретных интерфейсов и модуля процессора (15) от заброса напряжения, получаемого от системы электроснабжения самолета (СЭС). Модуль (11) электропитания может быть реализован на базе устройства, генерирующего эталонный уровень напряжения и тока для работы модуля (12) входной аналоговой информации, модуля (13) дискретных интерфейсов и модуля (15) процессора.

[59]

Модуль (12) входной аналоговой информации содержит соединенные между собой устройство (16) электропитания датчиков, устройство (17) интерфейсов датчиков и аналого-цифровой преобразователь (18). Устройство (16) электропитания датчиков соединено с модулем (11) электропитания. Устройство (17) интерфейсов датчиков соединено с датчиками, а аналого-цифровой преобразователь (18) соединен с модулем входной информации при помощи шины передачи данных.

[60]

Модуль (12) входной аналоговой информации обеспечивает интерфейс со всеми датчиками и преобразует физические сигналы от датчиков в величину напряжения, которая считывается процессором. Устройство (16) электропитания датчиков может быть реализовано на базе стандартных эталонных источников напряжения и тока и т.д.

[61]

Устройство (17) интерфейсов датчиков обеспечивает интерфейс с датчиками частоты, сопротивления и т.д. и осуществляет проверку характеристик интерфейсов с этими датчиками. Устройство (17) интерфейсов датчиков может быть реализовано на базе стандартных устройств, которые обеспечивают интерфейс с датчиками частоты, сопротивления и т.д.

[62]

Аналого-цифровой преобразователь (18) обеспечивает обработку сигналов и сбора данных с устройства (17) в различных частотных диапазонах. Аналого-цифровой преобразователь (18) может быть реализован на базе стандартных электронных устройств, характеристики которых обеспечивают обработку сигналов и сбора данных.

[63]

Модуль (13) дискретных интерфейсов может быть реализован на базе стандартных устройств, в том числе электронных, которые посредством аппаратных средств обеспечивают коммутацию различных типов входных сигналов, например наличие напряжения/разрыв и т.д., которые считываются и контролируются модулем (15) процессора.

[64]

Модуль (14) входной информации обеспечивает прием и проверку достоверности принятой информации от самолетных систем и оборудования, а также интерфейс с модулем (15) процессора. Модуль входной информации (14) может быть реализован на базе стандартных приемников ARINC (например, устройства фирм Device Engineering Inc.), Everspin, MICROCHIP TECHNOLOGY, POWERSMART, Holt Integrated Circuits и др.).

[65]

Модуль (15) процессора обеспечивает вычислительные функции и функцию проведения проверки устройств, входящих в модуль (1) обработки и анализа данных, а также взаимодействие с модулем (13) дискретных интерфейсов, модулем (4) интерфейсов и модулем (5) контроля и изменения программного обеспечения. Модуль (15) процессора может быть реализован на базе стандартного многофункционального процессора, использующего внешнюю и внутреннюю память.

[66]

Регистратор (2) параметров и диагностических данных содержит (см. фиг. 3) модуль (21) электропитания, модуль (22) входной информации, модуль (23) процессора, модуль (24) передачи данных и модуль (25) регистрации данных. Модуль (21) электропитания соединен с системой электроснабжения самолетом и с модулем (23) процессора. Модуль (23) процессора соединен с модулем (22) входной информации, модулем (24) передачи данных и модулем (25) регистрации данных посредством шины передачи данных. Модуль (22) входной информации соединен с модулем (1) обработки и анализа данных, модулем (4) интерфейсов и модулем (5) контроля и изменения ПО посредством сети контроллеров. Модуль (24) передачи данных соединен с модулем (3) документирования и отображения данных, модулем (4) интерфейсов и модулем (5) контроля и измерения ПО посредством сети контроллеров.

[67]

Регистратор (2) параметров и диагностических данных может быть реализован на базе одноплатного компьютера с объемом памяти не менее 10 Гб, скоростью записи не менее 30 кадров в секунду для 1024 параметров и сигналов.

[68]

Модуль (21) электропитания обеспечивает защиту модуля (23) процессора от забросов напряжения, получаемого от СЭС самолета. Модуль (21) электропитания может быть реализован на базе стандартного устройства, генерирующего эталонный уровень напряжения и тока для работы модуля (23) процессора.

[69]

Модуль (22) входной информации включает интерфейс с модулем (1) обработки и анализа данных, модулем (4) интерфейсов и модулем (5) контроля и изменения ПО и обеспечивает прием и проверку достоверности принятой информации от модуля (1) обработки и анализа данных, модуля (4) интерфейсов и модуля (5) контроля и изменения ПО. Модуль (22) входной информации может быть реализован на базе стандартных приемников ARINC или CAN (например, устройства фирм Device Engineering Inc.), Everspin, MICROCHIP TECHNOLOGY, POWERSMART, Holt Integrated Circuits и др.).

[70]

Модуль (23) процессора обеспечивает функции вычисления и проведения проверки устройств, входящих в регистратор (2) параметров и диагностических данных, а также взаимодействует с модулем (24) передачи данных и модулем (25) регистрации данных. Модуль (23) процессора может быть реализован на базе стандартного многофункционального процессора, который может использовать внешнюю и внутреннюю память, в том числе энергонезависимую.

[71]

Модуль (24) передачи данных снабжен интерфейсом с модулем (3) документирования и отображения данных, модулем (4) интерфейсов и модулем (5) контроля и изменения ПО и обеспечивает прием и передачу сигналов от регистратора (2) параметров и диагностических данных в модуль (3) документирования и отображения данных, модуль (4) интерфейсов и модуль (5) контроля и изменения ПО. Модуль (24) передачи данных может быть реализован на базе стандартных передатчиков ARINC или CAN (например, устройства фирм Device Engineering Inc.), Everspin, MICROCHIP TECHNOLOGY, POWERSMART, Holt Integrated Circuits и др.).

[72]

Модуль (25) регистрации данных включает в себя регистратор (26) и сменное регистрирующее устройство (27). Регистрируемая информация представляет собой стандартные кадры, частота регистрации стандартного кадра - 2-4 Гц. В кадре размещается параметрическая, сигнальная информация и информация об отказах и неисправностях, сопровождаемая служебной информацией.

[73]

Начало и конец регистрации информации в модуле (25) регистрации данных и энергонезависимой памяти модуля (23) процессора определяется автоматически на основании анализа нескольких входных параметров (дискретных сигналов). К совокупности таких сигналов можно отнести сигналы работы двигателей, сигнал отрыва и т.д.

[74]

Регистратор (26) может быть реализован на базе стандартного твердотельного устройства с емкостью не менее 10 Гб.

[75]

Сменное регистрирующее устройство (27) может быть реализовано, например, в виде флэш-карты в стандарте PCMCIA с емкостью не менее 12 Гб.

[76]

Модуль (3) документирования и отображения данных (см. фиг. 4) содержит соединенные между собой модуль (31) электропитания и модуль (32) процессора.

[77]

Модуль (3) документирования и отображения данных обеспечивает функции документирования и отображения данных. Модуль (3) документирования и отображения данных может быть реализован на базе одноплатного компьютера.

[78]

Модуль (32) процессора содержит устройство (33) вычисления и устройство (34) интерфейса вход/выход, соединенные между собой посредством шины передачи данных. Устройство (33) вычисления также соединено с модулем (31) электропитания. Устройство (34) интерфейса вход/выход выполнено с возможностью соединения и обмена сигналами с печатающим устройством, устройством отображения и бортовым электронным оборудованием самолета, а также с возможностью обмена сигналами с регистратором (2) параметров и диагностических данных, модулем (4) интерфейсов и модулем (5) контроля и изменения ПО при помощи сети контроллеров.

[79]

Модуль (32) процессора обеспечивает необходимые вычисления, хранение информации и интерфейс с регистратором (2) параметров и диагностических данных, модулем (4) интерфейсов, модулем (5) контроля и изменения ПО, печатающим устройством, устройством отображения и бортовым электронным оборудованием самолета.

[80]

Устройство (33) вычисления обеспечивает функции вычисления, проведения проверки устройств, входящих в модуль (3) документирования и отображения данных, создание и хранение электронной библиотеки данных, а также взаимодействие с устройством (34) интерфейса вход/выход. Устройство (33) вычисления может быть реализовано на базе стандартного процессора, который может использовать внешнюю и внутреннюю память, в том числе энергонезависимую.

[81]

Устройство (34) интерфейса вход/выход имеет интерфейс с регистратором (2) параметров и диагностических данных, модулем (4) интерфейсов и модулем (5) контроля и изменения ПО, а также с бортовым электронным оборудованием самолета, печатающим устройством и устройством отображения (на чертеже не показаны). Устройство (34) интерфейса вход/выход обеспечивает прием и проверку достоверности полученной информации, передачу обобщенной диагностической информации, в том числе в виде специальных кадров, сформированных по командам из модуля (4) интерфейсов. Устройство (34) интерфейса вход/выход может быть реализовано на базе стандартных приемников/передатчиков ARINC или CAN (например, устройства фирм Device Engineering Inc.), Everspin, MICROCHIP TECHNOLOGY, POWERSMART, Holt Integrated Circuits и др.).

[82]

Модуль (4) интерфейсов (см. фиг. 5) содержит модуль (41) электропитания, модуль (42) вычисления и интерфейсов, соединенные между собой. Модуль (41) электропитания соединен с системой электроснабжения самолета.

[83]

Модуль (4) интерфейсов может быть реализован на базе стандартного многофункционального одноплатного компьютера.

[84]

Модуль (41) электропитания обеспечивает защиту модуля (42) вычисления и интерфейсов от забросов напряжения, получаемого от СЭС самолета. Модуль (41) электропитания может быть реализован на базе стандартного устройства, генерирующего эталонный уровень напряжения и тока для работы.

[85]

Модуль (42) вычисления и интерфейсов содержит устройство (43) вычисления, устройство (44) интерфейса вход/выход и устройство (45) связи, соединенные между собой при помощи шины передачи данных. Устройство (43) вычисления соединено с модулем (41) электропитания. Устройство (45) связи соединено с центром обслуживания силовой установки посредством двухпроводной шины данных. Устройство (44) интерфейса вход/выход соединено с устройством управления, а также с модулем (1) обработки и анализа данных, регистратором (2) параметров и диагностических данных, модулем (3) документирования и отображения данных, модулем (5) контроля и изменения ПО, при помощи сети контроллеров.

[86]

Устройство (43) вычисления обеспечивает функции вычисления, проведения проверки устройств, входящих в модуль (4) интерфейсов, а также формирует команды по заданным алгоритмам и взаимодействует с устройством (44) интерфейса вход/выход и устройством (45) связи. Устройство (43) вычисления может быть реализовано на базе стандартного процессора, который может использовать внешнюю и внутреннюю память, в том числе энергонезависимую.

[87]

Устройство (44) интерфейса вход/выход обеспечивает прием и проверку достоверности полученной информации, передачу информации, в том числе в виде специальных кадров, сформированных регистратором (2) параметров и диагностических данных и модулем (3) документирования и отображения данных, а также обеспечивает интерфейс с модулем (1) обработки и анализа данных, регистратором (2) параметров и диагностических данных, модулем (3) документирования и отображения данных, модулем (5) контроля и изменения ПО, а также с бортовым электронным оборудованием самолета и устройством управления модулем (4). Устройство (44) интерфейса вход/выход может быть реализовано на базе стандартных приемников/передатчиков ARINC или CAN (например, устройства фирм Device Engineering Inc.), Everspin, MICROCHIP TECHNOLOGY, POWERSMART, Holt Integrated Circuits и др.), имеющих порты типа RS.

[88]

Устройство (45) связи обеспечивает прием и передачу информации в полете на землю, в том числе в виде специальных кадров, сформированных по запросу из центра обслуживания силовой установки, или по команде от бортового электронного оборудования самолета, или вручную экипажем. Также устройство (45) связи обеспечивает интерфейс с центром обслуживания силовой установки. Устройство (45) связи может быть реализовано на базе стандартных сетевых приемников/передатчиков.

[89]

Модуль (5) контроля и изменения программного обеспечения содержит (см. фиг. 6) модуль (51) электропитания и модуль вычисления, контроля и интерфейса (52), соединенные между собой. Модуль электропитания (51) соединен с системой электроснабжения самолета (СЭС).

[90]

Модуль (51) электропитания обеспечивает защиту модуля вычисления, контроля и интерфейса (52) от забросов напряжения, получаемого от СЭС самолета. Модуль (51) электропитания может быть реализован на базе стандартного устройства, генерирующего эталонный уровень напряжения и тока для работы.

[91]

Модуль вычисления, контроля и интерфейса (52) содержит устройство (53) вычисления, устройство (54) считывания, устройство (55) считывания и обработки данных и устройство (56) интерфейса входа/выхода, соединенные между собой шиной передачи данных. Устройство (53) вычисления соединено с модулем (51) электропитания. Устройство (54) считывания соединено с загрузчиком программного обеспечения. Устройство (55) считывания и обработки данных соединено с аварийным считыванием и загрузчиком данных. Устройство (56) интерфейса входа/выхода соединено с модулем обработки и анализа данных (1), регистратором (2) параметров и диагностических данных, модулем (3) документирования и отображения данных и модулем (4) интерфейсов при помощи сети контроллеров.

[92]

Модуль вычисления, контроля и интерфейса (52) обеспечивает необходимые вычисления, хранение информации, алгоритмические действия и интерфейс с модулем (1) обработки и анализа данных, регистратором (2) параметров и диагностических данных, модулем (3) документирования и отображения данных и модулем (4) интерфейсов, загрузчиком программного обеспечения, загрузчиком данных и устройством аварийного считывания, выполненного, например, на базе стандартных приемников АРИНК (например, устройства фирм Device Engineering Inc.), Everspin, MICROCHIP TECHNOLOGY, POWERSMART, Holt Integrated Circuits и др.).

[93]

Устройство (53) вычисления обеспечивает функции вычисления, проведения проверки устройств, входящих в модуль (5) контроля и изменения программного обеспечения и контроль состояния (отказ/исправен/ограниченно годен) модуля (1) обработки и анализа данных, регистратора (2) параметров и диагностических данных, модуля (3) документирования и отображения данных и модуля (4) интерфейсов. Устройство (53) вычисления также обеспечивает формирование управляющих команд и принятия решения о настройках и изменения устройства контроля технического состояния силовой установки. Также устройство (53) вычисления осуществляет автоматическую локализацию отказов и неисправностей по заданным алгоритмами, системным и нейросетевым программам, а также взаимодействие с устройством (54) считывания, устройством (55) считывания и обработки данных и устройством (56) интерфейса входа/выхода. Устройство (53) вычисления может быть реализовано на базе стандартного процессора, который может использовать внешнюю и внутреннюю память, в том числе энергонезависимую.

[94]

Устройство (54) считывания обеспечивает прием и проверку достоверности полученной информации, и передачу информации в устройство (53) вычисления, а также сетевой интерфейс с устройством (53) вычисления. Устройство (54) считывания может быть реализовано на базе стандартных приемников АРИНК или CAN (например, устройства фирм Device Engineering Inc.), Everspin, MICROCHIP TECHNOLOGY, POWERSMART, Holt Integrated Circuits и др.), имеющих порт типа RS.

[95]

Устройство (55) считывания и обработки данных обеспечивает прием и проверку достоверности полученной информации и передачу информации в устройство (53) вычисления, а также сетевой интерфейс с устройством (53) вычисления. Устройство (55) считывания и обработки данных может быть реализовано на базе стандартных приемников АРИНК или CAN (например, устройства фирм Device Engineering Inc.), Everspin, MICROCHIP TECHNOLOGY, POWERSMART, Holt Integrated Circuits и др.), имеющих порт типа RS.

[96]

Устройство (56) интерфейса входа/выхода обеспечивает прием и проверку достоверности полученной информации, передачу информации в модуль (1) обработки и анализа данных, регистратор (2) параметров и диагностических данных, модуль (3) документирования и отображения данных и модуль (4) интерфейсов, а также сетевой интерфейс с модулем (1) обработки и анализа данных, регистратором (2) параметров и диагностических данных, модулем (3) документирования и отображения данных и модулем (4) интерфейсов. Устройство (56) интерфейса входа/выхода может быть реализовано на базе стандартных приемников/передатчиков CAN (например, устройства фирм Device Engineering Inc.), Everspin, MICROCHIP TECHNOLOGY, POWERSMART, Holt Integrated Circuits и др.).

[97]

Устройство контроля технического состояния силовой установки работает следующим образом.

[98]

В модуль (4) интерфейсов из центра обслуживания силовой установки передается служебная информация (например, паспортные данные агрегатов, атрибуты ремонтного и периодического обслуживания и прочее).

[99]

В модуль (5) контроля и изменения ПО от загрузчика ПО поступает информация о настройках и изменениях программного обеспечения и математической модели маршевого двигателя и вспомогательного двигателя.

[100]

Модуль (4) интерфейсов и модуль (5) контроля и изменения ПО производят оценку достоверности полученной информации, анализируют необходимость передачи обновленных данных и после получении квитанции «да» передают данные в модуль (1) обработки и анализа данных.

[101]

Модуль (5) контроля и изменения ПО параллельно с описанными выше функциями проводит самоконтроль и контроль состояния (отказ/исправен/ограниченно годен) модуля (1) обработки и анализа данных, регистратора (2) параметров и диагностических данных, модуля (3) документирования и отображения данных, модуля (4) интерфейсов, осуществляет автоматическую локализацию отказов и неисправностей силовой установки, а также ее систем, агрегатов и узлов, и передает эту информацию в модуль (3) документирования и отображения данных. Эти действия обеспечиваются системными программами, обеспечивающими самоконтроль работоспособности и диагностику устройства контроля технического состояния силовой установки, а также нейросетевыми программами обучения и распознавания дефектов и неисправностей на ранней стадии их развития.

[102]

В модуль (1) обработки и анализа данных поступает информация от следующих самолетных систем и оборудования:

[103]

- электронно-цифровой системы управления двигателем (FADEC) маршевой силовой установки, от которой в модуль (1) обработки и анализа данных поступает информация о состоянии, управлении и контроле маршевой силовой установки, необходимая для оценки технического состояния маршевой силовой установки, а также информация об опасных отклонениях параметров от нормативных уровней и фиксированных отказах;

[104]

- блока мониторинга и диагностики (MDU) маршевой силовой установки (N), от которого в модуль (1) обработки и анализа данных поступает информация, необходимая для оценки технического состояния двигателя, поиска места отказа, диагностическая информация о маршевой силовой установке в целом и об отдельных ее изделиях;

[105]

- электронно-цифровой системы управления двигателем (FADEC) вспомогательной силовой установки, от которой в модуль (1) обработки и анализа данных поступает текущая информация о состоянии, управлении и контроле вспомогательного двигателя, а также информация, необходимая для оценки его технического состояния, поиска места отказа, информация об опасных отклонениях параметров от нормативных уровней и зафиксированных отказах, диагностическая информация о вспомогательном двигателе в целом и отдельных изделиях двигателя;

[106]

- вычислителя системы управления и измерения топлива, от которого в модуль (1) обработки и анализа данных поступает текущая информация о состоянии топливной системы и системы управления и измерения топлива, а также информация, необходимая для оценки технического состояния топливной системы и системы управления и измерения топлива, поиска места отказа, а также информация об опасных отклонениях параметров от нормативных уровней и зафиксированных отказах, диагностическая информация о топливной системе в целом и отдельных изделиях топливной системы;

[107]

- вычислителя системы пожарной защиты, от которого в модуль (1) обработки и анализа данных поступает текущая информация о состоянии системы пожарной защиты, а также информация, необходимая для оценки ее технического состояния, поиска места отказа, информация об опасных отклонениях параметров от нормативных уровней и зафиксированных отказах, диагностическая информация о системе пожарной защиты в целом и отдельных изделиях системы пожарной защиты;

[108]

- вычислителя системы управления общесамолетным оборудованием, от которого в модуль (1) обработки и анализа данных поступает информация о состоянии топливной системы, системы пожарной защиты, маршевой силовой установки, вспомогательной силовой установки и системы нейтрального газа (СНГ), информация о зафиксированных отказах, диагностическая информация о топливной системе, системе пожарной защиты, маршевой силовой установке, вспомогательной силовой установке и СНГ, информация из самолетных систем (например, системы воздушных сигналов, автопилот, шасси и др.), необходимая для осуществления функции управления и контроля топливной системы, системы пожарной защиты, маршевой силовой установки, вспомогательной силовой установки;

[109]

- вычислителя бортового радиоэлектронного оборудования, от которого в модуль (1) обработки и анализа данных поступает текущая информация о параметрах полета и работе бортового радиоэлектронного оборудования (например, системы электроснабжения, пульты и т.д.), необходимая для осуществления функции управления, контроля и диагностирования состояния топливной системы, системы пожарной защиты, маршевой силовой установки, вспомогательной силовой установки.

[110]

Модуль (1) обработки и анализа данных осуществляет прием полученной информации и проводит контроль достоверности этой информации.

[111]

По нейросетевым алгоритмам, используя анализ тенденции к изменению обобщенных диагностических признаков, модуль (1) обработки и анализа данных осуществляет:

[112]

- обобщенный анализ текущего технического состояния силовой установки и возможности ее дальнейшей эксплуатации;

[113]

- прогноз предотказного состояния деталей и узлов двигателей, изделий силовой установки, в том числе вызванных случайными дефектами;

[114]

- оценивает выработку и прогнозирует остаточные ресурсы основных деталей двигателей с учетом малоцикловой и многоцикловой повреждаемости в реальных условиях эксплуатации;

[115]

- прогноз ухудшения тяговых и расходных характеристик двигателей в процессе длительной наработки;

[116]

- разработку рекомендаций по проведению внеплановых промывок газовоздушного тракта двигателей;

[117]

- автоматическую локализацию отказов и неисправностей силовой установки, а также ее систем, агрегатов и узлов;

[118]

- разработку рекомендаций и инструкций о дальнейших действиях при обнаруженных неисправностях и/или отклонениях характеристик силовой установки (например, проведению дополнительного диагностирования технического состояния на земле методами и средствами неразрушающего контроля или о необходимости ремонтных работ) по алгоритмам заданным разработчиками самолета и изделий.

[119]

Диагностическая информация из модуля (1) обработки и анализа данных передается в регистратор (2) параметров и диагностических данных, где в соответствии с информацией, получаемой из модуля (4) интерфейсов, осуществляется формирование, структурирование, ранжирование и сохранение обобщенной диагностической информации в диагностической базе данных, используя алгоритмы с расширенными функциями интеллектуального архивирования и поиска выходных данных.

[120]

Информация из регистратора (2) параметров и диагностических данных поступает в модуль (3) документирования и отображения данных, в котором осуществляется электронное документирование обобщенной диагностической информации и подготавливается информация для визуализации данных об аварийном состоянии силовой установки, а также данных самоконтроля устройства контроля технического состояния силовой установки.

[121]

Обобщенные диагностические данные и/или временные «срезы» с упакованной информацией о техническом состоянии силовой установки передаются из модуля (4) интерфейсов в центр обслуживания силовой установки и в бортовое электронное оборудование самолета. Для этого модуль (4) интерфейсов передает в регистратор (2) параметров и диагностических данных сигнал, по которому вся необходимая информация из регистратора (2) параметров и диагностических данных передается в модуль (4) интерфейсов. Структура и объем передаваемой информации зависит от режима, который определяет модуль (4) интерфейсов.

[122]

Модуль (4) интерфейсов по команде из центра обслуживания и/или бортового электронного оборудования самолета помимо информации, упакованной в стандартный файл, передает файл, который содержит «срез» важной для диагностики информации, перечень и содержание которой заранее определены разработчиками изделий.

[123]

Модуль (4) интерфейсов по команде из центра обслуживания и/или бортового электронного оборудования самолета может осуществить доступ к информации, сохраняемой в регистраторе (2) параметров и диагностических данных, в том числе для поиска данных в диагностической базе данных.

[124]

Из модуля (3) документирования и отображения данных информация о техническом состоянии силовой установки, например об опасных отказах изделий силовой установки, и/или сообщения о возможности дальнейшей эксплуатации силовой установки, с рекомендациями и инструкциями о дальнейших действиях, например о проведении дополнительного диагностирования технического состояния на земле методами и средствами неразрушающего контроля или о необходимости ремонтных работ, передается в бортовое электронное оборудование самолета и/или на печатающие устройства и средства визуализации. Информация из модуля (3) документирования и отображения данных передается по командам в модуль (4) интерфейсов. Модуль (4) интерфейсов формирует эти команды либо по внутренним алгоритмам или по командам из центра обслуживания силовой установки и/или бортового электронного оборудования самолета на печать и визуализацию.

[125]

По команде из наземного устройства, которое может быть реализовано на базе стандартного многофункционального процессора, который обеспечит взаимодействие с модулем (5) контроля и изменения ПО, обеспечивается аварийное считывание хранимой диагностической информации. Для этого из модуля (5) контроля и изменения ПО в модуль (4) интерфейсов и модуль (1) обработки и анализа данных передается команда, по которой запускается процесс передачи специальной диагностической информации из модуля обработки и анализа данных (1). Информация упаковывается в файл.

[126]

Модуль (5) контроля и изменения ПО по информации, получаемой от загрузчика программного обеспечения, производит адаптацию программного обеспечения устройства контроля технического состояния силовой установки на основе опыта эксплуатации силовой установки.

[127]

В модулях (1), (2), (3), (4) и (5), входящих в состав предлагаемого устройства контроля технического состояния силовой установки, применяются прикладные программы, реализующие выполнение всех функций на всех режимах работы, такие как:

[128]

- системное программное обеспечение, реализующее обмен данных между взаимодействующими модулями, входящими в состав предлагаемого устройства, обеспечивающее, например, сетевой интерфейс CAN 2.0B или ARINC 604;

[129]

- системное программное обеспечение, реализующее физический обмен информацией между устройством (модулями устройства) с сопрягаемыми системами и обеспечивающее, например, обмен в соответствии с ГОСТ 18977-79 и РТМ 1495 с изм. 3, с рекомендациями ARINC 604, по сетевому интерфейсу CAN 2.0B, с рекомендациями ARINC 739, ARINC 717;

[130]

- системное программное обеспечение, реализующее взаимодействие с наземными устройствами в соответствии с ARINC-724 и вывод параметрической и отказной информации в сопрягаемые системы (Cellular, Wi-Fi, WiMAX, Satcom, ACARs);

[131]

- системное программное обеспечение, реализующее взаимодействие с наземными устройствами, например, по RS-422 и RS-485 и адаптированное с операционной системой MS Windows ХР;

[132]

- системные программы, обеспечивающие самоконтроль работоспособности и диагностику модулей устройства и устройства в целом;

[133]

- программы для формирования базы данных с расширенными функциями интеллектуального архивирования и поиска выходных данных, а также сохранение данных в накопителе устройства;

[134]

- программы, реализующие математические модели диагностируемых двигателей для формирования обобщенных диагностических признаков;

[135]

- нейросетевые программы распознавания дефектов и неисправностей на ранней стадии их развития;

[136]

- программы оценки и прогнозирования ресурса основных деталей двигателей с учетом малоцикловой и многоцикловой повреждаемости;

[137]

- программы трендового анализа контролируемых параметров;

[138]

- программы принятия диагностических решений по комплексу диагностических признаков.

[139]

Прикладные программы разрабатываются под конкретный объект и предназначены для решения различных функциональных задач с учетом условий применения и характеристик объекта.

[140]

Работа прикладных программ основывается на обработке прерываний по пяти IRQ (векторов, включая прерывания от таймера). Прерывания от различных устройств могут иметь разный приоритет, причем приоритет может меняться динамически. Количество приоритетов может быть легко изменено практически до любого числа в зависимости от задаваемых задач.

[141]

Программирование может быть построено на принципах объектно-ориентированного программирования.

[142]

Сервисные программы или системные утилиты, служащие для выполнения вспомогательных операций обработки данных или обслуживания модулей устройства (диагностики, тестирования аппаратных и программных средств, оптимизации использования дискового пространства, восстановления разрушенной на магнитном диске информации и т.п.), например, Norton Utilities - фирма Symantec; Checkit PRO Deliuxe 2.0 - фирма Touch Stone; Reg Organizer; SpeedFan, утилиты фирмы Motorola и др.

[143]

Операционной системой реального времени, под управлением которой обеспечивается работа прикладных и сервисных программ, может являться, например, On Time RTOS-32 (пакеты RTTarget-32 и RTFiles-32) фирмы On Time Informatik (Германия). Данная операционная система позволяет вести разработку и отладку программного обеспечения на языках высокого уровня, например, ADA95, C++ и т.д.

[144]

Изобретение позволяет снизить трудоемкость по обслуживанию силовой установки на 20-30%, сократить время обслуживания силовой установки в части оценки ее технического состояния в 1,5-2 раза, повысить межремонтный ресурс двигателей при эксплуатации на 20-25% и повысить показатели наработки двигателя на выключение в полете на 50-70%.

[145]

Промышленная применимость

[146]

Изобретение предназначено для использования в авиационной промышленности при проектировании и изготовлении современных и перспективных пассажирских самолетов, обеспечивающих высокую надежность и безопасность полетов при осуществлении массовых перевозок авиапассажиров в различных условиях.

[147]

Все технические средства и обеспечивающее их работу программное обеспечение, применение которых предусмотрено изобретением, разрабатываются и выпускаются как отечественными промышленными предприятиями, так и ведущими компаниями в зарубежных странах.

[148]

Предусмотренное изобретением взаимодействие средств реализуется в известных процессах различного назначения в области авиастроения. В процессе изготовления всех устройств, входящих в систему управления общесамолетным оборудованием и самолетными системами, может быть использовано типовое, стандартное промышленное оборудование, известные материалы и комплектующие изделия.

Как компенсировать расходы
на инновационную разработку
Похожие патенты