патент
№ RU 2291088
МПК B64G1/50

УПРАВЛЯЕМАЯ СИСТЕМА ТЕРМОСТАТИРОВАНИЯ ЖИДКОГО КОМПОНЕНТА РАКЕТНОГО ТОПЛИВА ДВИГАТЕЛЬНОЙ УСТАНОВКИ КОСМИЧЕСКОГО ОБЪЕКТА В УСЛОВИЯХ ПЕРЕМЕННОЙ ВНЕШНЕЙ ТЕПЛОВОЙ НАГРУЗКИ

Авторы:
Благородов Анатолий Максимович Лушкина Тамара Леонидовна Рожков Валерий Александрович
Все (5)
Номер заявки
2005116852/11
Дата подачи заявки
02.06.2005
Опубликовано
10.01.2007
Страна
RU
Как управлять
интеллектуальной собственностью
Реферат

[16]

Изобретение относится к устройствам регулирования температуры на борту объектов ракетно-космической техники, преимущественно в условиях полета. Предлагаемая система термостатирования содержит топливный бак, контур циркуляции теплоносителя с теплообменником и нагнетателем, радиатор-охладитель, а также две термоэлектрические батареи. "Холодные" коммутационные пластины этих батарей, на которых установлены первые датчики температуры, по всей своей наружной поверхности образуют тепловой контакт с наружной поверхностью бака. "Горячие" коммутационные пластины, на которых установлен второй, общий для них датчик температуры, образуют аналогичный тепловой контакт с теплообменником. Термоэлектрические батареи получают электропитание от независимых управляемых блоков питания, которые выполнены с возможностью изменения напряжения питания по сигналу от блоков управления. Последние получают сигналы от индивидуальных первых датчиков температуры и общего второго датчика температуры. При перегреве какой-либо "горячей" коммутационной пластины по сигналу второго датчика температуры электропитание термоэлектрической батареи отключается и восстанавливается при понижении температуры. По сигналам первых датчиков температуры производится изменение напряжения питания. Технический результат изобретения заключается в увеличении срока хранения жидкого компонента ракетного топлива двигательной установки космического объекта в полете при сохранении характеристик двигателей. 1 ил.

Формула изобретения

Управляемая система термостатирования жидкого компонента ракетного топлива двигательной установки космического объекта в условиях переменной внешней тепловой нагрузки, содержащая топливный бак, контур циркуляции теплоносителя с теплообменником и нагнетателем, радиатор-охладитель, а также термоэлектрическую батарею, установленную на наружной поверхности бака, "холодная" коммутационная пластина которой, на которой установлен первый датчик температуры, по всей своей наружной поверхности образует тепловой контакт с наружной поверхностью бака, а "горячая" коммутационная пластина, на которой установлен второй датчик температуры, по всей своей наружной поверхности образует тепловой контакт с теплообменником, при этом термоэлектрическая батарея получает электропитание от управляемого блока питания, отличающаяся тем, что содержит еще одну термоэлектрическую батарею и управляемый блок питания, при этом две термоэлектрические батареи разделены по электропитанию на два одинаковых канала, каждый из которых питается от независимых управляемых блоков питания, управляемые блоки питания выполнены с возможностью изменения напряжения питания по сигналу от блоков управления, которые получают сигналы от индивидуальных первых датчиков температуры и общего второго датчика температуры, причем при перегреве "горячей" коммутационной пластины по сигналу второго датчика температуры электропитание соответствующей термоэлектрической батареи отключается и восстанавливается при понижении температуры, а по сигналам первых датчиков температуры производится изменение напряжения питания.

Описание

[1]

Изобретение относится к ракетно-космической технике и может быть использовано для длительного хранения жидкого компонента ракетного топлива двигательной установки на борту космического объекта в условиях полета.

[2]

Известны системы термостатирования жидкого компонента ракетного топлива двигательной установки космического объекта (см RU 2222479 В 64 G 1/50 27.01.2004, RU 2225810 В 64 G 1/50 20.03.2004, GB 2002907 G 01 N 27/12 1979, JP 62000727 F 23 N 5/24 1987).

[3]

Наиболее близким по технической сути к предложенному является изобретение RU 2225810 В 64 G 1/50 20.03.2004, которое характеризует систему термостатирования жидкого компонента ракетного топлива двигательной установки космического объекта, содержащую топливный бак с теплоизоляцией, контур циркуляции теплоносителя с теплообменником и нагнетателем, а также тепловой аккумулятор и радиатор-охладитель, отличающуюся тем, что указанный контур включает в себя тепловой аккумулятор, последовательно соединенный с нагнетателем и теплообменником и сообщенный теплопроводом с радиатором-охладителем, а на наружной поверхности бака установлена термоэлектрическая батарея, холодная коммутационная пластина которой по всей своей наружной поверхности образует тепловой контакт с наружной поверхностью бака, а горячая коммутационная пластина по всей своей наружной поверхности образует тепловой контакт с теплообменником.

[4]

Предполагается, что при постоянном напряжении питания термобатарея поддерживает постоянную разность температур между своими обкладками и, следовательно, температура охлаждаемого бака с топливом имеет уровень отличный на эту разность от температуры аккумулятора холода, но стабильность, равную стабильности температуры аккумулятора холода.

[5]

Известное устройство действительно реализует заявленную схему стабилизации температуры, но при одном условии - величина внешних притоков тепловой энергии будет постоянной.

[6]

Это условие большей частью не соблюдается, например для космического корабля, меняющего в процессе полета свою ориентацию относительно солнца. В предложенном устройстве нестабильность притока внешней энергии обусловит нестабильность температуры охлаждаемого бака, что заставило предпринять поиск новых технических решений устройств, реализующих приведенный выше способ обеспечения длительной сохранности топлива космического корабля.

[7]

Технический результат заключается в увеличении срока хранения жидкого компонента ракетного топлива двигательной установки космического объекта в полете при сохранении характеристик двигателей.

[8]

Для достижения указанного результата предлагается управляемая система термостатирования жидкого компонента ракетного топлива двигательной установки космического объекта в условиях переменной внешней тепловой нагрузки, содержащая топливный бак, контур циркуляции теплоносителя с теплообменником и нагнетателем, радиатор-охладитель, а также термоэлектрическую батарею, установленную на наружной поверхности бака, «холодная» коммутационная пластина которой, на которой установлен первый датчик температуры, по всей своей наружной поверхности образует тепловой контакт с наружной поверхностью бака, а «горячая» коммутационная пластина, на которой установлен второй датчик температуры, по всей своей наружной поверхности образует тепловой контакт с теплообменником, при этом термоэлектрическая батарея получает электропитание от управляемого блока питания, при этом система содержит еще одну термоэлектрическую батарею и управляемый блок питания, две термоэлектрические батареи разделены по электропитанию на два одинаковых канала, каждый из которых питается от независимых управляемых блоков питания, управляемые блоки питания выполнены с возможностью изменения напряжения питания по сигналу от блоков управления, которые получают сигналы от индивидуальных первых датчиков температуры и общего второго датчика температуры, причем при перегреве «горячей» коммутационной пластины по сигналу второго датчика температуры электропитание соответствующей термоэлектрической батареи отключается и восстанавливается при понижении температуры, а по сигналам первых датчиков температуры производится изменение напряжения питания.

[9]

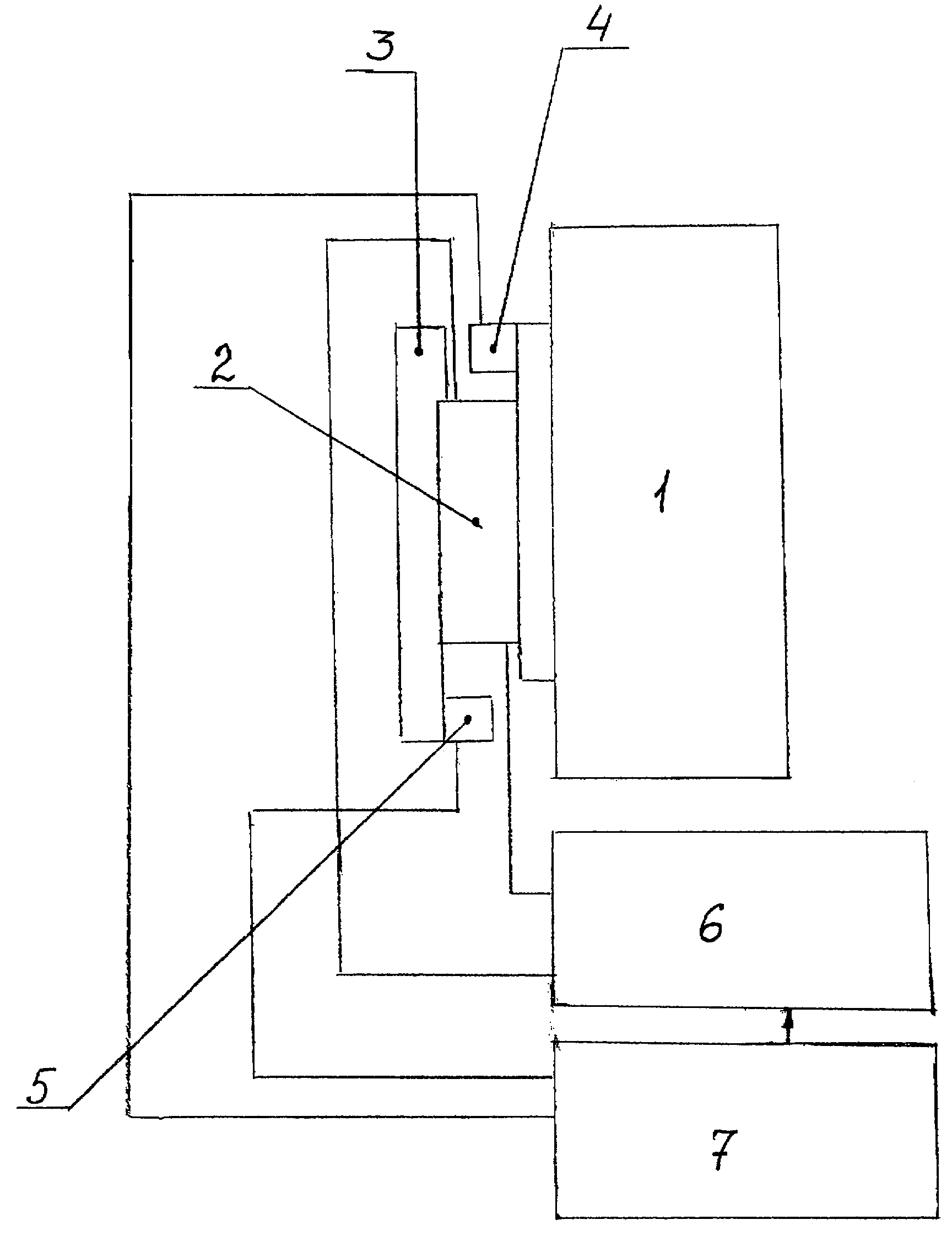
На фиг.1 представлена структурная функциональная схема управляемой системы термостатирования жидкого компонента ракетного топлива двигательной установки космического объекта в условиях переменной внешней тепловой нагрузки, где топливный бак 1, термоэлектрическая батарея 2, контур циркуляции теплоносителя 3, первый и второй датчики температуры 4 и 5 соответственно, управляемый блок питания 6 и блок управления 7.

[10]

Управляемая система термостатирования жидкого компонента ракетного топлива двигательной установки космического объекта в условиях переменной внешней тепловой нагрузки работает следующим образом.

[11]

Управляемый блок питания 6 подает на термоэлектрическую батарею 2 напряжение, пропорциональное подаваемому на него сигналу от блока управления 7.

[12]

Блок управления 7 получает сигналы от первого и второго датчиков температуры 4 и 5, расположеных с горячей и холодной сторон термоэлектрической батареи 2, и по заданному алгоритму вырабатывает сигнал управления управляемым блоком питания 6. Алгоритм обеспечивает автоматическое управление величиной холодопроизводительности термоэлектрической батареи 2 с учетом максимальной экономичности потребления электроэнергии.

[13]

Алгоритм блока управления 7 составлен таким образом, что при прекращении подачи теплоносителя и перегрева теплоперехода с горячей стороны по сигналу второго датчика 5, на нем электропитание термомодулей отключается и восстанавливается при понижении температуры на теплопереходе.

[14]

Следует отметить, что предлагаемое устройство не требует в своем составе наличия аккумулятора тепла. Автоматика устройства парирует изменение температуры теплоносителя путем изменения режима работы термоэлектрической батареи 3.

[15]

Существенное повышение надежности дает дублирование системы термоэлектрического охлаждения. Применение двух независимых каналов охлаждения позволяет повысить равномерность охлаждения бака с топливом, поскольку при поломке электронники одного из каналов одна термоэлектрическая батарея, питаемая исправным блоком остается работоспособной и препятствует перетоку тепловой энергии от теплоносителя к баку.

Как компенсировать расходы
на инновационную разработку
Похожие патенты