патент
№ RU 2606300
МПК F01N5/02

Термоэлектрический генератор в выпускной системе отработавших газов двигателя внутреннего сгорания

Авторы:
Онищенко Дмитрий Олегович Арутюнян Георгий Артурович Башков Валерий Михайлович
Все (6)
Номер заявки
2015157113
Дата подачи заявки
30.12.2015
Опубликовано
10.01.2017
Страна
RU
Как управлять
интеллектуальной собственностью
Чертежи 
3
Реферат

Изобретение может быть использовано в автомобильных двигателях внутреннего сгорания. Термоэлектрический генератор размещен в выпускной системе отработавших газов двигателя внутреннего сгорания. Термоэлектрический генератор состоит из горячего теплообменника (1) и термоэлектрических модулей (4), установленных на горячем теплообменнике (1). Горячий теплообменник (1) имеет правильную многогранную продольную форму с продольным оребрением с переменным по длине профилем продольных ребер (2). Поверх термоэлектрических модулей (4) установлены холодные теплообменники (5) с потоком жидкости, текущим против направления течения отработавших газов. Холодные теплообменники (5) плотно прижаты к пластинам термоэлектрических модулей (4) и через них прижаты к общему горячему теплообменнику (1) вкручиваемыми в прижимные рамки (9) винтами (8) с упругими компенсационными элементами. Технический результат заключается в обеспечении равномерности распределения температур по длине теплообменника. 3 з.п. ф-лы, 4 ил.

Формула изобретения

1. Термоэлектрический генератор в выпускной системе отработавших газов двигателя внутреннего сгорания, характеризующийся тем, что состоит из горячего теплообменника и термоэлектрических модулей, установленных на горячем теплообменнике, горячий теплообменник имеет правильную многогранную продольную форму с продольным оребрением с переменным по длине профилем продольных ребер, также поверх термоэлектрических модулей установлены холодные теплообменники с потоком жидкости, текущим против направления течения отработавших газов, холодные теплообменники плотно прижаты к пластинам термоэлектрических модулей и через них к общему горячему теплообменнику вкручиваемыми в прижимные рамки винтами с упругими компенсационными элементами.

2. Термоэлектрический генератор по п. 1, характеризующийся тем, что горячий теплообменник выполнен в форме шестигранника, или восьмигранника, или квадрата, или иного правильного многогранника.

3. Термоэлектрический генератор по п. 1, характеризующийся тем, что в качестве упругих компенсационных элементов использованы тарельчатые или винтовые пружины.

4. Термоэлектрический генератор по п. 1, характеризующийся тем, что количество ребер оребрения варьируемое, а также ребра могут быть расположены последовательно, но отдельно друг от друга с постоянным или переменным шагом отстояния друг от друга и/или с переменным углом наклона к потоку отработавших газов.

Описание

[1]

Область техники

[2]

Изобретение относится к области рекуперации тепловой энергии отработавших газов (ОГ) двигателя внутреннего сгорания (ДВС) и прямого преобразования тепловой энергии в электрическую и может быть использовано для обеспечения электрической энергией узлов системы электроснабжения автомобиля с ДВС.

[3]

Уровень техники

[4]

Известен термоэлектрический генератор (ТЭГ) (патент РФ RU 2519529 УСТРОЙСТВО ДЛЯ ВЫРАБОТКИ ЭЛЕКТРИЧЕСКОЙ ЭНЕРГИИ С ИСПОЛЬЗОВАНИЕМ ТЕПЛА ОТРАБОТАВШИХ ГАЗОВ (МПК F02G 5/02, F01N 5/02, H01L 35/30, F01N 3/20, опубликовано: 10.06.2014)), в котором его термоэлементы расположены в радиальном направлении относительно оси течения ОГ.

[5]

Однако недостатками данной конструкции являются сложность обеспечения равномерной температуры на горячих сторонах термоэлементов, а также большие радиальные размеры, которые усложняют встраивание ТЭГ в систему выпуска ОГ ДВС.

[6]

Также известна конструкция (патентная заявка США US 20130340801 Thermoelectric Power Generation System Using Gradient Heat Exchanger (МПК H01L 35/30, опубликовано 2013-12-26)) ТЭГ с градиентным теплообменником.

[7]

Недостатком данной конструкции являются большие геометрические размеры и сложность осуществления прижима термоэлементов.

[8]

Также известна конструкция ТЭГ (патент РФ RU 2563305 ТЕРМОЭЛЕКТРИЧЕСКИЙ ГЕНЕРАТОР АВТОМОБИЛЯ (МПК H01L 35/28, опубликовано: 20.09.2015)) цилиндрической формы с воздушным охлаждением для установки на выпускную трубу ДВС автомобиля.

[9]

Недостатком данной конструкции является сложность обеспечения необходимой температуры на холодной стороне термоэлемента, а также сложность обеспечения равномерности температур на горячей стороне термоэлементов (или термомодулей).

[10]

Также известна конструкция ТЭГ для автомобиля с ДВС (патент США US 5625245 Thermoelectric generator for motor vehicle (МПК H01L 35/00; H02N 3/00, опубликовано: 1997-04-29)), выбранного в качестве прототипа, состоящего из горячего теплообменника преимущественно восьмигранной формы с цилиндрическим корпусом в виде трубы, которая является опорой для пружин, используемых для прижима термоэлементов.

[11]

Недостатком этой конструкции также является сложность обеспечения равномерного распределения температур и еще большая масса, сложность механизма прижима и нетехнологичность использования трубы большого диаметра.

[12]

Раскрытие изобретения

[13]

Заявляемое изобретение направлено на решение обозначенных проблем, а именно: на повышение эффективности работы ТЭГ за счет обеспечения равномерности распределения температур по горячей стороне термоэлементов и за счет обеспечения надежного прижима термоэлементов к теплообменникам во всем диапазоне температур.

[14]

Техническим результатом является повышение эффективности работы ТЭГ за счет обеспечения равномерности распределения температур (в расчетном примере снижение перепада температуры с 70 до 10 градусов) по длине теплообменника ТЭГ.

[15]

Предлагаемый термоэлектрический генератор в выпускной системе отработавших газов (ОГ) (на выхлопной трубе) двигателя внутреннего сгорания (ДВС) состоит из горячего теплообменника и термоэлектрических модулей (или термоэлементов), установленных на горячем теплообменнике. Горячий теплообменник встроен в систему выпуска отработавших газов двигателя внутреннего сгорания, имеет преимущественно правильную многогранную продольную форму с продольным оребрением с переменным по длине профилем продольных ребер, имеет расширяющийся патрубок на входе и сужающийся на выходе, через который протекают ОГ, а также поверх термоэлементов установлены холодные теплообменники с потоком жидкости, текущим против направления течения ОГ, холодные теплообменники плотно прижаты к пластинам термоэлементов и через них к общему горячему теплообменнику вкручиваемыми в прижимные рамки винтами с упругими компенсационными элементами, компенсирующими возможные воздушные зазоры вследствие разнородных температурных деформаций материалов с разными коэффициентами температурного расширения.

[16]

Горячий теплообменник выполнен в форме шестигранника, или восьмигранника, или квадрата, или иного преимущественно правильного многогранника.

[17]

В качестве упругих компенсационных элементов могут быть использованы тарельчатые или винтовые пружины.

[18]

Количество ребер оребрения может быть переменным (варьироваться). Также ребра могут быть расположены последовательно, но отдельно друг от друга с постоянным или переменным шагом отстояния друг от друга и/или с переменным углом наклона к потоку ОГ.

[19]

Перечень чертежей

[20]

На фиг. 1 представлен общий вид ТЭГ в изометрии с частичным разрезом для показа внутреннего вытеснителя ОГ.

[21]

На фиг. 2 представлен боковой разрез ТЭГ с показом продольного ребра переменного профиля.

[22]

На фиг. 3 представлен график сравнения распределения температур по длине ТЭГ - с постоянным и с переменным оребрением.

[23]

На фиг. 4 представлен набор дискретных ребер с шагом отстояния друг от друга и с переменным углом наклона ребер относительно потока ОГ (или продольной оси ТЭГ).

[24]

Осуществление изобретения

[25]

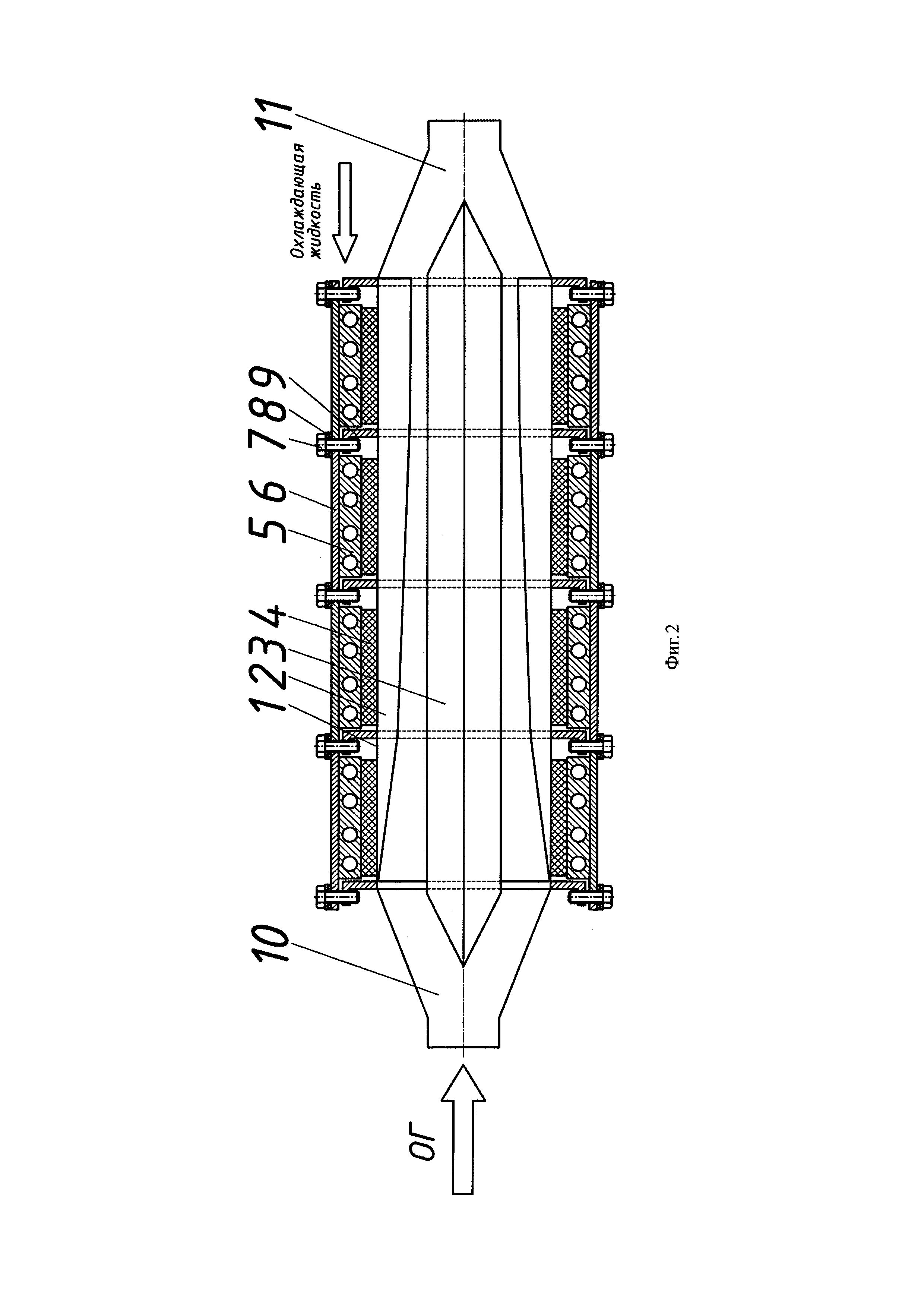
ТЭГ, показанный на фиг. 1, состоит из горячего теплообменника 1 с ребрами переменного сечения 2 и вытеснителем 3, термоэлектрических модулей 4, поверх которых располагаются холодные теплообменники 5. На холодные теплообменники воздействуют прижимные пластины 6. Усилие на прижимных пластинах создается с помощью прижимных винтов 7, которые воздействуют на прижимную пластину через пакет тарельчатых или винтовых пружин 8. Винты вкручены в прижимные рамки 9. Отработавшие газы поступают в ТЭГ через расширяющийся патрубок 10 и выводятся через сужающийся патрубок 11.

[26]

При работе ДВС до 37% энергии сгоревшего топлива на номинальном режиме работы ДВС теряется вместе с энергией ОГ. Применение ТЭГ является перспективным методом рекуперации части теряемой энергии ОГ и повышения эффективности двигателя внутреннего сгорания. В ТЭГ используют термоэлектрические модули (или термоэлементы), работа которых основана на эффекте Зеебека. Термоэлемент имеет горячую и холодную стороны. Термоэлемент преобразует разность температур на горячей и холодной сторонах в электрическую энергию, которая может быть использована для питания электрических потребителей транспортного средства и зарядки аккумулятора, заменяя или частично разгружая штатный генератор. Горячая сторона соприкасается со стенкой горячего теплообменника, который нагревается от ОГ.

[27]

ТЭГ устанавливают в системе выпуска ОГ. Его рационально устанавливать на минимальном расстоянии от самого двигателя. В случае наличия каталитического нейтрализатора ТЭГ следует располагать непосредственно после него, чтобы не нарушать его работу.

[28]

Для обеспечения эффективной теплоотдачи от ОГ к горячему теплообменнику необходимо применять различные средства интенсификации теплообмена.

[29]

Одним из наиболее эффективных и технологичных средств интенсификации теплообмена является продольное оребрение. Так как ОГ охлаждаются по мере протекания вдоль ТЭГ, термоэлементы, расположенные в начале и в конце ТЭГ, работают в разных условиях, что снижает эффективность работы ТЭГ. Для решения этой проблемы предлагается применять оребрение с профилем, изменяющимся по длине проточной части ТЭГ, как показано на фиг. 2.

[30]

Профиль ребра имеет особенности, вызванные тем, что первый и последний термоэлектрические модули работают в условиях, отличных от остальных, так как воспринимают больший тепловой поток из-за отсутствия с одной из сторон соседнего термоэлемента с холодным теплообменником. Поэтому на входе в ТЭГ ребра имеют меньшую площадь или могут отсутствовать вовсе. В области первого термоэлемента профиль ребер резко увеличивается, затем, на протяжении длины проточной части профиль ребер продолжает плавно нарастать. В области последнего термоэлемента угол нарастания высоты профиля ребра может несколько уменьшиться, так как последний термоэлемент получает больше тепла из-за отсутствия последующего за ним термоэлемента. Такое оребрение с переменным продольным профилем позволяет уменьшить перепад температур по длине проточной части ТЭГ, ТЭГ с габаритами, подходящими для его установки на легковой автомобиль, имеет преимущественно от 2 до 4 продольных ребер оребрения на каждой своей грани многогранника. Толщина ребер может составлять от 1 до 3 мм. Угол нарастания высоты профиля в начале проточной части ТЭГ транспортного средства составляет преимущественно от 6° до 8°. Угол нарастания профиля в средней части ТЭГ составляет преимущественно от 1° до 3°, а в области последних элементов - от 0° до 2°. При количестве термоэлементов по длине грани ТЭГ, не превышающем пяти штук, области влияния краевых эффектов распространяются преимущественно на длину одного элемента. При количестве элементов по длине каждой грани ТЭГ, превышающем шесть, а в первую очередь от 8 до 10, область нарастания и замедления нарастания высоты профиля ребер на краях ТЭГ преимущественно распространяется на длину расположения двух термоэлектрических модулей.

[31]

На фиг. 3. представлено сравнение распределения температур по длине ТЭГ для конструкций с постоянным и с переменным оребрением, полученное по результатам численного имитационного моделирования.

[32]

Кривая 12 показывает изменение температуры на горячем теплообменнике для конструкции с оребрением постоянного сечения, а кривая 13 - для конструкции с переменным оребрением по продольной координате вдоль ТЭГ от входного до выходного патрубков. Применение предложенного оребрения позволило снизить перепад температур с 70°C до 10°C. При этом обеспечение значительно более равных температурных условий для термоэлектрических модулей позволяет каждому из них работать в оптимальном режиме и за счет этого увеличивать эффективность работы всего ТЭГ. Имитационное математическое моделирование проводилось на основе созданной конечно-объемной модели ТЭГ.

[33]

Горячий теплообменник с продольным оребрением изготовлен из стали сваркой из плоских листов. Таким образом, возможно изготовить ребра с любым профилем. Сварочное соединение обеспечивает качественный тепловой контакт и высокую эффективность работы ребер. Для обеспечения гладкой и плоской наружной грани горячего теплообменника, с которой будут контактировать термоэлементы, после сварки эти грани подвергают шлифовке.

[34]

Внутри проточной части расположен вытеснитель ОГ, который обеспечивает выталкивание ОГ из центра проточной части к стенкам горячего теплообменника, на которых необходимо повысить теплоотдачу. Вытеснитель изготавливается полым с сечением, повторяющим сечение горячего теплообменника, но также может быть выполнен с круглым сечением. Наличие вытеснителя повышает турбулентность течения ОГ и повышает теплоотдачу через горячий теплообменник. Вытеснитель крепят к ребрам оребрения также с помощью сварки. Для этого на ребрах выполняются локальные увеличения высоты профиля с небольшим поперечным сечением, которые не оказывают значительного влияния на поток ОГ. Для ТЭГ легкового автомобиля достаточно крепления на входе и на выходе из ТЭГ. Для термоэлектрических генераторов больших размеров, например, для грузовых автомобилей, могут быть добавлены промежуточные крепления в средней части вытеснителя. Размеры вытеснителя выбирают так, чтобы обеспечивать вытеснение ОГ к наружным стенкам горячего теплообменника и повысить турбулентность потока, но при этом не создавать чрезмерного аэродинамического сопротивления. Оптимальное отношение внешнего габарита вытеснителя к большему поперечному внутреннему размеру проточной части горячего теплообменника лежит преимущественно в диапазоне от 0,4 до 0,6.

[35]

Поверх наружных граней горячего теплообменника установлены термоэлектрические модули. Для обеспечения качественного теплового контакта с горячим теплообменником горячая часть термоэлемента покрывается термостойкой эмалью. Поверх термоэлементов установлены холодные жидкостные теплообменники. Так как термоэлементы имеют большой допуск на свою толщину (порядка 1%, например 10±0,1 мм), то для обеспечения равномерного прижима каждого термоэлемента лучше применять не один общий холодный теплообменник, а индивидуальные холодные теплообменники. Холодные теплообменники, расположенные на термоэлементах по одной грани горячего теплообменника, соединены общей жидкостной линией последовательно, а ряды холодных теплообменников по разным граням горячего теплообменника соединены общими жидкостными линиями параллельно на общем входе и общем выходе ТЭГ. Для дополнительной компенсации падения температуры направление течения охлаждающей жидкости противоположно направлению течения ОГ. Жидкостные холодные теплообменники изготовлены из алюминия с высоким значением коэффициента теплоотдачи. На поверхность соприкосновения холодного теплообменника и термоэлемента наносят теплопроводящую термопасту.

[36]

Кроме того, для избавления от воздушных зазоров и уменьшения контактных термических сопротивлений на поверхностях соприкосновения термоэлемента и горячего и холодного теплообменников необходимо прижимать их друг к другу с достаточным усилием и равномерностью. Прижатие обеспечивается прижимной пластиной, воздействующей на холодный теплообменник. За счет своей достаточной толщины теплообменник равномерно распределяет усилие прижима и создает равномерное давление на термоэлемент, прижимая его к горячему теплообменнику. Усилие прижима на каждом термоэлементе создается за счет двух винтов, вкручиваемых в прижимную рамку. Для эффективной работы современных термоэлектрических элементов необходимо обеспечить на них давление преимущественно от 10 до 20 кгс/см2. Для обеспечения этого давления достаточно применения двух болтов М8 на каждой прижимной пластине. В процессе работы разные части ТЭГ нагреваются до разных температур, и это приводит к разности в величине их термического расширения. Кроме того, детали ТЭГ изготовлены из различных материалов, которые имеют отличающиеся значения коэффициента температурного расширения. По этим причинам в процессе работы и нагрева ТЭГ изменяется усилие прижима на термоэлементах. Для компенсации температурного расширения в конструкции прижима применяют упругие компенсационные элементы. В роли таких элементов преимущественно выступают тарельчатые пружины, расположенные между прижимными винтами и прижимной пластиной. Тарельчатые пружины отличаются компактными размерами, малой массой и примерно постоянным усилием, создаваемым в процессе деформации. Винты вкручивают в прижимные рамки, расположенные с равным шагом по длине ТЭГ. Рамка изготовлена из листового металла, поэтому является технологичной, дешевой в изготовлении и имеет малую массу. Силовые рамки расположены только между термоэлементами, а пространство над элементами может быть закрыто легким ненагруженным корпусом из алюминия, что также приводит к снижению массы. Крайние рамки, также как сужающийся и расширяющийся патрубки, крепятся болтовым соединением к торцам горячего теплообменника. Для крепления к одной рамке двух прижимных пластин соседних элементов они размещаются по диагонали. Необходимого усилия прижатия можно достичь, рассчитав необходимый момент затяжки болтов.

[37]

Оребрение может быть не только строго продольным, для большей интенсификации теплообмена может быть применено оребрение из набора последовательно расположенных вдоль продольной оси ТЭГ отдельных ребер, расположенных при этом не строго продольно, а под углом к потоку ОГ, как показано на фиг. 4. Такое оребрение приводит к повышению газодинамических потерь, но также позволяет повысить теплоотдачу и обеспечить необходимый тепловой поток к термоэлементам через горячий теплообменник при ограниченных габаритных размерах ТЭГ. Для выравнивания температуры возможно как варьировать шаг между последовательно расположенными ребрами вдоль продольной оси ТЭГ, так и варьировать угол наклона ребер по отношению к потоку ОГ. Второй вариант является более предпочтительным, так как в этом случае возможно располагать ребра под соответствующими им термоэлементами и увеличивать угол между ребром и продольной осью ТЭГ. Для ТЭГ легкового автомобиля толщина ребер составляет преимущественно от 1 до 3 мм. Угол между ребром и осью ТЭГ изменяется преимущественно в диапазоне от 0° до 45°, но предпочтительно от 10° до 30°. Чем горячее, тем шаг между ребрами может быть больше, а угол наклона ребер меньше, и наоборот.

[38]

Предлагаемая конструкция ТЭГ разработана в ходе выполнения прикладных научных исследований (ПНИ) в рамках Соглашения о предоставлении субсидии №14.577.21.0113 между Министерством образования и науки Российской Федерации и МГТУ им. Н.Э. Баумана.

Как компенсировать расходы
на инновационную разработку
Похожие патенты