патент
№ RU 2699849
МПК A62C37/00

ПОЖАРНЫЙ МИНИ-РОБОТ В ПОТОЛОЧНОМ ИСПОЛНЕНИИ

Авторы:
Горбань Юрий Иванович
Номер заявки
2019102082
Дата подачи заявки
25.01.2019
Опубликовано
11.09.2019
Страна
RU
Как управлять
интеллектуальной собственностью
Чертежи 
1
Реферат

Пожарный мини-робот в потолочном исполнении относится к роботизированным установкам пожаротушения. Пожарный мини-робот в потолочном исполнении включает в себя пожарный ствол, направленный вниз, снабженный приводами вертикального и горизонтального наведения, устройство обнаружения загорания, блок программного управления и насадок, состоящий из головки с бампером с приводом регулирования угла распыливания струи, корпуса насадка с потокоформирующей поверхностью на выходе, тарельчатого сердечника со штоком. Согласно изобретению часть корпуса с потокоформирующей поверхностью на выходе выполнена подвижной, приводимой в движение штифтом, установленным на головке до контакта с тарельчатым сердечником. Изобретение позволяет повысить быстродействие устройства при подаче и отключении воды, формировать адресную подачу воды короткими импульсами и соответственно повысить эффективность устройства и снизить потери от избыточного применения воды. 1 ил.

Формула изобретения

Пожарный мини-робот в потолочном исполнении, включающий в себя пожарный ствол, направленный вниз, снабженный приводами вертикального и горизонтального наведения, устройство обнаружения загорания, блок программного управления и насадок, состоящий из головки с бампером с приводом регулирования угла распыливания струи, корпуса насадка с потокоформирующей поверхностью на выходе, тарельчатого сердечника со штоком, отличающийся тем, что часть корпуса с потокоформирующей поверхностью на выходе выполнена подвижной, приводимой в движение штифтом, установленным на головке до контакта с тарельчатым сердечником.

Описание

[1]

Изобретение относится к устройствам пожаротушения, а именно к роботизированным установкам пожаротушения.

[2]

Известны пожарные роботы и роботизированные установки пожаротушения, например, ПР-ЛСД-С20У-ИК и РУП-2ПР-ЛСД-С20У-ИК (см. Ю.И. Горбань. Пожарные роботы и ствольная техника в пожарной автоматике и пожарной охране. М.: Пожнаука, 2013, 352 с.).

[3]

Недостатком известных устройств является их конструктивное напольное исполнение стволом вверх, что затрудняет применение устройства из-за возможного перекрытия струи технологическим оборудованием и в этой связи возникающих сложностях при расстановке устройств в защищаемой зоне.

[4]

Наиболее близким по технической сути, с более удобным размещением устройства относительно защищаемой зоны, является пожарный мини-робот в потолочном исполнении ПР-ЛСД-С4Уш-ТРВ-ИК (см. Ю.И. Горбань «От спринклеров к пожарным мини-роботам» // Противопожарная защита. Пожарная автоматика. Средства спасения: Межотраслевой специализированный журнал. М., 2018, стр. 44-45), который включает в себя пожарный ствол в потолочном исполнении, направленный вниз, подключенный к пожарному трубопроводу, снабженный приводами вертикального и горизонтального наведения, устройство обнаружения загорания, блок программного управления и насадок, состоящий из корпуса с потокоформирующей поверхностью на выходе, тарельчатого сердечника со штоком и головки с бампером с приводом регулирования угла распыливания струи.

[5]

Недостатком данного устройства является низкое быстродействие при подаче и отключении воды, осуществляемом вынесенным перекрывным устройством, например, в виде дисковых затворов или шаровых кранов с приводами, что снижает эффективность устройства, увеличивает время до начала тушения, приводит к избыточному использованию огнетушащего вещества.

[6]

В основу изобретения поставлена задача, относящаяся к устройствам с малыми расходами воды, не вызывающим в системе водоснабжения эффектов гидравлических ударов, создания устройства - пожарного робота с насадком, совмещающим в себе функции регулировки угла распыливания струи и быстродействующего перекрытия струи, позволяющим повысить быстродействие устройства при подаче и отключении воды, формировать адресную подачу воды короткими импульсами и, соответственно, повысить эффективность устройства и снизить потери от избыточного применения воды.

[7]

Эта цель достигается тем, что в устройстве, включающем в себя пожарный ствол, направленный вниз, снабженный приводами вертикального и горизонтального наведения, устройство обнаружения загорания, блок программного управления и насадок, состоящий из головки с бампером с приводом регулирования угла распыливания струи, корпуса насадка с потокоформирующей поверхностью на выходе, тарельчатого сердечника со штоком, часть корпуса с потокоформирующей поверхностью на выходе выполнена подвижной, приводимой в движение штифтом, установленным на головке до контакта с тарельчатым сердечником.

[8]

Предложенное техническое решение позволяет значительно повысить быстродействие устройства при подаче и отключении воды, создать режим подачи воды короткими импульсами и, соответственно, повысить эффективность использования огнетушащего вещества, при этом снизив потери от его избыточного применения.

[9]

Автору не известны устройства с отличительными признаками в соответствии с заявляемыми техническими решениями.

[10]

Изобретение отвечает требованиям новизны и положительного эффекта, а также критерию "существенные отличия".

[11]

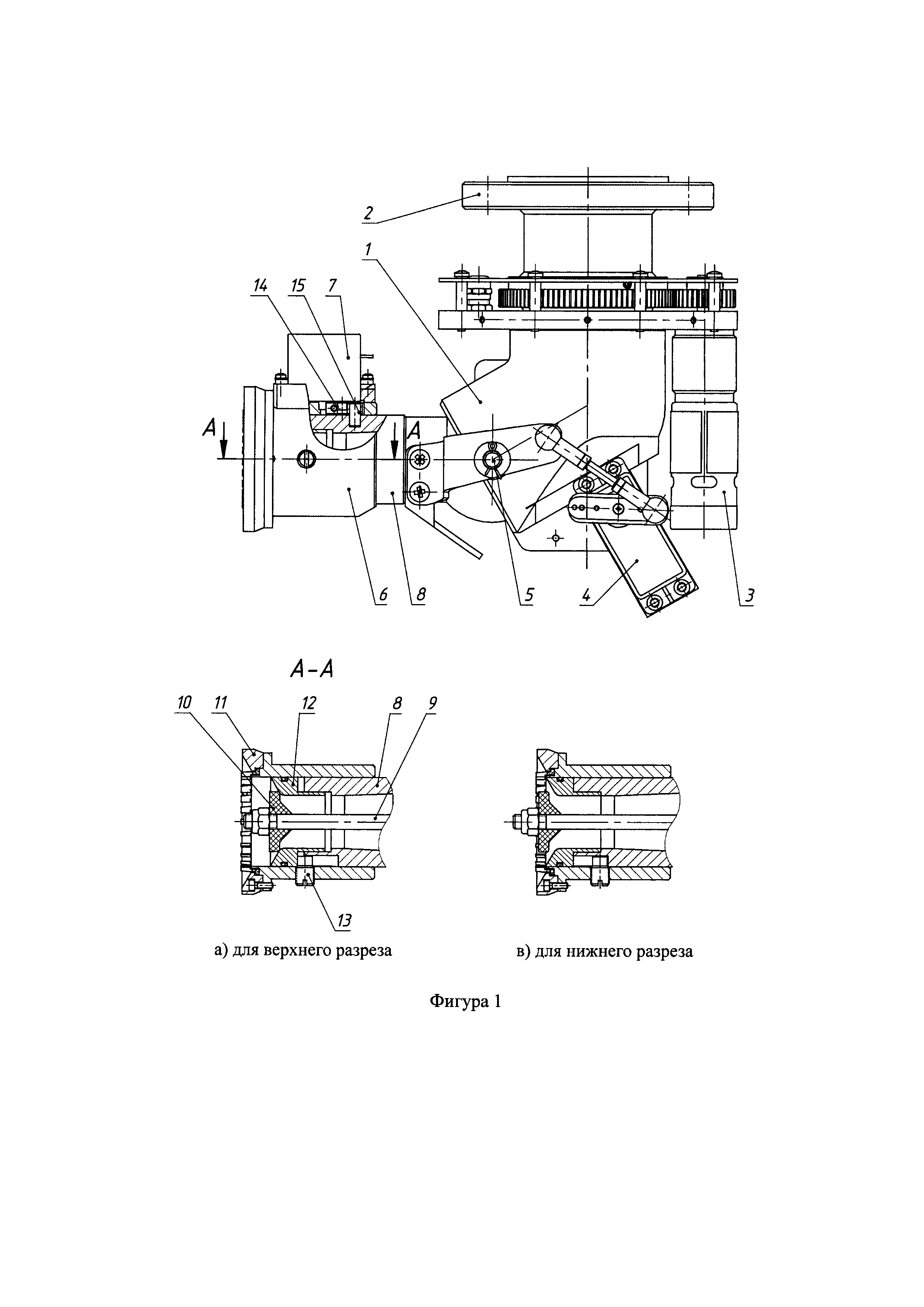
На фиг. 1 представлен пожарный мини-робот в потолочном исполнении.

[12]

Устройство содержит пожарный ствол 1, направленный вниз (см. Ю.И. Горбань «От спринклеров к пожарным мини-роботам» //Противопожарная защита. Пожарная автоматика. Средства спасения: Межотраслевой специализированный журнал. М., 2018, стр. 44-45), устанавливаемый на пожарном трубопроводе с использованием фланца 2, снабженный приводами горизонтального наведения 3 и вертикального наведения 4 ствола 1 с использованием поворотного канала в виде шарового шарнира на полуосях 5 (см. патент №2412733 «Пожарный монитор с шаровым шарниром»), устройство обнаружения загорания и блок программного управления - на схеме не показаны (см. Ю.И. Горбань. Пожарные роботы и ствольная техника в пожарной автоматике и пожарной охране. М.: Пожнаука, 2013 г., стр. 245-246). В устройство входит также насадок (см. Там же. Стр. 216-217), включающим в себя головку насадка 6 с бампером 11, с жестко установленным на ней приводом регулирования угла распыливания струи 7, перемещающим головку 6, шток 9 с тарельчатым сердечником 10, выполненным из фторопласта. На выходе корпуса насадка 8 выделена подвижная часть 12 с потокоформирующей поверхностью, приводимая в движение штифтом 3, установленным на головке насадка 6, перемещающимся в зоне, ограниченной пазом на корпусе насадка. На валу привода 7 установлен рычаг 14 со штифтом 15, установленным в поперечном пазу корпуса насадка 8.

[13]

Устройство работает следующим образом.

[14]

В дежурном режиме пожарный мини-робот находится в режиме ожидания. Насадок - в состоянии «перекрыто»: подвижная часть 12 корпуса насадка 8 плотно прилегает к тарельчатому сердечнику 10, удерживая давление воды, при этом штифт 13 находится в крайнем левом положении, см. Фиг. 1, разрез А-А, а). При поступлении сигнала «Пожар» пожарный мини-робот включается блоком программного управления в режим поиска, при этом включается привод горизонтального наведения 3 с устройством обнаружения загорания для кругового обзора. При обнаружении координат загорания ствол с насадком 1 приводами наведения 3,4 направляется на очаг загорания. Блок программного управления подает команду на тушение по заданным координатам, при этом привод насадка 7 вращением рычага 14 перемещает головку насадка 6 в позицию, соответствующую заданному углу распыливания. Головка насадка 6 и штифт 13 выходят из крайнего левого положения см. Фиг. 1, разрез А-А, в). Под давлением воды подвижная часть корпуса насадка 8 перемещается вправо и насадок переходит в состояние «открыто». При быстром переключении, в долю секунды, из состояний «перекрыто»-«открыто»-«перекрыто» формируются короткие импульсные заряды воды, используемые для адресной подачи воды. Это особенно актуально для защиты экспонатов в музеях, которые особенно чувствительны как к огню, так и к воде.

[15]

Предложенный пожарный мини-робот в потолочном исполнении, расположенный в зоне, удобной для обозрения и наведения струи на очаг пожара, является эффективным автоматическим и дистанционно управляемым средством борьбы с пожарами, позволяющим направить поток огнетушащего вещества непосредственно на очаг загорания, обнаруженный в ранней стадии.

[16]

В отличие от известных, предложенный пожарный мини-робот имеет быстродействующее компактное перекрывное устройство, совмещенное с механизмом регулирования угла распыливания, позволяющее значительно повысить эффективность устройства в целом, использовать огнетушащее вещество адресно в зону загорания, не допуская его избыточного применения, приносящего дополнительный ущерб, что особенно актуально для музейных объектов, зрелищных сооружений, объектов с массовым пребыванием людей.

Как компенсировать расходы
на инновационную разработку
Похожие патенты