патент
№ RU 2663548
МПК H01Q9/16

Симметричный вибратор

Авторы:
Маликов Андрей Петрович Орлов Валерий Алексеевич Бирюкова Тамара Семеновна
Все (5)
Номер заявки
2017139060
Дата подачи заявки
09.11.2017
Опубликовано
07.08.2018
Страна
RU
Как управлять
интеллектуальной собственностью
Чертежи 
2
Реферат

Изобретение относится к области антенно-фидерной техники. Симметричный вибратор состоит из трех частей, разделенных двумя зазорами. К частям вибратора по коаксиальным кабелям подведены противофазные высокочастотные напряжения равной величины. При этом участки вибратора равной величины выполнены из металлического листа и имеют форму прямоугольника. Два отрезка коаксиального кабеля равной длины присоединены к зазорам межу участками, их противоположные концы расположены в середине среднего участка, и к ним через симметрирующее устройство присоединен входной коаксиальный кабель. Длина продольной стороны участка составляет (0,1-0,08) максимальной длины рабочей волны, а его ширина составляет от 0,6 до 1,0 его продольной стороны. Технический результат - значительное расширение рабочего диапазона симметричного вибратора и уменьшение его габаритов. 2 з.п. ф-лы, 4 ил.

Формула изобретения

1. Симметричный вибратор, разделенный на 3 участка двумя зазорами, равноудаленными от его середины, к которым по коаксиальным кабелям подведены противофазные высокочастотные напряжения равной величины, отличающийся тем, что участки равной величины выполнены из металлического листа и имеют форму прямоугольника, два отрезка коаксиального кабеля равной длины присоединены к зазорам между участками, их противоположные концы расположены в середине среднего участка, и к ним через симметрирующее устройство присоединен входной коаксиальный кабель, причем длина продольной стороны участка составляет (0,1-0,08) максимальной длины рабочей волны, а его ширина составляет от 0,6 до 1,0 его продольной стороны.

2. Симметричный вибратор по п. 1, отличающийся тем, что концы отрезков коаксиального кабеля расположены над серединой среднего участка на высоте не менее 1/12 длины его продольной стороны, центральные проводники отрезков коаксиального кабеля соединены между собой, входной коаксиальный кабель введен на средний участок через его середину, проложен по среднему участку и одному из отрезков коаксиального кабеля и присоединен к зазору между внешними проводниками отрезков коаксиального кабеля.

3. Симметричный вибратор по п. 2, отличающийся тем, что волновое сопротивление отрезков коаксиального кабеля выбрано в 2 раза большим волнового сопротивления входного коаксиального кабеля, а центральный проводник каждого отрезка коаксиального кабеля соединен с внешним проводником другого отрезка коаксиального кабеля.

Описание

[1]

Изобретение относится к области антенно-фидерной техники и может быть применено в качестве антенны с широким рабочим диапазоном частот.

[2]

Известен симметричный вибратор с трубчатыми плечами (А.С. Лавров, Г.Б. Резников. «Антенно-фидерные устройства». – Москва: Сов. Радио, 1974. - С. 96, рис. 5.1а, г). Ширина рабочего диапазона таких вибраторов - (10-15) %. Более широкополосны вибраторы с приподнятой точкой питания, в том числе и симметричные (М.С. Жук, Ю.Б. Молочков. «Проектирование антенно-фидерных устройств». – Москва: Энергия, 1966. - С. 149-151, рис. 3-18в).

[3]

Известна также широкополосная антенна, которая содержит вибратор, выполненный в виде пластины преимущественно квадратной формы, противовес в виде пластины прямоугольной формы, средство для подключения вибратора и противовеса к линии передачи (Патент RU №2111584 С1, Широкополосная антенна. – МПК6 H01Q 9/02. - 1998.05.20). Недостатками известной широкополосной антенны являются сложность конструкции и недостаточный коэффициент усиления.

[4]

Прототипом предложения является симметричный вибратор с двумя точками питания в виде зазоров, отстоящих на равных расстояниях от середины вибратора, к которым по коаксиальным кабелям подведены противофазные напряжения равной величины (журнал «Радиолюбитель» №4, 2015 г. г. Минск, стр. 26 рис. 1). Он также имеет недостаточно широкий рабочий диапазон и большие габариты, его длина равна примерно половине длины рабочей волны.

[5]

Технический результат предложения состоит в значительном расширении рабочего диапазона симметричного вибратора и уменьшении его габаритов.

[6]

Результат достигается тем, что в симметричном вибраторе, разделенном на 3 участка двумя зазорами, равноудаленными от его середины, к которым по коаксиальным кабелям подведены противофазные напряжения равной величины, участки равной величины выполнены из металлического листа, имеют прямоугольную форму. Два отрезка коаксиального кабеля равной длины присоединены к зазорам между участками. Их противоположные концы расположены в середине среднего участка, и к ним через симметрирующее устройство присоединен входной коаксиальный кабель, причем длина продольной стороны участка составляет (0,1÷0,08) максимальной длины рабочей волны, а его ширина составляет от 0,6 до 1,0 его продольной стороны.

[7]

Дополнительное увеличение технического эффекта достигается тем, что концы отрезков коаксиального кабеля расположены над серединой среднего участка на высоте не менее 1/12 длины его продольной стороны, центральные проводники отрезков коаксиального кабеля соединены между собой, входной коаксиальный кабель введен на средний участок через его середину, проложен по среднему участку и одному из отрезков коаксиального кабеля и присоединен к зазору между внешними проводниками отрезков коаксиального кабеля, а также тем, что волновое сопротивление отрезков коаксиального кабеля выбрано в 2 раза большим волнового сопротивления входного коаксиального кабеля, а центральный проводник каждого отрезка коаксиального кабеля соединен с внешним проводником другого отрезка коаксиального кабеля.

[8]

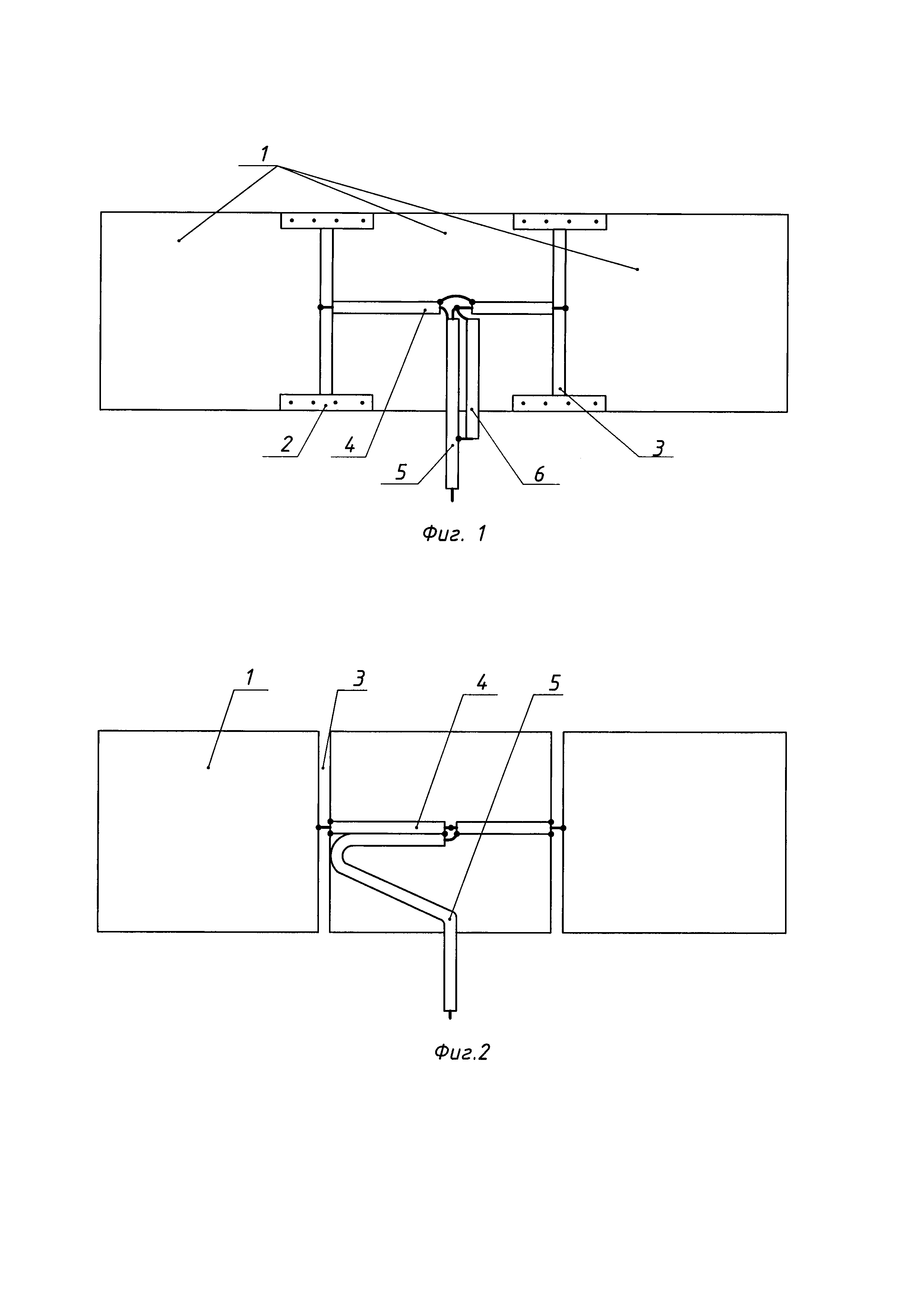
На чертежах представлено:

[9]

Фиг. 1

[10]

Вид сбоку симметричного вибратора (ось вибратора горизонтальна, плоскость участков 1 вертикальна - рабочее положение).

[11]

Фиг. 2

[12]

Вид сбоку симметричного вибратора по п. 2. Диэлектрические накладки 2 условно не показаны.

[13]

Фиг. 3

[14]

Вид снизу симметричного вибратора по п. 2.

[15]

Фиг. 4

[16]

Схема соединения отрезков коаксиального кабеля 4 и входного коаксиального кабеля 6 над серединой среднего участка 1.

[17]

На фигурах обозначено:

[18]

1 - участок

[19]

2 - диэлектрическая накладка

[20]

3 - зазор

[21]

4 - отрезки коаксиального кабеля

[22]

5 - входной коаксиальный кабель

[23]

6 - симметрирующее устройство

[24]

Симметричный вибратор содержит три участка 1, выполненных в виде металлических прямоугольных пластин, скрепленных между собой диэлектрическими накладками 2 с образованием зазоров 3. К сторонам зазоров 3 присоединены отрезки коаксиального кабеля 4. Отрезки коаксиального кабеля 4 проложены к середине среднего участка 1, где к их центральным проводникам присоединены входной коаксиальный кабель 5, снабженный симметрирующим устройством 6. Такое подключение обеспечивает равное и противофазное питание отрезков коаксиального кабеля 4, а с учетом их противонаправленного по отношению друг к другу положения возбуждает синфазные токи на всех трех участках 1. Симметрирующее устройство шунтирует входной кабель 5, что отрицательно сказывается на согласовании.

[25]

Для исключения этого влияния отрезки коаксиального кабеля 4 располагаются над участком 1 наклонно, так чтобы их концы располагались над участком 1 на высоте не менее 1/12 длины его продольной стороны, их центральные проводники соединяются между собой, а входной коаксиальный кабель присоединяется к зазору между внешними проводниками отрезков коаксиального кабеля 4.

[26]

Дальнейшее улучшение согласования достигается использованием отрезков коаксиального кабеля 4 с удвоенным волновым сопротивлением по отношению к волновому сопротивлению входного коаксиального кабеля 5, причем центральный проводник одного отрезка коаксиального кабеля 4 соединен с внешним проводником другого отрезка коаксиального кабеля 4 и наоборот.

[27]

Это объясняется тем, что в точке соединения отрезки коаксиального кабеля 4 соединены параллельно и согласованы, поэтому с волновым сопротивлением входного коаксиального кабеля 5, а также тем, что удвоенное, т.е. высокоомное, волновое сопротивление отрезков коаксиального кабеля 4 лучше согласуется с высокоомным сопротивлением в зазорах 3.

[28]

Предложенный симметричный вибратор эффективно работает на прием-передачу при его общей длине 0,2 от максимальной длины рабочей волны. Например, вибратор с квадратными участками 1 имеет коэффициент усиления 0 дБм при длине волны 5 L и 5 дБм при длине волны 0,7 L, где L - общая длина вибратора.

Как компенсировать расходы
на инновационную разработку
Похожие патенты