патент
№ RU 2604833
МПК H01J25/00

СВЕРХВЫСОКОЧАСТОТНОЕ ЭЛЕКТРОВАКУУМНОЕ УСТРОЙСТВО ДЛЯ ГЕНЕРИРОВАНИЯ ЭЛЕКТРИЧЕСКИХ ИМПУЛЬСОВ НАПРЯЖЕНИЯ

Авторы:
Мамонтов Алексей Викторович
Номер заявки
2015118560/07
Дата подачи заявки
19.05.2015
Опубликовано
10.12.2016
Страна
RU
Как управлять
интеллектуальной собственностью
Чертежи 
2
Реферат

Изобретение относится к радиоэлектронике, в частности к электровакуумным приборам СВЧ, и может быть использовано, например, в радиолокации, радиопротиводействии и в других областях техники. Технический результат - получение простого в эксплуатации сверхвысокочастотного электровакуумного устройства для генерирования сверхкоротких электрических импульсов напряжения со сверхвысокой частотой повторения с эффективной системой теплоотвода, обладающего более высокой средней выходной мощностью. Выходной коаксиальный резонатор сверхвысокочастотного электровакуумного устройства выполнен четвертьволновым, его внешний и внутренний проводники соединены между собой посредством внутреннего торцевого выступа во внешнем проводнике выходного коаксиального резонатора и внешнего замкнутого кольцевого выступа, выполненного на боковой стенке внутреннего проводника выходного коаксиального резонатора, коллектор электронов размещен таким образом, что первая его часть, расположенная со стороны высокочастотного зазора, находится в полости выходного коаксиального резонатора, а вторая часть расположена за коаксиальным резонатором, причем во второй части коллектора расположены штуцеры для подвода и отвода охлаждающей жидкости, коаксиальная линия вывода СВЧ-энергии расположена перпендикулярно оси выходного коаксиального резонатора вблизи внутреннего торцевого выступа его внешнего проводника, причем внешний проводник коаксиальной линии вывода СВЧ-энергии соединен с внешним проводником выходного коаксиального резонатора, а внутренний проводник коаксиальной линии вывода СВЧ-энергии соединен через

Формула изобретения

1. Сверхвысокочастотное электровакуумное устройство для генерирования электрических импульсов напряжения на основе СВЧ-прибора пролетного типа, содержащее последовательно расположенные вдоль общей оси электронную пушку, многорезонаторный группирователь электронных сгустков, содержащий по крайней мере один пролетный канал, ввод СВЧ-энергии, устройство преобразования энергии электронов в СВЧ-энергию, выполненное в виде выходного коаксиального резонатора и содержащее внешний и внутренний полые проводники, расположенные соосно и отделенные друг от друга высокочастотным зазором, образованным между расположенными со стороны группирователя электронных сгустков торцевыми стенками внешнего и внутреннего проводников, в которых выполнено по крайней мере одно сквозное отверстие для пролета электронов, коллектор электронов, расположенный в полости внутреннего проводника выходного коаксиального резонатора со стороны высокочастотного зазора, при этом в выходном коаксиальном резонаторе на участке, расположенном со стороны группирователя электронных сгустков, соосно резонатору установлена диэлектрическая втулка, расположенная между внутренним и внешним проводниками выходного коаксиального резонатора и вакуумплотно соединенная с ними, а также вывод СВЧ-энергии в виде коаксиальной линии передачи, отличающееся тем, что выходной коаксиальный резонатор выполнен четвертьволновым, его внешний и внутренний проводники соединены между собой посредством внутреннего торцевого выступа во внешнем проводнике выходного коаксиального резонатора и внешнего замкнутого кольцевого выступа, выполненного на боковой стенке внутреннего проводника выходного коаксиального резонатора, коллектор электронов размещен таким образом, что первая его часть, расположенная со стороны высокочастотного зазора, находится в полости выходного коаксиального резонатора, а вторая часть расположена за коаксиальным резонатором, причем во второй части коллектора расположены штуцеры для подвода и отвода охлаждающей жидкости, коаксиальная линия вывода СВЧ-энергии расположена перпендикулярно оси выходного коаксиального резонатора вблизи внутреннего торцевого выступа его внешнего проводника, причем внешний проводник коаксиальной линии вывода СВЧ-энергии соединен с внешним проводником выходного коаксиального резонатора, а внутренний проводник коаксиальной линии вывода СВЧ-энергии соединен через отверстие во внешнем проводнике выходного коаксиального резонатора с внутренним проводником выходного коаксиального резонатора.

2. Устройство по п. 1, отличающееся тем, что во внешнем проводнике выходного коаксиального резонатора на участке, расположенном между местом соединения внешнего проводника с диэлектрической втулкой и местом соединения внешнего проводника с внутренним проводником, выполнено первое разъемное соединение, а во внутреннем проводнике коаксиальной линии вывода СВЧ-энергии на участке, расположенном вблизи внутреннего торцевого выступа внешнего проводника выходного коаксиального резонатора, выполнено второе разъемное соединение, при этом соединение внутреннего и внешнего проводников выходного коаксиального резонатора также выполнено разъемным.

3. Устройство по п. 1, отличающееся тем, что внешний и/или внутренний проводники выходного коаксиального резонатора содержат два последовательно соединенных участка, выполненных в виде полых цилиндров разных диаметров.

4. Устройство по п. 1, отличающееся тем, что внутренний проводник выходного коаксиального резонатора содержит три последовательно и соосно соединенных участка, первый и третий из которых выполнены в виде полых цилиндров и расположены соответственно со стороны группирователя электронных сгустков и со стороны вывода СВЧ-энергии, а расположенный между ними второй участок выполнен в виде полого усеченного конуса, меньшее основание которого обращено в сторону группирователя электронных сгустков.

5. Устройство по п. 1, отличающееся тем, что во внешнем проводнике выходного коаксиального резонатора выполнены сквозные щели, расположенные параллельно продольной оси устройства и перекрытые слоем поглощающего СВЧ-энергию материала, размещенного на наружной поверхности внешнего проводника выходного коаксиального резонатора.

6. Устройство по п. 1, отличающееся тем, что торцевые стенки внутреннего и внешнего проводников выходного коаксиального резонатора, расположенные со стороны высокочастотного зазора, снабжены по крайней мере одним соосным резонатору выступом с отверстием для пролета электронов.

7. Устройство по п. 6, отличающееся тем, что выступ выполнен в виде кольца.

Описание

[1]

Изобретение относится к радиоэлектронике, в частности к электровакуумным приборам СВЧ, предназначенным для генерирования сверхкоротких электрических импульсов напряжения со сверхвысокой частотой повторения, и может быть использовано, например, в радиолокации, радиопротиводействии и в других областях техники.

[2]

Известно устройство для генерирования импульсов напряжения типа пролетный клистрон (Лебедев И.В. Техника и приборы СВЧ. Том 2. М.: Высшая школа, 1972, с. 154), содержащее размещенные в вакуумном объеме электронную пушку, многорезонаторный группирователь электронных сгустков, устройство преобразования энергии электронных сгустков в СВЧ-энергию, выполненное в виде выходного тороидального резонатора, ввод и вывод СВЧ-энергии и коллектор, а также размещенную снаружи устройства магнитную систему для создания продольного магнитного поля.

[3]

Недостатком этого устройства является то, что оно генерирует импульсы напряжения только синусоидальной формы, что ограничивает область его применения из-за невозможности создания сверхкоротких электрических импульсов напряжения со сверхвысокой частотой повторения.

[4]

При создании генератора сверхкоротких импульсов предлагается использовать тот факт, что в электровакуумных приборах О-типа, в том числе в клистронах, при группировке электронного потока создаются сгустки электронного тока с частотой повторения, равной частоте входного СВЧ-сигнала, подаваемого на прибор, и длительностью около 0,1 периода повторения, причем сгустки электронного тока содержат широкий спектр гармоник тока. Однако в обычных клистронах такие сгустки, выйдя из группирователя, попадают в высокодобротный выходной резонатор, использующий в качестве рабочей частоты только первую гармонику, которая наводит в выходном резонаторе значительную амплитуду СВЧ-напряжения первой гармоники. Далее выходной сигнал на частоте той же первой гармоники передается через вывод СВЧ-энергии в нагрузку.

[5]

Если при построении генератора сверхкоротких импульсов на основе электровакуумного СВЧ-прибора пролетного типа создать выходную электродинамическую систему (то есть устройство для преобразования энергии электронов в СВЧ-энергию) с очень широкой полосой частот, то это позволит осуществить эффективный отбор энергии у электронного пучка не на одной, а на нескольких гармониках, что, в свою очередь, позволит сформировать выходной сигнал в виде сверхкоротких импульсов со сверхвысокой частотой повторения, а не монохроматический сигнал на первой гармонике.

[6]

Наиболее близким по технической сущности к предлагаемому изобретению (прототипом изобретения) является устройство для генерирования электрических импульсов напряжения на основе СВЧ-прибора пролетного типа (патент РФ №2342733, приоритет от 23.07.2007, МПК H01J 25/02), содержащее последовательно расположенные вдоль общей оси электронную пушку, многорезонаторный группирователь электронных сгустков с вводом СВЧ-энергии, устройство преобразования энергии электронов в СВЧ-энергию, коллектор электронов, а также вывод СВЧ-энергии в виде коаксиальной линии передачи, отличающееся тем, что устройство преобразования энергии электронов в СВЧ-энергию выполнено в виде полуволнового коаксиального резонатора, содержащего внешний и внутренний полые проводники, расположенные соосно и отделенные друг от друга высокочастотным зазором, образованным между расположенными со стороны группирователя электронных сгустков первыми торцевыми стенками внешнего и внутреннего проводников резонатора, в которых выполнены сквозные отверстия для пролета электронов, расположенные соосно пролетным каналам многорезонаторного группирователя электронных сгустков, при этом коллектор электронов расположен в полости внутреннего проводника резонатора со стороны высокочастотного зазора, в полуволновом коаксиальном резонаторе на участке, расположенном со стороны группирователя электронных сгустков, соосно резонатору установлена диэлектрическая втулка, расположенная между внутренним и внешним проводниками резонатора и вакуумплотно соединенная с ними, коаксиальная линия вывода СВЧ-энергии расположена соосно резонатору с внешней его стороны, причем внешний проводник коаксиальной линии соединен со второй торцевой стенкой внешнего проводника резонатора, а внутренний проводник коаксиальной линии соединен со второй торцевой стенкой внутреннего проводника резонатора через центральное сквозное отверстие, выполненное во второй торцевой стенке внешнего проводника резонатора.

[7]

В устройстве-прототипе решена задача создания сверхкоротких электрических импульсов напряжения со сверхвысокой частотой повторения. Однако выполнение устройства преобразования энергии электронов в СВЧ-энергию в виде двух полых проводников, один из которых полностью находится в полости другого, имеет ряд существенных недостатков.

[8]

Во-первых, конструктивно в устройстве-прототипе патрубки для подвода и отвода охлаждающей жидкости к коллектору проходят через полость выходного полуволнового резонатора. Вследствие этого, для исключения создания сильных неравномерностей в выходном резонаторе, необходима установка патрубков, которые либо целиком изготовлены из прозрачного для СВЧ-волн материала, либо выполнены составными, при этом из прозрачного для СВЧ-волн материала должны быть выполнены участки патрубков, находящиеся в полости, образованной внешним и внутренним проводниками выходного полуволнового резонатора. Как известно, такие материалы не обладают достаточной прочностью, ненадежны и недолговечны. Кроме того, при применении составных патрубков для их соединения с коллектором и наружными штуцерами необходимо создание герметичных соединений, уплотнений в местах стыков, что делает конструкцию сложной в изготовлении и уменьшает сроки эксплуатации СВЧ-устройства в целом.

[9]

Во-вторых, в устройстве-прототипе в качестве охлаждающей среды необходимо использовать только специальные жидкости, которые обладают свойством минимально поглощать СВЧ-энергию и тем самым вносят минимальные искажения в распределение электрических полей выходного резонатора. По этой же причине сложно обеспечить высокую выходную среднюю мощность устройства, так как диаметр подводящего и отводящего патрубков ограничен по причине того, что даже специализированные жидкости создают определенные неоднородности в выходном резонаторе. Соответственно, при увеличении объема охлаждающей жидкости, находящейся в штуцерах в полости выходного резонатора, растут и искажения его электрических полей.

[10]

Техническим результатом предлагаемого изобретения является получение простого в эксплуатации сверхвысокочастотного электровакуумного устройства для генерирования электрических импульсов напряжения с эффективной системой теплоотвода, обладающего более высокой средней выходной мощностью.

[11]

Технический результат достигается тем, что предлагается сверхвысокочастотное электровакуумное устройство для генерирования электрических импульсов напряжения на основе СВЧ-прибора пролетного типа, содержащее последовательно расположенные вдоль общей оси электронную пушку, многорезонаторный группирователь электронных сгустков, содержащий по крайней мере один пролетный канал, ввод СВЧ-энергии, устройство преобразования энергии электронов в СВЧ-энергию, выполненное в виде выходного коаксиального резонатора и содержащее внешний и внутренний полые проводники, расположенные соосно и отделенные друг от друга высокочастотным зазором, образованным между расположенными со стороны группирователя электронных сгустков торцевыми стенками внешнего и внутреннего проводников, в которых выполнено по крайней мере одно сквозное отверстие для пролета электронов, коллектор электронов, расположенный в полости внутреннего проводника выходного коаксиального резонатора со стороны высокочастотного зазора, при этом в выходном коаксиальном резонаторе на участке, расположенном со стороны группирователя электронных сгустков, соосно резонатору установлена диэлектрическая втулка, расположенная между внутренним и внешним проводниками выходного коаксиального резонатора и вакуумплотно соединенная с ними, а также вывод СВЧ-энергии в виде коаксиальной линии передачи, отличающееся тем, что выходной коаксиальный резонатор выполнен четвертьволновым, его внешний и внутренний проводники соединены между собой посредством внутреннего торцевого выступа во внешнем проводнике выходного коаксиального резонатора и внешнего замкнутого кольцевого выступа, выполненного на боковой стенке внутреннего проводника выходного коаксиального резонатора, коллектор электронов размещен таким образом, что первая его часть, расположенная со стороны высокочастотного зазора, находится в полости выходного коаксиального резонатора, а вторая часть расположена за коаксиальным резонатором, причем во второй части коллектора расположены штуцеры для подвода и отвода охлаждающей жидкости, коаксиальная линия вывода СВЧ-энергии расположена перпендикулярно оси выходного коаксиального резонатора вблизи внутреннего торцевого выступа его внешнего проводника, причем внешний проводник коаксиальной линии вывода СВЧ-энергии соединен с внешним проводником выходного коаксиального резонатора, а внутренний проводник коаксиальной линии вывода СВЧ-энергии соединен через отверстие во внешнем проводнике выходного коаксиального резонатора с внутренним проводником выходного коаксиального резонатора.

[12]

В предлагаемом изобретении во внешнем проводнике выходного коаксиального резонатора на участке, расположенном между местом соединения внешнего проводника с диэлектрической втулкой и местом соединения внешнего проводника с внутренним проводником, выполнено первое разъемное соединение, а во внутреннем проводнике коаксиальной линии вывода СВЧ-энергии на участке, расположенном вблизи внутреннего торцевого выступа внешнего проводника выходного коаксиального резонатора, выполнено второе разъемное соединение, при этом соединение внутреннего и внешнего проводников выходного коаксиального резонатора также выполнено разъемным.

[13]

В предлагаемом изобретении внешний и/или внутренний проводники выходного коаксиального резонатора могут содержать два последовательно соединенных участка, выполненных в виде полых цилиндров разных диаметров.

[14]

В предлагаемом изобретении внутренний проводник выходного коаксиального резонатора может содержать три последовательно и соосно соединенных участка, первый и третий из которых выполнены в виде полых цилиндров и расположены соответственно со стороны группирователя электронных сгустков и со стороны вывода СВЧ-энергии, а расположенный между ними второй участок выполнен в виде полого усеченного конуса, меньшее основание которого обращено в сторону группирователя электронных сгустков.

[15]

В предлагаемом изобретении во внешнем проводнике выходного коаксиального резонатора могут быть выполнены сквозные щели, расположенные параллельно продольной оси устройства и перекрытые слоем поглощающего СВЧ-энергию материала, размещенного на наружной поверхности внешнего проводника полуволнового коаксиального резонатора.

[16]

В предлагаемом изобретении торцевые стенки внутреннего и внешнего проводников выходного коаксиального резонатора могут быть снабжены расположенными со стороны высокочастотного зазора соосно резонатору выступами с отверстиями для пролета электронов, при этом каждый из выступов может быть выполнен в виде кольца.

[17]

Актуальной задачей в настоящее время является создание электровакуумных приборов, формирующих сверхкороткие импульсы напряжения со сверхвысокой частотой повторения импульсов, при этом обладающих высокими величинами импульсных и средних мощностей.

[18]

Конструкция предлагаемого устройства для генерирования электрических импульсов напряжения обеспечивает высокие величины выходных импульсных СВЧ-мощностей, а за счет эффективного жидкостного охлаждения коллектора также может обеспечивать и высокие величины выходных средних СВЧ-мощностей. Расположение вводного и выводного штуцеров системы охлаждения вне вакуумной оболочки устройства позволяет исключить влияние охлаждающей жидкости на распределение электрических полей в выходном коаксиальном резонаторе и, таким образом, дает возможность применять штуцеры большого диаметра, тем самым увеличивая количество охлаждающей жидкости, проходящей через охлаждающую систему устройства в единицу времени. Конструкция предлагаемого устройства также позволяет использовать в системе охлаждения любую охлаждающую жидкость, в том числе воду.

[19]

Эффективное охлаждение устройства позволяет ему работать с более высокой частотой повторения импульсов по сравнению с прототипом.

[20]

Кроме того, конструкция предлагаемого сверхвысокочастотного устройства для генерирования электрических импульсов напряжения позволяет значительную часть устройства преобразования энергии электронов в СВЧ-энергию расположить вне вакуумной части устройства для генерирования электрических импульсов и, вследствие этого, позволяет выполнить отдельные элементы этой части устройства съемными и разместить элементы подстройки вне вакуумной части этого устройства, что приводит к упрощению и удобству его настройки после откачки и в процессе испытания устройства.

[21]

Изобретение поясняется чертежами.

[22]

На фиг. 1 показан один из возможных вариантов выполнения предлагаемого сверхвысокочастотного устройства для генерирования электрических импульсов напряжения.

[23]

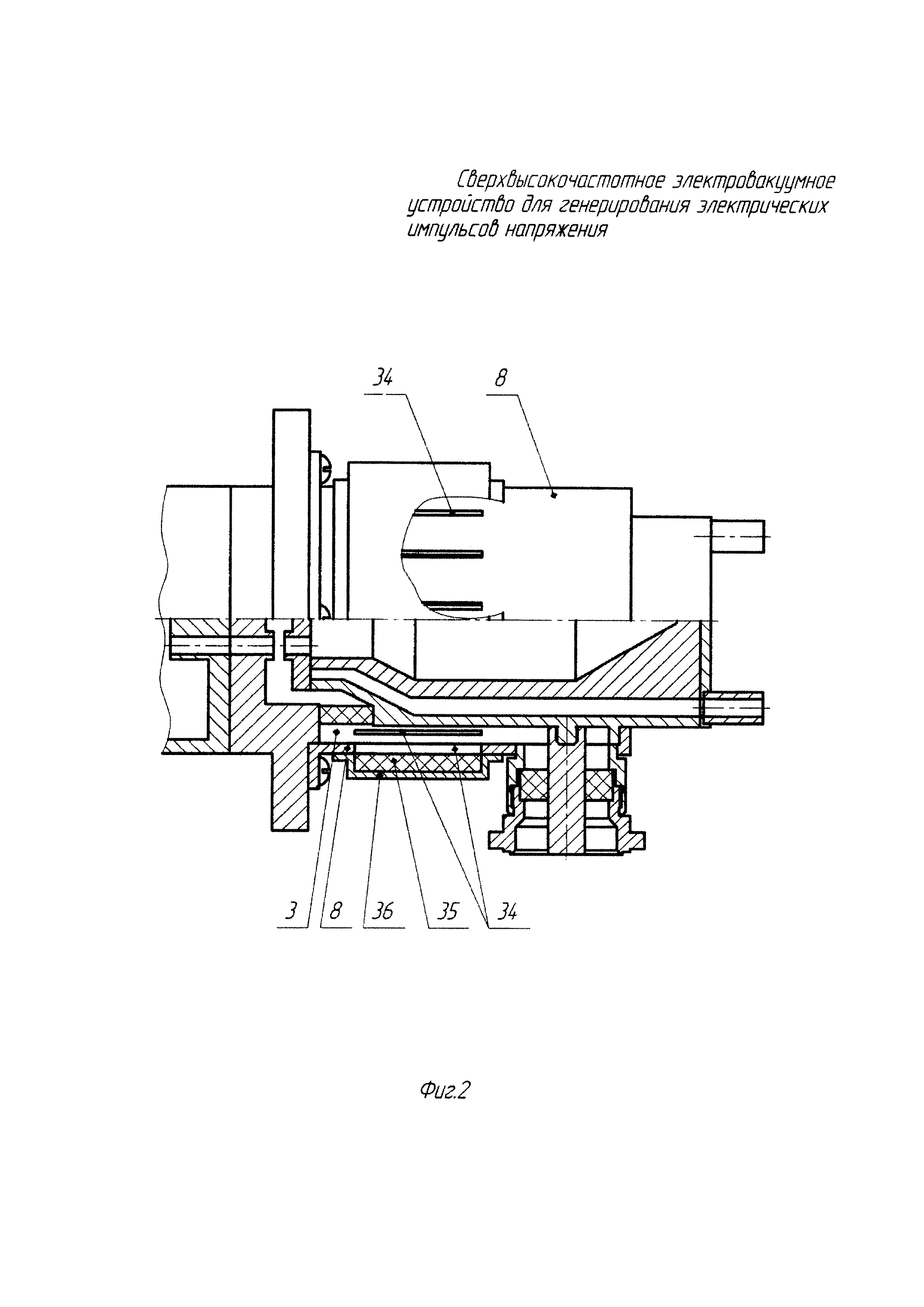
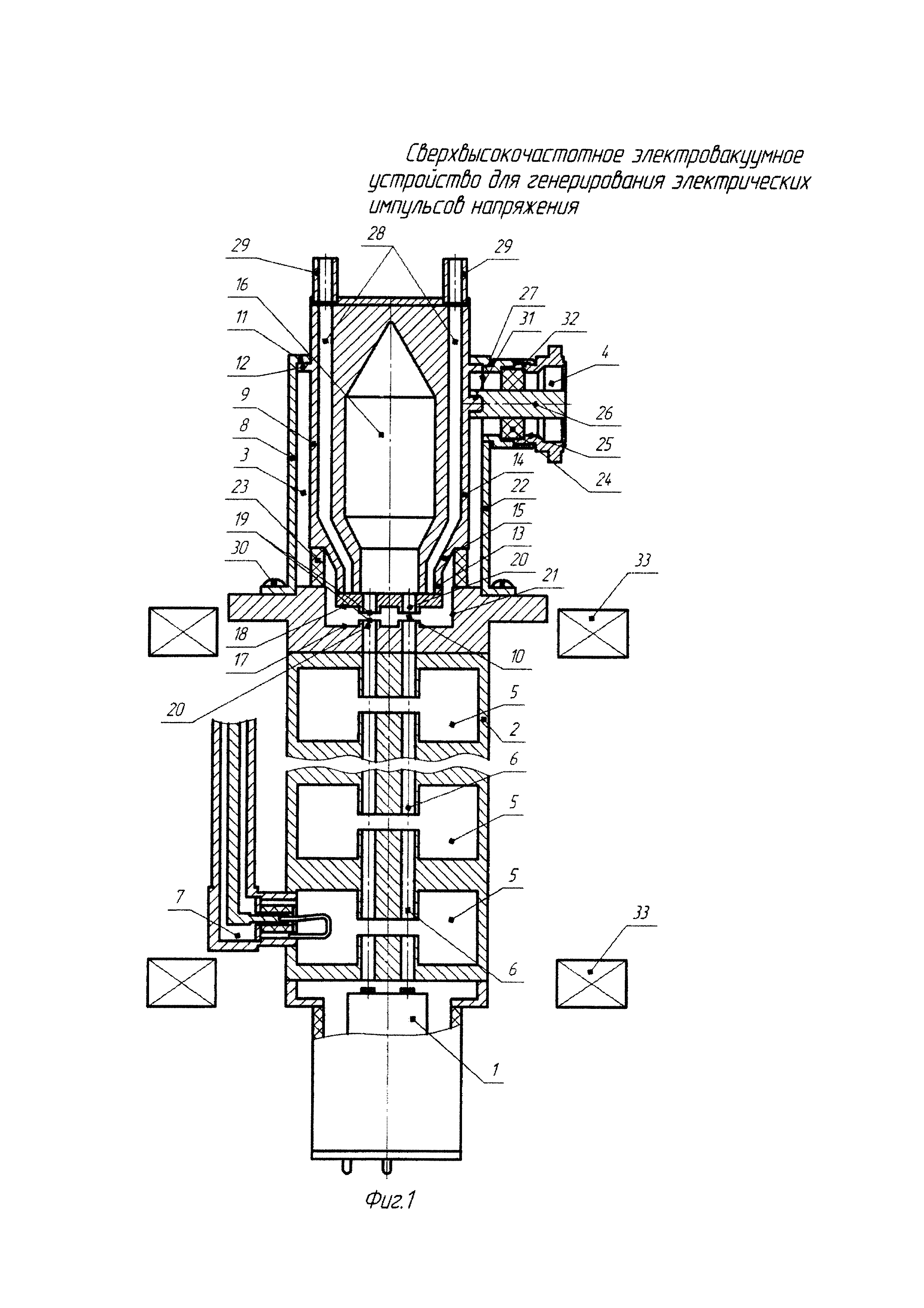
На фиг. 2 показан фрагмент предлагаемого сверхвысокочастотного устройства для генерирования электрических импульсов напряжения с поглотителем СВЧ-энергии.

[24]

Устройство, показанное на фиг. 1, содержит последовательно расположенные вдоль общей оси многолучевую электронную пушку 1, многорезонаторный группирователь электронных сгустков 2, четвертьволновый коаксиальный резонатор 3, а также вывод СВЧ-энергии в виде коаксиальной линии передачи 4.

[25]

Многорезонаторный группирователь электронных сгустков 2 включает несколько тороидальных резонаторов 5 с пролетными каналами 6. Расположенный со стороны электронной пушки 1 входной тороидальный резонатор снабжен коаксиальным вводом СВЧ-энергии 7.

[26]

Четвертьволновый коаксиальный выходной резонатор 3 содержит внешний 8 и внутренний 9 проводники, отделенные друг от друга высокочастотным зазором 10 и соединенные между собой посредством внутреннего торцевого кольцевого выступа 11 во внешнем проводнике и внешнего замкнутого кольцевого выступа 12 на боковой стенке внутреннего проводника 9. Внутренний проводник 9 выходного коаксиального резонатора 3 выполнен полым и состоит из трех последовательно соединенных участков, первый и третий из которых выполнены в виде полых цилиндров 13, 14, а второй участок выполнен в виде полого усеченного конуса 15. В полости внутреннего проводника 9 расположена часть коллектора 16. Другая часть коллектора 16 расположена за выходным коаксиальным резонатором. Обращенные друг к другу торцевые стенки 17, 18 соответственно внешнего 8 и внутреннего 9 проводников выходного коаксиального резонатора 3 снабжены кольцевыми выступами 19 со сквозными отверстиями 20, образующими пролетные каналы. Внешний проводник 8 коаксиального резонатора 3 состоит из двух последовательно соединенных участков, выполненных в виде полых цилиндров 21 и 22 с разными внутренними диаметрами. Между торцами первого участка (цилиндра 21) внешнего проводника 8 и третьего участка (цилиндра 14) внутреннего проводника 9 резонатора 3 расположена диэлектрическая втулка 23, выполненная в виде полого цилиндра из вакуумно-плотной керамики и вакуумплотно соединенная с проводниками 8 и 9 резонатора 3. Диэлектрическая втулка 23 также может быть выполнена в виде полого усеченного конуса (не показан на чертеже). Диэлектрическая втулка 23 разделяет коаксиальный резонатор 3 на вакуумную и невакуумную части. При этом первый участок внешнего проводника 8 (цилиндр 21), диэлектрическая втулка 23, а также первый и второй участки внутреннего проводника 9 (цилиндр 13 и усеченный конус 15), торцевая стенка 18 внутреннего проводника 9 и внутренняя поверхность коллектора 16 составляют часть вакуумной оболочки устройства. Второй участок внешнего проводника 8 (цилиндр 22) и третий участок внутреннего проводника 9 (цилиндр 14), а также разделенные изолирующим кольцом 24 внешний проводник 25 коаксиальной линии передачи вывода СВЧ-энергии 4 (соединенный с полым цилиндром 22 внешнего проводника 8) и внутренний проводник 26 коаксиальной линии передачи вывода СВЧ-энергии 4 (соединенный с полым цилиндром 14 внутреннего проводника 9 через сквозное отверстие 27 в полом цилиндре 22 внешнего проводника 8) расположены за пределами вакуумной части устройства. Это позволяет разместить вне вакуумной части устройства каналы охлаждения 28 коллектора 16 и соединенные с ними патрубки 29 для подвода и отвода охлаждающей среды в каналы охлаждения 28. Вне вакуумной части устройства в области размещения второго участка 22 внешнего проводника 8 и третьего участка 14 внутреннего проводника 9 коаксиального выходного резонатора 3 можно устанавливать элементы подстройки коаксиального резонатора (не показаны на чертеже). Для удобства подстройки расположенные вне вакуумного объема устройства участки внешнего проводника 8 коаксиального выходного резонатора 3, а также части коаксиальной линии 4 могут быть выполнены съемными. В конструкции, показанной на фиг. 1, такими съемными элементами являются соединенные между собой второй участок (цилиндр 22) внешнего проводника 8 выходного коаксиального резонатора 3 с внутренним кольцевым торцевым выступом 11 и коаксиальная линия 4 вывода СВЧ-энергии. При этом второй участок (цилиндр 22) внешнего проводника 8 скреплен с первым участком (цилиндр 21) внешнего проводника 8 выходного коаксиального резонатора 3 с помощью винтов 30, а внутренний проводник 26 коаксиальной линии вывода СВЧ-энергии 4 скреплен с полым цилиндром 14 внутреннего проводника 9 выходного коаксиального резонатора 3 с помощью резьбового соединения 31. Кроме того, внешний проводник 25 коаксиальной линии 4 может состоять из двух частей (как показано на чертеже), скрепленных между собой с помощью резьбового соединения 32. Для обеспечения фокусировки электронных пучков устройство снабжено фокусирующей магнитной системой 33. Магнитная система размещена вне вакуумной части устройства снаружи многорезонаторного группирователя электронных сгустков 2 и может быть выполнена на постоянных магнитах или в виде соленоида.

[27]

На фиг. 2 изображен фрагмент предлагаемого устройства, показанного на фиг. 1, в которое введен поглотитель СВЧ-энергии. В таком устройстве во внешнем проводнике 8 выходного коаксиального резонатора 3 выполнены сквозные щели 34, расположенные параллельно продольной оси устройства. На наружной поверхности внешнего проводника 8 размещен слой 35 материала, поглощающего СВЧ-энергию, который перекрывает щели 34. С внешней стороны слой 35 закрыт металлическим экраном 36.

[28]

Устройство, показанное на фиг. 1, работает следующим образом. Многолучевой электронный пучок, сформированный электронной пушкой 1, поступает в первый из резонаторов 5 (входной резонатор) многорезонаторного группирователя 2 и модулируется по скорости входным СВЧ-сигналом с частотой ω, поступающим в этот резонатор через коаксиальный ввод СВЧ-энергии 7. После прохождения модулированного электронного пучка через последующие резонаторы 5 на выходе группирователя 2 получаются плотно сгруппированные сгустки электронов. При этом электронные сгустки имеют гармоники тока, кратные частоте входного СВЧ-сигнала. Далее электронные сгустки поступают в высокочастотный зазор 10 четвертьволнового коаксиального резонатора 3.

[29]

Четвертьволновый коаксиальный резонатор 3 замкнут на одном конце, поэтому его собственные колебания существуют на нечетных частотах ω, 3ω, 5ω, (2n+1)ω, при этом электрические СВЧ поля этих колебаний имеют максимумы в области высокочастотного зазора 10. Это означает, что при вхождении электронного потока в высокочастотный зазор резонатора в нем одновременно возбуждаются все эти виды колебаний, то есть при взаимодействии электронного потока с полем каждого из видов колебаний происходит автоматическая их фазировка. В этом случае результирующую амплитуду колебаний можно представить как сумму амплитуд этих колебаний. В результате такого суммирования на выходе резонатора 3 образуется последовательность разнополярных импульсов напряжения с частотой повторения ω, которая через коаксиальную линию передачи 4 вывода СВЧ-энергии передается во внешнюю нагрузку, например в антенну.

[30]

Для получения максимальной величины результирующей амплитуды колебаний (для формирования импульсов напряжения с максимальной амплитудой) необходимо увеличивать добротность четвертьволнового резонатора по мере увеличения частоты вида колебания, что позволяет компенсировать падение импеданса резонатора, которое происходит с ростом частоты вида колебания. В реальной конструкции увеличение добротности резонатора на более высоких по частоте видах колебаний достигается путем подбора формы и размеров элементов четвертьволнового резонатора и величины связи с выводом СВЧ-энергии.

[31]

Более точную настройку четвертьволнового коаксиального резонатора можно осуществить за счет того, что в предлагаемой конструкции в значительной по протяженности части четвертьволнового резонатора, расположенной вне вакуумного объема устройства, можно разместить элементы настройки в местах, необходимых для эффективной настройки резонатора. При этом для удобства настройки отдельные части коаксиального резонатора могут быть выполнены съемными.

[32]

Возможность одновременного возбуждения в четвертьволновом коаксиальном резонаторе предлагаемого устройства большого числа фазированных видов колебаний с высокой амплитудой создает условия получения на выходе устройства сверхкоротких импульсов напряжения.

[33]

Таким образом, в предлагаемом устройстве формируется последовательность сверхкоротких импульсов напряжения с высокой амплитудой и со сверхвысокой частотой повторения.

[34]

Отличительной особенностью предлагаемого изобретения является то, что система охлаждения коллектора в нем выполнена таким образом, что охлаждающая жидкость не проходит через полость выходного коаксиального резонатора. Такая система охлаждения коллектора является простой в изготовлении и эксплуатации. В этом случае нет необходимости применения дополнительных патрубков в системе охлаждения коллектора и нет необходимости использования в системе охлаждения специальной жидкости, обладающей свойством минимально поглощать СВЧ-энергию. В качестве охлаждающей жидкости можно использовать, как и в обычных электровакуумных СВЧ-приборах, воду или антифриз.

[35]

Эффективное охлаждение коллектора позволяет существенно повысить среднюю мощность предлагаемого электровакуумного СВЧ-устройства. Среднюю мощность можно повысить за счет увеличения длительности импульса напряжения, прикладываемого к устройству, или за счет увеличения частоты посылок импульсов.

[36]

Таким образом, предлагаемая конструкция обеспечивает эффективное охлаждение коллектора, простоту настройки выходного четвертьволнового коаксиального резонатора, простоту и удобство в эксплуатации и получение сверхкоротких импульсов напряжения со сверхвысокой частотой повторения при высоких величинах импульсных и средних мощностей.

Как компенсировать расходы
на инновационную разработку
Похожие патенты