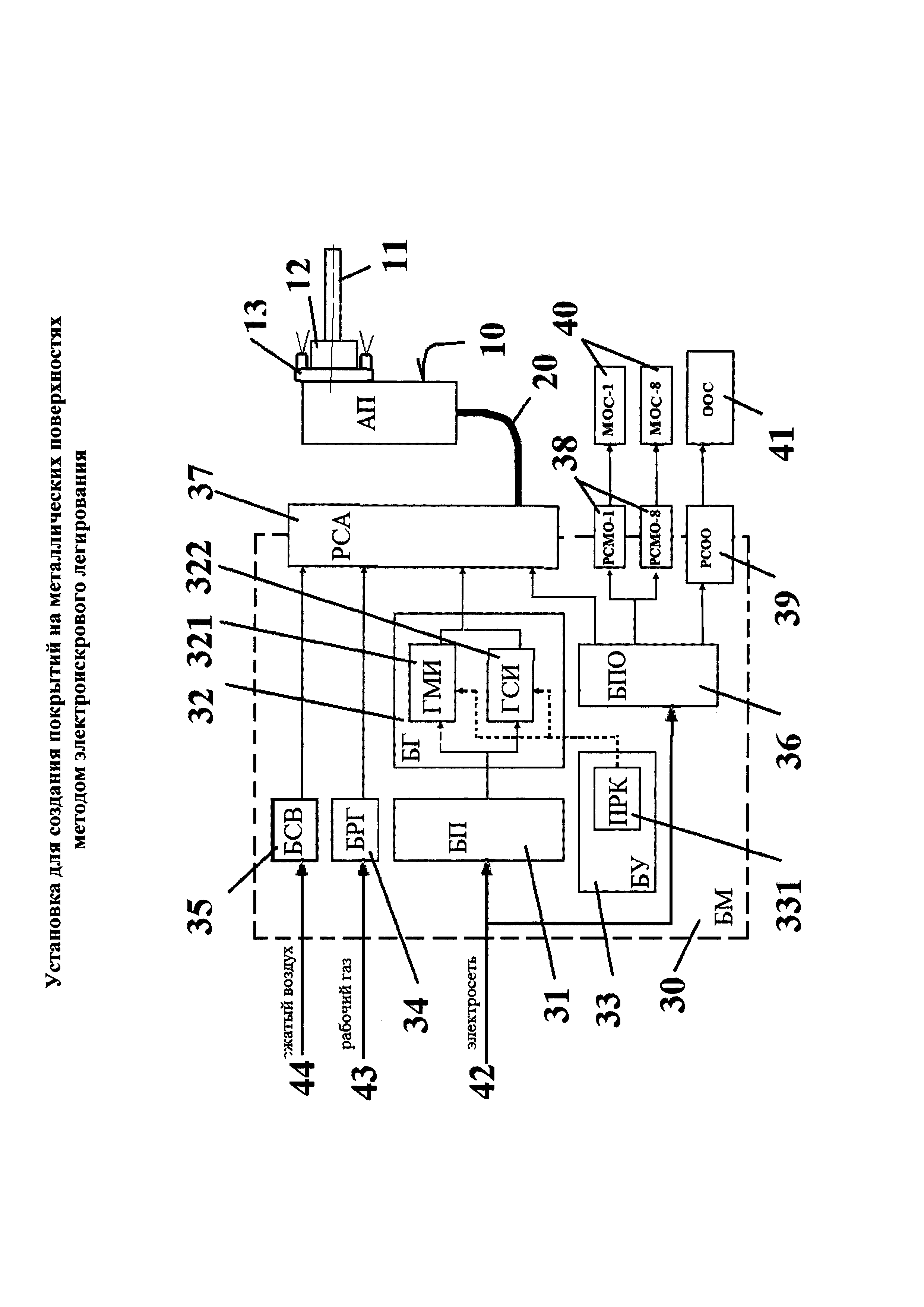
Изобретение относится к области машиностроения и может быть использовано для создания на металлических поверхностях различных покрытий методом электроискрового легирования. Установка содержит выносной аппликатор АП 10, подключенный к базовому модулю БМ 30 с блоками электропитания БП 31, генерации электрических импульсов БГ 32 и управления работой установки БУ 33, причем указанный блок генерации электрических импульсов БК 33 содержит несколько независимых генераторов указанных импульсов, а базовый модуль БМ 30 дополнительно содержит блок БРГ 34 формирования подвода рабочего газа в зону легирования, блок БСВ 35 формирования подвода сжатого воздуха в качестве рабочего тела для сменного АП 10 с пневматическим приводом вибрационного механизма ДЭ 12 и блок БП 31 формирования электропитания для подключения к БМ 30 системы осветительных приборов местного и общего освещения зоны легирования. Технический результат – повышение качества электроискрового легирования металлических поверхностей и расширение возможностей установки. 1 з.п. ф-лы, 1 ил., 1 табл.
1. Установка для электроискрового легирования металлических поверхностей, содержащая выносной аппликатор, подключенный к кабелю для подвода электрических импульсов постоянного тока к легирующему электроду и энергии на привод вибрационного механизма держателя указанного электрода, и подключенный к другому концу указанного кабеля базовый модуль с блоком электропитания, блоком генерации электрических импульсов и блоком управления установкой, причем указанный блок генерации электрических импульсов содержит несколько независимых генераторов указанных импульсов, отличающаяся тем, что в качестве упомянутого аппликатора она содержит сменный аппликатор с электромеханическим, электромагнитным или пневматическим приводом вибрационного механизма держателя легирующего электрода, причем указанный сменный аппликатор снабжен осветительным прибором и выполнен с возможностью подвода через него рабочего газа в зону легирования, при этом указанный базовый модуль дополнительно содержит блок формирования подвода рабочего газа в зону легирования через указанные кабель и аппликатор, блок формирования подвода сжатого воздуха в качестве рабочего тела для сменного аппликатора с пневматическим приводом вибрационного механизма держателя электрода и блок формирования электропитания для подключения к базовому модулю системы осветительных приборов местного и общего освещения зоны легирования. 2. Установка по п. 1, отличающаяся тем, что блок генерации электрических импульсов выполнен с двумя независимыми системами генераторов и соответственно мощных и маломощных импульсов, причем каждый из генераторов указанных двух систем построен с использованием электронного ключевого элемента, допускающего регулируемую настройку разрядного напряжения, а указанный блок управления установки снабжен средствами индикации совершаемых действий и переключателем подачи на легирующий электрод электрических импульсов от одной из указанных систем генераторов или комбинированных импульсов от обеих указанных систем.
Изобретение относится к области машиностроения и может быть использовано в энергомашиностроительной, теплоэнергетической и других отраслях промышленности для создания на металлических поверхностях различных покрытий методом электроискрового легирования. В частности, изобретение может быть эффективно использовано при изготовлении и ремонте элементов проточной части энергетических турбин для создания эрозионно- и абразивостойких покрытий, защищающих рабочую поверхность указанных элементов от быстрого износа в потоке рабочей среды. Известна принятая в качестве ближайшего аналога патентуемого изобретения установка для создания покрытий на металлических поверхностях методом электроискрового легирования, содержащая выносной аппликатор, подключенный к кабелю для подвода электрических импульсов постоянного тока к легирующему электроду и энергии на привод вибрационного механизма держателя указанного электрода, и подключенный к другому концу указанного кабеля, базовый модуль с блоком электропитания, блоком генерации электрических импульсов и блоком управления установкой, причем указанный блок генерации электрических импульсов содержит несколько независимых генераторов указанных импульсов (Технология электроискрового упрочнения инструментов и деталей машин / Иванов Г.П. // ГНТИ Машиностроительной литературы. Москва, 1961 г., с. 26-29 [1]). Блок генерации электрических импульсов установки [1] содержит, в частности, восемь генераторов импульсов идентичных параметров, обеспечивая максимальную энергию импульса в зависимости от числа подключаемых генераторов в диапазоне (0,75…6,00) Дж. Частота следования импульсов и реальное значение энергии единичного импульса определяется частотой касания легирующим электродом обрабатываемого изделия, прерывающих процесс накопления электрического заряда накопительной конденсаторной батареей. Установка, в основном, предназначена для формирования эрозионно-стойких покрытий на рабочих лопатках паровых турбин средней мощности, у которых длина профильной части лопаток составляет не более 600 мм. Недостатками установки [1] являются: - малый диапазон регулирования энергии и частоты электрического импульса и зависимость его параметров от действий оператора, работающего с аппликатором; - фиксированное значение частоты вибрации держателя легирующего электрода аппликатора, создаваемой вибрационным механизмом электромагнитного типа; - отсутствие возможности подачи в зону легирования рабочего газа, улучшающего качество покрытия; - отсутствие индикации режимов работы установки и текущих параметров технологического процесса. - отсутствие системы освещения зоны производства работ. Задачей изобретения является расширение возможностей установки для создания покрытий на металлических поверхностях методом электроискрового легирования при повышении качества выполняемых с ее помощью работ, а техническими результатами: - возможность подачи в зону легирования рабочего газа, улучшающего качество покрытия; - возможность подключения к базовому модулю сменных аппликаторов с различным типом привода вибрационного механизма держателя легирующего электрода, обеспечивающая расширение диапазона применяемых в процессе легирования частот вибрации легирующего электрода; - возможность подключения к базовому модулю системы освещения зоны производства работ; - расширение диапазона энергий и частот, генерируемых для подачи на легирующий электрод электрических импульсов с возможностью комбинирования импульсов различных параметров и с исключением влияния на указанные параметры взаимодействия легирующего электрода с обрабатываемым изделием. Решение указанной задачи путем достижения указанных технических результатов обеспечивается тем, что в установке для создания покрытий на металлических поверхностях методом электроискрового легирования, содержащей: выносной аппликатор, подключенный к кабелю для подвода электрических импульсов постоянного тока к легирующему электроду и энергии на привод вибрационного механизма держателя указанного электрода, и подключенный к другому концу указанного кабеля базовый модуль с блоком электропитания, блоком генерации электрических импульсов и блоком управления установкой, причем указанный блок генерации электрических импульсов содержит несколько независимых генераторов указанных импульсов, согласно патентуемому изобретению, в качестве выносного аппликатора она содержит сменный аппликатор с электромеханическим, электромагнитным или пневматическим приводом вибрационного механизма держателя легирующего электрода, причем указанный сменный аппликатор снабжен осветительным прибором и выполнен с возможностью подвода через него рабочего газа в зону легирования, при этом указанный базовый модуль дополнительно содержит блок формирования подвода рабочего газа в зону легирования через указанные кабель и аппликатор, блок формирования подвода сжатого воздуха в качестве рабочего тела для сменного аппликатора с пневматическим приводом вибрационного механизма держателя электрода и блок формирования электропитания для подключения к базовому модулю системы осветительных приборов местного и общего освещения зоны легирования. В установке согласно изобретению блок генерации электрических импульсов выполнен с двумя независимыми системами генераторов соответственно мощных и маломощных импульсов, причем каждый из генераторов указанных двух систем построен с использованием электронного ключевого элемента, допускающего регулируемую настройку разрядного напряжения, а указанный блок управления установки снабжен средствами индикации совершаемых действий и переключателем подачи на легирующий электрод электрических импульсов от одной из указанных систем генераторов или комбинированных импульсов от обеих указанных систем. присутствие в установке сменных аппликаторов с электромеханическим, электромагнитным или пневматическим приводом вибрационного механизма держателя легирующего электрода в зависимости от требуемой по технологическим соображениям частоты вибрации, обеспечивает повышение качества электроискрового легирования металлических поверхностей и расширение возможностей установки. Наличие в базовом модуле блока формирования подвода в зону легирования рабочего газа через указанные кабель и аппликатор позволяет улучшить качество наносимого покрытия, в частности, при использовании инертного газа, путем защиты легирующего расплава от агрессивного воздействия атмосферного воздуха. Наличие в базовом модуле блока формирования подвода сжатого воздуха для аппликатора с пневматическим приводом его вибрационного механизма держателя электрода позволяет обеспечить использование указанных сменных аппликаторов. Выполнение блока генерации электрических импульсов с двумя независимыми системами генераторов мощных и маломощных импульсов, каждый из генераторов которых построен с использованием электронного ключевого элемента, допускающего регулируемую настройку разрядного напряжения, и наличие соответствующего переключателя в блоке управления работой установки позволяет расширить диапазон энергий и частот генерируемых электрических импульсов с возможностью комбинирования импульсов различных параметров и с исключением влияния на указанные параметры взаимодействия легирующего электрода с обрабатываемым изделием. На чертеже изображена принципиальная структурная схема установки для создания покрытий согласно изобретению. АП - аппликатор; БГ - блок генерации электрических импульсов; БМ - базовый модуль; БП - блок электропитания установки; БПО - блок формирования электропитания освещения зоны производства; БРГ - блок формирования подвода в зону легирования рабочего газа; БСВ - блок формирования подвода сжатого воздуха; БУ - блок управления работой установки; ГМИ - генератор мощных импульсов; ГСИ - генератор слабых (маломощных) импульсов; ДЭ - держатель электрода; КБ - кабель; КЭ - ключевой элемент; ЛЭ - легирующий электрод; МОС - осветительные приборы местного освещения; ООС - осветительные приборы общего освещения; ОС - осветительные приборы; ПРК - переключатель формирования электрических импульсов; PC - разъемные соединения базового модуля; РСА - разъемное соединение БМ с кабелем аппликатора; РСМО - разъемное соединение местного освещения; РСОО - разъемное соединение общего освещения. 10 - АП; 11 - ЛЭ; 12 - ДЭ; 13 - ОС аппликатора; 20 - КБ; 30 - БМ; 31 - БП; 32 - БГ; 321 - ГМИ; 322 - ГСИ; 33 - БУ; 331 - ПРК; 34 - БРГ; 35 - БСВ; 36 - БПО; 37 - РСА; 38 - РСМО; 39 - РСОО; 40 - МОС; 41 - ООС, 42 - электросеть переменного тока; 43 - линия подвода рабочего газа; 44 - линия подвода сжатого воздуха. Установка для создания покрытий на металлических поверхностях методом электроискрового легирования согласно изобретению содержит выносной аппликатор АП 10, подключенный к кабелю КБ 20 для подвода электрических импульсов постоянного тока к легирующему электроду ЛЭ 11 и энергии на привод вибрационного механизма (не показан) держателя электрода ДЭ 12. АП 10 снабжен также осветительным прибором ОС 13 зоны производства работ. Другой конец КБ 20 подключен к базовому модулю БМ 30. В последний входят: блок электропитания БП 31; блок генерации электрических импульсов БГ 32 с системами генераторов мощных импульсов ГМИ 321 и генераторов слабых (маломощных) импульсов ГСИ 322; блок управления работой установки БУ 33 с переключателем ПРК 331 подачи на легирующий электрод ЛЭ 11 электрических импульсов от системы ГМИ 321 или от системы ГСИ 322 или комбинированного импульса от обеих указанных систем; блок формирования подвода в зону легирования рабочего газа БРГ 34 через блок формирования подвода сжатого воздуха БСВ 35 для АП 10 с пневматическим приводом вибрационного механизма держателя электрода ДЭ 12 и блок БПО 36 формирования электропитания для системы освещения зоны производства работ. Для связи перечисленных блоков с выносными устройствами в БМ 30 предусмотрены соответствующие разъемные соединения. В частности, разъемное соединение РСА 37 предназначено для подвода всех необходимых коммуникаций к аппликатору АП 10, разъемное соединение РСМО 38 - для питания восьми осветительных приборов МОС 40 местного освещения (на схеме из восьми показаны только два (первый и восьмой) - соответственно разъемных соединений и осветительных приборов. Разъемное соединение РСОО 39 предназначено для питания прибора ООС 41 общего освещения в месте производства работ. Блок управления БУ 33 установки согласно изобретению снабжен одним из известных типов средств индикации совершаемых действий, например, с использованием дисплея или разноцветных световых индикаторов (на чертеже не показаны). Базовый модуль БМ 30 также с помощью соответствующих разъемных соединений (на чертеже не показаны) подключаются к магистралям: электросети 42 переменного тока, линии 43 подвода рабочего газа (аргона, азота, углекислого газа, сжатого воздуха и др.) и линии 44 подвода сжатого воздуха. Установка для создания покрытий согласно изобретению работает следующим образом. В зависимости от конкретных условий базовый модуль БМ 30 располагают внутри или вне зоны производства работ, куда в последнем случае оператор берет с собой только аппликатор АП 10, присоединенный к БМ 30 с помощью кабеля КБ 29 соответствующей длины, и необходимое число осветительных приборов 40,41 дополнительно к ОС 13, установленному на самом АП 10. Перед началом работы БМ 30 подключают к магистральным линиям: линии 42 промышленной электросети переменного тока (обычно с напряжением 220 В), линии 43 подвода соответствующего выбранной технологии рабочего газа и к линии 44 подвода сжатого воздуха при выборе сменного АЛ 10 с пневматическим приводом механизма вибрации держателя электрода ДЭ 12 аппликатора. Затем с помощью блока управления БУ 33 производят настройку блока генерации БГ 32 базового модуля БМ 30 на выработку подаваемого на легирующий электрод ЛЭ 11 электрического импульса требуемой энергии, частоты и структурного состава. Необходимые параметры импульса определяются накопленным опытом производства аналогичных работ или результатами предварительных экспериментов в аналогичных условиях. В разработанном опытном образце установки система ГМИ 321 включала в себя один мощный генератор, а система ГСИ 322 - семь независимых маломощных генераторов. Возможности формирования с их помощью электрических импульсов различных параметров и состава показаны ниже в таблице. На их основе могут быть сформированы комбинированные импульсы оптимального состава и параметров, обеспечивающих наиболее приемлемый по качеству покрытия результат для каждого конкретного случая в широком диапазоне состава, габаритов, конфигурации и массы обрабатываемого изделия. Параметры генерируемых электрических импульсов с помощью установки согласно изобретению Дальнейшие операции по созданию покрытия определяются характером технологической задачи и не отличаются от традиционно используемых при электроискровом легировании. Установка согласно изобретению отвечает условию «промышленная применимость». Сущность технического решения раскрыта в формуле, описании и чертеже достаточно ясно для понимания и промышленной реализации соответствующими специалистами на основании современного уровня техники в области энергомашиностроения, теплоэнергетики и других отраслей промышленности, использующих технологию электроискрового легирования.