патент
№ RU 2682462
МПК F02C7/36

Узел соединения валов ротора низкого давления газотурбинного двигателя

Авторы:
Кикоть Николай Владимирович
Номер заявки
2018113158
Дата подачи заявки
11.04.2018
Опубликовано
19.03.2019
Страна
RU
Как управлять
интеллектуальной собственностью
Чертежи 
3
Реферат

Изобретение относится к газотурбинным двигателям (ГТД) авиационного применения, а именно к конструкции узла соединения роторов компрессора и турбины. Техническим результатом, достигаемым при использовании настоящего изобретения, является: повышение безопасности двухмоторного летательного аппарата при возникновении нештатной ситуации в работе двигателя, связанной с обрывом вала турбины низкого давления, либо при еще каких-нибудь повреждениях, требующих принудительного механического останова ротора, а также расширение области применения данного устройства. Указанный технический результат достигается тем, что известный узел соединения валов ротора низкого давления газотурбинного двигателя содержит вал компрессора низкого давления, вал турбины низкого давления, цапфы которых заведены в промежуточный вал, причем вышеупомянутые валы зафиксированы относительно друг друга в окружном и осевом направлениях, втулку, жестко соединенную со статором, поршень, установленный во втулке с возможностью осевого смещения и зафиксированный относительно нее в окружном направлении, причем между втулкой и поршнем образована полость, сообщенная с нагнетающей газовой или жидкостной магистралью с перепускным клапаном, шарикоподшипник, наружное кольцо которого жестко соединено со статором, согласно настоящему изобретению. Узел содержит дополнительный промежуточный вал, установленный между шарикоподшипником и промежуточным валом и зафиксированный относительно последнего в окружном направлении посредством шлицевого соединения, а в осевом направлении посредством радиального выступа и гайки, соответственно выполненного и установленной посредством резьбового соединения на промежуточном валу. На гайке установлен контровочный кольцевой элемент, на торцах которого по окружности выполнены осевые выступы, установленные в соответствующие глухие пазы в торце дополнительного промежуточного вала, а также в сквозные пазы в торце гайки. На наружной поверхности контровочного кольцевого элемента между близлежащими торцевыми поверхностями гайки и поршня выполнен радиальный бурт, между которым и упомянутыми торцевыми поверхностями первых образованы зазоры, причем в зазоре между радиальным буртом контровочного кольцевого элемента и торцевой поверхностью гайки установлена осевая пружина. Поршень выполнен с возможностью контакта с гайкой и радиальным буртом контровочного кольцевого элемента. Рабочие поверхности поршня, гайки и радиального бурта контровочного кольцевого элемента выполнены коническими относительно продольной оси газотурбинного двигателя, большие основания которых расположены со стороны компрессора низкого давления, при этом на упомянутой втулке жестко зафиксирована кольцевая стопорная крышка, а на наружной поверхности гайки между близлежащими торцевыми поверхностями кольцевой стопорной крышки и поршня выполнен радиальный выступ, между которым и упомянутыми торцевыми поверхностями первых образованы зазоры. 4 ил.

Формула изобретения

Узел соединения валов ротора низкого давления газотурбинного двигателя, содержащий вал компрессора низкого давления, вал турбины низкого давления, цапфы которых заведены в промежуточный вал, причем вышеупомянутые валы зафиксированы относительно друг друга в окружном и осевом направлениях, втулку, жестко соединенную со статором, поршень, установленный во втулке с возможностью осевого смещения и зафиксированный относительно нее в окружном направлении, причем между втулкой и поршнем образована полость, сообщенная с нагнетающей газовой или жидкостной магистралью с перепускным клапаном, шарикоподшипник, наружное кольцо которого жестко соединено со статором, отличающийся тем, что содержит дополнительный промежуточный вал, установленный между шарикоподшипником и промежуточным валом и зафиксированный относительно последнего в окружном направлении посредством шлицевого соединения, а в осевом направлении посредством радиального выступа и гайки, соответственно выполненного и установленной посредством резьбового соединения на промежуточном валу, кроме того, на гайке установлен контровочный кольцевой элемент, на торцах которого по окружности выполнены осевые выступы, установленные в соответствующие глухие пазы в торце дополнительного промежуточного вала, а также в сквозные пазы в торце гайки, при этом на наружной поверхности контровочного кольцевого элемента между близлежащими торцевыми поверхностями гайки и поршня выполнен радиальный бурт, между которым и упомянутыми торцевыми поверхностями первых образованы зазоры, причем в зазоре между радиальным буртом контровочного кольцевого элемента и торцевой поверхностью гайки установлена осевая пружина, кроме того, поршень выполнен с возможностью контакта с гайкой и радиальным буртом контровочного кольцевого элемента, причем рабочие поверхности поршня, гайки и радиального бурта контровочного кольцевого элемента выполнены коническими относительно продольной оси газотурбинного двигателя, большие основания которых расположены со стороны компрессора низкого давления, при этом на упомянутой втулке жестко зафиксирована кольцевая стопорная крышка, а на наружной поверхности гайки между близлежащими торцевыми поверхностями кольцевой стопорной крышки и поршня выполнен радиальный выступ, между которым и упомянутыми торцевыми поверхностями первых образованы зазоры.

Описание

[1]

Изобретение относится к газотурбинным двигателям (ГТД) авиационного применения, а именно к конструкции узла соединения роторов компрессора и турбины.

[2]

В качестве наиболее близкого аналога (прототипа) выбран узел соединения валов ротора низкого давления газотурбинного двигателя, содержащий вал компрессора низкого давления, вал турбины низкого давления, цапфы которых заведены в промежуточный вал, причем вышеупомянутые валы зафиксированы относительно друг друга в окружном и осевом направлениях, втулку, жестко соединенную со статором, поршень, установленный во втулке с возможностью осевого смещения и зафиксированный относительно нее в окружном направлении, причем между втулкой и поршнем образована полость, сообщенная с нагнетающей газовой или жидкостной магистралью с перепускным клапаном, шарикоподшипник, наружное кольцо которого жестко соединено со статором (См. RU 2522233 С1, опубл. 10.07.2014).

[3]

В известном техническом решении основным недостатком является то, что при возникновении нештатной ситуации, например, обрыве вала турбины низкого давления или при срабатывании системы отсоединения вала происходит осевое смещение только ротора турбины низкого давления. При этом вал компрессора низкого давления удерживается шарикоподшипником. Так как ротор турбины низкого давления обладает значительным крутящим моментом, то момент трения, возникающий от касания ротора об статор, может оказаться недостаточным. В случае обрыва вала турбины низкого давления турбина будет раскручиваться до разрушения. Этому будет способствовать то, что вал компрессора низкого давления, удерживаемый шарикоподшипником, на авторотации будет обеспечивать расходом воздуха внутренний контур и работой турбины низкого давления. Все это снижает безопасность эксплуатации двухмоторного летательного аппарата. Также это решение имеет сложную конструкцию, коммуникации которой проходят через входной направляющий аппарат, поэтому известная конструкция не пригодна для двигателей с консольным расположением ротора компрессора низкого давления, а также там, где входной направляющий аппарат не содержит коммуникаций. Это ограничивает область применения данного устройства.

[4]

Техническими результатами, достигаемыми при использовании настоящего изобретения, являются: повышение безопасности двухмоторного летательного аппарата при возникновении нештатной ситуации в работе двигателя, связанной с обрывом вала турбины низкого давления, либо при еще каких-нибудь повреждениях, требующих принудительного механического останова ротора, а также расширение области применения данного устройства.

[5]

Указанные технические результаты достигаются тем, что известный узел соединения валов ротора низкого давления газотурбинного двигателя, содержащий вал компрессора низкого давления, вал турбины низкого давления, цапфы которых заведены в промежуточный вал, причем вышеупомянутые валы зафиксированы относительно друг друга в окружном и осевом направлениях, втулку, жестко соединенную со статором, поршень, установленный во втулке с возможностью осевого смещения и зафиксированный относительно нее в окружном направлении, причем между втулкой и поршнем образована полость, сообщенная с нагнетающей газовой или жидкостной магистралью с перепускным клапаном, шарикоподшипник, наружное кольцо которого жестко соединено со статором, согласно настоящему изобретению, узел дополнительно содержит дополнительный промежуточный вал, установленный между шарикоподшипником и промежуточным валом и зафиксированный относительно последнего в окружном направлении посредством шлицевого соединения, а в осевом направлении посредством радиального выступа и гайки, соответственно выполненного и установленной посредством резьбового соединения на промежуточном валу, кроме того на гайке установлен контровочный кольцевой элемент, на торцах которого по окружности выполнены осевые выступы, установленные в соответствующие глухие пазы в торце дополнительного промежуточного вала, а также в сквозные пазы в торце гайки, при этом на наружной поверхности контровочного кольцевого элемента между близлежащими торцевыми поверхностями гайки и поршня выполнен радиальный бурт, между которым и упомянутыми торцевыми поверхностями первых образованы зазоры, причем в зазоре между радиальным буртом контровочного кольцевого элемента и торцевой поверхностью гайки установлена осевая пружина, кроме того поршень выполнен с возможностью контакта с гайкой и радиальным буртом контровочного кольцевого элемента, причем рабочие поверхности поршня, гайки и радиального бурта контровочного кольцевого элемента выполнены коническими относительно продольной оси газотурбинного двигателя, большие основания которых расположены со стороны компрессора низкого давления, при этом на упомянутой втулке жестко зафиксирована кольцевая стопорная крышка, а на наружной поверхности гайки между близлежащими торцевыми поверхностями кольцевой стопорной крышки и поршня выполнен радиальный выступ, между которым и упомянутыми торцевыми поверхностями первых образованы зазоры.

[6]

Такая конструкция позволяет остановить ротор двигателя в нештатной ситуации следующим образом. По сигналу системы управления из магистрали в полость, образованную между втулкой и поршнем, подается под давлением масло и происходит осевое смещение поршня до контакта с радиальным буртом контровочного кольцевого элемента. При этом сжимается пружина и исчезает контровка гайки. Далее поршень при касании об гайку свинчивает ее с дополнительного промежуточного вала. Если суммарная осевая сила валов компрессора и турбины низкого давления направлена назад (вправо), то в процессе свинчивания ротор с промежуточным валом смещается назад относительно дополнительного промежуточного вала и происходит касание и торможение ротора о статор компрессора и турбины низкого, давления. Если суммарная осевая сила направлена вперед (влево), а также при обрыве вала турбины низкого давления, то поршень свинчивает гайку до ее контакта с крышкой по радиальному выступу гайки. За счет этого валы компрессора и турбины низкого давления также смещаются назад по резьбе (имеется в виду резьбовое соединение гайки с промежуточным валом) до контакта и торможения ротора о статор компрессора и турбины низкого давления. Таким образом, при срабатывании системы отсоединения вала происходит осевое смещение не только ротора турбины низкого давления, но и ротора компрессора низкого давления, в связи с этим момент трения, возникающий от касания ротора об статор не может оказаться недостаточным, а в случае обрыва вала турбины низкого давления турбина не будет раскручиваться до разрушения, что повышает безопасность двухмоторного летательного аппарата. Кроме того, за счет того, что коммуникации заявленной конструкции не проходят через входной направляющий аппарат, она становится пригодной для двигателей с консольным расположением ротора компрессора низкого давления, а также там, где входной направляющий аппарат не содержит коммуникаций, что расширяет область применения заявленного устройства.

[7]

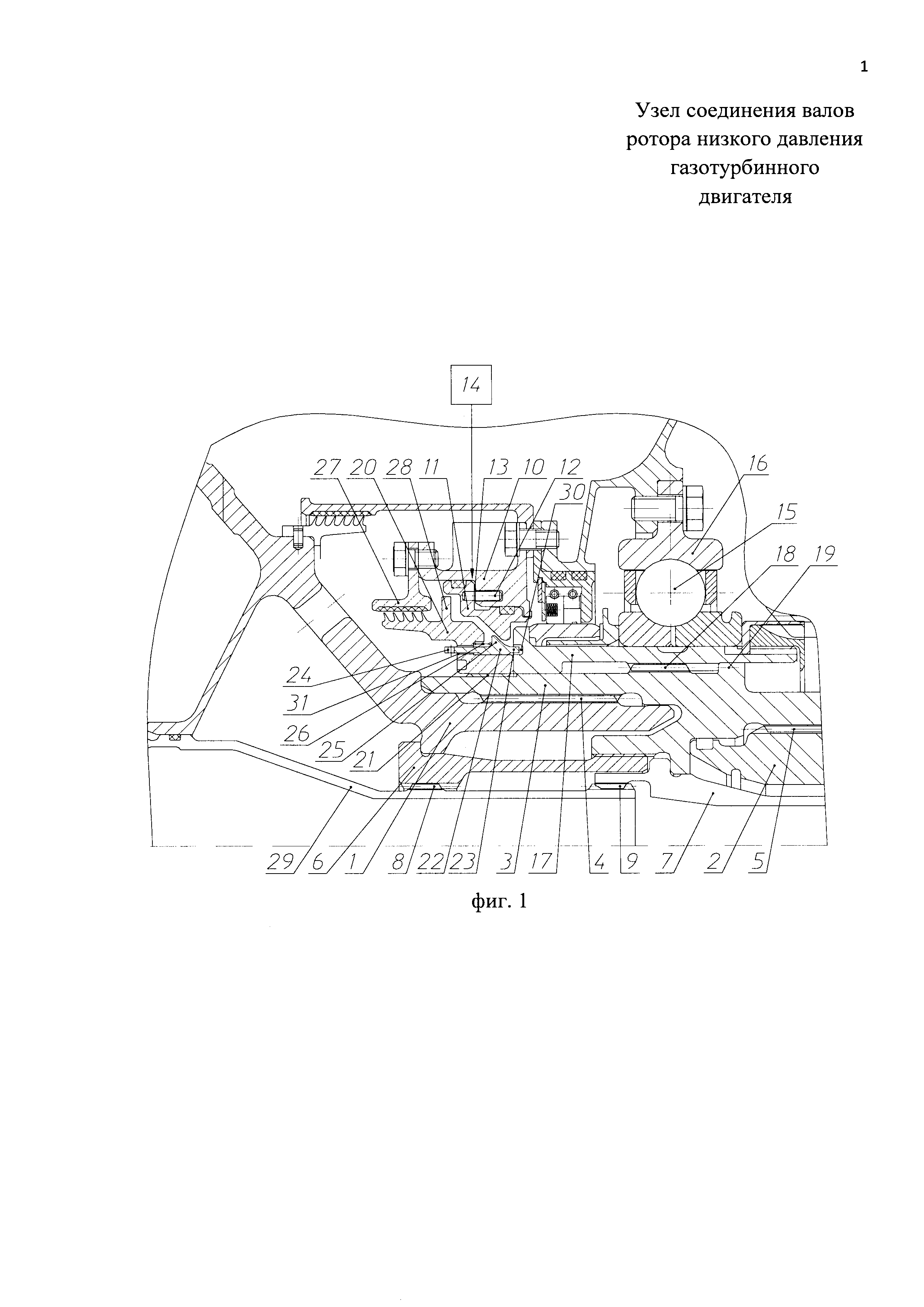
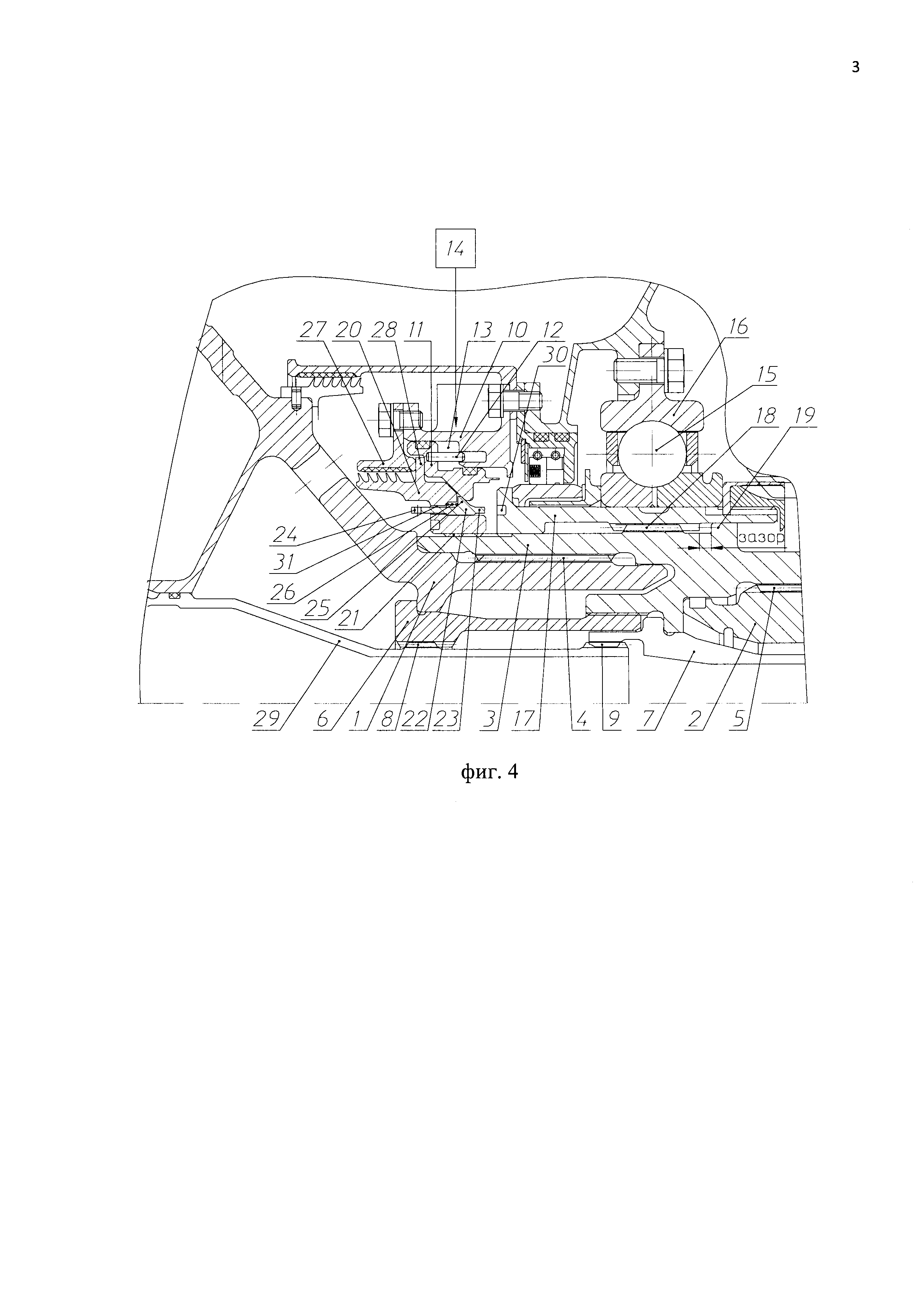
Сущность настоящего изобретения поясняется фигурами чертежей, где на фигуре 1 изображен узел соединения валов ротора низкого давления газотурбинного двигателя, продольный разрез; на фигуре 2 - нарушение контровочной связи в заявленном узле, продольный разрез; на фигуре 3 - смещение валов компрессора и турбины низкого давления при суммарной осевой нагрузке, направленной назад (вправо) в заявленном узле, продольный разрез; на фигуре 4 - смещение валов компрессора и турбины низкого давления при суммарной осевой нагрузке, направленной вперед (влево) в заявленном узле, продольный разрез.

[8]

Узел соединения валов ротора низкого давления газотурбинного двигателя, содержащий вал компрессора низкого давления 1, вал турбины низкого давления 2, цапфы которых заведены в промежуточный вал 3, причем вышеупомянутые валы 1, 2, 3 зафиксированы относительно друг друга в окружном направлении посредством шлицевых соединений 4,5 а в осевом направлении посредством посредством стяжного болта 6 и стяжной трубой 7, которые в свою очередь зафиксированы в окружном направлении контровочной трубой 29 через шлицевые соединения 8 и 9.

[9]

Узел также содержит втулку 10, жестко соединенную со статором, поршень 11, установленный во втулке 10 с возможностью осевого смещения в сторону компрессора низкого давления (влево) и зафиксированный относительно нее в окружном направлении посредством штифтов 12, причем между втулкой 10 и поршнем 11 образована полость 13, сообщенная с нагнетающей газовой или жидкостной магистралью 14 с перепускным клапаном (на чертежах не показан), шарикоподшипник 15, наружное кольцо 16, которого жестко соединено со статором.

[10]

Узел также содержит дополнительный промежуточный вал 17, установленный между шарикоподшипником 15 и промежуточным валом 3 и зафиксированный относительно последнего в окружном направлении посредством шлицевого соединения 18, а в осевом направлении посредством радиального выступа 19 и гайки 20, соответственно выполненного и установленной посредством резьбового соединения 21 на промежуточном валу 3.

[11]

На гайке 20 установлен контровочный кольцевой элемент 22, на торцах которого по окружности выполнены осевые выступы 23 и 24, установленные в соответствующие глухие пазы 30 в торце дополнительного промежуточного вала 17, а также в сквозные пазы 31 в торце гайки 20. На наружной поверхности контровочного кольцевого элемента 22 между близлежащими торцевыми поверхностями гайки 20 и поршня 11 выполнен радиальный бурт 25, между которым и упомянутыми торцевыми поверхностями первых образованы зазоры, причем в зазоре между радиальным буртом 25 контровочного кольцевого элемента 22 и торцевой поверхностью гайки 20 установлена осевая пружина 26.

[12]

Поршень 11 выполнен с возможностью контакта с гайкой 20 и радиальным буртом 25 контровочного кольцевого элемента 22, причем рабочие поверхности поршня 11, гайки 20 и радиального бурта 25 контровочного кольцевого элемента 22 выполнены коническими относительно продольной оси газотурбинного двигателя, большие основания которых относительно меньших расположены слева (со стороны компрессора низкого давления).

[13]

На втулке 10 жестко зафиксирована кольцевая стопорная крышка 27, а на наружной поверхности гайки 20 между близлежащими торцевыми поверхностями кольцевой стопорной крышки 26 и поршня 11 выполнен радиальный выступ 28, между которым и упомянутыми торцевыми поверхностями первых образованы осевые зазоры.

[14]

Устройство работает следующим образом. При обрыве вала турбины низкого давления 2, либо в другой нештатной ситуации, требующей принудительного останова ротора, происходит следующее. По сигналу системы управления (на чертежах не показана) из магистрали 14 в полость 13 подается под давлением масло и происходит осевое смещение поршня 11 до контакта с радиальным буртом 25 контровочного кольцевого элемента 22. При этом сжимается пружина 26 и исчезает контровка гайки 20. Далее поршень 11 при касании об гайку 20 свинчивает ее с дополнительного промежуточного вала 17. Если суммарная осевая сила валов компрессора и турбины низкого давления 1 и 2 направлена назад (вправо), то в процессе свинчивания ротор с промежуточным валом 3 смещается назад относительно дополнительного промежуточного вала 17 и происходит касание и торможение ротора о статор компрессора и турбины низкого давления. Если суммарная осевая сила направлена вперед (влево), а также при обрыве вала турбины низкого давления 2, то поршень 11 свинчивает гайку 20 до ее контакта с крышкой 27 по радиальному выступу 28 гайки 20. За счет этого валы компрессора и турбины низкого давления 1 и 2 также смещаются назад по резьбе 21 до контакта и торможения ротора о статор компрессора и турбины низкого давления. Таким образом, повышается безопасность двухмоторного летательного аппарата, а также расширяется область применения данного устройства.

Как компенсировать расходы
на инновационную разработку
Похожие патенты