патент
№ RU 2643501
МПК H03H9/25

РЕЗОНАТОР НА ПОВЕРХНОСТНЫХ АКУСТИЧЕСКИХ ВОЛНАХ

Авторы:
Жгун Сергей Александрович Богословский Сергей Владимирович Анцев Иван Георгиевич
Все (4)
Номер заявки
2017118638
Дата подачи заявки
29.05.2017
Опубликовано
01.02.2018
Страна
RU
Как управлять
интеллектуальной собственностью
Чертежи 
1
Реферат

Изобретение относится к области радиотехники и может быть использовано для создания генераторов сверхвысокочастотного (СВЧ) диапазона. Технический результат заключается в повышении добротности резонаторов на ПАВ на высоких частотах более 1 ГГц. Резонатор содержит пьезоэлектрическую подложку, на поверхности которой сформировано не менее двух отражающих структур (ОС), состоящих из массивов отражателей с переменным или постоянным периодом, и, по меньшей мере, один встречно-штыревой преобразователь (ВШП), сформированный на обращенной к пьезоэлектрической подложке стороне диэлектрической пластины, установленной параллельно пьезоэлектрической подложке с зазором между диэлектрической пластиной и пьезоэлектрической подложкой. Отражатели в ОС могут быть выполнены в виде канавок. Встречно-штыревые преобразователи электрически соединены либо параллельно, либо последовательно, либо каскадно, или в комбинациях соединений. 4 з.п. ф-лы, 1 ил.

Формула изобретения

1. Резонатор на поверхностных акустических волнах (ПАВ), содержащий пьезоэлектрическую подложку, на поверхности которой сформировано не менее двух отражающих структур (ОС), состоящих из массивов отражателей с переменным или постоянным периодом, и, по меньшей мере, один встречно-штыревой преобразователь (ВШП), отличающийся тем, что ВШП сформирован на обращенной к пьезоэлектрической подложке стороне диэлектрической пластины, установленной параллельно пьезоэлектрической подложке с зазором между диэлектрической пластиной и пьезоэлектрической подложкой, при этом величина зазора не превышает пяти длин поверхностной акустической волны на свободной поверхности на резонансной частоте.

2. Резонатор по п. 1, отличающийся тем, что расстояние между краями близлежащих отражающих структур равно расстоянию между отражателями внутри отражающих структур.

3. Резонатор по п. 1, отличающийся тем, что шаг электродов ВШП отличен от шага отражателей в отражающих структурах.

4. Резонатор по п. 1, отличающийся тем, что отражатели в отражающих структурах выполнены в виде канавок.

5. Резонатор по п. 1, отличающийся тем, что встречно-штыревые преобразователи электрически соединены либо параллельно, либо последовательно, либо каскадно, или в комбинациях соединений.

Описание

[1]

Изобретение относится к области радиотехники и может быть использовано в радиоэлектронной промышленности для создания генераторов сверхвысокочастотного (СВЧ) диапазона.

[2]

Задающий генератор конструируется с таким расчетом, чтобы в нем гармонические колебания возбуждались без внешних воздействий. В этом процессе основным элементом является резонатор, например резонатор на поверхностных акустических волнах (ПАВ). Резонатор должен обладать высокой добротностью, чтобы происходила компенсация потерь, определяющих затухание колебаний. Добротность определяет ширину резонанса и характеризует способность резонатора сохранять накопленную энергию. Достигнутый уровень технологий при правильных конструктивных решениях позволяет в настоящее время создавать резонаторы, обладающие большой добротностью. Высокодобротные резонаторы имеют, как правило, более высокую временную стабильность частоты (меньше старение). У резонаторов с малым значением величины добротности чаще наблюдается большее старение.

[3]

Проблема повышения добротности особенно актуальна для ПАВ-резонаторов сверхвысокочастотного диапазона, в которых потери энергии на распространение акустической волны резко увеличиваются на высоких частотах, вызывая затухание сигнала и снижение добротности резонаторов.

[4]

Из предшествующего уровня техники известны двухвходовые резонаторы на поверхностных акустических волнах (Зеленка И. Пьезоэлектрические резонаторы на объемных и поверхностных акустических волнах. М.: Мир, 1990, с. 397-398), состоящие из двух встречно-штыревых преобразователей (ВШП), расположенных на одной пьезоэлектрической подложке напротив друг друга. Недостатком этих резонаторов является низкая добротность (относительно резонаторов на объемных акустических волнах (ОАВ)) и, как следствие, низкая стабильность частоты генераторов, использующих данные резонаторы.

[5]

Известен одновходовый резонатор (Зеленка И. Пьезоэлектрические резонаторы на объемных и поверхностных акустических волнах. М.: Мир, 1990, с. 388-389), состоящий из одной пьезоэлектрической подложки, выполненной из кварца, на которой сформирован встречно-штыревой преобразователь и расположенные по обе стороны от ВШП металлизированные штыревые отражающие структуры (ОС). Недостатком этих резонаторов также является низкая добротность (относительно резонаторов на объемных акустических волнах (ОАВ)) и, как следствие, низкая стабильность частоты генераторов, использующих данные резонаторы.

[6]

Известна тестовая установка с накладными ВШП, выполненными на отдельной подложке (S.A. Sakharov, А.N. Zabelin, О.A. Buzanov, А.V. Medvedev, V.V. Alenkov, S.N. Kondratiev, S.A. Zhgoon. NONDESTRUCTIVE INVESTIGATION OF 4-INCH LANGASITE WAFER ACOUSTIC HOMOGENEITY. 2002 IEEE ULTRASONICS SYMPOSIUM, pp 227-230). Тестовая установка состоит из акустической системы, включающей в себя датчик, тестируемую пьезоэлектрическую пластину (подложку) и векторный анализатор цепей НР-3577А. Датчик построен на непьезоэлектрической подложке и снабжен двумя тонкопленочными встречно-штыревыми структурами с расщепленными электродами. Электрод: ширина и зазоры 7 микрон, апертура 4 мм, а расстояние между преобразователями составляет 14 мм. Пьезоэлектрическая подложка размещена в непосредственном контакте с системой преобразователя. Устройство неразрушающего контроля выполнено в форме линии задержки - входного и выходного ВШП, без нанесения на пьезоподложку электродов. Тестовая установка предназначена для изучения физических параметров новых поколений пьезоэлектрических материалов по всей площади пластины путем определения времени распространения ПАВ между двумя преобразователями, разделенными фиксированным расстоянием, и не может использоваться в качестве устройства стабилизации частоты.

[7]

Известен вариант конструкции акустоэлектронных устройств на ПАВ, когда ВШП размещается на основании, в том числе диэлектрическом, отстоящем от пьезоэлектрической подложки на некотором расстоянии (Patent Application (Заявка №591/KOL/2010), ASHISH KUMAR NAMDEO, HARSHAL В. NEMADE, N. RAMAKRISHNAN CONTACTLESS INTERDIGITAL TRANSDUCER BASED ON ELECTROSTATIC PRINCIPLE FOR SURFACE ACOUSTIC WAVE DEVICES, номер публикации 26/2013, дата публикации 28/06/2013). Данная конструкция используется в сенсорных устройствах на ПАВ, которые содержат чувствительную пленку, нанесенную на подложку по пути распространения ПАВ. Процессы поглощения и десорбции вызывают изменение свойств чувствительной пленки, таких как изменение массы, проводимость, вязкость, температура, давление, что приводит к изменению выходного электрического сигнала. Отсутствие ВШП на пьезоэлектрической подложке позволяет избавиться от соединительных проводов, мешающих процедуре нанесения покрытия, допускает повторное использование подложки и уменьшает искажения измеряемых параметров ПАВ. Устройство работает на частоте около 50 МГц. Данное техническое решение не предусматривает повышения добротности акустоэлектронного устройства на ПАВ применительно к резонаторам для высокостабильных генераторов на частотах свыше 1 ГГц, когда затухание ПАВ повышено и потери энергии велики.

[8]

В качестве прототипа принят известный резонатор на поверхностных акустических волнах, содержащий пьезоэлектрическую подложку, на поверхности которой сформирован ВШП, расположенный между выполненными в виде канавок отражающими структурами, содержащими массивы отражателей с переменным или постоянным периодом (О.Л. Балышева. Акустоэлектронная компонентная база. / Санкт-Петербургский государственный университет аэрокосмического приборостроения, «Журнал радиоэлектроники», №6, 2014). Недостатком прототипа применительно к диапазону СВЧ является низкая добротность резонатора. Наличие повышенного затухания ПАВ на высоких частотах по пути их распространения между отражающими структурами обусловлено физической природой распространения ПАВ, в том числе причиной затухания являются расположенные на подложке конструктивные элементы ВШП. Электроды ВШП способны рассеивать ПАВ в другие типы волн и имеют недостаточно малое сопротивление, что увеличивает потери энергии в системе.

[9]

Задачей настоящего изобретения является создание высокодобротных резонаторов на ПАВ, обеспечивающих высокую стабильность частоты генераторов СВЧ диапазона.

[10]

Технический результат заключается в повышении добротности резонаторов на ПАВ на высоких частотах более 1 ГГц.

[11]

Указанный технический результат достигается тем, что в резонаторе на поверхностных акустических волнах, содержащем пьезоэлектрическую подложку, на поверхности которой сформировано не менее двух отражающих структур (ОС), состоящих из массивов отражателей с переменным или постоянным периодом, и, по меньшей мере, один встречно-штыревой преобразователь (ВШП), в отличие от прототипа ВШП сформирован на обращенной к пьезоэлектрической подложке стороне диэлектрической пластины, установленной параллельно пьезоэлектрической подложке с зазором между диэлектрической пластиной и пьезоэлектрической подложкой, при этом величина зазора не превышает пяти длин поверхностной акустической волны на свободной поверхности на резонансной частоте.

[12]

Добротность колебательной системы пропорциональна отношению накопленной энергии к потерянной энергии за каждый период колебаний. Добротность резонатора на ПАВ при распространении волны внутри резонаторной полости, расположенной между отражающими структурами, определяется потерями энергии ПАВ на свободной поверхности пьезоэлектрической подложки, в области ВШП и в отражающих структурах.

[13]

Потери на распространение на свободной поверхности определяются материалом пьезоэлектрической подложки. Малыми потерями на частотах более 1 ГГц характеризуются такие материалы, как ниобат лития (LiNbO3) или танталат лития (LiTaO3). Потери на распространение обусловлены также несколько большими акустическими потерями энергии в материале электродов ВШП, который не является монокристаллом, и потерями на рассеяние от неоднородностей (ВШП, ОС, микротрещины) в другие типы волн.

[14]

Основными потерями энергии на подложках из ниобата лития или танталата лития, влияющими на добротность резонаторов на ПАВ на высоких частотах, являются резистивные потери в электродах ВШП. При подаче переменного напряжения на ВШП возникает электрическое поле, генерирующее ПАВ в пьезоэлектрической подложке. Образуется стоячая волна, распространяющаяся в обе стороны от ВШП, которая отражается от ОС и возвращается в область пьезоэлектрической подложки под ВШП. Стоячая волна создает электрическое поле, направленное обратно на ВШП, что приводит к возникновению наведенных токов в электродах ВШП. Изначально поданное переменное напряжение и наведенные за счет пьезоэффекта напряжения всех компонент, включая те, которые обусловлены отражением от ОС, действуют одновременно и определяют комплексную проводимость резонатора и, соответственно, токи в электродах ВШП.

[15]

Токи в электродах с сопротивлением всегда вносят потери энергии волны на преобразование в тепло. Когда ВШП расположен на пьезоэлектрической подложке (в случае прототипа), наведенные токи достаточно велики и значительное количество энергии уходит на преодоление сопротивления электродов. В отличие от прототипа, в предлагаемом резонаторе ВШП отделен в пространстве от пьезоэлектрической подложки и сформирован на диэлектрической пластине, установленной параллельно пьезоэлектрической подложке с определенным зазором, выполняющим роль воздушного конденсатора. Степень связи электродов с пьезоэлементом снижена и наведенные токи, возникающие в ВШП при распространении ПАВ, существенно меньше, чем токи, которые протекали бы в ВШП, расположенном на поверхности пьезоэлектрической подложки, что значительно снижает резистивные потери энергии и повышает добротность резонатора.

[16]

Удаление ВШП с пьезоэлектрической подложки позволяет снизить и акустические потери на распространение, поскольку поверхность между отражающими структурами не содержит статических неоднородностей, что также положительно влияет на добротность резонатора.

[17]

Оптимальная величина зазора между диэлектрической пластиной и пьезоэлектрической подложкой выбирается в зависимости от длины поверхностной акустической волны и требований, предъявляемых к добротности резонатора. Путем моделирования и экспериментальной проверки установлено, что допустимая величина зазора, при которой электрическое поле ВШП возбуждает ПАВ на пьезоэлектрической подложке, составляет 5λ (где λ - длина поверхностной акустической волны на свободной поверхности на резонансной частоте). Зазор не более 5λ позволяет реализовать предложенное техническое решение и повысить добротность резонатора. Величина зазора более 5λ является расстоянием, на котором электрическое поле ВШП уже не генерирует ПАВ в пьезоэлектрической подложке.

[18]

В случае, когда расстояние между краями близлежащих отражающих структур равно расстоянию между отражателями внутри отражающих структур, все отражающие структуры на пьезоэлектрической подложке образуют единый массив отражателей, расположенный под/над ВШП, сформированным на диэлектрической пластине. Данная топология упрощает совмещение геометрии ВШП и ОС при их формировании, позволяя уменьшить влияние на амплитудно-частотную характеристику (АЧХ) возможного сдвига ВШП вправо или влево относительно ОС. Вероятность ухода частоты генерации и появления паразитных резонансов снижается, что приводит к повышению добротности.

[19]

Для получения симметричной АЧХ возможна корректировка шага ВШП, которая позволяет подстроить максимум частотной характеристики (ЧХ) возбуждения волны к середине полосы ЧХ отражения волны. При этом шаг электродов ВШП в резонаторе на ПАВ может быть отличен от шага отражателей в отражающих структурах. Изменение шага ВШП подавляет паразитные резонансы с меньшей добротностью, приводящие к искажению целевой характеристики с одиночным максимумом с большой добротностью, потери энергии при этом уменьшаются.

[20]

По сравнению с резонаторами на ПАВ с металлизированными штыревыми отражающими структурами, расположенными на пьезоподложке, в которых возникают токи и происходят потери энергии, вызванные пьезоэффектом, резонаторы с отражающими структурами в виде периодической системы канавок, в которых потери энергии в ОС минимальны, имеют большую добротность.

[21]

В целях согласования с внешними цепями встречно-штыревые преобразователи электрически соединены либо параллельно - для снижения комплексного сопротивления, либо последовательно - для повышения импеданса (комплексного сопротивления). Каскадное соединение ВШП или в комбинациях соединений используется для достижения необходимой формы АЧХ.

[22]

Сущность изобретения поясняется чертежами, где:

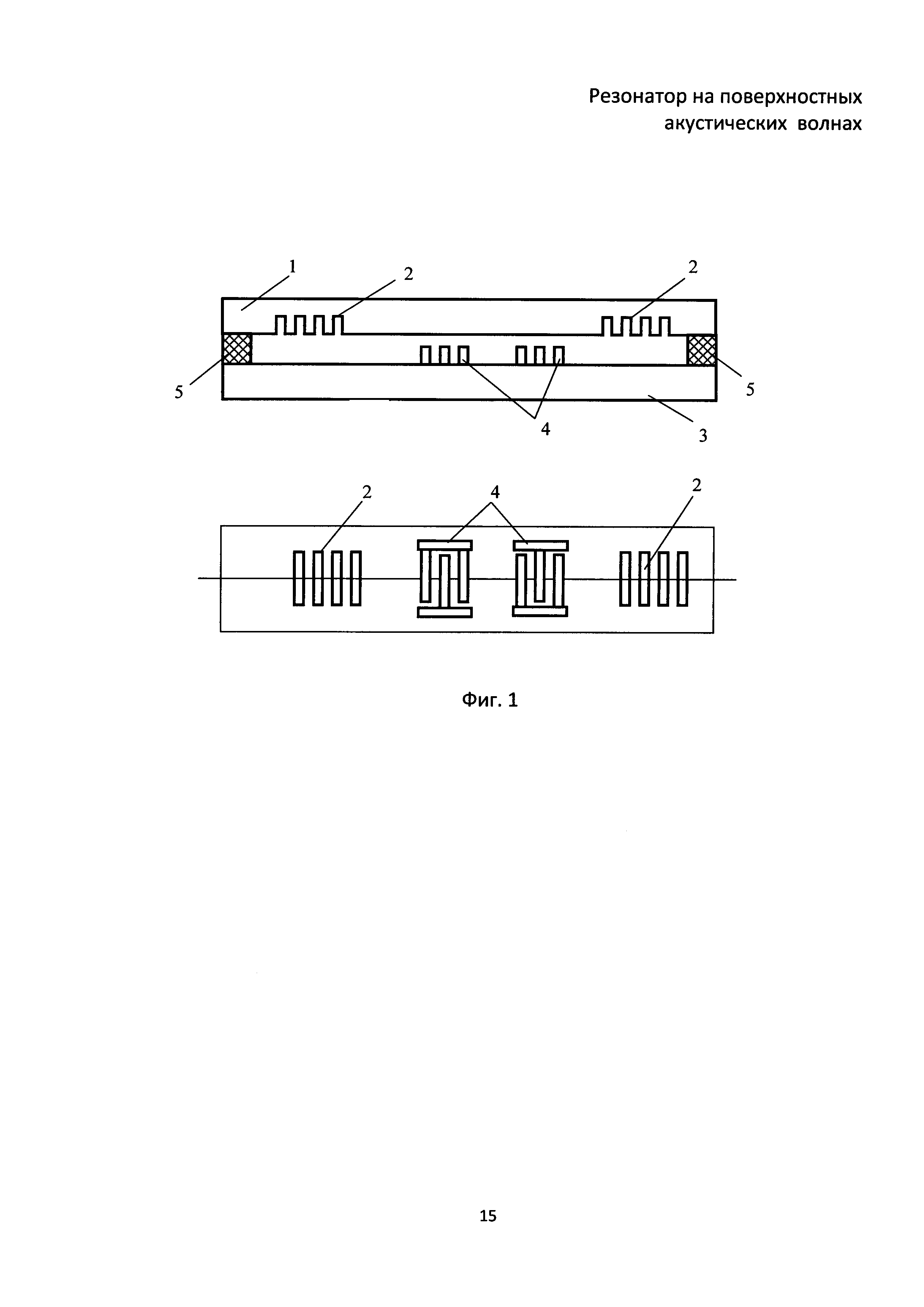
[23]

на фиг. 1 приведена структура резонатора на поверхностных акустических волнах.

[24]

Резонатор на поверхностных акустических волнах (фиг. 1) содержит пьезоэлектрическую подложку 1, на поверхности которой сформировано не менее двух отражающих структур 2, состоящих из массивов отражателей с переменным или постоянным периодом, диэлектрическую пластину 3 и, по меньшей мере, один встречно-штыревой преобразователь 4. ВШП 4 сформирован на обращенной к пьезоэлектрической подложке 1 стороне диэлектрической пластины 3, установленной параллельно пьезоэлектрической подложке 1 с зазором между диэлектрической пластиной 3 и пьезоэлектрической подложкой 1. Расстояние между диэлектрической пластиной 3 и пьезоэлектрической подложкой 1 может быть обеспечено прокладками 5, при этом величина зазора не превышает пяти длин поверхностной акустической волны на свободной поверхности на резонансной частоте.

[25]

На расстоянии около 5λ (где λ - длина поверхностной акустической волны на свободной поверхности на резонансной частоте) от пьезоэлектрической подложки 1 до поверхности направленного к ней встречно-штыревого преобразователя 4 электрическое поле ВШП 4 еще мало, но резонаторы с таким зазором потенциально могут использоваться в случаях, когда пьезоэлектрический материал подложки 1 обладает очень высоким коэффициентом электромеханической связи (КЭМС).

[26]

Путем моделирования и экспериментальной проверки подобраны также наиболее оптимальные варианты исполнения резонатора на ПАВ. Например, на расстоянии 0,1λ от пьезоэлектрической подложки 1 электрическое поле ВШП 4 вполне достаточно для работы резонатора с высоким КЭМС пьезоматериала.

[27]

Зазор между пьезоэлектрической подложкой 1 и диэлектрической пластиной 3 может быть минимальным, вплоть до касания. Однако, величину зазора менее 0,01λ при длине волны 1 мкм на частоте 3-4 ГГц достаточно сложно реализовать, так как диэлектрическая пластина 3 и пьезоподложка 1 практически прижаты друг к другу и расстояние между ними определяется неровностями поверхностей, механическое контактирование которых возможно лишь в трех точках.

[28]

Пьезоэлектрическая подложка 1 выполнена из пьезоэлектрического материала (например, ниобата лития), а диэлектрическая пластина 3 может быть выполнена из материала с большим электрическим сопротивлением, например, кремния или сапфира.

[29]

Прокладки 5 могут быть выполнены из того же материала, что и диэлектрическая пластина 3 или пьезоэлектрическая подложка 1. Прокладки 5 могут быть сформированы непосредственно на диэлектрической пластине 3 или на пьезоэлектрической подложке 1.

[30]

Массивы отражателей в отражающих структурах 2 могут быть выполнены, например, в виде системы канавок. Формирование канавок отражающих структур 2 реализовано по технологии травления через маску. Формирование ВШП 4 резонатора на ПАВ реализовано по технологии фотолитографии и травления. Могут быть использованы и другие технологические процессы формирования металлических структур на пьезоплатах. (Зеленка И. Пьезоэлектрические резонаторы на объемных и поверхностных акустических волнах. М.: Мир, 1990, 584 с.; Морган Д. Устройства обработки сигналов на поверхностных акустических волнах / Пер. с англ. М.: Радио и связь, 1990, 416 с.).

[31]

Возможен вариант структуры резонатора на поверхностных акустических волнах, когда расстояние между краями близлежащих отражающих структур 2 не превышает половины длины волны ПАВ и равно расстоянию между отражателями внутри отражающих структур 2. Все ОС 2 образуют на пьезоэлектрической подложке 1 единый массив отражателей, расположенный под/над ВШП 4. Такой вариант топологии резонатора на ПАВ не может быть реализован в случае формирования ВШП 4 на одной пьезоэлектрической подложке 1 совместно с отражающими структурами 2 по традиционной технологии (Зеленка И. Пьезоэлектрические резонаторы на объемных и поверхностных акустических волнах. М.: Мир, 1990, 584 с.).

[32]

В общем случае топологическая структура резонатора может иметь любой шаг, но чаще всего топология имеет периодическую структуру. С целью получения симметричной АЧХ с большой добротностью шаг электродов ВШП 4 может отличаться от шага отражателей в отражающих структурах 2. При проектировании резонаторов на ПАВ возможно изменение шага электродов ВШП 4 на 0,01%-2%.

[33]

В зависимости от поставленных задач встречно-штыревые преобразователи 4 резонатора на ПАВ электрически могут быть соединены либо параллельно, либо последовательно, либо каскадно, или в комбинациях соединений.

[34]

Резонатор на поверхностных акустических волнах работает следующим образом.

[35]

В соответствии с условием акустического синхронизма (Зеленка И. Пьезоэлектрические резонаторы на объемных и поверхностных акустических волнах. М.: Мир, 1990, 584 с.; Морган Д. Устройства обработки сигналов на поверхностных акустических волнах / Пер. с англ. М.: Радио и связь, 1990, 416 с.) резонансная частота резонатора на ПАВ определяется геометрическими размерами и взаимным расположением отражающих структур 2 и ВШП 4, геометрическими размерами канавок, штырей и других элементов, составляющих отражающие структуры 2, расстояниями между отражающими структурами 2, если их более одной.

[36]

При поступлении электрического сигнала от внешнего источника (на фиг. 1 не показан) на ВШП 4, расположенный на диэлектрической пластине 3, образуется электромагнитное поле. Электромагнитное поле через зазор между диэлектрической пластиной 3 и пьезоэлектрической подложкой 1 взаимодействует с пьезоэлектрической подложкой 1. Под действием пьезоэлектрического эффекта на пьезоэлектрической подложке 1 формируется ПАВ. Сформированная на пьезоэлектрической подложке 1 ПАВ распространяется в двух направлениях к отражающим структурам 2 или в едином массиве отражающих структур 2. Дойдя до отражающих структур 2 ПАВ отражается, и, таким образом, энергия ПАВ локализуется в области между ОС 2 или в едином массиве отражающих структур 2, когда расстояние между краями близлежащих ОС 2 равно расстоянию между отражателями внутри отражающих структур 2. Дальше взаимодействие ОС 2 и ПАВ полностью аналогично функционированию интерферометра Фабри-Перро (Морган Д. Устройства обработки сигналов на поверхностных акустических волнах / Пер. с англ. М.: Радио и связь, 1990, 416 с.). При наложении прямых и отраженных от ОС 2 ПАВ, вследствие их синфазности, происходит накопление энергии динамической системой в области резонанса, что приводит к резкому возрастанию амплитуды волнового процесса, то есть интерференция будет максимальной. В области электродов ВШП 4 происходит обратное преобразование механической энергии акустических волн в электрическую энергию.

[37]

Повышение добротности резонатора на ПАВ достигается за счет уменьшения потерь энергии на распространение и потерь, связанных с протеканием токов в электродах.

[38]

Величина добротности резонатора измеряется, например, по амплитудно-частотной характеристике (например, с использованием сетевого анализатора HP Е5070 В) или с использованием генераторных схем (Зеленка И. Пьезоэлектрические резонаторы на объемных и поверхностных акустических волнах. М.: Мир, 1990, 584 с.).

[39]

Таким образом, предложенный резонатор на ПАВ является резонатором на поверхностных акустических волнах с улучшенными характеристиками, в частности с более высокой добротностью на частотах выше 1 ГГц.

[40]

Источники информации

[41]

1. Зеленка И. Пьезоэлектрические резонаторы на объемных и поверхностных акустических волнах. М.: Мир, 1990, 584 с.

[42]

2. S.A. Sakharov, А.N. Zabelin, О.A. Buzanov, А.V. Medvedev, V.V. Alenkov, S.N. Kondratiev, S.A. Zhgoon NONDESTRUCTIVE INVESTIGATION OF 4-INCH LANGASITE WAFER ACOUSTIC HOMOGENEITY. 2002 IEEE ULTRASONICS SYMPOSIUM, pp 227-230.

[43]

3. Patent Application (Заявка №591/KOL/2010), ASHISH KUMAR NAMDEO, HARSHAL B. NEMADE, N. RAMAKRISHNAN CONTACTLESS INTERDIGITAL TRANSDUCER BASED ON ELECTROSTATIC PRINCIPLE FOR SURFACE ACOUSTIC WAVE DEVICES, номер публикации 26/2013, дата публикации 28/06/2013.

[44]

4. О.Л. Балышева. Акустоэлектронная компонентная база. / Санкт-Петербургский государственный университет аэрокосмического приборостроения, «Журнал радиоэлектроники», №6, 2014.

[45]

5. Морган Д. Устройства обработки сигналов на поверхностных акустических волнах / Пер. с англ. М.: Радио и связь, 1990, 416 с.

Как компенсировать расходы
на инновационную разработку
Похожие патенты