Изобретение относится к горному делу и может быть применено для гидравлического разрыва пласта в добывающей скважине при наличии попутной и/или подошвенной воды. Способ включает спуск колонны труб в скважину, закачку гелированной жидкости по колонне труб в интервал продуктивного пласта с образованием трещины, крепление трещины закачкой гелированной жидкости с проппантом, покрытым резиновой оболочкой. При этом дополнительно спускают перфоратор на колонне труб в добывающую скважину до подошвы пласта, выполняют пары перфорационных отверстий по периметру скважины снизу вверх со смещением на угол при выполнении каждой пары перфорационных отверстий. После выполнения перфорации колонну труб с перфоратором извлекают из скважины. Затем в скважину спускают колонну труб с пакером, производят посадку пакера в скважине, закачкой гелированной жидкости производят ГРП с образованием трещины. Далее в трещину закачивают оторочку сшитого геля на углеводородной основе в объеме 0,2 от объема закачанной гелированной жидкости. Крепление трещины производят в два этапа. При этом объем оставшейся гелированной жидкости делят на две равные части, а крепление трещины разрыва производят проппантом фракций 20/40 и 12/18, покрытым резино-полимерной композицией, равными долями по массе на каждом из этапов. При этом на первом этапе трещину крепят закачкой первой части гелированной жидкости с проппантом фракций 20/40, покрытым резино-полимерной композицией, а на втором этапе трещину крепят закачкой второй части гелированной жидкости с проппантом фракций 12/18, покрытым резино-полимерной композицией. Технический результат заключается в повышении эффективности и
Способ гидравлического разрыва пласта - ГРП, включающий спуск колонны труб в скважину, закачку гелированной жидкости по колонне труб в интервал продуктивного пласта с образованием трещины, крепление трещины закачкой гелированной жидкости с проппантом, покрытым резиновой оболочкой, отличающийся тем, что дополнительно спускают перфоратор на колонне труб в добывающую скважину до подошвы пласта, выполняют пары перфорационных отверстий по периметру скважины снизу вверх со смещением на угол при выполнении каждой пары перфорационных отверстий, после выполнения перфорации колонну труб с перфоратором извлекают из скважины, затем в скважину спускают колонну труб с пакером, производят посадку пакера в скважине, закачкой гелированной жидкости производят ГРП с образованием трещины, далее в трещину закачивают оторочку сшитого геля на углеводородной основе в объеме 0,2 от объема закачанной гелированной жидкости, крепление трещины производят в два этапа, при этом объем оставшейся гелированной жидкости делят на две равные части, а крепление трещины разрыва производят проппантом фракций 20/40 и 12/18, покрытым резино-полимерной композицией, равными долями по массе на каждом из этапов, при этом на первом этапе трещину крепят закачкой первой части гелированной жидкости с проппантом фракций 20/40, покрытым резино-полимерной композицией, а на втором этапе трещину крепят закачкой второй части гелированной жидкости с проппантом фракций 12/18, покрытым резино-полимерной композицией.
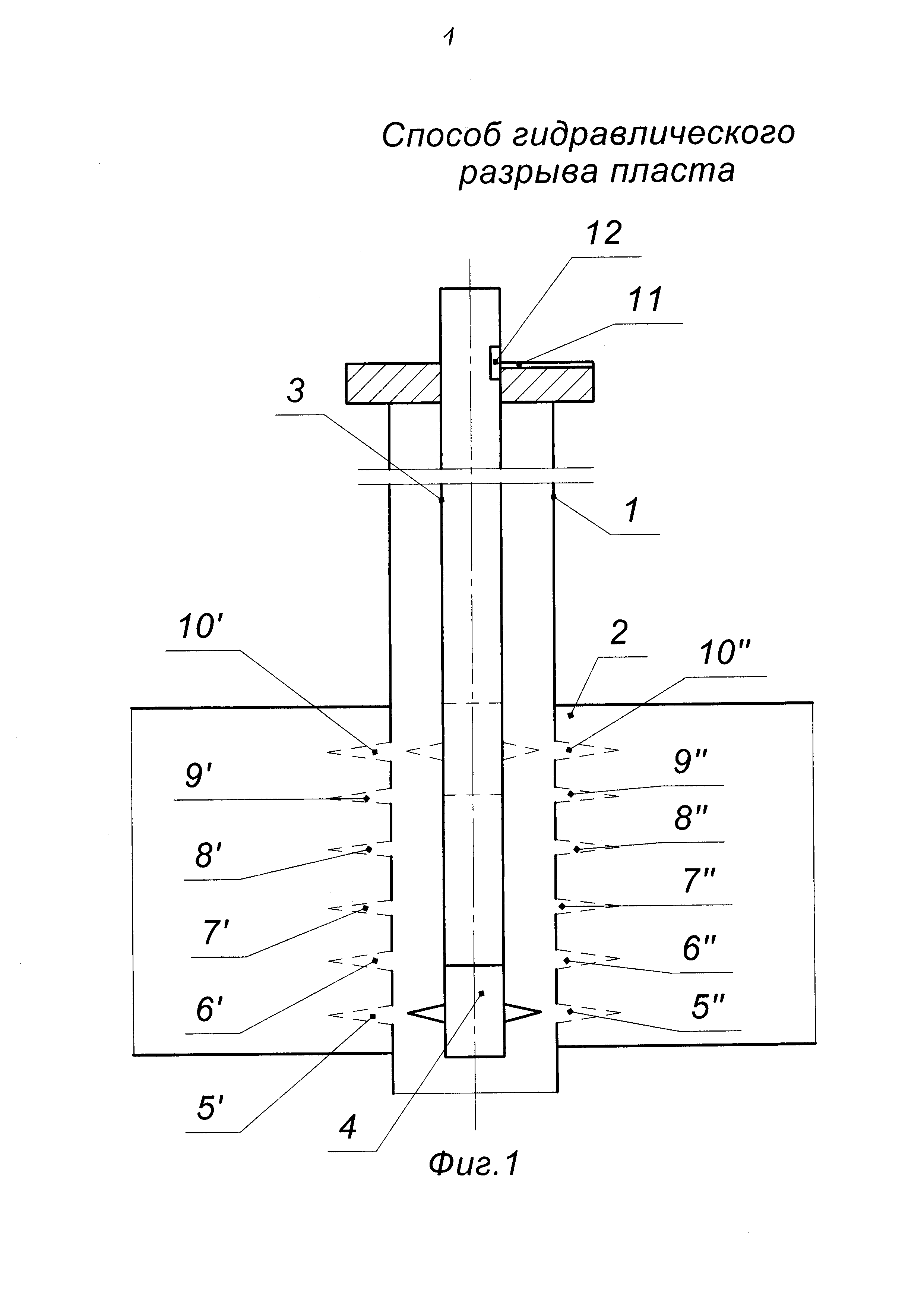
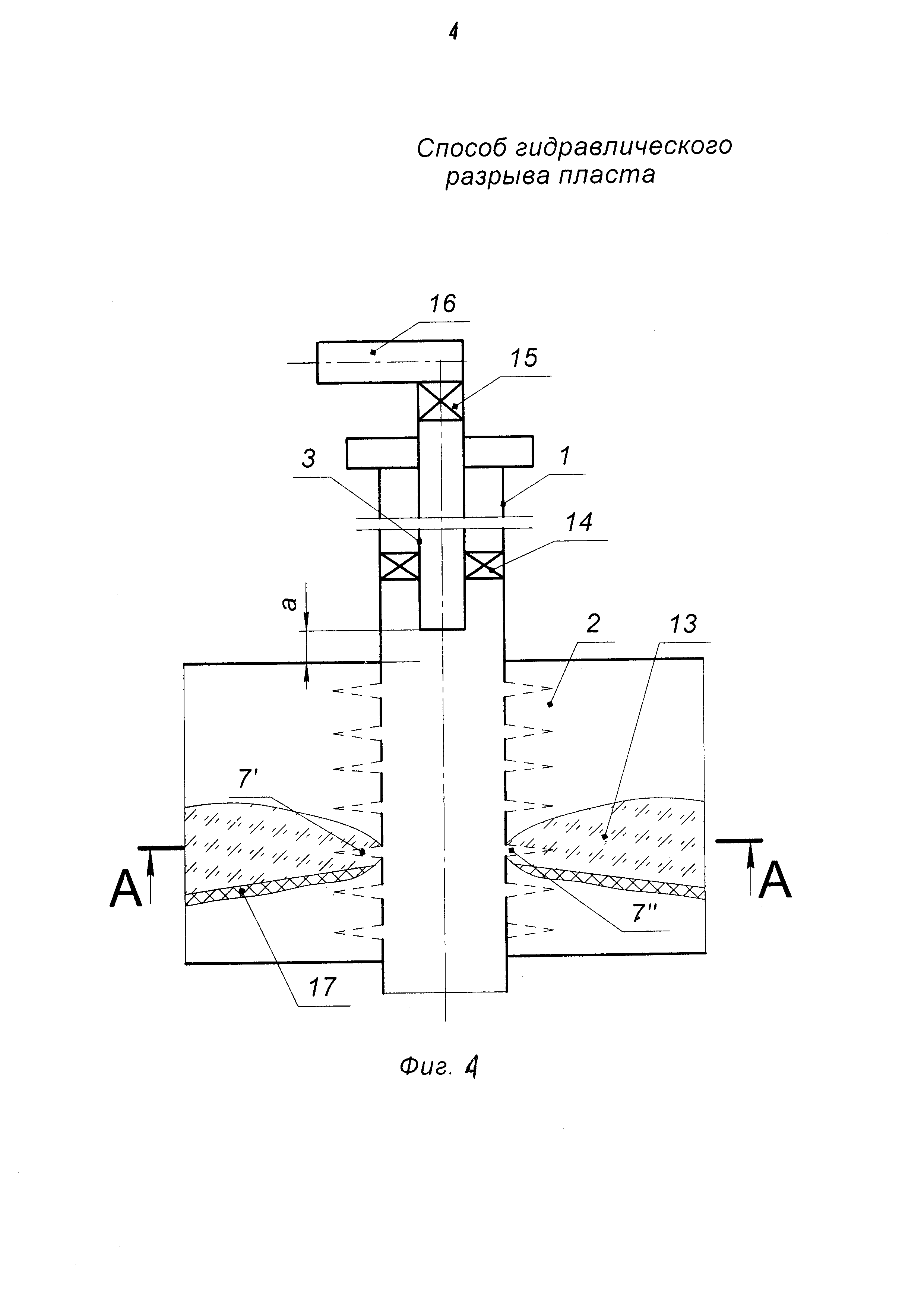
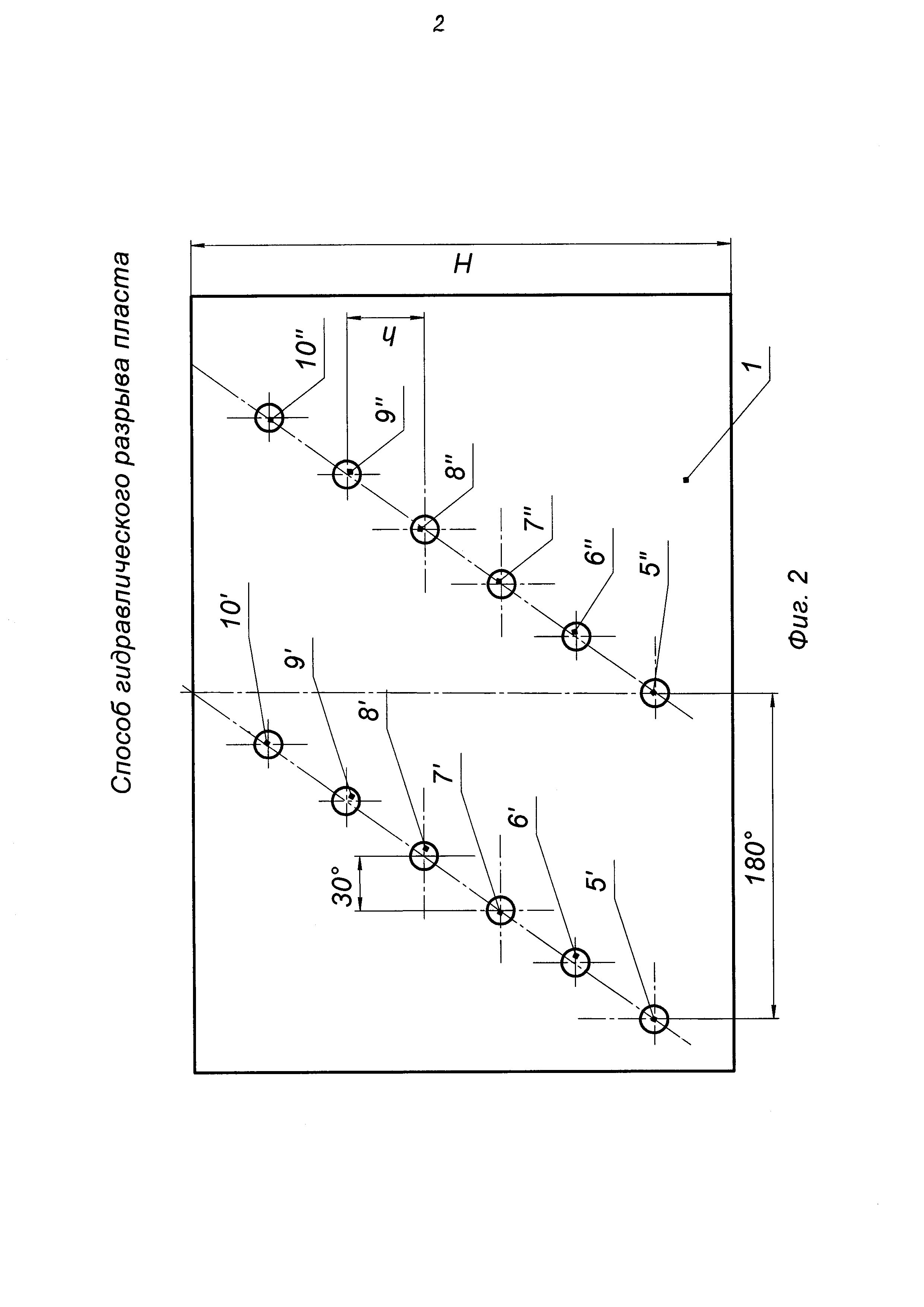
Изобретение относится к области нефтегазодобывающей промышленности, в частности, может быть использовано для гидравлического разрыва пласта в добывающей скважине при наличии попутной и/или подошвенной воды. Известен способ гидроразрыва пласта (ГРП) (патент RU №2170818, МПК E21B 43/26, опубл. 20.07.2001 г., бюл. №20), предусматривающий образование в пласте с подошвенной водой трещины гидроразрыва, при этом в насосно-компрессорные трубы (НКТ) и ниже них спускают гибкие трубы (ГТ) до нижних отверстий интервала перфорации для прокачки по ним проппанта в смеси с водоизолирующим цементом в количестве, достаточном для заполнения смесью нижней части трещины до уровня выше водонефтяного контакта с заполнением части трещины в зоне подошвенной воды в части трещины внизу нефтенасыщенной зоны, при этом одновременно по колонне НКТ подают жидкость-песконоситель с проппантом в количестве, достаточном для заполнения верхней части вертикальной трещины. Недостатки данного способа: - во-первых, ГРП осуществляют перед водоизоляцией, что в карбонатных породах может привести к образованию трещин по всей высоте пласта от подошвенной воды до кровли, и нет гарантии того, что при проведении последующей водоизоляции подошвенной части пласта их полностью удастся изолировать (перекрыть канал поступления воды в продуктивную часть пласта), что снижает эффективность ГРП и вызывает быстрое обводнение скважины при последующей эксплуатации карбонатного пласта; - во-вторых, после образования трещин в пласте закачкой жидкости разрыва по колонне НКТ в колонну НКТ спускают ГТ и на проведение этой операции затрачивается определенное количество времени, в течение которого трещины частично смыкаются, затем производят одновременно водоизоляцию цементом по ГТ подошвенной части пласта и закачку жидкости-песконосителя по кольцевому пространству между колоннами НКТ и ГТ для уплотнения уже начавшей смыкаться трещины, что усложняет технологический процесс осуществления способа и снижает проницаемость образуемых трещин; - в-третьих, колонна НКТ должна иметь большой диаметр, так как для прокачки жидкости-песконосителя используется кольцевое пространство между колоннами НКТ и ГТ, поэтому перед проведением ГРП необходимо совершать дополнительные спуско-подьемные операции по замене эксплуатационной колонны НКТ; - в-четвертых, необходимо привлекать дорогостоящее оборудование (пескосмеситель) и насосные агрегаты высокого давления для продавки жидкости-песконосителя с проппантом в пласт. Наиболее близким по технической сущности является способ гидроразрыва малопроницаемого пласта (патент RU №2402679, МПК E21B 43/26, опубл. 27.10.2010 г., бюл. №30), включающий спуск колонны труб в скважину в интервал продуктивного пласта, закачку гелированной жидкости по колонне труб в интервал продуктивного пласта с образованием трещины, при этом в процессе закачки обеспечивают турбулентный режим течения жидкости в трещине посредством закачивания гелированной жидкости с вязкостью менее 0,01 Па⋅с со скоростью закачки не менее 8 м3/мин, производят крепление трещины разрыва закачкой гелированной жидкости с проппантом, покрытым резиновой оболочкой, причем радиус проппанта, покрытого резиновой оболочкой, определяют расчетным путем. Недостатками данного способа являются: - во-первых, низкая эффективность реализации способа, так как в процессе образования трещины она может развиться не в направлении, перпендикулярном направлению минимального напряжения, а в направлении водоносного горизонта, особенно в скважинах с подошвенной водой, что может привести к прорыву трещины в водоносный горизонт и, как следствие, резкому обводнению продукции; - во-вторых, низкая надежность проведения ГРП, связанная с закачкой проппанта расчетного радиуса, при этом ошибка в расчете может привести к невозможности продавки проппанта в трещину и ее закрепления; - в-третьих, низкое качество изоляции скважины от перетока по трещине попутной и/или подошвенной воды проппантом, покрытым резиновой оболочкой, не имеющей возможности набухания, что вызовет резкое обводнение скважины; - в четвертых, нижний конец колонны труб спущен в интервал пласта, что чревато прихватом колонны труб при резком повышении давления, например, во время крепления трещины, и как следствие проведение аварийных работ; - в-пятых, низкая проводимость трещины разрыва, так как в процессе разрыва пласта гель образует осадок в трещине, что способствует неполному закреплению трещины проппантом одной фракции. Техническими задачами изобретения являются повышение эффективности и надежности реализации способа, а также повышение качества изоляции трещины от попутной и/или подошвенной воды, исключение прихвата при проведении ГРП и повышение проводимости трещины разрыва. Поставленные технические задачи решаются способом гидравлического разрыва пласта - ГРП, включающим спуск колонны труб в скважину, закачку гелированной жидкости по колонне труб в интервал продуктивного пласта с образованием трещины, крепление трещины закачкой гелированной жидкости с проппантом, покрытым резиновой оболочкой. Новым является то, что дополнительно спускают перфоратор на колонне труб в добывающую скважину до подошвы пласта, выполняют пары перфорационных отверстий по периметру скважины снизу вверх со смещением на угол при выполнении каждой пары перфорационных отверстий, после выполнения перфорации колонну труб с перфоратором извлекают из скважины, затем в скважину спускают колонну труб с пакером, производят посадку пакера в скважине, закачкой гелированной жидкости производят ГРП с образованием трещины, далее в трещину закачивают оторочку сшитого геля на углеводородной основе в объеме 0,2 от объема закачанной гелированной жидкости, крепление трещины производят в два этапа, при этом объем оставшейся гелированной жидкости делят на две равные части, а крепление трещины разрыва производят проппантом фракций 20/40 и 12/18, покрытым резино-полимерной композицией, равными долями по массе на каждом из этапов, при этом на первом этапе трещину крепят закачкой первой части гелированной жидкости с проппантом фракций 20/40, покрытым резино-полимерной композицией, а на втором этапе трещину крепят закачкой второй части гелированной жидкости с проппантом фракций 12/18, покрытым резино-полимерной композицией. На фиг. 1 схематично изображен процесс перфорации интервала пласта в скважине. На фиг. 2 схематично изображена развертка интервала перфорации скважины. На фиг. 3 схематично изображен устьевой фланец с метками и колонна труб с риской в процессе проведения ГРП. На фиг. 4 схематично изображен процесс ГРП. На фиг. 5 схематично изображено направление развития трещины. В добывающую скважину 1 (см. фиг. 1 и 2) до подошвы пласта 2 на колонне труб 3 спускают перфоратор 4 любой известной конструкции (щелевой, гидромеханический), позволяющий выполнить пару отверстий прямоугольного сечения, расположенных противоположно друг к другу (под углом 180°). Например, используют гидромеханический перфоратор ПГМ конструкции института «ТатНИПИнефть». В интервале продуктивного пласта 2 по периметру скважины 1 снизу вверх выполняют пары перфорационных отверстий со смещением на угол в зависимости от количества пар отверстий и расстояния между ними (см. фиг. 2) при выполнении каждой пары перфорационных отверстий. Например, перфорируют интервал пласта 2 (см. фиг. 1 и 2) выполнением, например, шести пар отверстий (прямоугольного сечения) 5' и 5'', 6' и 6'', 7' и 7'', 8' и 8'', 9' и 9'', 10' и 10'' снизу вверх с подъемом и поворотом колонны труб на 30° при каждом последующем проколе. Длину h подъема колонны труб 3 между парами отверстий 5' и 5'', 6' и 6'', 7' и 7'', 8' и 8'', 9' и 9'', 10' и 10'' определяют как высоту продуктивного пласта 2, разделенную на семь равных частей. Например, при высоте пласта Н=3,5 м длина h между парами отверстий 5' и 5'', 6' и 6'', 7' и 7'', 8' и 8'', 9' и 9'', 10' и 10, а также от кровли и подошвы пласта 2 будет равна: h=Н/7=3,5 м/7=0,5 м. В процессе реализации способа необходимо получить шесть пар отверстий 5' и 5'', 6' и 6'', 7' и 7'', 8' и 8'', 9' и 9'', 10' и 10'' с равным углом поворота 30° между ближайшими парами. Например, между парой отверстий 7' и 7'' (см. фиг. 3) угол поворота снизу относительно отверстий 6' и 6'' и выше относительно отверстий 8' и 8'' составляет 30°. С этой целью применяют устьевой фланец (на фиг. 3 показан условно), имеющий насечки 11', 11'', 11''', 11'''', 11''''', 11'''''' по периметру с углом 30° (см. фиг. 2 и 3), соответствующие каждой паре отверстий 5' и 5'', 6' и 6'', 7' и 7'', 8' и 8'', 9' и 9'', 10' и 10''. На колонне труб наносят одну риску 12 (см. фиг. 1 и 3), например углубление высотой 40-50 мм и глубиной 2 мм на поверхности колонны труб 3. Размещают риску 12 колонны труб 3 на отметке 11' устьевого фланца положении колонны труб колонну труб 3 с гидромеханическим перфоратором 4. Приподнимают колонну труб 3 с гидромеханическим перфоратором 4 от подошвы пласта 2 на длину h=0,5 м. Выполняют пару отверстий 5' и 5'' в интервале пласта 2 скважины 1 с помощью гидромеханического перфоратора 4 (за счет радиального выдвижения двух резцов, размещенных относительно друг друга под углом 180°) согласно инструкции по его эксплуатации. Затем вновь приподнимают колонну труб 3 с гидромеханическим перфоратором 4 вверх на 0,5 м, при этом поворачивают колонну труб 3 до размещения ее риски 12 напротив метки 11'' на устьевом фланце, например, по часовой стрелке, и производят выполнение с помощью гидромеханического перфоратора 4 пары отверстий 6' и 6'' в интервале пласта 2 скважины 1. Далее аналогичным образом, поворачивая колонну труб 3 по часовой стрелке на 30° и последовательно совмещая риску 12 колонны труб 3 с метками 11''', 11'''', 11''''', 11'''''', выполняют еще четыре соответствующих пары отверстий 7' и 7'', 8' и 8'', 9' и 9'', 10' и 10'' в интервале пласта 2 скважины 1. Направление перфорации снизу вверх в скважине 1 выбирают с целью исключения прихвата резцов (на фиг. 1 показаны условно) гидромеханического перфоратора 4 при их выдвижении ранее выполненными парами отверстий 5' и 5'', 6' и 6'', 7' и 7'', 8' и 8'', 9' и 9'', 10' и 10''. Таким образом, в интервале пласта 2 (см. фиг. 1) скважины 1 получают перфорационные отверстия 5' и 5'', 6' и 6'', 7' и 7'', 8' и 8'', 9' и 9'', 10' и 10''. Выполнение пар отверстий 5' и 5'', 6' и 6'', 7' и 7'', 8' и 8'', 9' и 9'', 10' и 10'' с поворотом 30° позволяет создать направления образования трещины 13 (см. фиг. 4 и 5) в пласте 2 при последующем проведении ГРП в направлении, перпендикулярном минимальному напряжению пород в пласте 2 (см. фиг. 3). Например, направление пары отверстий 7' и 7'' в интервале продуктивного пласта 2 совпадает с направлением, перпендикулярным минимальному напряжению пород в продуктивном пласте 2. Извлекают колонну труб 3 с гидромеханическим перфоратором 4 из скважины 2. Далее спускают в скважину 1 колонну труб 3 с пакером 14. В качестве пакера применяют любой известный пакер. Производят посадку пакера 14 в скважине 1, например, на 5 м выше нижнего конца колонны труб 3, и осуществляют герметизацию заколонного пространства колонны труб 3, при этом нижний конец колонны труб 3 находится выше кровли пласта 2 на расстоянии 0,5 м. Расстояние, равное 0,5 м, позволяет исключить прихват колонны труб 3 в случае резкого повышения давления в процессе крепления трещины 13. Применение гидромеханического перфоратора повышает надежность проведения ГРП, так как в процессе перфорации образуются пары отверстий 5' и 5'', 6' и 6'', 7' и 7'', 8' и 8'', 9' и 9'', 10' и 10''. Каждая пара из прямоугольных отверстий имеет минимальный размер 10 на 20 мм. Этого размера вполне достаточно для продавки проппанта фракций 20/40 и 12/18 (см. табл.) в трещину 13 и ее закрепления. На устье скважины 1 на верхний конец колонны труб 3 наворачивают задвижку 15, которую посредством нагнетательной линии 16 обвязывают с насосными агрегатами (на фиг. 1, 2, 3, 4 и 5 не показаны) для закачки гелированной жидкости. Определяют общий объем гелированной жидкости по следующей формуле: Vг=k⋅Hп, где Vг - общий объем гелированной жидкости, м3; k=11-12 - коэффициент перевода, м3/м, примем k=11; Нп - высота пласта 2, м. В данной формуле коэффициент перевода получен опытным путем и зависит от физико-химических свойств пласта 2 (см. фиг. 1), в котором производят ГРП. Например, высота пласта 2 равна 3,5 м. Подставляя в формулу Vг=k⋅Hп, получаем общий объем гелированной жидкости: Vг=(11-12) (м3/м)⋅3,5 (м)=(38,5-42) м3. Примем Vг=40 м3. В качестве гелированной жидкости применяют любой известный состав линейного геля. С помощью насосных агрегатов по нагнетательной линии 16 (см. фиг. 4) через открытую задвижку 15 закачивают в скважину 1 по колонне труб 3 через перфорационные отверстия 5' и 5'', 6' и 6'', 7' и 7'', 8' и 8'', 9' и 9'', 10' и 10'' в интервале пласта 2 гелированную жидкость - линейный гель с динамической вязкостью, например, 30 сП до достижения разрыва пород пласта 2. Например, разрыв породы пласта 2 происходит через пару отверстий 7' и 7'', направление которых перпендикулярно направлению минимального напряжения - σмин (см. фиг. 4 и 5) и образования трещины 13, о чем будет свидетельствовать падение давления закачки и увеличение приемистости пласта 2. Повышается эффективность реализации способа, так как в процессе образования трещины 13 она развивается в направлении, перпендикулярном направлению минимального напряжения, что исключает прорыв трещины в водоносный горизонт в процессе проведения ГРП и не приводит к обводнению продукции. Так, в процессе закачки линейного геля достигли давления 30 МПа, а вследствие образования трещины 13 произошло падение давления закачки линейного геля на 25%, т.е. до 22,5 МПа, при этом приемистость пласта 2 увеличилась на 30%, например, от 7,0 до 9,1 м3/мин. Использование линейного геля с динамической вязкостью 30 сП создает меньшее сопротивление вследствие сравнительно низкой вязкости и позволяет создать высокопроводящую трещину 13. В процессе образования трещины 13 по колонне труб в пласт 2 была закачана гелеобразная жидкость разрыва - линейный гель в объеме, например, 19 м3. Далее в трещину 13 закачивают сшитый гель в объеме 0,2 от объема закачанной гелированной жидкости разрыва, т.е. 0,2⋅19 м3=3,8 м3. С помощью насосных агрегатов по нагнетательной линии 16 через открытую задвижку 15 по колонне труб 3 и через пару отверстий 7' и 7'' в трещину 13 закачивают оторочку сшитого геля на углеводородной основе. В качестве геля на углеводородной основе применяют любой известный состав геля на углеводородной основе. Сшитый гель на углеводородной основе имеет низкие потери давления на трение в трубах и высокую вязкость в пласте, что обеспечивает создание широких, глубоко проникающих трещин с хорошим заполнением расклинивающим материалом. При деструкции не образует осадка, не повреждает пласт и набивку, что способствует образованию высокопроводящей трещины. Сшитый гель опускается на дно трещины 13 и образует своеобразную «подушку» 17 (см. фиг. 4), которая с одной стороны предотвращает развитие трещины 13 вниз и ее прорыв при последующем ее креплении проппантом в пласт с подошвенной водой (при наличии), а с другой - снижает фильтрацию линейного геля в подошву пласта 2, что позволяет равномерно заполнить трещину 13 проппантом. Далее производят крепление трещины в два этапа. Оставшийся объем гелированной жидкости делят на две равные части (Vг1=Vг2=(40 м3-19 м3)/2=21 м3/2=10,5 м3) и закачивают в два этапа с равным количеством проппанта фракций 20/40 и 12/18, покрытого резино-полимерной композицией. Например, при общем количестве проппанта, равном 6 т, в каждом из этапов закачивают по 3 т проппанта (6 т/2=3 т). Таким образом, на первом этапе в гелированной жидкости объемом Vг1=10,5 м3 закачивают проппант, покрытый резино-полимерной композицией, фракцией 20/40 в количестве 3 т. На втором этапе в гелированной жидкости объемом Vг2=10,5 м3 закачивают проппант, покрытый резино-полимерной композицией, фракцией 12/18 в количестве 3 т. Резино-полимерной композицией покрывают исходную фракцию проппанта (см. табл.), при этом толщина самого слоя этой композиции составляет примерно 0,4 мм, что получено опытным путем. Резино-полимерная композиция имеет возможность набухания в воде до 300% от первоначальной величины. Покрытие проппанта - это модифицированное покрытие ВНР-400 (отношение массовых частей В50Э к каучуку - 400/100) резино-полимерной композицией на основе бутадиен-нитрильного каучука марки БНКС-28АМН и водонабухающего полиакриламида марки В-50Э. Крепление трещины 13 производят после размещения на дне трещины 13 «подушки» сшитого геля в два этапа: сначала закачкой мелкой фракции проппанта 20/40 крепят отдаленную часть трещины, а затем более крупной фракцией проппанта 12/18 крепят трещину разрыва 13 в призабойной зоне скважины, что позволяет создать высокопроводящую трещину разрыва 13. В результате повышается качество изоляции трещины при наличии попутной и/или подошвенной воды, так как проппант, покрытый резино-полимерной композицией, имеет возможность набухания только в воде (в нефти данная композиция не набухает) до 300% от первоначальной толщины 0,4 мм, что приводит к уплотнению проппанта в трещине и предотвращает обводнение скважины. Предлагаемый способ ГРП позволяет: - повысить эффективность и надежность проведения ГРП; - повысить качество изоляции трещины при наличии попутной и/или подошвенной воды; - исключить вероятность прихвата колонны труб при возникновении резкого повышения давления; - создать высокопроводящую трещину разрыва.