патент
№ RU 2632233
МПК B64D25/10

СИСТЕМА АВАРИЙНОГО СПАСЕНИЯ ЧЛЕНА ЭКИПАЖА САМОЛЕТА

Авторы:
Шмуклер Борис Юрьевич Ковба Вячеслав Викторович Поздняков Сергей Сергеевич
Все (5)
Номер заявки
2016130367
Дата подачи заявки
26.07.2016
Опубликовано
03.10.2017
Страна
RU
Как управлять
интеллектуальной собственностью
Чертежи 
6
Реферат

Изобретение относится к авиационной технике. Система аварийного спасения члена экипажа самолета содержит пневмопривод, включающий подвижный пневмоцилиндр-аккумулятор, заполненный сжатым газом, подвижный и неподвижный пневмоцилиндры, в исходном положении зафиксированные между собой, а также предохранительный клапан. На верхнем торце пневмоцилиндра-аккумулятора размещена горловина с манометром и механизмом пробивания фонаря самолета, на нижнем - дно с запорно-пусковым механизмом и дроссельным трехступенчатым автоматическим регулятором расхода газа. Дроссельный трехступенчатый автоматический регулятор расхода газа содержит профилированную иглу, в момент срабатывания пневмопривода перемещающуюся в рабочее положение и фиксирующуюся давлением газа, и сверхзвуковое сопло. Изобретение направлено на уменьшение габаритов. 2 з.п. ф-лы, 6 ил.

Формула изобретения

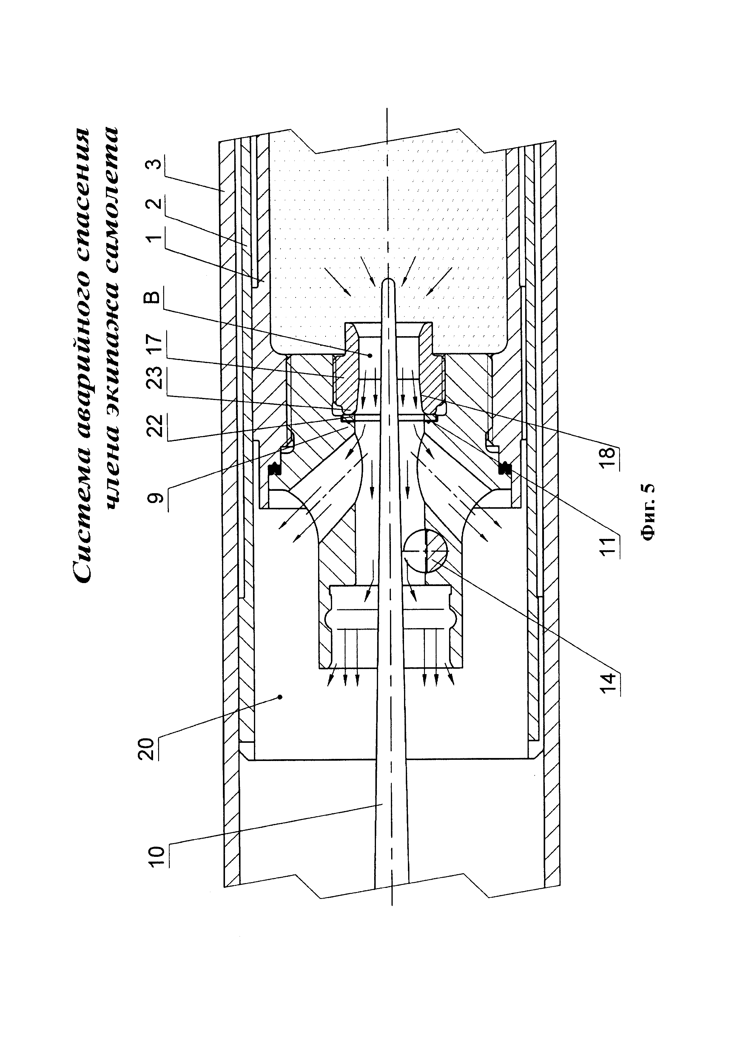
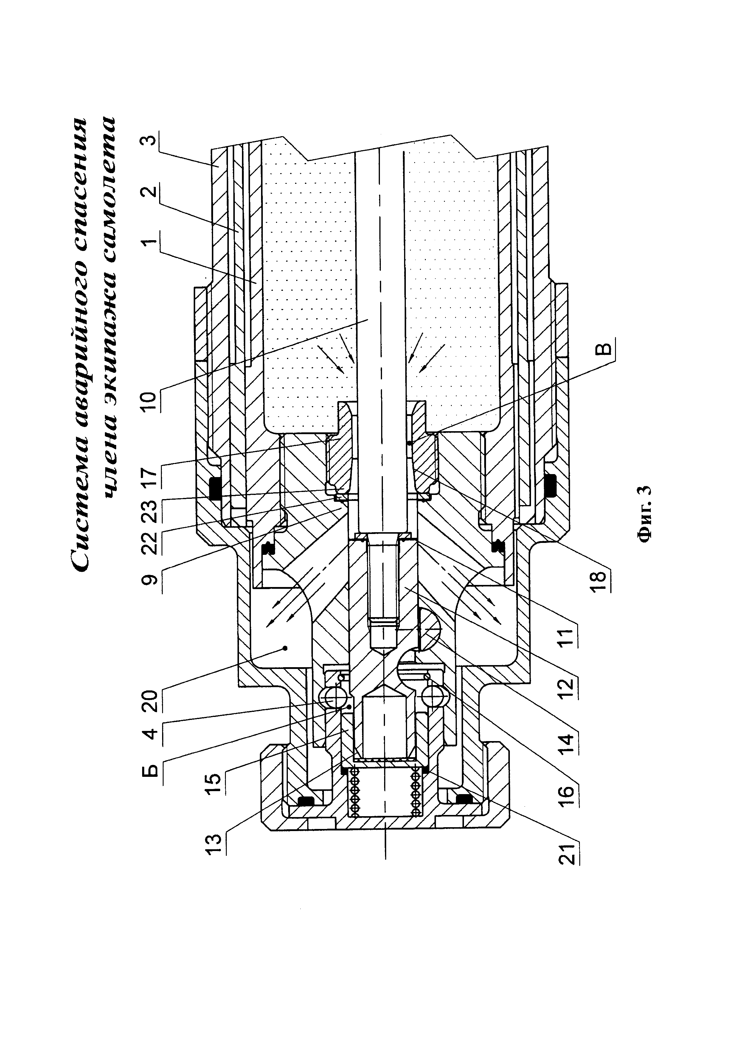
1. Система аварийного спасения члена экипажа самолета, содержащая пневмопривод, включающий подвижный пневмоцилиндр-аккумулятор, заполненный сжатым газом, например воздухом, подвижный и неподвижный пневмоцилиндры, в исходном положении зафиксированные между собой, а также дроссель с профилированной иглой и предохранительный клапан, отличающаяся тем, что верхний торец пневмоцилиндра-аккумулятора содержит горловину с манометром и механизмом пробивания фонаря самолета, а нижний - дно с запорно-пусковым механизмом.

2. Система по п. 1, отличающаяся тем, что дроссель представляет собой трехступенчатый автоматический регулятор расхода газа, выполненный в виде сверхзвукового сопла, которое после срабатывания пневмопривода вначале во взаимодействии с сечением профилированной иглы, в момент срабатывания пневмопривода перемещающейся в рабочее положение и фиксирующейся в пневмоприводе давлением газа, а затем автономно образует дроссели расчетного минимального, расчетного увеличивающегося и расчетного максимального сечения.

3. Система по п. 1, отличающаяся тем, что она снабжена запорно-пусковым механизмом, который содержит срезанный пусковой валик, зафиксированный валиком шток, один торец которого выполнен в виде седла, контактирующего с подпружиненной гильзой, зафиксированной в нерабочем положении разжимным кольцом, а также мембрану, шайбу, втулку и опорные шарики.

Описание

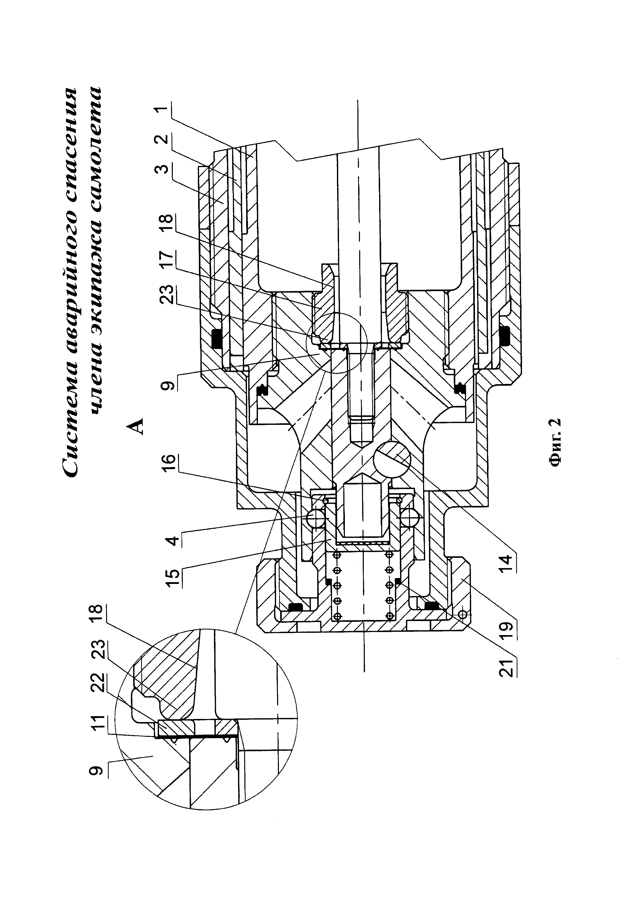
[1]

Изобретение относится к авиационной технике, в частности к системам аварийного спасения члена экипажа самолета методом катапультирования.

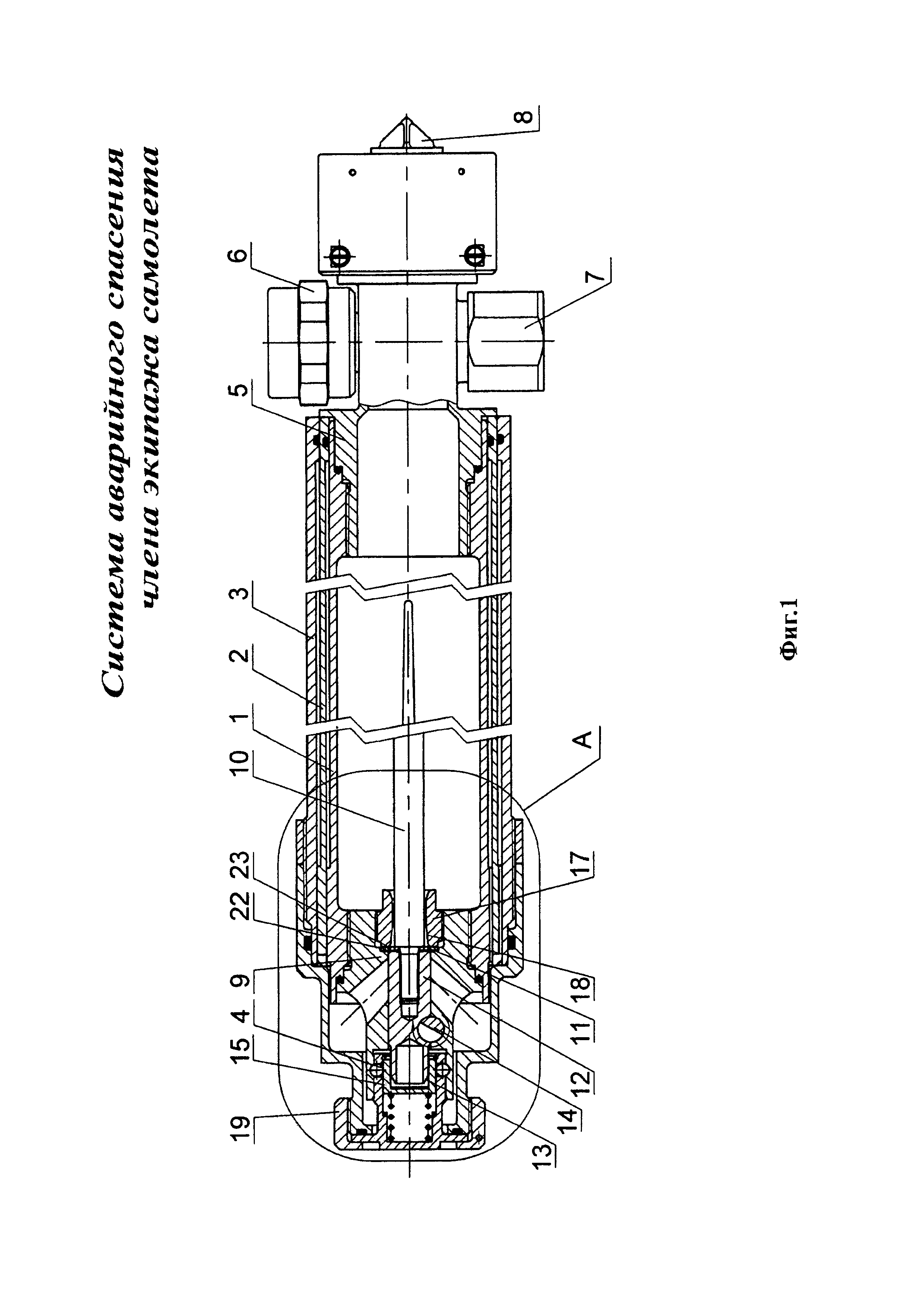
[2]

Известна система аварийного спасения члена экипажа самолета, содержащая пневмопривод, выполненный в виде устройства, включающего подвижный пневмоцилиндр-аккумулятор с запорно-пусковой головкой и расходной трубкой, подвижный и неподвижный пневмоцилиндры, дроссель в виде профилированной иглы, вставленной внутрь расходной трубки, и предохранительный клапан (патент RU 2551049 от 07.11.2013).

[3]

Основными недостатками известной системы являются следующие.

[4]

1. Регулирование расхода газа с помощью расходной трубки со вставленной внутрь нее профилированной иглой связано с гидравлическими потерями в длинном зазоре между трубкой и профилированной иглой и при внезапном расширении потока на выходе из зазора. Это приводит к необходимости увеличивать зарядное давление газа с соответствующим наращиванием прочности и массы пневмоцилиндра-аккумулятора, а также не позволяет эффективно использовать реактивную силу потока, истекающего из зазора.

[5]

2. Расположение запорно-пусковой головки и расходной трубки на подвижном пневмоцилиндре-аккумуляторе увеличивает его массу и, соответственно, энергию удара подвижных пневмоцилиндров о неподвижный в конце процесса катапультирования, что требует повышения прочности и массы пневмопривода.

[6]

3. Применение для сброса излишнего давления конструктивно сложного, тонко настраиваемого предохранительного клапана, обеспечивающего быстродействие порядка 0,1 с, необходимое в процессе катапультирования, снижает надежность системы аварийного спасения.

[7]

4. Расположение предохранительного клапана на днище пневмоцилиндра-аккумулятора ведет к увеличению габаритных размеров пневмопривода, что является недопустимым в ограниченном объеме кабины летательного аппарата.

[8]

С целью исключения указанных недостатков предлагается система аварийного спасения члена экипажа самолета, использующая в дроссельном устройстве оптимизированный режим трехступенчатого регулирования его проходного сечения и увеличивающая усилия реактивной тяги газовой струи на выходе из дроссельного устройства путем применения в нем сверхзвукового сопла. Трехступенчатое регулирование расхода газа, поступающего в рабочую полость пневмопривода, осуществляется за счет поэтапного прохождения газа вначале через малое и постоянное проходное сечение дроссельного устройства (кольцевого сопла) на расчетной длине профилированной иглы (первая ступень), затем - через увеличивающееся проходное сечение сопла на расчетной длине профилированной иглы (вторая ступень) и далее - через максимальное (постоянное до конца катапультирования) проходное сечение сопла при отсутствии в нем иглы (третья ступень). Все это позволяет снизить зарядное давление газа, а следовательно, и массу пневмопривода.

[9]

Кроме того, в заявляемой системе предохранительный клапан перенесен с днища на горловину и связан непосредственно с заполненной газом под давлением внутренней полостью пневмоцилиндра-аккумулятора, изолированной от окружающей среды тремя цилиндрами и воздушными прослойками между ними, что обеспечивает длительное сохранение внутренней температуры газа, а следовательно, и давления газа в пневмоцилиндре-аккумуляторе при колебаниях температуры окружающей среды. Допустима также установка утеплителя на наружной поверхности неподвижного пневмоцилиндра.

[10]

При превышении в пневмоцилиндре-аккумуляторе максимально допустимого давления газа (от возрастания температуры) предохранительный клапан сбрасывает давление газа, не требуя жестких ограничений по времени срабатывания. Это позволяет упростить конструкцию клапана и повысить надежность всей системы спасения.

[11]

Пневмопривод заявляемой системы выполнен в виде устройства, совмещающего в себе функции:

[12]

- телескопического стреляющего механизма и пневмоцилиндра-аккумулятора газа под давлением;

[13]

- дроссельного 3-ступенчатого автоматического регулятора расхода газа с дополнительной реактивной тягой;

[14]

- запорно-пускового механизма.

[15]

Пневмопривод заявляемой системы аварийного спасения члена экипажа самолета представлен фигурами 1-6.

[16]

Фиг. 1 представляет пневмопривод в нерабочем положении.

[17]

Фиг. 2 представляет запорно-пусковой механизм пневмопривода.

[18]

Фиг. 3 представляет пневмопривод в момент срабатывания.

[19]

Фиг. 4 представляет 1 этап работы пневмопривода.

[20]

Фиг. 5 представляет 2 этап работы пневмопривода.

[21]

Фиг. 6 представляет 3 этап работы пневмопривода.

[22]

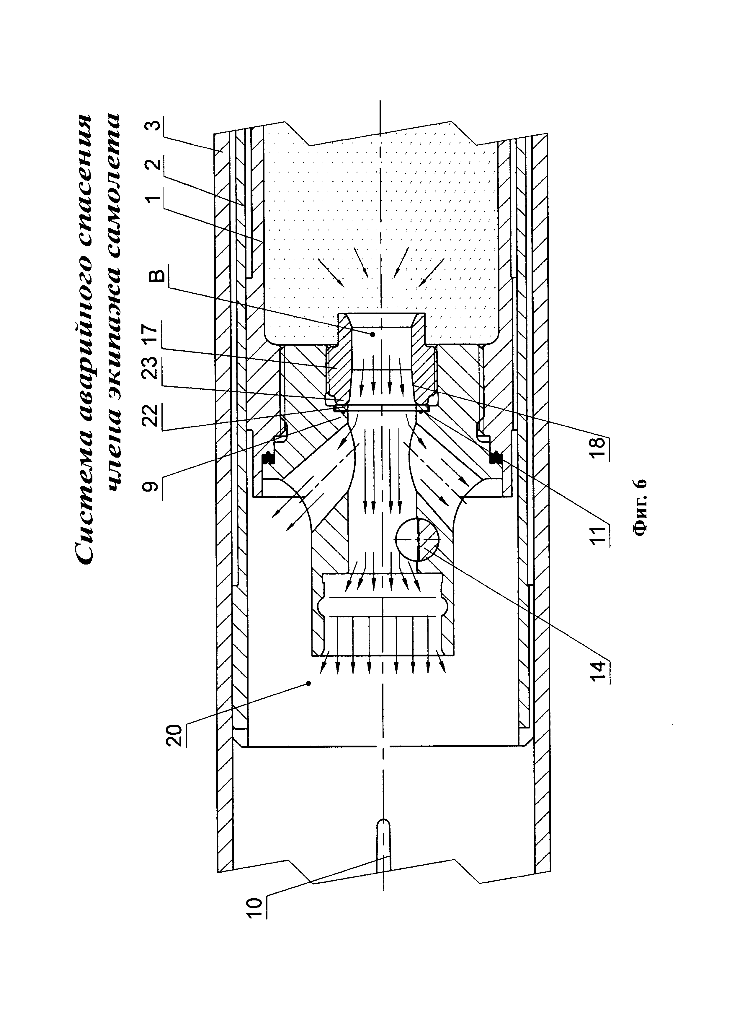
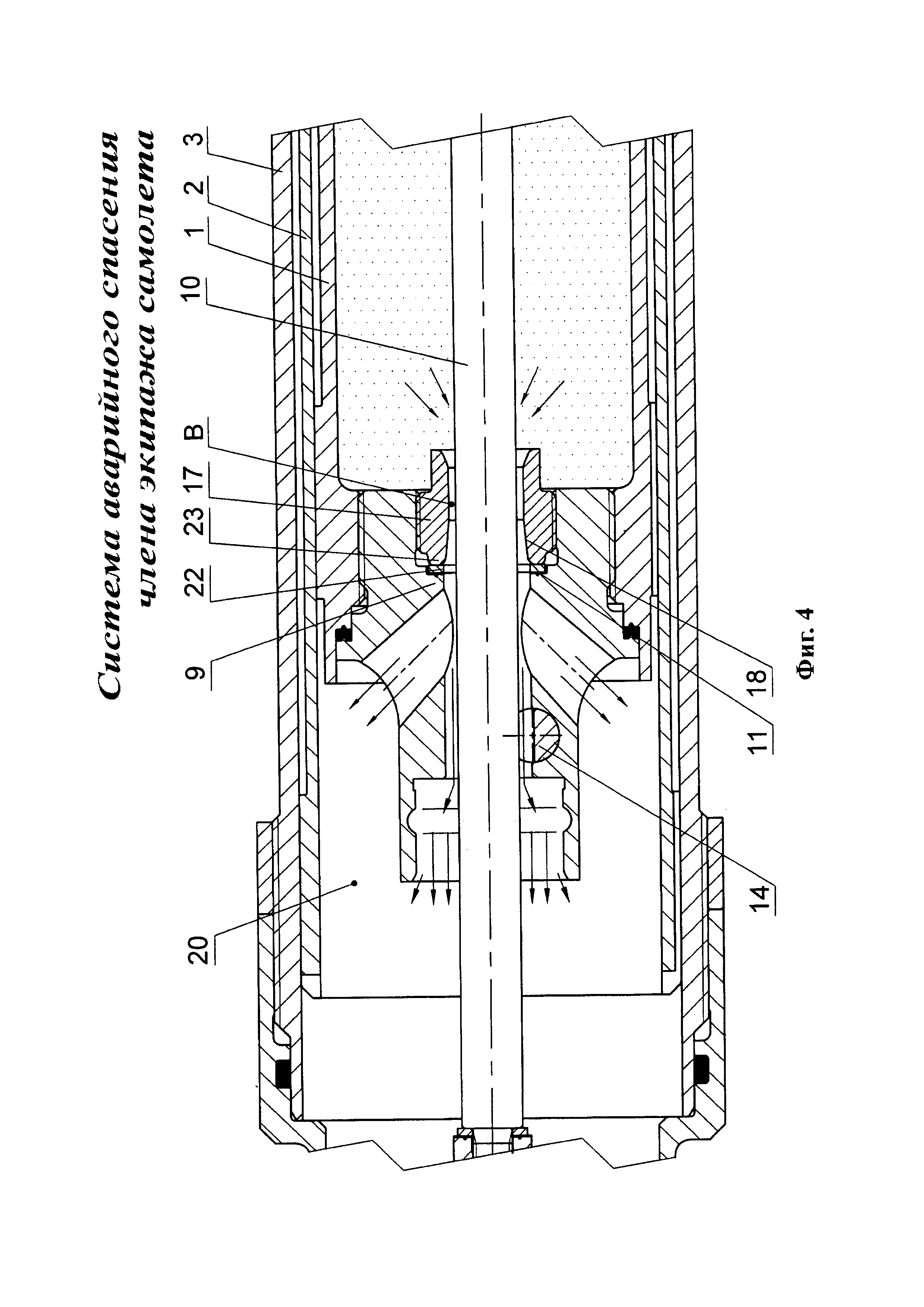
Пневмопривод заявляемой системы (фиг. 1) содержит подвижный пневмоцилиндр-аккумулятор 1, подвижный 2 и неподвижный 3 пневмоцилиндры, зафиксированные между собой шариками 4 запорно-пускового механизма.

[23]

На верхнем торце пневмоцилиндра-аккумулятора размещена горловина 5 с манометром 6 и предохранительным клапаном 7, а также механизм пробивания фонаря 8, на нижнем - дно 9 с перемещающейся в момент срабатывания пневмопривода профилированной иглой 10, контактирующей через шайбу 22 с разрывной мембраной 11, опирающейся на один торец штока 12, другой торец которого выполнен в виде седла 13, при этом шток 12 зафиксирован пусковым валиком 14 запорно-пускового механизма.

[24]

Дно 9 также содержит подпружиненную гильзу 15, контактирующую с шариками 4 запорно-пускового механизма (фиг. 1-3) и зафиксированную разжимным кольцом 16 (фиг. 2-3). Кроме этого дно 9 (фиг. 1-3) содержит втулку 17 с седлом 23, контактирующим через шайбу 22 с разрывной мембраной 11, а также сверхзвуковое сопло 18. Дно 9 закрыто крышкой 19, закрепленной на неподвижном пневмоцилиндре 3.

[25]

Работа заявляемой системы происходит следующим образом.

[26]

Приняв решение катапультироваться, член экипажа ручкой катапультирования поворачивает пусковой валик 14 таким образом, что нарушает его контакт со штоком 12 (фиг. 1, 3).

[27]

Шток 12, лишенный опоры, под действием усилия от давления газа на мембрану 11 перемещается вместе с профилированной иглой 10 до контакта седла 13 штока 12 с подпружиненной гильзой 15, перемещает ее до упора 21 (фиг. 2), обеспечивая герметичность по седлу 13 и устойчивое положение профилированной иглы 10, переместившейся в рабочее положение под действием давления газа.

[28]

При перемещении штока 12 мембрана 11 срезается по острой кромке отверстия в дне 9 (фиг. 1, 3) и перемещается вместе со штоком 12 и профилированной иглой 10 до упора в гильзу 15, открывая расположенное в штоке 17 сверхзвуковое сопло 18, обеспечивающее при истечении газа дополнительную реактивную силу. Сопло сначала во взаимодействии с сечением профилированной иглы 10 (фиг. 3-5), а затем автономно (фиг. 6) образует трехступенчатый дроссель расчетной площади сечения, через который газ под давлением попадает в рабочую полость 20 (фиг. 3) пневмопривода.

[29]

Практически одновременно гильза 15, переместившись до упора 21, обеспечивает попадание шариков 4 в паз Б (фиг. 3), разрывая связь всех пневмоцилиндров между собой, необходимую для стабильного исходного их положения, например, при транспортировке.

[30]

Происходит поэтапное перемещение пневмоцилиндров («выстреливание») и катапультирование члена экипажа:

[31]

- этап 1 - зазор «В» минимально постоянный между сверхзвуковым соплом 18 на расчетной рабочей длине цилиндрической поверхности иглы 10 (фиг. 3, 4) - обеспечивает надежную работу перед началом катапультирования - «мягкое» натяжение буксировочного фала и «мягкий» подхват катапультируемого члена экипажа.

[32]

- этап 2 - зазор «В» расчетно-переменный по ходу движения сверхзвукового сопла 18 на оставшейся расчетной длине иглы 10 - обеспечивает начальный этап катапультирования члена экипажа.

[33]

- этап 3 - сверхзвуковое сопло 18 «сползает» с профилированной иглы 10 (фиг. 6) и газ поступает в рабочую полость 20 пневмопривода через образовавшийся дроссель в виде сверхзвукового сопла, через которое в сторону, противоположную направлению перемещения пневмоцилиндров, вытекает струя газа, образующая реактивную силу - происходит конечный этап катапультирования члена экипажа самолета.

[34]

Таким образом, в заявляемой системе аварийного спасения члена экипажа самолета упрощена конструкция пневмопривода, что снижает его габариты и массу, а также повышает надежность пневмопривода и всей системы аварийного спасения. Кроме этого повышается безопасность и комфортность этапа подготовки к катапультированию и этапа катапультирования с расчетными параметрами ускорения, скорости, высоты подброса в каждую единицу времени разных по массе членов экипажа самолета в расчетном диапазоне эксплуатационных температур.

Как компенсировать расходы
на инновационную разработку
Похожие патенты