патент
№ RU 2559172
МПК H01S3/0977

РАЗРЯДНАЯ СИСТЕМА ЛАЗЕРА С ЧАСТИЧНО ПРОЗРАЧНЫМ ЭЛЕКТРОДОМ

Авторы:
Христофоров Олег Борисович
Номер заявки
2013136117/28
Дата подачи заявки
01.08.2013
Опубликовано
10.08.2015
Страна
RU
Как управлять
интеллектуальной собственностью
Чертежи 
5
Реферат

Изобретение относится к лазерной технике. Разрядная система лазера с частично прозрачным электродом содержит размещенный с обратной стороны частично прозрачного электрода УФ предыонизатор в виде протяженной системы зажигания завершенного скользящего разряда, включающей в себя металлическую подложку, покрытую диэлектрическим слоем, на поверхности которого зажигается завершенный скользящий разряд между поджигающим и дополнительным электродом, соединенным с металлической подложкой. При этом диэлектрический слой выполнен в виде либо прямой тонкостенной трубки, либо протяженной части прямой тонкостенной трубки, заключенной между двумя продольными сечениями трубки, параллельными ее оси. По крайней мере часть поверхности протяженной металлической подложки, обращенная к частично прозрачному электроду, выполнена цилиндрической, выпуклой в сторону частично прозрачного электрода и совмещена с внутренней цилиндрической поверхностью диэлектрического слоя, а поджигающий электрод установлен на выпуклой цилиндрической поверхности диэлектрического слоя вдоль него. Технический результат заключается в увеличении эффективности и средней мощности лазера и упрощении его конструкции. 1 н. и 2 з.п. ф-лы, 6 ил.

Формула изобретения

1. Разрядная система лазера с частично прозрачным электродом, содержащая размещенный с обратной стороны частично прозрачного электрода УФ предыонизатор в виде протяженной системы зажигания завершенного скользящего разряда, включающей в себя металлическую подложку, покрытую диэлектрическим слоем, на поверхности которого зажигается завершенный скользящий разряд между поджигающим и дополнительным электродом, соединенным с металлической подложкой, при этом
диэлектрический слой выполнен в виде либо прямой тонкостенной трубки, либо протяженной части прямой тонкостенной трубки, заключенной между двумя продольными сечениями трубки, параллельными ее оси,
по крайней мере часть поверхности протяженной металлической подложки, обращенная к частично прозрачному электроду, выполнена цилиндрической, выпуклой в сторону частично прозрачного электрода и совмещена с внутренней цилиндрической поверхностью диэлектрического слоя, а
поджигающий электрод установлен на выпуклой цилиндрической поверхности диэлектрического слоя вдоль него.

2. Устройство по п. 1, в котором протяженные поджигающий электрод и дополнительный электрод размещены диаметрально противоположно на поверхности диэлектрического слоя.

3. Устройство по любому из пп. 1 или 2, в котором рабочая часть частично прозрачного электрода изготовлена тонкостенной, профилирована со стороны рабочей поверхности и выполнена с щелевыми окнами прозрачности.

Описание

[1]

Изобретение относится к квантовой электронике, в частности к мощным импульсно-периодическим газоразрядным лазерам, преимущественно эксимерным, с поперечным самостоятельным разрядом и УФ предыонизацией. Область применений включает лазерную микрообработку материалов, отжиг аморфного кремния (α-Si) при производстве плоских дисплеев, производство высокотемпературных сверхпроводников методом импульсной лазерной абляции и др.

[2]

Известна разрядная система газового лазера со сплошными электродами [1], в которой УФ предыонизация осуществляется разрядами через диэлектрический барьер, зажигаемыми сбоку от высоковольтного электрода. При использовании в эксимерном лазере разрядная система позволяет эффективно получать энергию генерации при высокой частоте следования импульсов. Недостатком указанного устройства является малый уровень предыонизации, ограничивающий возможность увеличения апертуры основного разряда, повышения энергии генерации и средней мощности лазера.

[3]

Этого недостатка лишена разрядная система газового лазера с УФ предыонизацией, осуществляемой излучением от двух рядов искр, автоматически зажигаемых при зарядке импульсных конденсаторов сбоку от высоковольтного электрода, расположенного с стороны стенки корпуса лазера [2]. Данная система обеспечила достижение высокой (600 Вт) средней мощности лазерного УФ излучения в эксимерном KrF лазере. Недостатком электродной системы с УФ предыонизатором в виде рядов отдельных искровых промежутков является пространственная неоднородность предыонизации по длине электродов, что уменьшает кпд лазера, и ее сложность из-за необходимости герметизировать десятки токовводов предыонизатора. Кроме того, искровые промежутки обуславливают повышенное поступление в газ продуктов эрозии электродов предыонизатора, что уменьшает время жизни газовой смеси лазера.

[4]

Этого недостатка лишен эксимерный лазер с рентгеновской предыонизацией через частично прозрачный для рентгеновского излучения заземленный электрод [3]. Данная конструкция позволяет увеличивать апертуру разряда и, соответственно, энергию генерации и среднюю мощность излучения лазера, которая при генерации на XeCl составила 1 кВт (1 Дж, 1000 Гц).

[5]

Недостатком указанного устройства является сложность его эксплуатации и большие габариты, так как наличие рентгеновского предыонизатора требует достаточно сложного отдельного высоковольтного источника питания у заземленного электрода и обуславливает применение крупногабаритного корпуса, поперечное сечение которого имеет трековую конфигурацию.

[6]

Этих недостатков лишена разрядная система эксимерного лазера, содержащая сплошной электрод и частично прозрачный электрод, с нерабочей стороны которого установлен предыонизатор в виде симметричной системы зажигания скользящего разряда по поверхности плоской диэлектрической пластины, расположенные в протяженном металлическом корпусе лазера [4]. В металлическом корпусе лазера также расположены протяженные керамические контейнеры, установленные вблизи одного из электродов, в которых размещены импульсные конденсаторы, малоиндуктивно подсоединенные к электродам лазера. Устройство позволяет упростить конструкцию мощного лазера, удешевить его, обеспечить высокую скорость потока газа между электродами, энергию и среднюю мощность лазера в долговременном режиме.

[7]

Недостатком прототипа являются большие габариты полупрозрачного электрода, что ведет к увеличению апертуры и активного объема лазера, и, как следствие, требует увеличения объема импульсно-заряжаемых конденсаторов, керамических контейнеров, и корпуса лазера в целом при необходимости обеспечить высокую энергию генерации.

[8]

Наиболее близким техническим решением, выбранным в качестве прототипа, является разрядная система лазера с частично прозрачным электродом, содержащая размещенный с стороны нерабочей поверхности частично прозрачного электрода УФ предыонизатор, выполненный в виде системы зажигания скользящего разряда, включающей в себя протяженную металлическую подложку, покрытую диэлектрическим слоем, на поверхности которого размещены протяженный поджигающий электрод и дополнительный электрод, соединенный с металлической подложкой [5]. В качестве диэлектрического слоя используется плоская сапфировая (Al2O3) пластина, поверхность которой, обращенная к частично прозрачному электроду, при работе предыонизатора полностью покрыта плазмой двух поверхностных скользящих разрядов, симметричных относительно плоскости, включающей в себя продольные оси электродов. Прототип позволяет упростить конструкцию мощного лазера, удешевить его, обеспечить высокую скорость потока газа между электродами при компактном корпусе лазера. В данной разрядной системе обеспечивается высокий уровень и пространственная однородность предыонизации разрядной зоны между электродами лазера. Достигается возможность повышения энергии генерации и средней мощности излучения лазера. При этом реализуется возможность в несколько раз уменьшить прокачиваемую через предыонизатор энергию, что, в свою очередь, повышает время жизни газовой смеси. С компактным (диаметром 0,45 м) керамическим корпусом лазера при генерации на XeCl стабилизированная средняя мощность лазерного УФ излучения с данной разрядной системой достигала 500 Вт.

[9]

Однако поперечный размер диэлектрической пластины не может быть меньше определенной величины, ниже которой нарушается однородность горения скользящих разрядов. В связи с этим частично прозрачный электрод с предыонизатором в виде системы зажигания скользящего разряда по поверхности плоской диэлектрической пластины имеет относительно большие поперечные размеры, что повышает индуктивность разрядного контура. Этот фактор ограничивает получение высокоэффективной генерации в эксимерных лазерах на фторидах инертных газов (KrF, ArF), для которых наблюдается резкая зависимость эффективности лазера от индуктивности разрядного контура. Кроме этого, при больших поперечных размерах частично прозрачные электроды достаточно сложны и дороги в изготовлении, а также менее надежны в эксплуатации.

[10]

Техническим результатом изобретения является повышение эффективности и средней мощности лазера с частично прозрачным электродом, упрощение его конструкции, снижение стоимости и увеличение времени жизни разрядной системы.

[11]

Указанная задача может быть осуществлена усовершенствованием разрядной системы лазера с частично прозрачным электродом, содержащей размещенный со стороны нерабочей поверхности частично прозрачного электрода УФ предыонизатор, выполненный в виде протяженной системы зажигания скользящего разряда, включающей в себя металлическую подложку, покрытую диэлектрическим слоем, на поверхности которого размещены поджигающий электрод и дополнительный электрод, соединенный с металлической подложкой.

[12]

Усовершенствование устройства состоит в том, что по крайней мере часть поверхности протяженной металлической подложки, обращенная к частично прозрачному электроду, выполнена цилиндрической, выпуклой в сторону частично прозрачного электрода и совмещена с поверхностью диэлектрического слоя, а поджигающий электрод системы формирования завершенного скользящего разряда установлен на выпуклой цилиндрической поверхности диэлектрического слоя.

[13]

В варианте реализации устройства диэлектрический слой выполнен в виде прямой тонкостенной керамической трубки, на наружной поверхности которой вдоль нее диаметрально противоположно размещены протяженные поджигающий электрод и дополнительный электрод, а протяженная металлическая подложка размещена внутри керамической трубки и подсоединена к дополнительному электроду с торцов керамической трубки.

[14]

В другом варианте устройства диэлектрический слой выполнен в виде протяженной части прямой тонкостенной керамической трубки, заключенной между двумя продольными сечениями трубки, параллельными ее оси, часть поверхности металлической подложки, обращенная к частично прозрачному электроду, совмещена с внутренней цилиндрической поверхностью диэлектрического слоя, а другая часть поверхности металлической подложки совмещена с дополнительным электродом.

[15]

При этом рабочая часть частично прозрачного электрода изготовлена тонкостенной, профилирована со стороны рабочей поверхности и выполнена с щелевыми окнами прозрачности.

[16]

Существо изобретения поясняется прилагаемыми чертежами.

[17]

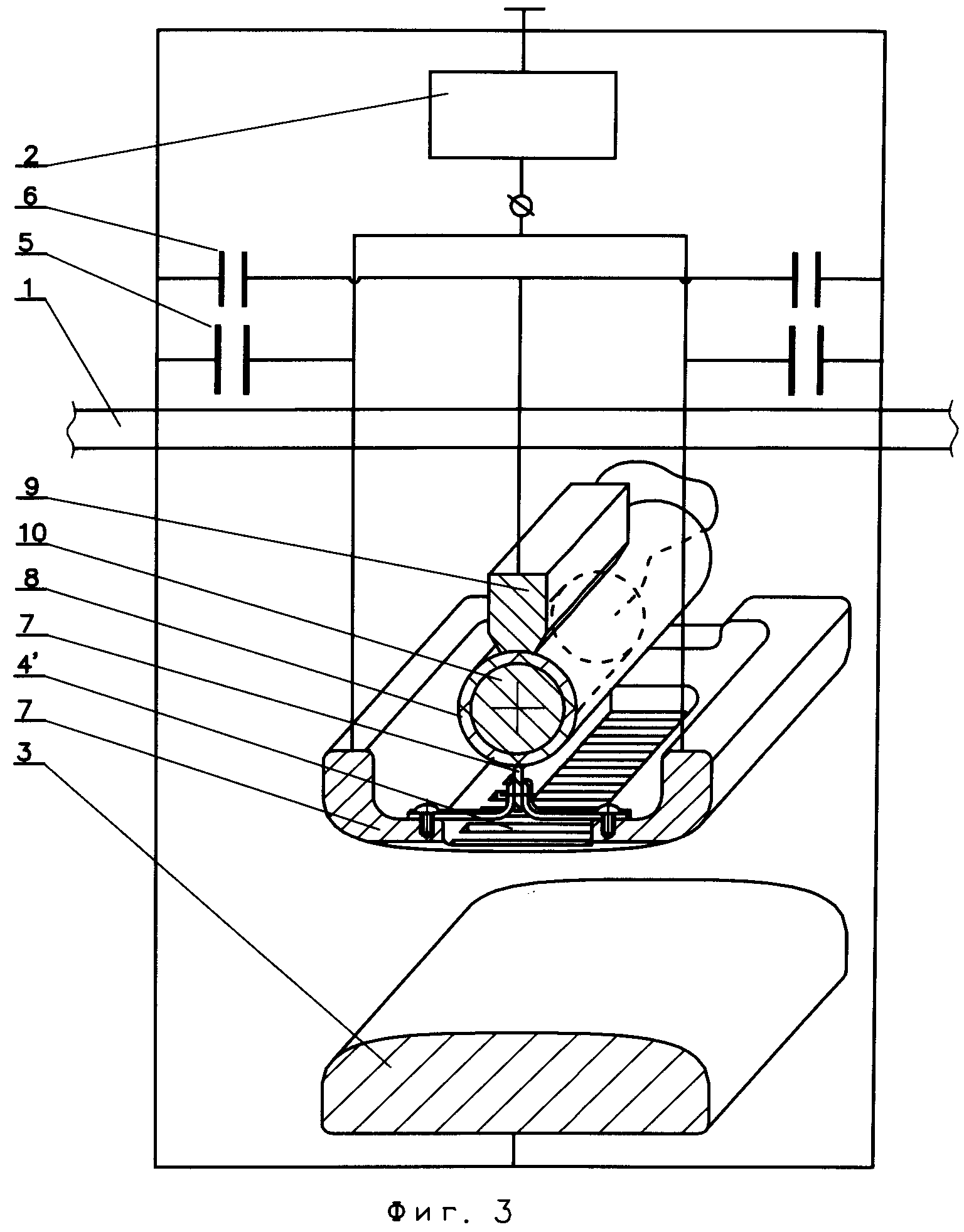
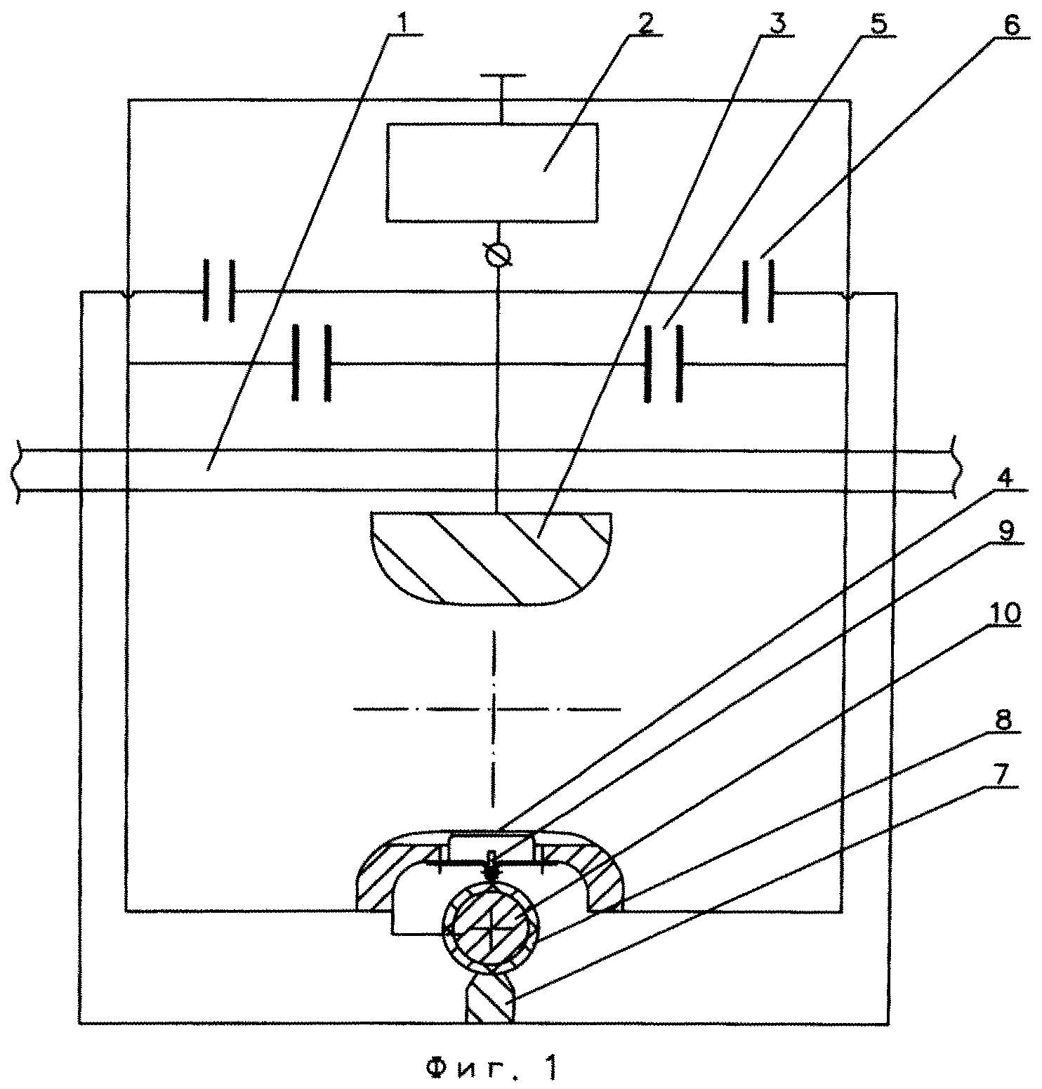
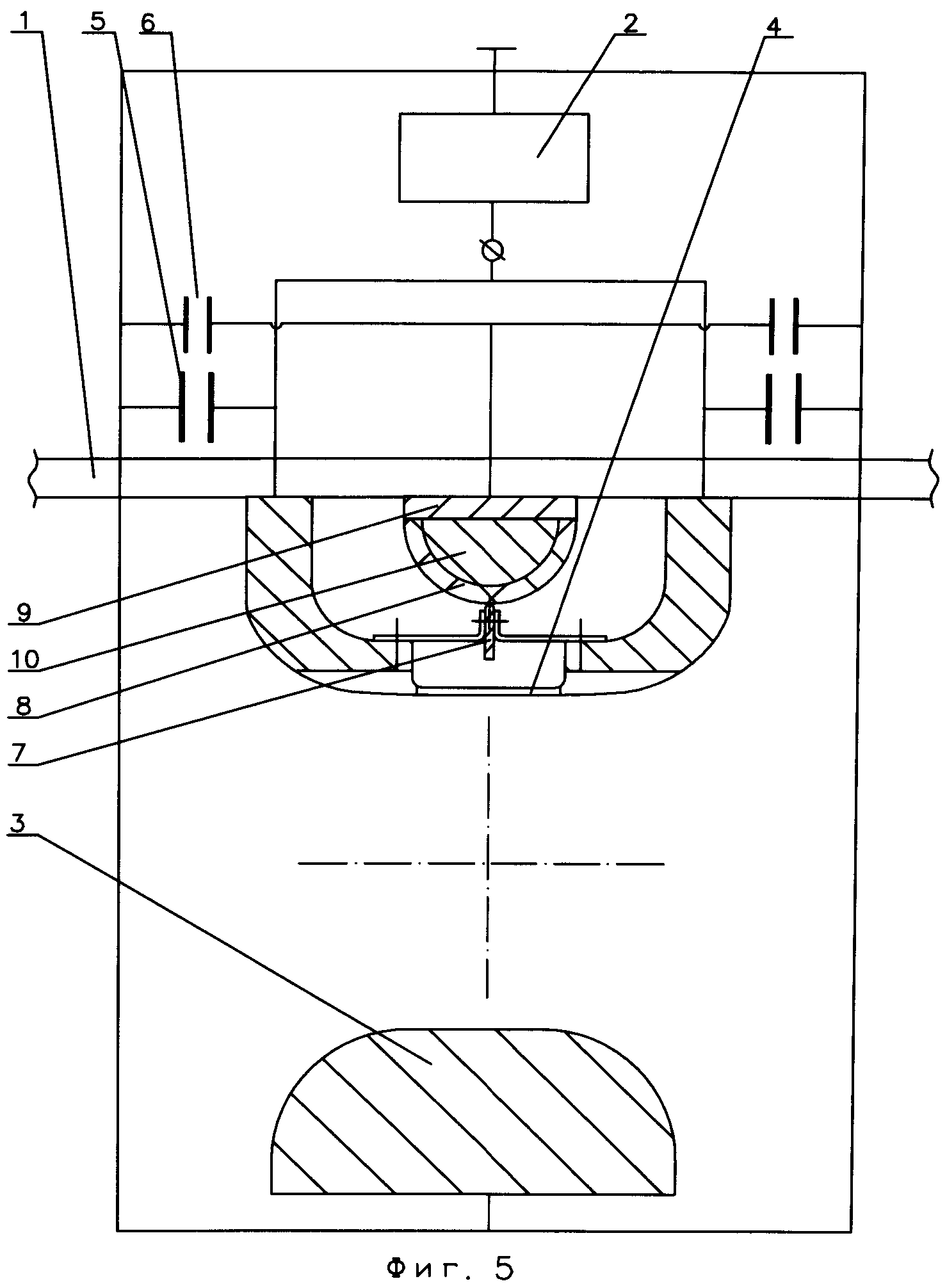
На фиг.1 упрощенно изображена разрядная система газового лазера с предыонизацией по поверхности диэлектрической трубки через частично прозрачный электрод, установленный удаленно от стенки корпуса лазера; на фиг.2 - пример схемы этого варианта устройства; на фиг.3 упрощенно изображена разрядная система газового лазера с предыонизацией по поверхности диэлектрической трубки через частично прозрачный электрод, установленный с стороны стенки корпуса лазера, на фиг.4 - пример схемы этого варианта устройства; на фиг.5 упрощенно изображена разрядная система газового лазера с предыонизацией по поверхности части диэлектрической трубки, на фиг.6 - пример схемы этого варианта устройства.

[18]

Разрядная система газового лазера содержит расположенный вне корпуса - 1 лазера импульсный источник питания - 2 и расположенный в корпусе - 1 протяженные вдоль оси лазера сплошной электрод - 3 и частично прозрачный электрод - 4, установленный удаленно от стенки корпуса - 1 лазера (фиг.1). Вне корпуса лазера размещены подсоединенные к электродам - 3, 4 лазера конденсаторы - 5, к которым подключен источник питания - 2. Также снаружи корпуса - 1 расположены вспомогательные конденсаторы - 6, через которые импульсный источник - 2 связан с расположенным в корпусе - 1 УФ предыонизатором. УФ предыонизатор выполнен в виде системы зажигания скользящего разряда между протяженными поджигающим электродом - 7 и дополнительным электродом - 9, расположенными на поверхности диэлектрического слоя, выполненного в виде прямой тонкостенной керамической трубки - 8, преимущественно из Al2O3, покрывающего протяженную металлическую подложку - 10, соединенную с дополнительным электродом - 9. Поверхность металлической подложки - 10, обращенная к частично прозрачному электроду, выполнена цилиндрической, выпуклой в сторону частично прозрачного электрода и совмещена с поверхностью диэлектрического слоя. Диэлектрический слой выполнен в виде прямой тонкостенной керамической трубки - 8 (фиг.1), на наружной поверхности которой вдоль нее диаметрально противоположно размещены поджигающий электрод - 7 и дополнительный электрод - 9. Металлическая подложка - 10 размещена внутри керамической трубки - 8, поверхность металлической подложки выполнена цилиндрической и совмещена с внутренней поверхностью керамической трубки. Металлическая подложка - 10 подсоединена к дополнительному электроду - 9 с торцов керамической трубки - 8, причем в варианте устройства, показанном на фиг.1, дополнительный электрод - 9 системы зажигания скользящего разряда соединен с частично прозрачным электродом - 4.

[19]

Для этого варианта устройства на фиг.2 корпус - 1 лазера, как и в прототипе, выполнен преимущественно керамическим. В корпусе - 1 расположены газопроницаемые токопроводы - 11 посредством которых конденсаторы - 5 соединены с частично прозрачным электродом - 4, а также вспомогательные газопроницаемые токопроводы - 12, посредством которых вспомогательные конденсаторы - 6 подсоединены к поджигающему электроду - 7 системы зажигания скользящего разряда. В корпусе также размещена система формирования газового потока, в которую входит вентилятор - 13, направляющие газового потока - 14, и трубки теплообменника - 15.

[20]

На фиг.3 частично прозрачный электрод - 4 установлен со стороны стенки корпуса - 1, при этом поджигающий электрод - 7 системы зажигания скользящего разряда по поверхности керамической трубки - 8 соединен с частично прозрачным электродом лазера - 4, а металлическая подложка - 10, размещенная внутри керамической трубки подсоединена к дополнительному электроду - 9 с торцов керамической трубки - 8. Рабочая часть частично прозрачного электрода - 4 изготовлена тонкостенной, профилирована со стороны рабочей поверхности и выполнена с щелевыми окнами - 4' прозрачности.

[21]

Для этого варианта устройства на фиг.4 металлический корпус - 1 лазера содержит протяженные керамические контейнеры - 1', установленные вблизи частично прозрачного электрода - 4; в протяженных керамических контейнерах - 1' размещены конденсаторы - 5 и вспомогательные конденсаторы - 6, малоиндуктивно подсоединенные соответственно к электродам - 3, 4 лазера и к дополнительному электроду - 9 системы зажигания скользящего разряда по наружной поверхности керамической трубки - 8. В варианте устройства подсоединение источника питания - 2 к конденсаторам - 5 осуществляется через снабженные изоляторами токовводы корпуса - 1 (Фиг.4).

[22]

В варианте устройства, показанном на фиг.5 диэлектрический слой выполнен в виде протяженной части прямой тонкостенной керамической трубки - 8, заключенной между двумя продольными сечениями (резами) трубки, параллельными ее оси. Часть поверхности протяженной металлической подложки - 10, обращенная к частично прозрачному электроду - 4 совмещена с внутренней цилиндрической поверхностью диэлектрического слоя - 8, а другая часть поверхности металлической подложки совмещена с дополнительным электродом - 9. Поджигающий электрод системы формирования завершенного скользящего разряда - 7 установлен на выпуклой цилиндрической поверхности диэлектрического слоя - 8 и соединен с частично прозрачным электродом - 4, размещенным со стороны стенки корпуса - 1 лазера.

[23]

Для этого варианта устройства на фиг.6 корпус - 1 лазера выполнен преимущественно керамическим, и в керамической стенке корпуса вдоль него установлены герметичные токовводы - 16, посредством которых вспомогательные конденсаторы - 6 подсоединены к дополнительному электроду - 9 системы зажигания скользящего разряда, а также токовводы - 17, посредством которых конденсаторы - 5 подсоединены к частично прозрачному электроду - 4. В качестве изоляторов токовводов - 16, 17 служит сама керамическая стенка корпуса - 1 и дополнительный протяженный керамический изолятор - 18.

[24]

Разрядная система лазера с частично прозрачным электродом работает следующим образом.

[25]

При включении расположенного вне корпуса - 1 источника питания - 2 между сплошным - 3 и частично прозрачным - 4 электродами лазера, а также на подключенных к ним конденсаторах - 5 начинает нарастать напряжение. Потенциал сплошного электрода - 3 через вспомогательные конденсаторы - 6 передается на поджигающий электрод - 7 системы зажигания скользящего разряда по поверхности прямой тонкостенной керамической трубки - 8 предыонизатора (фиг.1). Между поджигающим электродом - 7 и диаметрально противоположно ему установленным на поверхности керамической трубки - 8 дополнительным электродом - 9, соединенным с частично прозрачным электродом - 4 лазера и металлической подложкой - 10, также начинает нарастать напряжение. По поверхности керамической трубки - 8, покрывающей металлическую подложку - 10, размещенную внутри керамической трубки, в обе стороны от поджигающего электрода - 7 к дополнительному электроду - 9 развивается волна ионизации. В процессе развития волны ионизации происходит зарядка электрической емкости диэлектрического слоя в виде части керамической трубки между поджигающим и дополнительным электродами - 7, 9 до напряжения, приблизительно равного разности потенциалов поджигающего электрода - 7 и металлической подложки - 10. Зарядка емкости диэлектрического слоя осуществляется по электрическому контуру, включающему в себя размещенные с торцов керамической трубки - 8 провода соединения металлической подложки - 10 с дополнительным электродом - 9. После пробега двух волн ионизации от поджигающего электрода - 7 к дополнительному электроду - 9 между электродами - 7, 9 зажигаются два поверхностных скользящих разряда, ток которых ограничен током зарядки вспомогательных конденсаторов - 6, емкость которых выбирается много меньше емкости конденсаторов - 5, подключенных к электродам - 3, 4 лазера. Через частично прозрачный электрод - 4 УФ излучение скользящих разрядов по поверхности керамической трубки - 8 осуществляет предыонизацию разрядной зоны между электродами - 3, 4 лазера. После того, как напряжение между сплошным и частично прозрачным электродами - 3, 4 достигает значения пробивного напряжения, происходит основной объемный разряд между ними. Энергия, запасенная в конденсаторах - 5, 6 вкладывается в объемный разряд, что позволяет получить энергию генерации лазера.

[26]

На фиг.2 для варианта устройства с керамическим корпусом - 1 лазера контур протекания тока системы зажигания скользящего разряда включает в себя наряду с импульсно заряжаемыми вспомогательными конденсаторами - 6 протяженные вспомогательные газопроницаемые токопроводы - 12, поджигающий электрод - 7, дополнительный электрод - 9, соединенный с ним частично прозрачный электрод - 4 и газопроницаемые токопроводы - 11. Ток основного объемного разряда протекает по малоиндуктивному разрядному контуру, включающему в себя конденсаторы - 5, токовводы корпуса лазера, газопроницаемые токопроводы - 11 и электроды - 3, 4. Кроме этого, в основной разряд вкладывается энергия, запасенная за время импульсной зарядки во вспомогательных конденсаторах - 6, при этом частично выделяясь в скользящем разряде. После генерации импульса лазерного излучения с помощью системы формирования газового потока, в который входит вентилятор - 13, направляющие газового потока - 14 и трубки теплообменника - 15 газ между электродами - 3, 4 обновляется, и цикл работы лазера повторяется.

[27]

В варианте устройства на фиг.3, фиг.4 при включении источника питания - 2 между сплошным - 3 и частично прозрачным - 4 электродами лазера и на подключенных к ним конденсаторах - 5 начинает нарастать напряжение. Потенциал сплошного электрода - 3 через вспомогательные конденсаторы - 6 передается на дополнительный электрод - 9 системы зажигания скользящего разряда, установленной с нерабочей стороны частично прозрачного электрода, размещенного со стороны стенки корпуса - 1. Между дополнительным электродом - 9 и соединенным со сплошным электродом - 3 лазера поджигающим электродом - 7 также начинает нарастать напряжение, и между ними зажигаются поверхностные скользящие разряды.

[28]

В варианте устройства на фиг.4 цепь протекания тока системы зажигания скользящего разряда включает в себя герметичные токовводы керамических контейнеров - 1'. Дальнейшая работа устройства происходит, как описано выше. В вариантах установки частично прозрачного электрода - 4 со стороны стенки корпуса, в отличие от варианта на фиг.2, устраняется необходимость использования вспомогательных газопроницаемых токопроводов - 12, что упрощает конструкцию разрядной системы лазера.

[29]

В варианте устройства, фиг.5, фиг.6, незначительные отличия его работы состоят в том, что в процессе развития волны ионизации зарядка емкости диэлектрического слоя осуществляется по электрическому контуру с малой индуктивностью соединения металлической подложки - 10 с дополнительным электродом - 9, - за счет совмещения части поверхностей дополнительного электрода - 9 и металлической подложки - 10. Это может улучшать однородность скользящего разряда, а также обеспечивать более удобное крепление электродной системы предыонизатора. В отличие от варианта устройства с применением целой керамической трубки в качестве диэлектрического слоя, фиг.1-4, использование части диэлектрической трубки, фиг.5-6, позволяет более эффективно использовать излучение скользящего разряда, уменьшая размер предыонизатора по сравнению с прототипом приблизительно в π/2 раз.

[30]

Выполнение рабочей части частично прозрачного электрода тонкостенной со щелевыми окнами прозрачности позволяет удешевить изготовление частично прозрачного электрода, используя в качестве инструмента для изготовления окон прозрачности электрода тонкую дисковую фрезу. Выполнение окон прозрачности щелевыми, а рабочей поверхности частично прозрачного электрода профилированной, позволяет получить однородное электрическое поле в разрядном объеме лазера. Это повышает выходные характеристики лазера. Кроме этого, тонкая рабочая часть частично прозрачного обеспечивает более однородное распределение разрядного тока по поверхности электрода, что также способствует достижению максимальных выходных характеристик лазера.

[31]

При размещении частично прозрачного электрода со стороны стенки корпуса, фиг.3, 4, 5, 6, предыонизатор не освещает керамическую стенку корпуса. Это повышает электрическую прочность изоляции разрядного контура лазера, позволяя минимизировать его индуктивность и повысить энергию генерации.

[32]

Выполнение системы зажигания скользящего разряда в предложенном виде обеспечивает компактность предыонизатора, размещаемого в непосредственной близости от частично прозрачного электрода. По сравнению с прототипом, в котором для зажигания скользящего разряда используется плоская диэлектрическая пластина, использование керамической трубки уменьшает поперечный размер диэлектрика в π раз (как при свертывании листа в трубку). Кроме этого, выполнение системы зажигания скользящего разряда в предложенном виде позволяет избежать паразитных пробоев между частично прозрачным электродом и предыонизатором. Все это позволяет значительно, до 2-х раз, уменьшить поперечный размер частично прозрачного электрода. В результате реализуется компактная электродная система с высокоэффективной предыонизацией.

[33]

При этом компактность предыонизатора, электродов лазера и разрядной системы в целом позволяет минимизировать индуктивность разрядного контура для получения высокой энергии генерации с максимально высокой эффективностью, что снижает эксплуатационные расходы лазера.

[34]

Выполнение диэлектрического слоя в виде керамической трубки, наряду с компактностью предыонизатора, обеспечивает относительную простоту технологии его изготовления. При этом выполнение керамической трубки тонкостенной необходимо для обеспечения высокой однородности скользящего разряда. Использование Al2O3 в качестве материала диэлектрической трубки обеспечивает высокое время жизни как предыонизатора, так и газовой смеси лазера, в частности эксимерного, содержащей высокоагрессивные компоненты, такие как F2, HCl. Таким образом, в отличие от аналогов с искровой предыонизацией, возможность достижения высоких энергии и средней мощности лазерного излучения реализуется при обеспечении высокого времени жизни газовой смеси, что снижает эксплуатационные расходы лазера.

[35]

Использование для предыонизации системы зажигания скользящих разрядов, реализуемых в виде однородных протяженных плазменных листов на поверхности диэлектрического слоя, позволяет осуществлять однородную по активному объему лазера предыонизацию при ее оптимально высоком уровне, реализуемом за счет возможности регулировки энерговклада в завершенный скользящий разряд, что обеспечивает высокую эффективность мощного газоразрядного лазера.

[36]

По сравнению с прототипом облегчается формирование высокоскоростного однородного потока газа между электродами, что позволяет повысить частоту повторения разрядных импульсов и среднюю мощность лазера.

[37]

Уменьшение поперечных размеров частично прозрачного электрода упрощает технологию его изготовления и снижает стоимость, а также увеличивает механическую прочность рабочей части электрода, что повышает время жизни электрода и разрядной системы лазера в целом.

[38]

Таким образом, выполнение разрядной системы лазера с частично прозрачным электродом в предложенном виде повышает эффективность и среднюю мощность лазера, упрощает его конструкции, снижает стоимость и увеличивает время жизни разрядной системы.

[39]

Использованные источники информации

[40]

1. Patent US 6,757,315 B1. Int. Cl7 H01S 3/22. 19.10.2000.

[41]

2. V M Borisov, D Basting, U Stamm, et al, "Compact 600-W KrF laser". Quantum Electron, 1998, 28 (2), pp.119-122.

[42]

3. Timmermans J.C.M. 1-kW Industrial excimer Laser (308 nm) // Proc. SPIE Int. Soc. Opt. Eng. 1998. V 3343, p.687.

[43]

4. Заявка на патент РФ №2002120303, МКИ 7 H01S 3/097, заявлено 31.07.2002, опубликовано RU БИМП №8 20.03.2004 (или, если возможно: Заявка на патент РФ №2011131139 МКИ 7 H01S 3/097, заявлено 26.07.2011).

[44]

5. Patent WO 2004/013940, Int. Cl7 H01S 3/00. 28.07.2003.

Как компенсировать расходы
на инновационную разработку
Похожие патенты