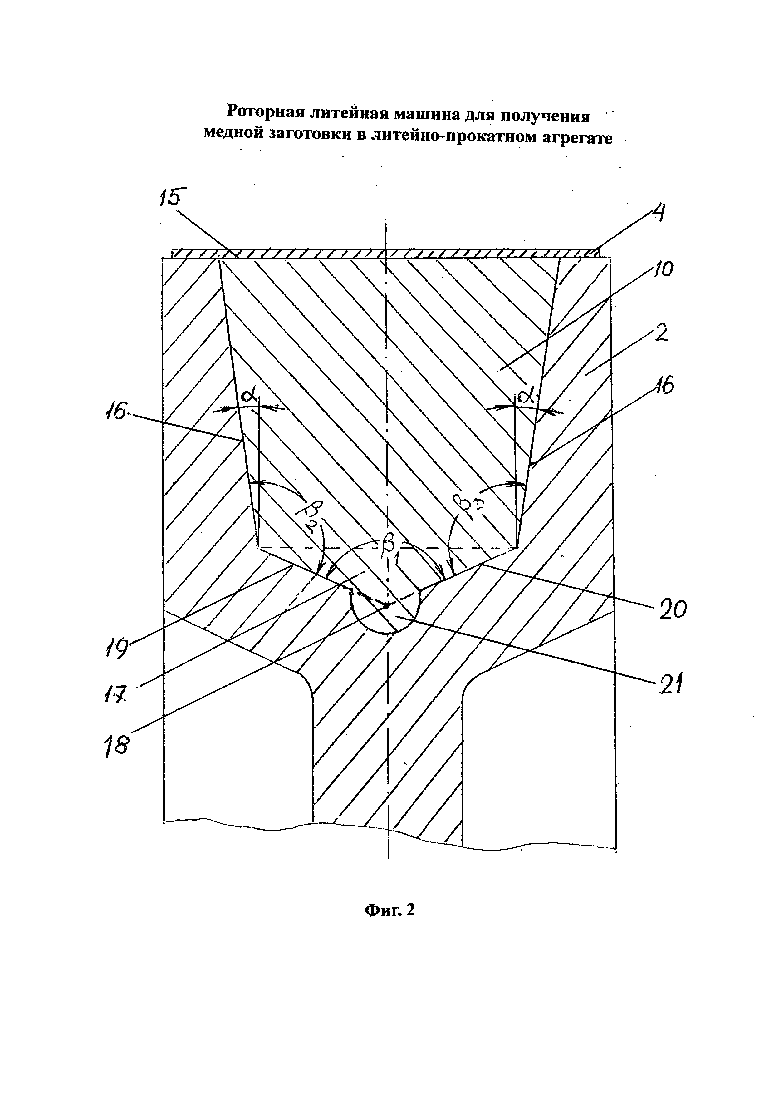
Изобретение относится к области металлургии и может быть использовано при изготовлении медной катанки в совмещенном процессе литья и прокатки. Роторная литейная машина содержит раму, на которой смонтированы литейное колесо и натяжное колесо, охваченные бесконечной подвижной лентой, которая совместно с калибром в литейном колесе образует подвижный кристаллизатор. Радиальное сечение кристаллизатора имеет форму трапеции с верхним широким основанием 15 и нижним узким основанием в виде равнобедренного треугольника 17, в котором три нижних угла β, β, βравны между собой. В ручье литейного колеса выполнена дополнительная впадина 21 с радиусом r, которая приводит к увеличению интенсивности охлаждения в данной области относительно заготовки в целом. Обеспечивается устранение брака по трещинам в середине нижнего основания трапециевидного поперечного сечения заготовки, а также исключение обрывов заготовки по этим трещинам в процессе ее литья и последующей прокатки заготовки. 1 з.п. ф-лы 3 ил.
1. Роторная литейная машина для получения медной заготовки в литейно-прокатном агрегате, содержащая раму, в которой установлены верхнее натяжное колесо и нижнее калиброванное литейное колесо, охваченные бесконечной подвижной лентой, которая совместно с калибром, нарезанным в литейном колесе, образует подвижный кристаллизатор, имеющий в радиальном сечении форму трапеции с верхним широким и нижним узким основаниями, причем узкое основание трапеции выполнено с впадиной в виде равнобедренного треугольника, отличающаяся тем, что в ручье калиброванного литейного колеса вокруг вершины равнобедренного треугольника выполнена дополнительная впадина, имеющая в сечении вид полуокружности. 2. Роторная литейная машина по п. 1, отличающаяся тем, что радиус r дополнительной впадины определяют по зависимости где F0 - площадь поперечного сечения калибра, мм2.
,
Изобретение относится к области металлургии и может быть использовано при изготовлении медной катанки в совмещенном процессе литья и прокатки. Известен способ литья заготовки в пятироликовой роторной литейной машине, включающий формирование литейного желоба между центральным колесом машины и охватывающей лентой и заливку жидкого металла на вход этого желоба; при этом вход в литейный желоб расположен горизонтально (см. статью «Полосовые литейно-прокатные агрегаты для производства полос из цветных металлов». А.В. Чеботарев, А.Ю. Шевченко, А.В. Самсонов. Тяжелое машиностроение. 5/1997. Стр. 10. Позиция 1 на рисунке). Недостаток пятироликовой машины - ее большая масса и стоимость. Известен способ литья алюминиевой заготовки в двухроликовой литейной машине, включающий формирование литейного желоба между нижним колесом и охватывающей лентой (см. статью «Литейно-прокатные агрегаты для производства алюминиевой и медной катанки». А.Ю. Шевченко, В.А. Чеботарев и др. Тяжелое машиностроение 5/1997. Стр. 12. Позиция 1 на рисунке). Достоинство известного способа - меньше вероятность попадания газовых пузырьков в жидкий металл в процессе литья. Недостаток известного технического решения - вероятность появления поперечных температурных трещин посередине нижнего основания поперечного сечения литой заготовки. Технический результат от использования изобретения - ликвидация брака по поперечным трещинам посередине нижнего основания трапециевидного поперечного сечения заготовки, а также исключение обрывов заготовки по этим трещинам в процессе ее литья и последующей прокатки заготовки за счет местного снижения температуры заготовки в местах локализации этих трещин благодаря увеличению интенсивности процесса охлаждения заготовки в указанной области. Данный технический результат достигают тем, что используют роторную литейную машину для получения медной заготовки в литейно-прокатном агрегате, включающую раму, в которой установлены два колеса: верхнее натяжное и нижнее калиброванное литейное, охваченные бесконечной подвижной лентой, которая совместно с калибром, нарезанным в литейном колесе, образуют подвижный кристаллизатор, имеющий в радиальном сечении форму трапеции с верхним широким и нижним узким основаниями, причем на входе в кристаллизатор подвижная лента прижата к калибру, выполненному в литейном колесе, с помощью прижимного ролика, узкое основание трапеции выполнено выпуклым в виде равнобедренного треугольника; при этом горизонтальная ось прижимного ролика совмещена с горизонтальной осью литейного колеса, а трапеция с выпуклым узким нижним основанием, представляющая собой радиальное сечение калибра в литейном колесе, характеризуется тем, что в ручье калиброванного литейного колеса вокруг вершины равнобедренного треугольника выполнена впадина, очерченная радиусом r. Для иллюстрации предлагаемого технического решения используются чертежи. Фиг. 1. Схема роторной машины, вид сбоку. Фиг. 2. Радиальное сечение (А-А на фиг. 1) ручья в литейном колесе роторной литейной машины вместе с отливаемой заготовкой. Фиг. 3. Нижнее основание трапециевидного поперечного сечения отливаемой заготовки. Литейная машина включает: раму 1 (фиг. 1), на которой смонтированы литейное колесо 2 и натяжное колесо 3, охваченные бесконечной подвижной лентой 4, которая в сочетании с литейным колесом 2 образует подвижный кристаллизатор. Возле рамы 1 установлен миксер 5 (а точнее, на фиг. 1 позицией 5 обозначена точка, относительно которой осуществляют опрокидывание миксера) с ванной 6 и трубкой-питателем 7. Со стороны входа в подвижный кристаллизатор бесконечная лента 4 прижата к литейному колесу 2 с помощью прижимного ролика 8, приводимого в действие пневмоцилиндром 9. Выходящая из подвижного кристаллизатора литая заготовка 10 (фиг. 2) показана штрихпунктирной линией 11 в виде траектории ее движения. Прижимной ролик 8 предназначен для того, чтобы обеспечивать правильную форму поперечного сечения отливаемой заготовки 10. Для этой цели его горизонтальная ось совмещена с горизонтальной осью литейного колеса 2. Работает установка для литья заготовки следующим образом. Жидкий металл заливают в миксер 5, из которого ее подают в ванну 6 и далее трубкой-питателем 7 дозированно направляют на вход подвижного кристаллизатора. На рабочей длине L кристаллизатора при вращении литейного колеса 2 по часовой стрелке (см. стрелку 12) жидкий металл затвердевает, и на выходе 13 из кристаллизатора получают заготовку с поперечным сечением (фиг. 2) в виде трапеции с выпуклым узким нижним основанием, представляющим собой радиальное сечение калибра в литейном колесе 2, и характеризующимся тем, что все три нижних угла в нем равны между собой. Непрерывно выдвигаясь из кристаллизатора, заготовка движется по криволинейной траектории 11 и на выходе из литейной машины имеет вид заготовки 14, разогнутой в прямую линию. Радиальное сечение калибра в литейном колесе 2, имеющее вид трапеции с выпуклым узким нижним основанием и представленное на фиг. 2, характеризуется равенством углов β1=β2=β3=β. Для построения математического выражения, вычисляющего величину угла β, воспользуемся следующей системой уравнения: Δβ=(β1-90°)-α Δβ=(180°-β2)/2 Δβ1=β2, где Δβ - промежуточный параметр. Решая эту систему уравнений, получаем рабочую формулу: β=120°+0,67α Если принять углы выпуска, например, α1=α2=α=9°, то углы β можно рассчитать следующим образом: β=120°+0,67⋅9°=126° Поперечное сечение отливаемой заготовки, показанное на фиг. 2, включает: верхнее основание 15, две боковые грани 16 и выпуклое нижнее основание в виде равнобедренного треугольника 17, вершина 18 которого разделяет нижнее основание на две самостоятельные зоны охлаждения 19 и 20. Вокруг точки 18 как относительно центра полуокружности очерчен выступ 21 (фиг. 3), причем радиус полуокружности можно рассчитать по эмпирической формуле где F0 - площадь поперечного сечения отливаемой заготовки, мм2. Определим отношение α0 охлаждаемой поверхности заготовки к охлаждаемому объему (точнее, охлаждаемого периметра к охлаждаемой площади). Выполним это на численных примерах: в первом из них площадь поперечного сечения заготовки F0=1000 мм2, а во втором - F0=2500 мм2. В первом примере охлаждаемой периметр С0=4а0=4⋅31,5=125 мм где а0=31,5 мм - сторона условного квадрата, которую находят как Отношение периметра к площади α0=С0/F0=125/1000=0,125 Степень интенсивности охлаждения заготовки в целом β0=α0=0,125 Радиус выступа на нижнем основании поперечного сечения заготовки Охлаждающий периметр на выступе нижнего основания С1=(πr)=3,14⋅4,0=12,5 мм Охлаждаемая площадь сечения выступа 21 (фиг. 3) F1=(πr2/2)=3,14⋅4,02/2=25,0 мм2 Отношение охлаждаемого периметра к охлаждаемой площади α1=C1/(F1)=12,5/25,0=0,500 Степень интенсивности охлаждения выступа 21 β1=α1/К1=0,500/2=0,250 где К1-2 - коэффициент подпитки теплом извне. Отношение интенсивности местного охлаждения выступа 21 к средней интенсивности охлаждения заготовки в целом η=β1/β0=0,250/0,125=2,0 Во втором примере (F0=2500 мм2) С1=3,14⋅5,0=15,7 мм β1=0,400/2=0,200 С0=4⋅50=200 мм α0=200/2500=0,080 β0=α0=0,080 F1=3,14⋅52/2=39,3 мм2 α1=15,7/39,3β0=α0=0,080 F1=3,14⋅52/2=39,3 мм2 α1=15,7/39,3=0,400 β1=0,400/2=0,200 η=0,200/0,080=2,5 Итак, интенсивность местного охлаждения на выступе 21 (фиг. 3) в 2,0…2,5 раза выше, чем в целом по заготовке. Это получается за счет того, что на дне калибра выполнена впадина с радиусом r; в результате охлаждаемый периметр увеличивается в Это обеспечивает следующие преимущества: а) ликвидируется опасность возникновения поперечных трещин посередине нижнего основания поперечного сечения заготовки, которые возникают в процессе ее разгибания после выхода из кристаллизатора; б) как следствие, ликвидируются разрывы в заготовке, возникающие в процессе ее литья, а также при последующей ее прокатке; а это исключает аварийные ситуации в литейно-прокатном агрегате; в) ликвидируются скрытые трещины в заготовке, а в последующем и в готовом прокате; а это исключает получение бракованной продукции.
,



раза, а температура выступа 21 получается на 40…60°C ниже, чем в целом по заготовке 10.