патент
№ RU 2689623
МПК B01D53/26

УСТАНОВКА ПОДГОТОВКИ ГАЗА

Авторы:
Карепина Лариса Николаевна Килинник Алла Васильевна Аджиев Али Юсупович
Все (4)
Номер заявки
2018145117
Дата подачи заявки
18.12.2018
Опубликовано
28.05.2019
Страна
RU
Как управлять
интеллектуальной собственностью
Чертежи 
1
Реферат

Изобретение может быть использовано на газоперерабатывающих производствах. Установка подготовки газа включает соединенные трубопроводами и снабженные необходимой запорно-регулирующей арматурой блок адсорбционной осушки газа с отводом осушенного углеводородного газа, отводом отработанного газа регенерации, подводом газа на регенерацию и охлаждение адсорбента, блок низкотемпературной переработки газа с отводом потока целевых углеводородов, отводом потока сухого отбензиненного газа отводом газообразного потока хладагента, пропановую холодильную установку с входом газообразного и выходом жидкого потоков хладагента, дожимной компрессор с выходом подготовленного газа. Установка снабжена дополнительно установленным холодильником, соединенным с дополнительно установленным сепаратором, снабженным отводом подготовленного газа регенерации и отводом жидкой фазы. Изобретение обеспечивает увеличение выхода товарной продукции с газоперерабатывающего производства за счет подготовки и возврата в полном объеме отработанного газа регенерации в готовый продукт, а также снижение капитальных и эксплуатационных затрат. 3 з.п. ф-лы, 1 ил.

Формула изобретения

1. Установка подготовки газа, включающая соединенные трубопроводами и снабженные необходимой запорно-регулирующей арматурой блок адсорбционной осушки газа с отводом осушенного углеводородного газа, отводом отработанного газа регенерации, подводом газа на регенерацию и охлаждение адсорбента, блок низкотемпературной переработки газа с отводом потока целевых углеводородов, отводом потока сухого отбензиненного газа и отводом газообразного потока хладагента, пропановую холодильную установку с входом газообразного и выходом жидкого потоков хладагента и дожимной компрессор с выходом подготовленного газа, при этом отвод осушенного углеводородного газа соединен с блоком низкотемпературной переработки газа, отвод потока сухого отбензиненного газа соединен с дожимным компрессором, выход подготовленного газа из которого соединен с магистральным газопроводом, кроме того, установка снабжена отводом подготовленного отработанного газа регенерации, соединенным с потоком сухого отбензиненного газа перед дожимным компрессором, отличающаяся тем, что установка снабжена дополнительно установленным холодильником, снабженным по первому теплоносителю входом и отводом газообразного потока хладагента, а по второму теплоносителю - входом для подачи отработанного газа регенерации, соединенным с отводом отработанного газа регенерации с блока адсорбционной осушки газа, и отводом охлажденного отработанного газа регенерации, соединенным с дополнительно установленным сепаратором, снабженным отводом подготовленного газа регенерации и отводом жидкой фазы.

2. Установка подготовки газа по п. 1, отличающаяся тем, что вход для подачи газообразного потока хладагента в дополнительно установленный холодильник соединен с отводом газообразного потока хладагента с блока низкотемпературной переработки газа трубопроводом для подачи потока хладагента, снабженным регулирующим клапаном, а выход газообразного потока хладагента из дополнительно установленного холодильника соединен с входом газообразного потока хладагента в пропановую холодильную установку.

3. Установка подготовки газа по п. 1, отличающаяся тем, что вход для подачи газообразного потока хладагента в дополнительно установленный холодильник соединен с выходом жидкого потока хладагента из пропановой холодильной установки трубопроводом для подачи потока хладагента, снабженным регулирующим дросселирующим клапаном, а выход газообразного потока хладагента из дополнительно установленного холодильника соединен с входом газообразного потока хладагента в пропановую холодильную установку.

4. Установка подготовки газа по п. 1, отличающаяся тем, что выход подготовленного газа из дожимного компрессора снабжен дополнительным отводом, соединенным с подводом газа на регенерацию и охлаждение адсорбента в блок адсорбционной осушки газа.

Описание

[1]

Изобретение может быть использовано на газоперерабатывающих производствах, а именно на установках переработки природного и попутного нефтяного газа (УПГ), использующих схему с блоком адсорбционной осушки газа и блоком низкотемпературной переработки газа с наличием пропановой холодильной установки (ПХУ).

[2]

Подготовка (утилизация) отработанного газа регенерации имеет важное значение во всех случаях использования блока адсорбционной осушки газа, т.к. подготовка и использование отработанного газа регенерации позволяет увеличить выход товарной продукции с газоперерабатывающего производства. В некоторых случаях отработанный газ регенерации без подготовки используется как топливный газ, но это, как правило, не более 10% от его количества.

[3]

В качестве газа регенерации может быть использован как осушенный газ после блока адсорбционной осушки газа, так и сухой отбензиненный газ (СОГ) после блока низкотемпературной переработки газа, подаваемый в магистральный газопровод.

[4]

Ранее, в 1980-х годах, при проектировании отечественных газоперерабатывающих заводов (ГПЗ) в качестве газа охлаждения и регенерации использовалась часть потока осушенного газа. Отработанный газ регенерации возвращался либо на прием входных компрессоров, либо дополнительным дожимным специальным компрессором возвращался на вход блока адсорбционной осушки газа. Использование в качестве газа регенерации части потока осушенного газа нежелательно по следующим причинам:

[5]

- попутный нефтяной газ (ПНГ) содержит достаточно высокое количество компонентов С5+выше- При температуре регенерации (до 350°С) тяжелые компоненты ПНГ способствуют закоксовыванию пор адсорбентов и, тем самым, снижают поглощающую способность адсорбента;

[6]

- возврат отработанного газа регенерации на входные компрессоры снижает количество принимаемого на ГПЗ газа на 10…15% или требует увеличения производительности блока адсорбционной осушки газа;

[7]

- использование дополнительного дожимного компрессора увеличивает энергетические и капитальные затраты.

[8]

Применение в качестве газа регенерации части потока СОГ имеет ряд преимуществ:

[9]

- облегчает регенерацию адсорбента за счет минимального количества углеводородов С3+выше;

[10]

- появляется возможность возврата отработанного газа регенерации в систему СОГ.

[11]

Известна установка осушки газа и отработанного газа регенерации (см. книга «Подготовка и переработка попутного нефтяного газа в России». 4.1 /А.Ю. Аджиев, П.А. Пуртов. - Краснодар: ЭДВИ, 2014, стр. 255, рис. 3.45), включающая трубопровод подачи углеводородного газа в блок адсорбционной осушки газа, снабженный отводом осушенного углеводородного газа, отводом отработанного газа регенерации и подводом части потока осушенного или отбензиненного газа на регенерацию и охлаждение адсорбента, при этом отвод осушенного углеводородного газа соединен с блоком низкотемпературной конденсации газа, отвод отработанного газа регенерации соединен с двумя дополнительно установленными адсорберами, снабженными отводом подготовленного отработанного газа регенерации, соединенным с дожимной компрессорной станцией (ДКС).

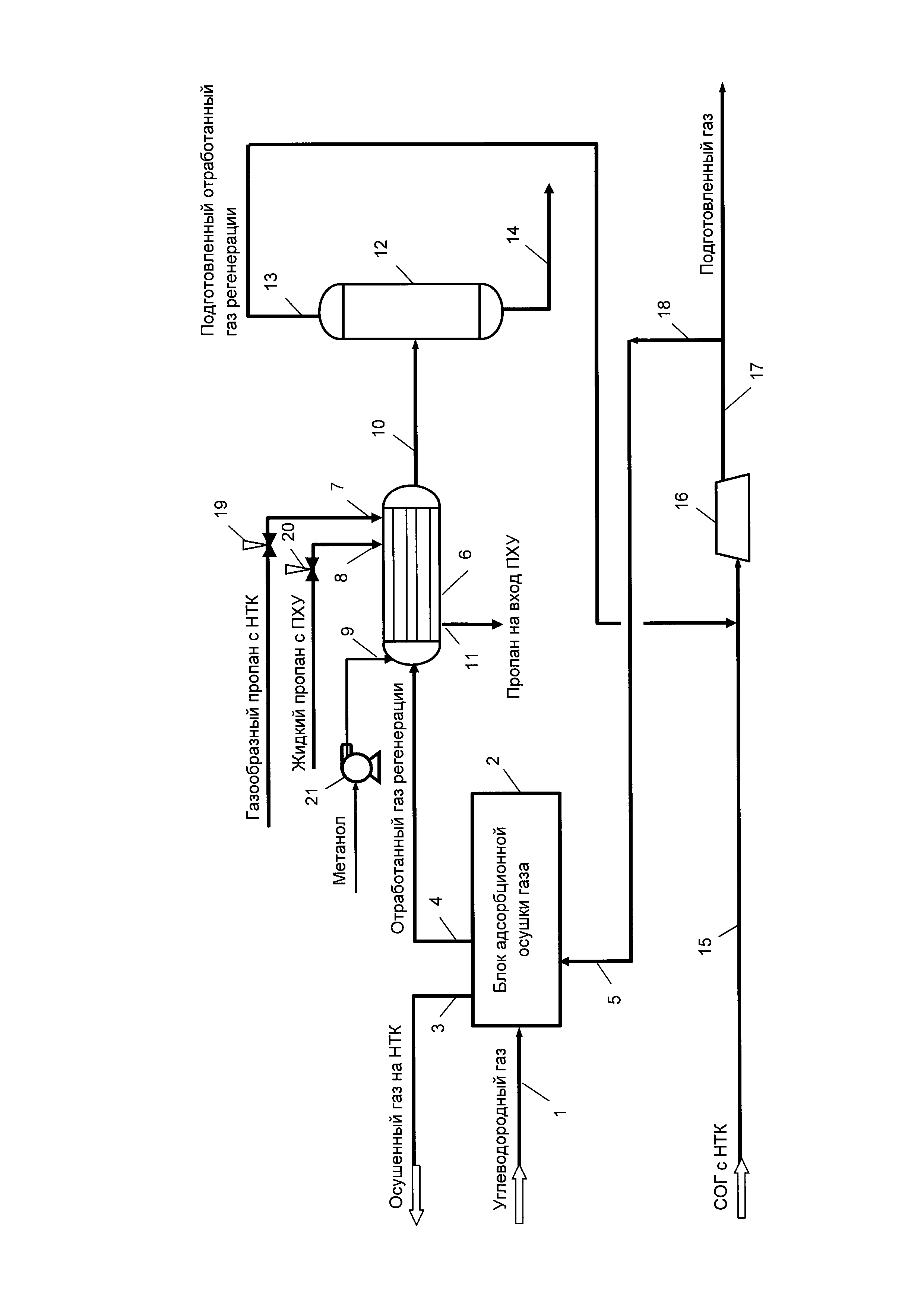
[12]

Общими признаками известной и предлагаемой установок являются:

[13]

- трубопровод подачи углеводородного газа, соединенный с блоком адсорбционной осушки газа;

[14]

- блок адсорбционной осушки газа снабжен отводом осушенного углеводородного газа, отводом отработанного газа регенерации и подводом газа на регенерацию и охлаждение адсорбента;

[15]

- отвод осушенного углеводородного газа соединен с блоком низкотемпературной переработки газа;

[16]

- отвод подготовленного (осушенного) отработанного газа регенерации соединен с ДКС.

[17]

Недостатками известной установки являются:

[18]

- наличие дополнительных и достаточно металлоемких аппаратов - адсорберов и фильтров;

[19]

- наличие у дополнительных адсорберов собственной системы регенерации, встроенной в общую схему регенерации установки осушки газа, которая требует увеличения общего количества газов регенерации до 10…20%, соответствующей трубной обвязки, значительного количества автоматических клапанов регулирования и, соответственно, необходимого количества приборов контроля в операторной;

[20]

- необходимость закупки и периодической перезагрузки дополнительного количества адсорбента, используемого на основной установке осушки газа.

[21]

Таким образом, известная установка является достаточно капиталоемкой (основное оборудование, обвязка со средствами КИП и А, стоимость адсорбента) и имеет высокие эксплуатационные затраты (повышение общего количества газов регенерации на установке осушки, обслуживание, перезагрузка и очистка адсорберов и фильтров, увеличение энергетической нагрузки на печь нагрева газов регенерации и ДКС, на дожатие повышенного количества газа регенерации).

[22]

Наиболее близкой по технической сущности и заявляемому результату является установка подготовки углеводородного газа (см. патент РФ на изобретение №2381822, МПК B01D 53/04 (2006.01), опуб. 20.02.2010), включающая подключенный к линии подачи скомпримированного сырого газа от сырьевого компрессора блок адсорбционной осушки газа с линиями подвода сырого газа и отвода осушенного газа, линиями подвода и отвода газа охлаждения и линиями подвода и отвода газа регенерации, блок низкотемпературной переработки газа с отводом СОГ, отводом целевых углеводородов, отводом газообразного потока хладагента и соединенный с пропановой холодильной установкой, снабженной входом газообразного и выходом жидкого потоков хладагента, и дожимной компрессор, снабженный выходом подготовленного газа, при этом установка также снабжена узлом подготовки отработанного газа регенерации, включающим установленный на линии отвода газа регенерации узел тонкой очистки отработанного газа регенерации и блок мембранного разделения (осушки), линия выхода ретентата из которого подключена к линии подачи СОГ на дожимной компрессор, а линия выхода пермеата - к линии подачи сырого газа на сырьевой компрессор.

[23]

Общими признаками известной и предлагаемой установки являются:

[24]

- трубопровод подачи углеводородного газа, соединенный с блоком адсорбционной осушки газа;

[25]

- блок адсорбционной осушки газа снабжен отводом осушенного углеводородного газа, отводом отработанного газа регенерации и подводом газа на регенерацию и охлаждение адсорбента;

[26]

- отвод осушенного углеводородного газа соединен с блоком низкотемпературной переработки газа;

[27]

- блок низкотемпературной переработки газа снабжен отводом СОГ, отводом целевых углеводородов и отводом газообразного потока хладагента;

[28]

- блок низкотемпературной переработки газа соединен с пропановой холодильной установкой;

[29]

- пропановая холодильная установка снабжена входом газообразного и выходом жидкого потоков хладагента;

[30]

- отвод СОГ соединен с дожимным компрессором, снабженным выходом подготовленного газа,

[31]

- отвод подготовленного отработанного газа регенерации соединен с отводом СОГ перед дожимным компрессором.

[32]

- выход подготовленного газа из дожимного компрессора соединен с магистральным газопроводом.

[33]

Недостатками известной установки являются:

[34]

- высокая стоимость используемых мембранных модулей;

[35]

- высокие капитальные и эксплуатационные затраты вследствие возврата одного из потоков, обогащенного водой и углеводородами С3+выше, на вход сырьевого компрессора, что также снижает количество принимаемого на ГПЗ сырого газа и приводит к частичным потерям товарной продукции;

[36]

- необходимость очень тонкой очистки отработанного газа регенерации от всех видов примесей и капельной влаги перед подачей на блок мембранного разделения, приводящее к увеличению капитальных и эксплуатационных затрат, т.к. в случае отсутствия такой очистки время эксплуатации мембранных модулей будет значительно сокращено и потребуется существенное увеличение эксплуатационных затрат на их замену.

[37]

Технический результат - увеличение выхода товарной продукции с газоперерабатывающего производства за счет подготовки и возврата в полном объеме отработанного газа регенерации в готовый продукт, а также снижение капитальных и эксплуатационных затрат.

[38]

Указанный технический результат достигается тем, что в установке подготовке газа, включающей соединенные трубопроводами и снабженные необходимой запорно-регулирующей арматурой блок адсорбционной осушки газа с отводом осушенного углеводородного газа, отводом отработанного газа регенерации, подводом газа на регенерацию и охлаждение адсорбента, блок низкотемпературной переработки газа с отводом потока целевых углеводородов, отводом потока сухого отбензиненного газа и отводом газообразного потока хладагента, пропановую холодильную установку с входом газообразного и выходом жидкого потоков хладагента, и дожимной компрессор с выходом подготовленного газа, при этом отвод осушенного углеводородного газа соединен с блоком низкотемпературной переработки газа, отвод потока сухого отбензиненного газа соединен с дожимным компрессором, выход подготовленного газа из которого соединен с магистральным газопроводом, кроме того установка снабжена отводом подготовленного отработанного газа регенерации, соединенным с потоком сухого отбензиненного газа перед дожимным компрессором, согласно изобретению, установка снабжена дополнительно установленным холодильником, снабженным по первому теплоносителю входом и отводом газообразного потока хладагента, а по второму теплоносителю - входом для подачи отработанного газа регенерации, соединенным с отводом отработанного газа регенерации с блока адсорбционной осушки газа, и отводом охлажденного отработанного газа регенерации, соединенным с дополнительно установленным сепаратором, снабженным отводом подготовленного газа регенерации и отводом жидкой фазы.

[39]

Кроме того, вход для подачи газообразного потока хладагента в дополнительно установленный холодильник соединен с отводом газообразного потока хладагента с блока низкотемпературной переработки газа трубопроводом для подачи потока хладагента, снабженным регулирующим клапаном, а выход газообразного потока хладагента из дополнительно установленного холодильника соединен с входом газообразного потока хладагента в пропановую холодильную установку.

[40]

Кроме того, вход для подачи газообразного потока хладагента в дополнительно установленный холодильник соединен с выходом жидкого потока хладагента из пропановой холодильной установки трубопроводом для подачи потока хладагента, снабженным регулирующим дросселирующим клапаном, а выход газообразного потока хладагента из дополнительно установленного холодильника соединен с входом газообразного потока хладагента в пропановую холодильную установку.

[41]

Кроме этого, выход подготовленного газа из дожимного компрессора снабжен дополнительным отводом, соединенным с подводом газа на регенерацию и охлаждение адсорбента в блок адсорбционной осушки газа.

[42]

Снабжение установки дополнительно установленным холодильником позволяет охладить до требуемой температуры отработанный газ регенерации, полученный на блоке адсорбционной осушки газа, за счет его теплообмена или с потоком холодного газообразного пропана, подаваемого с блока низкотемпературной переработки газа, или с потоком жидкого пропана, подаваемого от существующей на газоперерабатывающем производстве ПХУ и сдросселированного до газообразного состояния, а также сконденсировать определенное количество влаги с последующей сепарацией и отводом жидкой фазы и, тем самым, обеспечить подготовку отработанного газа регенерации для возможности его дальнейшей подачи в полном объеме с требуемым качеством на смешение с потоком сухого отбензиненного газа перед дожимным компрессором при минимальных капитальных и эксплуатационных затратах на осуществление процесса подготовки отработанного газа регенерации.

[43]

Выбор хладагента (газообразного или жидкого пропана) делается на основании анализа схемы размещения технологических объектов (блока адсорбционной осушки газа, блока низкотемпературной переработки газа, ПХУ) с учетом минимальных затрат на размещение, обвязку и регулирование установки подготовки газа, что позволяет обеспечить соответствующее качество подготовки отработанного газа регенерации с сохранением качества и количества товарной продукции при минимизации капитальных и эксплуатационных затрат на осуществление процесса подготовки газа в привязке к существующему газоперерабатывающему производству.

[44]

Соединение отвода охлажденного отработанного газа регенерации из холодильника с дополнительно установленным сепаратором позволяет с высокой эффективностью выделить из охлажденного отработанного газа регенерации жидкую фазу и вывести из сепаратора подготовленный (осушенный) отработанный газ регенерации, после чего направить подготовленный отработанный газ регенерации в полном объеме с требуемым качеством на смешение с потоком сухого отбензиненного газа перед дожимным компрессором.

[45]

Соединение отвода подготовленного отработанного газа регенерации с отводом сухого отбензиненного газа перед дожимным компрессором позволяет увеличить выход товарной продукции с газоперерабатывающего предприятия с необходимыми показателями по температуре точки росы по воде (ТТРВ) и температуре точки росы по углеводородам (ТТРУВ), а также снизить эксплуатационные затраты за счет подачи всего объема подготовленного отработанного газа регенерации с требуемым качеством на смешение с потоком сухого отбензиненного газа перед дожимным компрессором без необходимости функционирования дополнительного контура регенерации или возврата на сырьевую компрессорную станцию.

[46]

Наличие дополнительного отвода подготовленного газа, соединенного с подводом газа на регенерацию и охлаждение адсорбента в блок адсорбционной осушки газа, позволяет использовать в качестве газа регенерации часть потока подготовленного газа после дожимного компрессора и проводить регенерацию практически при том же давлении, что и давление адсорбции (осушки), например снижение давления при регенерации с 3,6-4,0 МПа до 1,8-2,4 МПа, а потом подъем с этого давления до давления адсорбции (осушки) 3,6-4,0 МПа. Это исключает необходимость операции сброса давления при регенерации и операции повышения давления при переходе на стадию адсорбции, тем самым позволяет исключить лишние стадии по контролю и регулированию процесса.

[47]

Таким образом, заявляемая совокупность признаков предлагаемой установки позволяет существенно снизить капитальные затраты вследствие более простой технологической схемы, доступности традиционных аппаратов, упрощения схемы и снижения количества контуров контроля и регулирования.

[48]

Кроме того, заявляемая совокупность признаков предлагаемой установки подготовки газа позволяет решить проблему подготовки и использования отработанного газа регенерации, получаемого на блоке адсорбционной осушки газа, и за счет этого увеличить выход товарной продукции с газоперерабатывающего производства, а также сократить капитальные и эксплуатационные затраты.

[49]

Принципиальная технологическая схема установки подготовки газа представлена на рисунке.

[50]

Установка включает трубопровод 1 подачи углеводородного газа в блок 2 адсорбционной осушки газа.

[51]

Блок 2 адсорбционной осушки газа может быть выполнен в виде любой известной из уровня техники установки адсорбционной осушки газа, состоящей из адсорберов, заполненных адсорбентом, узлов регенерации и охлаждения, содержащих фильтр газа регенерации, фильтр газа охлаждения, рекуперативный теплообменник, печь нагрева газа регенерации, охлаждающие аппараты и сепаратор отработанного газа регенерации (на рисунке не показано).

[52]

Блок 2 адсорбционной осушки газа снабжен отводом 3 осушенного углеводородного газа, отводом 4 отработанного газа регенерации и входом 5 для подачи газа на охлаждение и регенерацию адсорбента.

[53]

Отвод 3 осушенного углеводородного газа соединен с блоком низкотемпературной переработки газа (на рисунке не показано), выполненным в виде любой известной из уровня техники установки низкотемпературного разделения газа (например, установки низкотемпературной конденсации - НТК), снабженной отводом СОГ и отводом целевых углеводородов С3+выше или С2+выше (в зависимости от производственной необходимости).

[54]

Блок низкотемпературного разделения газа также снабжен подводом жидкого и отводом газообразного потоков хладагента (на фигуре не показано) и соединен с имеющейся на газоперерабатывающем производстве ПХУ.

[55]

ПХУ выполнена в виде любой известной из уровня техники установки пропанового охлаждения, снабженной входом газообразного и выходом жидкого потоков хладагента - пропана, а также необходимыми трубопроводами и запорно-регулирующей арматурой (на рисунке не показано).

[56]

Отвод 4 отработанного газа регенерации соединен с дополнительно установленным холодильником 6.

[57]

Холодильник 6 может быть снабжен входом 7 для подачи газообразного потока хладагента, в качестве которого используют часть потока газообразного пропана после пропановых холодильников с блока низкотемпературной переработки газа (на рисунке не показано), или входом 8 для подачи газообразного хладагента, в качестве которого используют предварительно сдросселированный жидкий пропан с существующей на газоперерабатывающем производстве ПХУ. Кроме того, холодильник 6 снабжен входом 9 для подачи метанола, отводом 10 отвода охлажденного отработанного газа регенерации и отводом 11 газообразного потока хладагента.

[58]

Отвод 10 охлажденного отработанного газа регенерации соединен с сепаратором 12, снабженным отводом 13 подготовленного (осушенного) отработанного газа регенерации и отводом 14 жидкой фазы.

[59]

Отвод 11 газообразного потока хладагента соединен с входом газообразного потока хладагента в ПХУ.

[60]

СОГ с блока низкотемпературной переработки газа через трубопровод 15 соединен с дожимным компрессором 16.

[61]

Дожимной компрессор 16 снабжен выходом 17 подготовленного газа, соединенным с магистральным газопроводом.

[62]

Отвод 13 подготовленного отработанного газа регенерации из сепаратора 12 соединен с трубопроводом 15 перед дожимным компрессором 16.

[63]

Выход 17 подготовленного газа снабжен дополнительным отводом 18, соединенным с входом 5 для подачи газа на охлаждение и регенерацию адсорбента в блок 2 адсорбционной осушки газа.

[64]

Вход 7 для подачи газообразного потока хладагента соединен с отводом потока газообразного потока хладагента с блока низкотемпературной переработки газа трубопроводом для подачи хладагента, снабженным регулирующим клапаном 19, позволяющим регулировать температуру потока отработанного газа регенерации до необходимой.

[65]

Вход 8 для подачи газообразного хладагента соединен с выходом жидкого потока хладагента из ПХУ трубопроводом для подачи хладагента, снабженным регулирующим дросселирующим клапаном 20, выполняющим функцию дросселя и позволяющим подавать направляемый в холодильник 6 жидкий поток хладагента в газообразном состоянии.

[66]

Установка снабжена дозировочным насосом 21 подачи метанола в холодильник 6.

[67]

Установка также снабжена необходимой запорно-регулирующей арматурой.

[68]

Установка работает следующим образом.

[69]

Углеводородный газ по трубопроводу 1 поступает в блок 2 адсорбционной осушки газа. Полученный поток осушенного углеводородного газа через отвод 3 выводится с блока 2 адсорбционной осушки газа и далее направляется в блок низкотемпературной переработки газа (на рисунке не показано) для получения потока СОГ и потока целевых углеводородов С3+выше или С2+выше (в зависимости от производственной необходимости). Полученный поток СОГ по трубопроводу 15 направляется на дожимной компрессор 16.

[70]

Отработанный газ регенерации через отвод 4 выводится с блока 2 адсорбционной осушки газа и далее поступает в холодильник 6 для охлаждения потоком хладагента.

[71]

Охлаждение отработанного газа регенерации в холодильнике 6 может проводиться (в зависимости от технологических параметров и выбранной схемы установки) двумя способами:

[72]

- или потоком газообразного пропана, подаваемого через вход 7 по трубопроводу подачи хладагента из пропановых холодильников с блока низкотемпературной переработки газа с регулировкой температуры потока отработанного газа регенерации до необходимой с помощью регулирующего клапана 19;

[73]

- или потоком жидкого пропана, сдросселированного до газообразного состояния с помощью регулирующего дросселирующего клапана 20 и подаваемого через вход 8 по трубопроводу подачи хладагента из ПХУ.

[74]

Для предотвращения гидратообразования в холодильник 6 через вход 9 насосом 21 подается метанол из существующего на газоперерабатывающем производстве метанольного хозяйства (на рисунке не показано). Количество метанола рассчитывается в зависимости от количества воды, выделенной в сепараторе 12, при этом концентрация метанола в смеси с водой должна составлять 8…12% маc.

[75]

Отработанный хладагент через отвод 11 выводится из холодильника 6 и направляется на вход газообразного потока хладагента в ПХУ. Количество холода, необходимого для снижения температуры отработанного газа регенерации (в связи с незначительным потоком этого газа - 10% от основного), полностью обеспечивается производительностью существующей ПХУ.

[76]

Охлажденный отработанный газ регенерации из холодильника 6 через отвод 10 поступает в дополнительно установленный сепаратор 12, в котором из него отделяется выпавшая жидкая фаза - водометанольная смесь с концентрацией метанола 8…12% маc.

[77]

Жидкая фаза из сепаратора 12 через отвод 14 направляется на утилизацию или на смешение с жидкой фазой (водой) из сепаратора (на рисунке не показано) блока 2 адсорбционной осушки газа.

[78]

Подготовленный (осушенный) отработанный газ регенерации из сепаратора 12 через отвод 13 направляется в трубопровод 15 в поток СОГ, поступающий в дожимной компрессор 16.

[79]

Подготовленный газ, полученный в результате смешения потока СОГ и подготовленного отработанного газа регенерации, из дожимного компрессора 16 через выход 17 поступает в магистральный газопровод, при этом часть этого потока газа после дожимного компрессора 16 отбирается и через дополнительный отвод 18 направляется в блок 2 адсорбционной осушки газа для охлаждения и регенерации адсорбента.

Как компенсировать расходы
на инновационную разработку
Похожие патенты