патент
№ RU 2687891
МПК G01B5/30

ПРИБОР ДЛЯ КОНТРОЛЯ ИЗМЕРИТЕЛЬНОГО УСИЛИЯ И ПОГРЕШНОСТИ ИЗМЕРИТЕЛЬНЫХ ГОЛОВОК

Авторы:
Бородулин Руслан Владимирович
Номер заявки
2018131327
Дата подачи заявки
30.08.2018
Опубликовано
16.05.2019
Страна
RU
Как управлять
интеллектуальной собственностью
Чертежи 
1
Реферат

Изобретение относится к измерительной технике и может быть использовано для поверки измерительных головок различных типов как российского, так и зарубежного производства. Технической задачей является повышение производительности и расширение области контроля операций, проводимых при поверки измерительных головок. Для решения поставленной задачи предлагается прибор для контроля измерительного усилия и погрешности измерительных головок, состоящий из корпуса, опорной пятки, кронштейна и направляющей, на корпусе прибора дополнительно установлена гибкая пластина с расположенным на ней тензодатчиком, кронштейн выполнен с возможностью перемещения по вертикальной оси с помощью микрометрического винта, приводящегося в движение шаговым электродвигателем, опорная пятка выполнена с возможностью фиксации с помощью соленоида и стержня. 1 ил.

Формула изобретения

Прибор для контроля измерительного усилия и погрешности измерительных головок, содержащий корпус, опорную пятку, кронштейн и направляющую, отличающийся тем, что на корпусе прибора дополнительно установлена гибкая пластина с расположенным на ней тензодатчиком, кронштейн выполнен с возможностью перемещения по вертикальной оси с помощью микрометрического винта, приводящегося в движение шаговым электродвигателем, опорная пятка выполнена с возможностью фиксации с помощью соленоида и стержня.

Описание

[1]

Изобретение относится к измерительной технике и может быть использовано для поверки измерительных головок различных типов как российского, так и зарубежного производства. Предложенное техническое решение может найти применение при выполнении поверочных работ в метрологических организациях.

[2]

Из уровня техники известны конструкции приборов, которые осуществляют контроль погрешности измерительных головок путем перемещения подвижной опорной пятки прибора.

[3]

Известно устройство для калибровки и поверки индикаторов и нутромеров [Патент на полезную модель RU №177502 «Устройство для калибровки индикаторов и нутромеров», заявлено 22.05.2017]. Устройство состоит из основания и цельной П-образной рамы. На раме в прорези установлена горизонтальная подвижная каретка, оснащенная устройством для микроподачи, отверстием для индикаторов рычажно-зубчатых; зажимным устройством для нутромеров индикаторных и съемной крепежной лапы. Недостатком известного устройства является отсутствие отсчетного устройства и автоматизированного вывода протокола, что ведет к снижению производительности.

[4]

Известен прибор ППИ-50 для поверки индикаторов часового типа [Описание типа средств измерений №48167-11, Приборы для поверки индикаторов ППИ-50]. Прибор представляет собой компьютеризированное место поверителя и состоит из компаратора с цифровой камерой, осветительного прибора, персонального компьютера, принтера и оснастки для поверки. Недостатком устройства является отсутствие электрического привода для перемещения подвижной пятки и, следовательно, нет возможности в осуществлении автоматизации процесса измерения, а также не позволяет произвести поверку всех операций согласно действующей нормативной документации РФ.

[5]

Наиболее близким по технической сущности и достигаемому результату является устройство для определения погрешности измерительных головок зарубежного производства Mahr Optimar 100 [Описание типа средств измерений №36893-08, Приборы для поверки измерительных головок и датчиков Optimar 100, Mahr GmbH]. Прибор представляет собой автоматизированное место для поверки индуктивных и инкрементальных датчиков, а также цифровых измерительных головок. Прибор состоит из корпуса, измерительной панели, вертикальной направляющей для установки и регулировки по высоте измерительных головок, а также электронного маховика для управления перемещением. Перемещение измерительной пиноли осуществляется с помощью двигателя или ручного управления. Недостатком этого прибора является отсутствие системы для контроля измерительного усилия. Отсутствие цифровой камеры, снижает точность отсчета при поверки стрелочных измерительных головок.

[6]

Технической задачей является повышение производительности и расширение области контроля операций проводимых при поверки измерительных головок.

[7]

Для решения поставленной задачи предлагается Прибор для контроля измерительного усилия и погрешности измерительных головок, состоящий из корпуса, опорной пятки, кронштейна и направляющей, в котором согласно изобретению, на корпусе прибора дополнительно установлена гибкая пластина с расположенным на ней тензодатчиком, кронштейн выполнен с возможностью перемещения по вертикальной оси с помощью микрометрического винта, приводящегося в движение шаговым электродвигателем, опорная пятка выполнена с возможностью фиксации с помощью соленоида и стержня.

[8]

От известных технических решений заявляемый Прибор для контроля измерительного усилия и погрешности измерительных головок, отличается тем, что на корпусе прибора дополнительно установлена гибкая пластина с расположенным на ней тензодатчиком, кронштейн выполнен с возможностью перемещения по вертикальной оси с помощью микрометрического винта, приводящегося в движение шаговым электродвигателем, опорная пятка выполнена с возможностью фиксации с помощью соленоида и стержня.

[9]

Дополнительно установленная гибкая пластина, на которой расположен тензодатчик, выполнение кронштейна с возможностью перемещения по вертикальной оси с помощью микрометрического винта, приводящегося в движение шаговым электродвигателем, выполнение опорной пятки с возможностью фиксации с помощью соленоида и стержня позволяет повысить производительность и расширить область контроля операций проводимых при поверки измерительных головок.

[10]

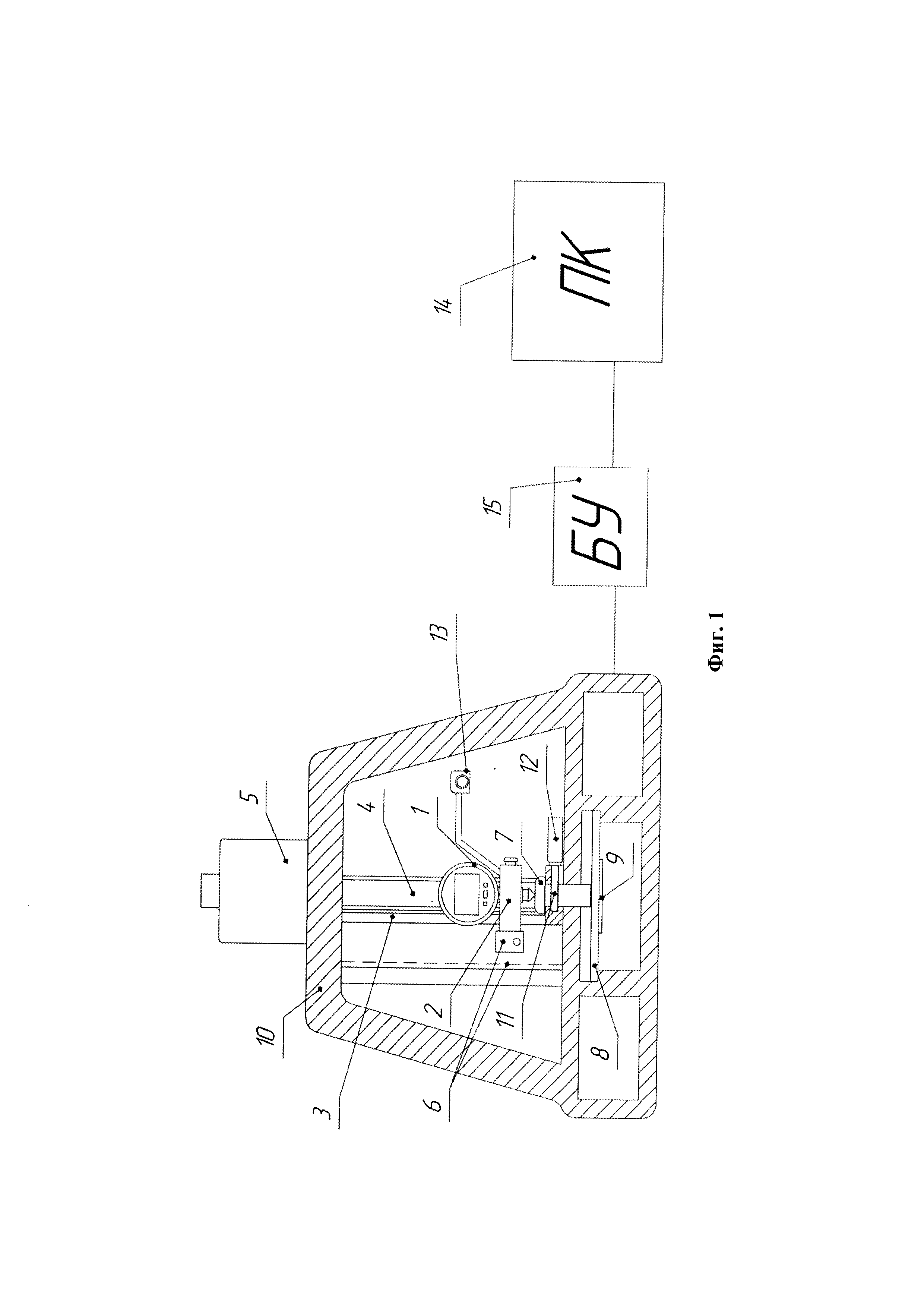
Сущность изобретения поясняется на Фиг. 1, где:

[11]

1 - измерительная головка,

[12]

2 - кронштейн,

[13]

3 - направляющая,

[14]

4 - микрометрический винт,

[15]

5 - шаговый электродвигатель,

[16]

6 - энкодер линейных перемещений,

[17]

7 - опорная пятка,

[18]

8 - пластина,

[19]

9 - тензодатчик,

[20]

10 - корпус,

[21]

11 - стержень,

[22]

12 - соленоид,

[23]

13 - цифровая камера,

[24]

14 - персональный компьютер (ПК),

[25]

15 - блок управления.

[26]

Контроль операции определения погрешности измерительной головки на предложенном приборе проводится путем перемещения головки вдоль вертикальной оси и сравнения полученных показаний с эталонным отсчетным устройством.

[27]

Контроль операции измерительного усилия головки проводится путем сравнения усилия действующего на силоизмерительную поверхность при контакте наконечника измерительной головки с данной поверхностью.

[28]

Принцип контроля измерительного усилия и (или) погрешности на данном измерительном приборе заключается в следующем - измерительная головка 1 устанавливается на кронштейне 2, который перемещается по направляющей 3 в вертикальном положении, при помощи микрометрического винта 4. В свою очередь вращение микрометрического винта передается через шаговый электродвигатель 5. Расстояние перемещения вдоль вертикальной оси контролируется энкодером линейных перемещений 6, который для менее точных измерительных головок служит эталоном длины и позволяет определять не только измерительное усилие, но и погрешность, опорная пятка 7 служит для контакта измерительной головки и пластины 8, на которой установлен тензодатчик 9. Пластина 8 и тензодатчик 9 образуют силоизмерительную поверхность, и устанавливаются на корпусе 10. Для определения погрешности измерительной головки 1 опорная пятка 7 фиксируется стержнем 11, который вводится или выводится с зацепления соленоидом 12. Отсчет с измерительной головки 1 снимается с помощью цифровой камеры 13. Управление, установка значений, контроль и обработка полученных значений осуществляется с помощью блока управления 14 и персонального компьютера 15.

[29]

При поверке измерительных головок производится обработка результатов измерения и управление перемещения кронштейна 2. При установки измерительной головки 1 на кронштейне 2 оператором дается команда контроля измерительного усилия и (или) погрешности путем нажатия кнопки «ИЗМЕРЕНИЕ», «ОПРЕДЕЛЕНИЕ ПОГРЕШНОСТИ», «ОПРЕДЕЛЕНИЕ ИЗМЕРИТЕЛЬНОГО УСИЛИЯ» на мониторе ПК 14 в зависимости от требуемой операции.

[30]

Далее с ПК 14 отправляется команда в блок управления 15, включается шаговый двигатель 5, начинается перемещение кронштейна. При начале контакта измерительной головки 1 с опорной пяткой 7 проводится снятие отсчетов с тензодатчика 9 и далее по всему диапазону.

[31]

Диапазон перемещения контролируется энкодером линейных перемещений 6. Далее, согласно заложенного алгоритма, производится контроль характеристик измерительной головки 1 по всему диапазону измерения.

[32]

Результаты измерения фиксируются в ПК 14, автоматически обрабатываются и формируется протокол измерения, выдается результат поверки.

[33]

Таким образом предложенный Прибор для контроля измерительного усилия и погрешности измерительных головок позволяет повысить точность проводимых поверочных операций, снизить трудоемкость и автоматизировать процесс измерения, сократить количество средств измерений применяемых для поверки.

Как компенсировать расходы
на инновационную разработку
Похожие патенты