патент
№ RU 2677520
МПК E21B7/08

Устройство для повторного входа в боковой ствол скважины

Авторы:
Оснос Владимир Борисович
Номер заявки
2018109808
Дата подачи заявки
20.03.2018
Опубликовано
17.01.2019
Страна
RU
Как управлять
интеллектуальной собственностью
Чертежи 
4
Реферат

Изобретение относится к области бурения, текущего и капитального ремонта нефтяных и газовых скважин. Устройство включает корпус с направляющей поверхностью сверху, спускаемый на колонне труб, и исполнительный элемент, способный перемещаться в корпусе между транспортным положением и положением фиксации и имеющий поверхность на верхнем конце для зацепления с препятствиями, встречающимися в обсадной колонне. Направляющая поверхность корпуса выполнена с возможностью взаимодействия с бурильным инструментом после установки корпуса в обсадной колонне. Корпус оснащен направляющим каналом, направленным снизу вверх от центра к периметру корпуса, и ниже исполнительного элемента - продольным верхним цилиндром, сообщенным снизу с колонной труб. В цилиндр с возможностью ограниченного перемещения вверх вставлен поршень, соединенный сверху подвижной тягой с исполнительным элементом, который вставлен в направляющий канал в транспортном положении заподлицо с корпусом и изготовлен с возможностью продольного перемещения вдоль направляющего канала с выдвижением при создании давления в верхнем цилиндре и зацеплением своей поверхностью на верхнем конце за нижний край предварительно вскрытого в обсадной колонне окна. Корпус ниже верхнего цилиндра снабжен штоком меньшего диаметра, на конце которого зафиксирован поршень, вставленный в подвижный цилиндр, сообщенный гидравлическим каналом с низом верхнего цилиндра и установленный с возможностью перемещения вверх относительно корпуса под действием избыточного давления с фиксацией в верхнем положении. Между верхним торцом подвижного цилиндра и нижним торцом корпуса на штоке установлена эластичная манжета, изготовленная с возможностью расширения и герметизации внутрискважинного пространства при перемещении подвижного цилиндра вверх. Обеспечивается полное извлечение устройства без уменьшения проходного сечения основного ствола скважины и упрощение его использования. 4 ил.

Формула изобретения

Устройство для повторного входа в боковой ствол скважины, включающее корпус с направляющей поверхностью сверху, спускаемый на колонне труб, и исполнительный элемент, способный перемещаться в корпусе между транспортным положением и положением фиксации и имеющий поверхность на верхнем конце для зацепления с препятствиями, встречающимися в обсадной колонне, отличающееся тем, что направляющая поверхность корпуса выполнена с возможностью взаимодействия с бурильным инструментом после установки корпуса в обсадной колонне, корпус оснащен направляющим каналом, направленным снизу вверх от центра к периметру корпуса, и ниже исполнительного элемента - продольным верхним цилиндром, сообщенным снизу с колонной труб, в цилиндр с возможностью ограниченного перемещения вверх вставлен поршень, соединенный сверху подвижной тягой с исполнительным элементом, который вставлен в направляющий канал в транспортном положении заподлицо с корпусом и изготовлен с возможностью продольного перемещения вдоль направляющего канала с выдвижением при создании давления в верхнем цилиндре и зацеплением своей поверхностью на верхнем конце за нижний край предварительно вскрытого в обсадной колонне окна, при этом корпус ниже верхнего цилиндра снабжен штоком меньшего диаметра, на конце которого зафиксирован поршень, вставленный в подвижный цилиндр, сообщенный гидравлическим каналом с низом верхнего цилиндра и установленный с возможностью перемещения вверх относительно корпуса под действием избыточного давления с фиксацией в верхнем положении, между верхним торцом подвижного цилиндра и нижним торцом корпуса на штоке установлена эластичная манжета, изготовленная с возможностью расширения и герметизации внутрискважинного пространства при перемещении подвижного цилиндра вверх.

Описание

[1]

Изобретение относится к области бурения, текущего и капитального ремонта нефтяных и газовых скважин, а именно используется для повторного входа технологического инструмента в боковой ствол (БС) скважины в процессе ее эксплуатации или капитального ремонта.

[2]

Известно устройство для забуривания дополнительного ствола, предназначенное для бурения многоствольных скважин (МСС) (пат. RU №2006561, МПК 5 Е21В 7/08, опубл. 30.01.1994 в бюл. №2), включающее корпус, состоящий из верхней и нижней частей, и отклоняющий клин. Узел закрепления устройства в скважине, установленный под отклоняющим клином между частями корпуса, узел герметизации с механизмом фиксации и узел спуска устройства в скважину. При этом механизм фиксации узла герметизации выполнен в виде разрезной втулки с выступом, связанной с нижней частью корпуса, и связанного с верхней его частью патрубка с буртиком и прорезью в стенке, причем нижняя часть корпуса имеет фиксатор, расположенный в прорези патрубка, узел спуска выполнен в виде связанного в исходном положении срезными штифтами с клином кожуха с косыми вырезами и карманами, а клин имеет пальцы для размещения в последних.

[3]

Недостатками данного устройства являются:

[4]

- отсутствие механизма для определения местоположения окон в обсадной колонне и точной установки устройства напротив окон для повторного входа в дополнительный ствол, обуславливает необходимость многократного спуска колонны бурильных труб и геофизических приборов для точной, ориентированной установки клина-отклонителя и его закрепления в скважине напротив окна к стенке обсадной колонны для повторного входа в дополнительный ствол МСС, а часто к невозможности повторного входа в дополнительный ствол, что приводит к большим материальным и временным затратам в процессе ее бурения, текущего или капитального ремонта;

[5]

- отсутствие конструктивных элементов фиксации без упора на забой и элементов индивидуальной ориентации относительно уже пробуренного дополнительного ствола, что приводит к невозможности закрепления клина-отклонителя в скважине без перекрытия основного ствола и создания упора для его установки, например пакера, упорной пробки или цементного моста и т.п., которые необходимо разбуривать после извлечения клина-отклонителя для открытия прохода в основной ствол, и, как следствие, к большим трудностям с повторной установкой извлекаемого клина-отклонителя точно напротив окна, для повторного входа в нужный боковой ствол МСС, так как малейшие погрешности с ориентированием по азимуту и привязке по глубине перекрывают проходное сечение окна и не позволяют пройти технологическому инструменту в боковой ствол МСС, так как диаметр этого инструмента равен диаметру БС;

[6]

- наличие центрального промывочного канала в клине-отклонителе и в пакере не позволяет герметизировать обсадную колонну ниже окна и тем самым не позволяют производить работы, связанные с изменением гидравлического давления в БС скважины, например гидравлические испытания, гидравлические исследования отдельных пластов, вызов притока, гидроразрыв, гидроизоляцию под давлением, обработку призабойной зоны пласта и т.п. операции;

[7]

- большое количество спуско-подъемных операций (СПО) для ориентирования и установки устройства, затем захвата и извлечения его из скважины, извлечения колонны труб, служащих опорой для устройства, что ведет к увеличению сроков и стоимости работ в процессе бурения и обслуживания МСС, в период ее эксплуатации или капитального ремонта.

[8]

Известно устройство для многозабойного вскрытия продуктивных пластов одной скважиной (пат.RU №2197593, МПК Е21В 7/08, опубл. 27.01.2003 в бюл. №3), включающее корпус, жестко связанный с патрубком, оснащенный посадочным местом под извлекаемый клин и имеющий паз под шпонку, взаимодействующую с пазом патрубка, и переводник. Корпус выполнен в виде продольно-гофрированной трубы, заглушенной с нижней стороны, и установленным с другой стороны переводником, соединяющим его с патрубком и снабженным втулкой из легкоразбуриваемого материала для соединения с технологической колонной, а посадочное место патрубка выполнено в виде наклонной поверхности, переходящей в продольный паз под шпонку, установленную в посадочной втулке ориентирующего фиксатора, одна из поверхностей которой соответствует посадочной наклонной поверхности патрубка корпуса, а другая снабжена зубчатой поверхностью, взаимодействующей с зубчатой поверхностью опорной втулки, жестко закрепленной на валу ориентирующего фиксатора, причем посадочная втулка выполнена с возможностью поворота на валу фиксатора и фиксацией в зубчатом соединении с опорной втулкой посредством зажимной втулки, имеющей резьбовое соединение с валом ориентирующего фиксатора, а извлекаемый клин выполнен с возможностью регулирования глубины установки в скважине посредством сменного удлинителя, размещенного между фиксатором и извлекаемым клином. Недостатками данного устройства являются:

[9]

- корпус устройства выполнен в виде продольно-гофрированной трубы, который для закрепления в скважине выправляется давлением жидкости и в дальнейшем не извлекается из скважины, перекрывая основной ствол скважины;

[10]

- корпус устройства спускается, ориентируется и устанавливается в скважине отдельно, ориентацию отклоняющей плоскости извлекаемого клина относительно шпонки корпуса производят на мостках буровой, что увеличивает сложность работ, количество СПО и, соответственно, время и стоимость бурения, текущего и капитального ремонта МСС;

[11]

- необходимость разбуривания втулки из легкоразбуриваемого материала, установленной в переводнике, который установлен в верхней части корпуса, и заглушки в виде башмака, установленной с нижней стороны корпуса для прохода в основной ствол скважины специальным инструментом, что связано с большими трудностями, а это увеличивает время и стоимость бурения БС и обслуживания МСС в процессе ее эксплуатации или капитального ремонта, а также ведет к загрязнению скважины и снижению ее добывных возможностей;

[12]

- сложность конструкции устройства и, как следствие, высокие материальные затраты на его изготовление;

[13]

- для извлечения клина-отклонителя из скважины необходим спуск специального съемника, колокола или овершота и т.п. инструмента, что еще больше увеличивает количество СПО при строительстве и капитальном ремонте МСС с применением данного устройства, что ведет к увеличению сроков и стоимости обслуживания МСС в процессе ее эксплуатации или капитального ремонта.

[14]

Известен гидравлический отклонитель (пат.RU №2311522, МПК Е21В 7/08, опубл. 27.11.2007 в бюл. №33), содержащий клин-отклонитель с наклонной рабочей поверхностью, выполненной в виде желоба, узел опоры, включающий цилиндрический полый корпус с окнами для плашек, расположенный в упомянутом полом корпусе распорный элемент с наклонными поверхностями, на которых с возможностью перемещения размещены плашки, имеющие на лицевой поверхности зубья, а с тыльной стороны - паз, соответствующий Т- образному выступу на наклонной поверхности распорного элемента, гидравлическую камеру и гибкий шланг высокого давления для подачи жидкости в гидравлическую камеру, снабженный размещенными между клином-отклонителем и цилиндрическим полым корпусом узла опоры переходником и пакерами, при этом распорный элемент имеет направляющую часть, выполненную внизу в виде поршня и переходящую в распорную часть, выполненную в виде правильной трехгранной усеченной суженной книзу пирамиды, ребра которой образованы наклонной поверхностью и имеют выступы под плашки, зубья которых выполнены с наклоном вниз, а плашки радиально размещены в окнах, выполненных в нижней части цилиндрического полого корпуса узла опоры под углом 120° относительно друг друга, при этом в верхней части корпуса узла опоры выполнены кольцевая расточка и упор, образующие с цилиндрической поверхностью направляющей части распорного элемента гидравлическую камеру, которая связана с гибким шлангом посредством выполненных соответственно в переходнике и в направляющей части распорного элемента полостей, последняя из которых связана с гидравлической камерой через распределитель, выполненный в направляющей части в виде трех сквозных под углом 120° относительно друг друга отверстий, а корпус узла опоры установлен с возможностью перемещения вдоль направляющей части распорного элемента с одновременным изменением объема гидравлической камеры, на торце цилиндрического полого корпуса узла опоры надета заглушка, закрепленная резьбовым соединением с распорной частью распорного элемента, между внутренней поверхностью полого цилиндрического корпуса узла опоры и внешней поверхностью распорного элемента установлены уплотнители. Недостатками данного устройства являются:

[15]

- отсутствие механизма для определения местоположения окон в обсадной колонне и точной установки устройства напротив окон для повторного входа в БС скважины;

[16]

- узкая область применения, связанная с отсутствием узла отклонения и прижатия клина-отклонителя к стенке эксплуатационной колонны, клин свободно вращается на поперечной оси, что ограничивает диапазон ориентирования клина-отклонителя по азимуту основного ствола скважины в пределах ±45° от нижней его стенки в наклонно направленных и горизонтальных скважинах. Это, в свою очередь, ведет к усложнению профиля БС, увеличивая его длину, тем самым увеличивая время и стоимость проведения технологических операций в процессе бурения, текущего и капитального ремонта МСС;

[17]

- возможность несрабатывания узла закрепления отклонителя в скважине, так как усилия, создаваемого на его корпус жидкостью, проходящей через распределитель, может быть недостаточно для перемещения корпуса вверх относительно направляюще-распорного элемента, поэтому для его установки необходимо создание упора в основном стволе, например пакера, упорной пробки или цементного моста, которые необходимо разбуривать после извлечения клина-отклонителя из основного ствола, что ведет к загрязнению скважины и снижению ее добывных возможностей;

[18]

- отсутствие узла фиксации плашек в рабочем положении, что снижает надежность закрепления клина-отклонителя в скважине, так как при работе фрез и бурении БС или при проведении ремонтных работ возникают вибрации в теле клина, и сцепление плашек со стенкой эксплуатационной колонны может ослабнуть, что приведет к аварийной ситуации - провороту или сползанию клина-отклонителя и потере окна;

[19]

- отсутствие фиксаторов, удерживающих плашки в рабочем положении, что может привести к их раскреплению и сползанию отклонителя с места установки в связи со снижением давления в рабочей камере после отсоединения гибкого шланга высокого давления, а также работ, связанных с изменением гидравлического давления в БС скважины;

[20]

- сложность конструкции и, как следствие, высокие материальные затраты на изготовление устройства;

[21]

- большое количество СПО для захвата и извлечения устройства из скважины при помощи специального съемника, колокола или овершота и т.п. инструмента, разбуривания опорного моста для прохода в основной ствол скважины, что ведет к увеличению сроков и стоимости работ в процессе бурения и обслуживания МСС, в период ее эксплуатации или капитального ремонта.

[22]

Известен способ строительства многоствольной скважины (пат. RU №2269632, МПК Е21В 7/08, опубл. 10.02.2006 в бюл. №4), включающий устройство для строительства МСС, содержащее жестко фиксированную в обсадной колонне полую вставку, включающую технологический корпус со сквозными отверстиями и втулкой, причем сверху втулка снабжена скошенной торцевой поверхностью, выполнена с возможностью вставки в технологический корпус, соединена с ним посредством срезных элементов для перекрытия сквозных отверстий полой вставки, которые во время спуска обсадной колонны расположены в требуемом интервале вскрытия напротив продуктивного пласта, при этом на внутренней поверхности технологического корпуса выполнен технологический паз, в котором расположен подвижный упор, в свою очередь жестко соединенный с втулкой, а технологический паз посредством подвижного упора выполнен с возможностью ограничения осевого перемещения втулки вниз.

[23]

Недостатками данного устройства являются:

[24]

- возможность применения только во вновь строящихся скважинах, так как обсадную колонну перед спуском в скважину необходимо оснащать жестко фиксированной полой вставкой, содержащей технологический корпус со сквозными отверстиями и втулкой;

[25]

- невозможность управления отклонителем при его посадке на скошенную поверхность втулки, так как он свободно вращается относительно колонны труб, и в отклонителе отсутствует устройство для промывки забоя скважины, поэтому различные загрязнения, которые всегда присутствуют в скважине, не позволят установить отклонитель в расчетное положение;

[26]

- невозможность повторного попадания ни в один БС, так как направляющая втулка находится в замкнутом пространстве технологического корпуса и имеет скошенную вниз торцевую поверхность, поэтому в самой нижней точке скошенной поверхности образуется карман, где оседают буровой шлам, металлическая стружка и т.п.вещества, которые не вымываются промывочной жидкостью, поэтому отклонитель каждый раз под действием веса колонны труб будет по-разному уплотнять буровой шлам или другие загрязняющие вещества, находящиеся в стволе скважины в процессе бурения БС и оседающие в этом кармане, и каждый раз будет устанавливаться в другом положении, отличном от расчетного;

[27]

- бурение БС гибкой трубой с соплом, что не позволяет контролировать их траекторию, диаметр и конфигурацию, и, как показывает опыт, недоведение осевой нагрузки на гибкую трубу в таких скважинах и невозможность продолжать дальнейшее бурение этих стволов;

[28]

- возможность перекашивания и заклинивания гибкой трубы в отверстиях технологического корпуса обсадной колонны и на резких перегибах БС в процессе извлечения, так как при проталкивании гибкая труба работает на сжатие, поэтому изгибается и проходит через направляющие каналы отклонителя и отверстия технологического корпуса, а при извлечении она работает на растяжение - натягивается и пытается выпрямиться между точками заклинивания, а из-за невозможности произвести проворачивание и рассаживание таких труб, а также увеличенного диаметра сопла относительно диаметра гибкой трубы она заклинивает в БС, создавая аварийную ситуацию;

[29]

- трудности при попадании гибкой трубой в направляющие каналы отклонителя, в особенности с увеличением глубины скважины, так как гибкая труба не обладает достаточной жесткостью, и она будет просто складываться внутри колонны труб, оставаясь на месте и не воспринимая осевую нагрузку, необходимую для ее проталкивания в направляющие каналы отклонителя, при этом на поверхности этот процесс будет восприниматься как продвижение гибкой трубы в один из БС;

[30]

- конструктивно все БС разбуриваются с одного отклонителя, в связи с чем невозможно проведение работ, связанных с изменением гидравлического давления в отдельном БС скважины, например, гидравлические испытания, гидравлические исследования отдельных пластов, вызов притока, гидроразрыв, гидроизоляцию под давлением, обработку призабойной зоны пласта и т.п. операции;

[31]

- невозможность попадания в БС для проведения ремонтных работ после разрушения втулки по окончании строительства МСС.

[32]

Наиболее близким по технической сущности и достигаемому результату является способ избирательного позиционирования, ориентации и фиксации объектов на заданных глубинах, способ бурения и повторного входа в боковые ответвления скважины и посадочно-ориентационная установка для осуществления указанных способов (пат. RU №2147665, МПК Е21В 7/06, опубл. 20.04.2000 в бюл. №11), включающий посадочно-ориентационное приспособление, содержащее удлиненную корпусную оправку и исполнительный элемент, способный перемещаться в удлиненной корпусной оправке между спусковым положением и положением фиксации, при этом каждая из посадочных и ориентирующих муфт имеет внутренний профиль, отличающийся от внутреннего профиля других посадочных и ориентирующих муфт обсадной колонны скважины, башмак с косым срезом внизу, расположенный в каждой из посадочных и ориентирующих муфт и имеющий выступающее кверху острие, ориентирующий паз и поверхности направляющих наклонных плоскостей, проходящих от острия до ориентирующего паза, и имеется по меньшей мере одна посадочная собачка, прикрепленная с возможностью перемещения к удлиненной корпусной оправке приспособления и имеющая посадочный профиль, сопряженный с внутренним профилем только одной из внутренних посадочных и ориентирующих муфт, при этом по меньшей мере одна посадочная собачка имеет наклонные поверхности на верхнем и нижнем концах для зацепления с препятствиями, встречающимися в обсадной колонне и в посадочных и ориентирующих муфтах, с целью вызвать стимулированное препятствиями перемещение по меньшей мере одной посадочной собачки в положение отстранения от препятствий, ориентирующий ключ, объединенный с возможностью перемещения с удлиненной корпусной оправкой приспособления и приспособленный для направляемого зацепления с поверхностями направляющих наклонных плоскостей и размещения в ориентирующем пазу, при этом при спусковом положении исполнительного элемента по меньшей мере одна посадочная собачка и ориентирующий ключ способны перемещаться по радиусу внутрь, а при положении фиксации исполнительного элемента обеспечивается закрепление по меньшей мере одной посадочной собачки в сопряженном профиле и закрепление ориентирующего ключа в ориентирующем пазу. Недостатками данного устройства являются:

[33]

- узкая область применения, так как применение устройства возможно только во вновь строящихся скважинах, оборудованных обсадной колонной со специальными жестко фиксированными посадочными и ориентирующими муфтами с заданным внутренним профилем, снабженными башмаками с косым срезом внизу;

[34]

- множество замкнутых проточек в посадочных и ориентирующих муфтах, снабженных башмаками с косым срезом внизу, подпружиненных собачек и подпружиненного ориентирующего ключа, которые с большой вероятностью могут засоряться буровым шламом, кордовым волокном, цементом или т.п. веществами, которые применяются в процессе бурения и крепления БС, а также веществами, применяемыми или образующимися при проведении технологических мероприятий в процессе эксплуатации МСС, например пропантом, вязкоупругими составами, песком и т.п., и выходить из строя, создавая аварийную ситуацию с невозможностью установить устройство точно в проем окна, приводящую к дополнительным СПО;

[35]

- узкая область применения, так как с целью предотвращения загрязнения внутреннего профиля посадочных и ориентирующих муфт и исключения аварийных ситуаций с незакреплением устройства в них цементирование обсадной колонны осуществляют только закачкой цемента в затрубное пространство с устья скважины (обратное цементирование), что технологически не всегда осуществимо в скважинах, осложненных кавернами, и/или скважинах, которые вскрыли высокопроницаемый пласт;

[36]

- сложность конструкции посадочных и ориентирующих муфт, снабженных башмаками, а также посадочно-ориентационного приспособления и, как следствие, высокие материальные затраты на изготовление устройства;

[37]

- сложность обслуживания, сопровождения и ориентирования в скважине, что вызывает необходимость привлечения высококвалифицированных специалистов различных специальностей для обслуживания и сопровождения работ с данным устройством на скважине и ведет к увеличению сроков и стоимости технологических мероприятий по бурению боковых стволов в МСС и в период ее эксплуатации или капитального ремонта;

[38]

- большое количество СПО для ориентирования и установки посадочно-ориентационного приспособления, клина-отклонителя, затем захвата и извлечения их из скважины по отдельности, что ведет к увеличению сроков и стоимости работ в процессе бурения и обслуживания МСС, в период ее эксплуатации или капитального ремонта;

[39]

- отсутствие герметизирующих элементов в конструкции посадочно-ориентационной установки, не позволяет герметизировать внутрискважинное пространство обсадной колонны ниже окна и производить работы, связанные с изменением гидравлического давления в БС скважины, например гидравлические испытания, гидравлические исследования отдельных пластов, вызов притока, гидроразрыв, гидроизоляцию под давлением, обработку призабойной зоны пласта и т.п. операции, так как перепады давления и реагенты будут распространяться по всей МСС и воздействовать на все вскрытые пласты и могут вызывать непредсказуемую их реакцию, вплоть до аварийной ситуации и ликвидации скважины.

[40]

Техническими задачами предлагаемого изобретения являются:

[41]

- создание простой и надежной конструкции извлекаемого клина-отклонителя для повторного входа технологического инструмента в боковой ствол МСС в процессе ее бурения, текущего и капитального ремонта, позволяющего в процессе его установки определять местоположение окна в стенке обсадной колонны, устанавливать и надежно закреплять в нижней части окна, не уменьшая его проходного сечения для технологического инструмента, герметизируя внутрискважинное пространство нижней части основного ствола;

[42]

- расширение области применения за счет возможности использования в том числе, и в ранее используемом фонде скважин, а также в скважинах, осложненных кавернами, и/или скважинах, которые вскрыли высокопроницаемый пласт;

[43]

- сокращение количества СПО при проведении работ в боковых стволах МСС по спуску, ориентированию и установке извлекаемого клина-отклонителя, его извлечения из скважины по окончании работ, тем самым снизить стоимость технологических операций в МСС в процессе ее эксплуатации или капитального ремонта;

[44]

- создание конструкции клина-отклонителя, использующего для установки и ориентирования стенки проема окна, что позволит расширить область применения, исключив дорогостоящее оборудование обсадных колонн специальными жестко фиксированными посадочными и ориентирующими муфтами с заданным внутренним профилем, снабженных башмаками с косым срезом внизу;

[45]

- сокращение числа аварийных ситуаций, связанных с загрязнения внутреннего профиля посадочных и ориентирующих муфт, приводящих к дополнительным СПО и непопаданию технологического инструмента в дополнительные стволы МСС и в итоге сокращение времени и стоимости обслуживания МСС в процессе ее эксплуатации или капитального ремонта;

[46]

- создание простой и надежной конструкции клина-отклонителя для повторного входа технологического инструмента в боковой ствол МСС в процессе ее бурения, текущего и капитального ремонта, позволяющего в процессе его установки герметизировать внутрискважинное пространство обсадной колонны ниже окна и производить работы, связанные с изменением гидравлического давления в БС скважины, например гидравлические испытания, гидравлические исследования отдельных пластов, вызов притока, гидроразрыв, гидроизоляцию под давлением, обработку призабойной зоны пласта и т.п. операции.

[47]

Технические задачи решаются устройством для повторного входа в БС скважины, включающим корпус с направляющей поверхностью сверху, спускаемый на колонне труб, и исполнительный элемент, способный перемещаться в корпусе между транспортным положением и положением фиксации и имеющий поверхность на верхнем конце для зацепления с препятствиями, встречающимися в обсадной колонне.

[48]

Новым является то, что направляющая поверхность корпуса выполнена с возможностью взаимодействия с бурильным инструментом после установки корпуса в обсадной колонне, корпус оснащен направляющим каналом, направленным снизу вверх от центра к периметру корпуса и ниже исполнительного элемента - продольным верхним цилиндром, сообщенным снизу с колонной труб, в цилиндр с возможностью ограниченного перемещения вверх вставлен поршень, соединенный сверху подвижной тягой с исполнительным элементом, который вставлен в направляющий канал в транспортном положении заподлицо с корпусом, и изготовлен с возможностью продольного перемещения вдоль направляющего канала с выдвижением при создании давления в верхнем цилиндре и зацеплением своей поверхностью на верхнем конце за нижний край предварительно вскрытого в обсадной колонне окна, при этом корпус ниже верхнего цилиндра снабжен штоком меньшего диаметра, на конце которого зафиксирован поршень, вставленный в подвижный цилиндр, сообщенный гидравлическим каналом с низом верхнего цилиндра и установленный с возможностью перемещения вверх относительно корпуса под действием избыточного давления с фиксацией в верхнем положении, между верхним торцом подвижного цилиндра и нижним торцом корпуса на штоке установлена эластичная манжета, изготовленная с возможностью расширения и герметизации внутрискважинного пространства при перемещении подвижного цилиндра вверх.

[49]

На фиг. 1 показаны продольные разрезы обсадной колонны с готовым окном и устройства для повторного входа в БС в транспортном положении.

[50]

На фиг. 2 показаны продольные разрезы обсадной колонны с готовым окном и устройства для повторного входа в БС в процессе определения местоположения окна в стенке обсадной колонны.

[51]

На фиг. 3 показаны продольные разрезы обсадной колонны с готовым окном и устройства для повторного входа в БС, установленного и зафиксированного в рабочем положении в нижней части окна с герметизацией внутрискважинного пространства обсадной колонны ниже окна эластичной манжетой.

[52]

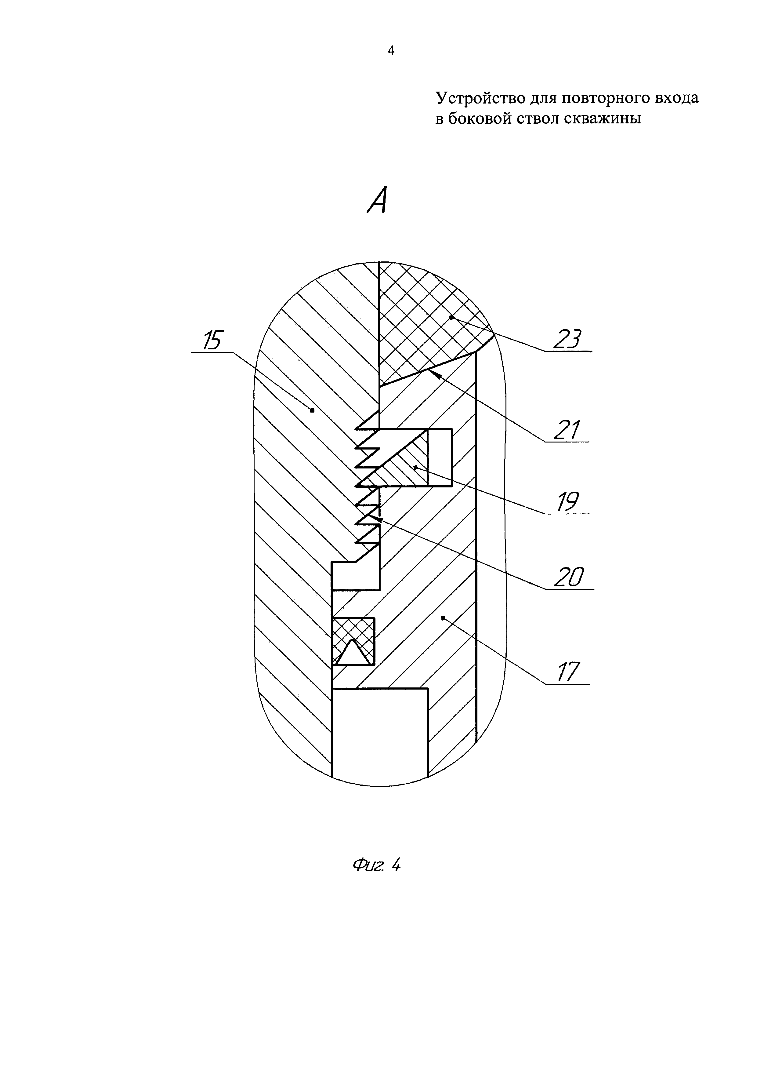
На фиг. 4 показан выносной элемент фиксации подвижного цилиндра на штоке корпуса разрезным кольцом по насечкам (проточкам).

[53]

Устройство для повторного входа в БС 1 (фиг. 1) скважины, включает корпус 2 с направляющей поверхностью 3 сверху, спускаемый на колонне труб 4, и исполнительный элемент 5, способный перемещаться в корпусе 2 между транспортным положением и положением фиксации и имеющий поверхность 6 на верхнем конце для зацепления с препятствиями, встречающимися в обсадной колонне 7. При этом направляющая поверхность 3 (фиг. 3) корпуса 2 выполнена с возможностью взаимодействия с бурильным инструментом 8 после установки корпуса 2 в обсадной колонне 7. Корпус 2 (фиг. 1) оснащен направляющим каналом 9, направленным снизу вверх от центра к периметру корпуса 2, и ниже исполнительного элемента 5 - продольным верхним цилиндром 10, сообщенным снизу с колонной труб 4 гидравлическим каналом 11. В цилиндр 10 с возможностью ограниченного перемещения вверх вставлен поршень 12, соединенный сверху подвижной тягой 13 с исполнительным элементом 5, который вставлен в направляющий канал 9 в транспортном положении заподлицо с корпусом 2 и изготовлен с возможностью продольного перемещения вдоль направляющего канала 9 (фиг. 2) с выдвижением при создании давления в верхнем цилиндре 10 и зацеплением своей поверхностью 6 (фиг. 3) на верхнем конце за нижний край предварительно вскрытого в обсадной колонне 7 окна 14. При этом корпус 2 (фиг. 1) ниже верхнего цилиндра 10 снабжен штоком 15 меньшего диаметра, на конце которого зафиксирован поршень 16, вставленный в подвижный цилиндр 17 и сообщенный гидравлическим каналом 18 с низом верхнего цилиндра 10. Подвижный цилиндр 17 (фиг. 3) установлен с возможностью перемещения вверх относительно корпуса 2 под действием избыточного давления с фиксацией, например, разрезным кольцом 19 (фиг. 4) по насечкам (проточкам) 20 в верхнем положении. При этом насечки (проточки) могут быть выполнены в виде цилиндрических проточек, или в виде упорной резьбы на поверхности штока 15 корпуса 2, или в виде отдельных сегментов с насечками, выступающими на цилиндрической поверхности штока 15, или иметь т.п. конструкцию, обеспечивающую надежную фиксацию подвижного цилиндра 17 на штоке 15 в рабочем положении.

[54]

Между верхним торцом 21 (фиг. 3) подвижного цилиндра 17 и нижним торцом 22 корпуса 2 на штоке 15 установлена эластичная манжета 23, изготовленная с возможностью расширения и герметизации внутрискважинного пространства обсадной колонны 7 ниже окна 14 при перемещении подвижного цилиндра 17 вверх.

[55]

Фиксация подвижного цилиндра 17 со штоком 15 корпуса 2 (не показано) при перемещении вверх может осуществляться также, например, в виде подпружиненной призмы в штоке 15 и проточек на внутренней поверхности подвижного цилиндра 17 (не показано), или лепестков цанги в верхней части подвижного цилиндра 17 и проточек на штоке 15 корпуса 2 (не показано) или т.п. механизмов, удерживающих эластичную манжету 23 (фиг. 3) в расширенном положении в период проведения работ в БС 1 скважины. В данном варианте фиксацию подвижного цилиндра 17 (фиг. 4) со штоком 15 корпуса 2 осуществляют разрезным кольцом 19 по насечкам (проточкам) 20 в рабочем положении. Конструктивные элементы узлов установки и фиксации в рабочем положении эластичных элементов 23 (фиг.3) в процессе работы в скважине и их раскрепления (срыва) по окончании работ и извлечения из скважины известны, поэтому авторы не претендуют на их новизну.

[56]

Технологические соединительные и уплотнительные элементы, не влияющие на работоспособность устройства, для упрощения чертежей и описания на фигурах 1-4 не показаны или показаны условно.

[57]

Устройство работает следующим образом.

[58]

На устье буровой установки (не показано) подготавливают устройство - клин-отклонитель (фиг. 1) к спуску в скважину в следующей последовательности: корпус 2 клина-отклонителя, соединенный с бурильным инструментом 8 посредством срезного элемента (не показано) (болта, винта, штифта срезного, разновидности конструкций которого известны и широко применяются - см. пат. RU №2366793, RU №2473768, RU №2469171, US №5816324 или т.п.), спускают в обсадную колонну 7 и закрепляют на клиньях ротора (не показано). К бурильному инструменту 12 присоединяют трубу 4 с установленным в ней трубным фильтром, а над ними - перепускной клапан (на фиг. 1 не показано). Собранную компоновку на колонне труб 4 спускают в обсадную колонну 7 в интервал предварительно вскрытого в обсадной колонне 7 окна 14. При спуске через перепускной клапан происходит заполнение полости бурильного инструмента 8, канала 11, корпуса 2 клина-отклонителя и колонны труб 4. Трубный фильтр задерживает крупные частицы загрязнений, попадающие в полость колонны труб 4 через перепускной клапан, предотвращая загрязнение канала 11.

[59]

Установив корпус 2 (фиг. 2) клина-отклонителя в интервале предварительно вскрытого в обсадной колонне 7 окна 14 с поверхности земли насосом (не показано) создают давление срабатывания (определяется эмпирически) рабочей жидкости в полости колонны труб 4, которое через бурильный инструмент 8, каналы 11 и 18 передается в цилиндры 10 и 17 и воздействует на поршень 12, соединенный сверху подвижной тягой 13 с исполнительным элементом 5. Исполнительный элемент 5 перемещается вдоль направляющего канала 9 в крайнее верхнее положение и выдвигается в окно 14 своей верхней частью. Вследствие того, что рабочая площадь поршня 12 больше рабочей площади подвижного цилиндра 17 и перемещению исполнительного элемента 5 в рабочее положение ничего не препятствует, он выдвигается до упора при меньшем давлении рабочей жидкости, а подвижный цилиндр 17 упирается верхним торцом 21 (фиг. 2 и 4) в эластичную манжету 23 и не может преодолеть ее упругость при давлении срабатывания рабочей жидкости, поэтому эластичная манжета 23 (фиг. 2) остается в транспортном положении в течение всего времени спуска корпуса 2 клина-отклонителя в обсадную колонну 7 и его ориентирования направляющей поверхностью 3 по проему окна 14, не препятствует продвижению и вращению клина-отклонителя 2 в обсадной колонне 7. В момент, когда поршень 12 упрется (сдвинется) в верхнюю точку цилиндра 10, произойдет резкий скачок (рост) давления, что зафиксируется на устье скважины. После чего закачку рабочей жидкости через колонну труб 4 прекращают. Колонну труб 4 начинают медленно (не более 0,1 м/с) спускать (разгружать) в скважину, при этом поверхность 6 исполнительного элемента 5 скользит по наклонному краю окна 14 в его нижнюю точку, поворачивая клин-отклонитель 2 и точно ориентируя его направляющую поверхность 3 по проему окна 14 обсадной колонны 7. При подходе исполнительного элемента 5 с корпусом 2 клина-отклонителя к нижней точке окна 14 (фиг. 3) он скользит своей боковой поверхностью 24 по нижнему краю окна 14, отодвигая и прижимая клин-отклонитель 2 к противоположной от окна 14 стенке обсадной колонны 7. Усилие прижатия и фиксации клина-отклонителя 2 определяется по правилу параллелограмма и зависит от угла наклона оси направляющего канала 9 к оси корпуса 2 и осевого усилия, прикладываемого к корпусу 2 клина-отклонителя колонной труб 4 при фиксации его в нижней точке окна 14, с упором на поверхность 6 исполнительного элемента 5, которое достигает достаточной величины для удерживания клина-отклонителя 2 в прижатом положении в течение всего времени проведения работ в БС 1 скважины. Конец спуска колонны труб 4 фиксируется снижением веса на устьевом индикаторе (не показано), соединенном на устье скважины с колонной труб 4, после чего спуск (разгрузку) колонны труб 4 прекращают.

[60]

Таким образом, устройство, способное свободно двигаться вверх и вниз по обсадной колонне 7 в процессе его ориентирования и установки по проему окна 14 и использующее для фиксации в рабочем положении нижний край окна 14, мало чувствительно к загрязнению внутренней поверхности обсадной колонны 7 цементом и другими веществами, что позволяет расширить область его применения как во вновь строящихся скважинах, осложненных кавернами, и/или скважинах, которые вскрыли высокопроницаемый пласт (не показан) и загрязнены веществами, применяемыми в процессе бурения и крепления МСС, так и в ранее используемом фонде скважин, не оборудованных специальными жестко фиксированными посадочными и ориентирующими муфтами с заданным внутренним профилем, снабженных башмаками с косым срезом внизу и т.п.

[61]

С поверхности земли насосом (не показано) вновь создают давление рабочей жидкости в полости колонны труб 4, которое через бурильный инструмент 8, каналы 11 и 18 передается в цилиндры 10 и 17, соответственно. Так как поршень 12 упирается в верхнюю стенку цилиндра 10 и остается на месте, давление жидкости воздействует на подвижный цилиндр 17 (фиг. 3), который, сдвигаясь по штоку 15 от поршня 16 и преодолевая упругость эластичной манжеты 23, расширяет ее торцами 21 и 22 цилиндра 17 и корпуса 2 соответственно. Эластичная манжета 23 надежно герметизирует внутрискважинное пространство обсадной колонны 7 ниже окна 14, создавая еще одну точку опоры для удерживания клина-отклонителя 2 в зафиксированном положении в обсадной колонне 7. При этом разрезное кольцо 19 (фиг. 4) за счет своей упругости, возможности раздвигаться и наклонной поверхности передвигается вверх вместе с подвижным цилиндром 17 и, сжимаясь, фиксируется на определенной насечке (проточке) 20, удерживая подвижный цилиндр 17 (фиг. 3) и эластичную манжету 23 в верхнем - рабочем - положении в течение всего времени проведения работ в БС 1 скважины.

[62]

Введение в конструкцию устройства пакерующих элементов, в нашем случае эластичной манжеты 23, позволяет герметизировать внутрискважинное пространство обсадной колонны 7 ниже окна 14 и производить работы, связанные с изменением гидравлического давления в БС скважины, например гидравлические испытания, гидравлические исследования отдельных пластов, вызов притока, гидроразрыв, гидроизоляцию под давлением, обработку при-забойной зоны пласта и т.п.операции.

[63]

Установив и зафиксировав корпус 2 клина-отклонителя в проеме окна 14 обсадной колонны 7, производят отсоединение бурильного инструмента 8 с колонной труб 4 от корпуса 2. Для этого созданием осевой нагрузки весом колонны труб 4 разрушают срезной элемент (не показано) или разрушают его любым другим способом (см. пат RU №2366793, RU №2473768, RU №2469171, US №5816324 или т.п.), затем срезают трубку канала 11. Спускают бурильный инструмент 8 в БС 1 скважины, который по направляющей поверхности 3 корпуса 2 клина-отклонителя точно попадает в проем окна 14 обсадной колонны 7 и доходит до места проведения работ. Включают буровой насос и начинают вращение колонны труб 4 ротором при необходимости углубления БС или разбуривания песчаных или шламовых пробок. При проведении промывок или обработках призабойной зоны пласта (не показано) или при необходимости продвижения геофизических приборов в горизонтальной части БС осуществляют промывку скважины без вращения колонны труб 4, просто производя ее расхаживание (передвигая вверх и вниз). Выполнив запланированные технологические операции в БС 1, производят подъем бурильного инструмента 8 из скважины. Таким образом, оснащение корпуса 2 клина-отклонителя перед спуском в скважину необходимым оборудованием для проведения определенного вида работ, например долотом, фрезами, калибраторами, промывочной воронкой, пакером и т.п. инструментами, применяемыми при бурении и капитальном ремонте скважин, которые при этом выполняют роль спускного инструмента 8 и позволяют сразу после установки и фиксации корпуса 2 клина-отклонителя произвести необходимые работы в БС 1, сокращает количество СПО при строительстве и капитальном ремонте БС 1 и упрощает такие работы в скважине, уменьшает число аварийных ситуаций, связанных с непопаданием технологического инструмента в БС, сокращает время и стоимость бурения и капитального ремонта МСС.

[64]

По окончании работ в БС 1 клин-отклонитель извлекают из скважины специальным съемником, колоколом или овершотом (на фиг. 3 не показано). Устройства и способы по захвату и извлечению клина-отклонителя из скважины известны, поэтому авторы не претендуют на их новизну.

[65]

Захватив корпус 2 клина-отклонителя любым из известных устройств, производят натяжение колонны труб 4, при этом стопорный механизм подвижного цилиндра 17 в виде стопорного кольца 19 и насечек (проточек) 20 выходит из зацепления и освобождает эластичную манжету 23, которая под действием упругих сил вернется в транспортное положение, не препятствуя извлечению клина-отклонителя из скважины.

[66]

При этом исполнительный элемент 5, выходя из положения фиксации в окно 14, освобождает корпус 2 клина-отклонителя для продвижения в обсадной колонне 7. При достижении корпусом 2 клина-отклонителя верха окна 14 исполнительный элемент 5 упирается скосом 25 в верхнюю стенку окна 14 и перемещается внутрь корпуса 2, возвращая его в транспортное положение. Затем осуществляют дальнейший подъем клина-отклонителя из скважины.

[67]

Предлагаемое устройство для повторного входа в БС скважины, обсадные колонны которых не оборудованы специальными устройствами для точной повторной установки клиньев-отклонителей напротив вырезанного окна, полностью извлекаемо без уменьшения проходного сечения основного ствола скважины, имеет простую конструкцию и надежно при применении в период эксплуатации или капитального ремонта МСС, позволяет в процессе его установки определять местоположение окна в стенке обсадной колонны, устанавливается и надежно закрепляется в нижней части окна, не уменьшая его проходного сечения для технологического инструмента, а также герметизировать внутрискважинное пространство обсадной колонны ниже окна эластичной манжетой, что позволяет производить работы, связанные с изменением гидравлического давления в БС скважины. Кроме того, конструкция устройства позволяет упростить его использование за счет выполнения нескольких технологических операций за одну СПО и уменьшить число аварийных ситуаций, связанных с непопаданием технологического инструмента в БС скважины, с неизвлечением устройства из скважины, сократить время и стоимость обслуживания МСС в период ее эксплуатации или капитального ремонта.

Как компенсировать расходы
на инновационную разработку
Похожие патенты