патент
№ RU 2653995
МПК A61B5/0402

СПОСОБ РЕГИСТРАЦИИ ЭЛЕКТРОКАРДИОГРАММЫ И РЕОГРАММЫ С ВОДИТЕЛЯ АВТОМОБИЛЯ И УСТРОЙСТВО ДЛЯ ОСУЩЕСТВЛЕНИЯ СПОСОБА

Авторы:
Глуховский Евгений Михайлович
Номер заявки
2017101853
Дата подачи заявки
20.01.2017
Опубликовано
15.05.2018
Страна
RU
Как управлять
интеллектуальной собственностью
Чертежи 
2
Реферат

Группа изобретений относится к медицине. Способ съема данных электрокардиограммы (ЭКГ) с водителя транспортного средства осуществляют с помощью устройства обработки данных (11) для получения данных ЭКГ. При этом с помощью по меньшей мере двух электродов (1, 2), размещенных на руле транспортного средства, регистрируют с рук водителя исходный сигнал ЭКГ. Регистрируют по меньшей мере одну частоту, вызывающую наводки на исходный сигнал ЭКГ. На основе измеренной по меньшей мере одной частоты, вызывающей наводки на исходный сигнал ЭКГ, и выявленной по меньшей мере одной аналогичной частоты в исходном сигнале ЭКГ синтезируют сигнал помехи. Вычитают сигнал помехи из исходного сигнала ЭКГ для получения данных ЭКГ водителя транспортного средства. Достигается снижение количества шумов в сигналах ЭКГ, регистрируемых с рук водителя транспортного средства посредством пары электродов. 2 н. и 23 з.п. ф-лы, 2 ил.

Формула изобретения

1. Способ съема данных электрокардиограммы (ЭКГ) с водителя транспортного средства, в котором

с помощью по меньшей мере двух электродов, размещенных на руле транспортного средства, регистрируют с рук водителя исходный сигнал ЭКГ;

регистрируют по меньшей мере одну частоту, вызывающую наводки на исходный сигнал ЭКГ;

на основе измеренной по меньшей мере одной частоты, вызывающей наводки на исходный сигнал ЭКГ, и выявленной по меньшей мере одной аналогичной частоты в исходном сигнале ЭКГ синтезируют сигнал помехи;

вычитают сигнал помехи из исходного сигнала ЭКГ для получения данных ЭКГ водителя транспортного средства.

2. Способ по п. 1, отличающийся тем, что по меньшей мере одну частоту, вызывающую синфазные наводки на исходный сигнал ЭКГ, регистрируют между водителем и общей цепью питания транспортного средства.

3. Способ по п. 2, отличающийся тем, что регистрируют по меньшей мере одну дополнительную частоту, вызывающую наводки на исходный сигнал ЭКГ, с помощью антенны, которая размещена в любом месте внутри транспортного средства, где улавливаются помехи.

4. Способ по п. 2, отличающийся тем, что регистрируют по меньшей мере одну дополнительную частоту, вызывающую наводки на исходный сигнал ЭКГ, с бортового питания транспортного средства.

5. Способ по п. 2, отличающийся тем, что регистрируют по меньшей мере одну дополнительную частоту, вызывающую наводки на исходный сигнал ЭКГ, возникающую вследствие работы генератора транспортного средства и зависящую от числа оборотов двигателя.

6. Способ по п. 1, отличающийся тем, что по меньшей мере одна частота, вызывающая наводки на по меньшей мере один сигнал, полученный с рук водителя, возникает вследствие появления искры зажигания, которое срабатывает при работе двигателя.

7. Способ по п. 1, отличающийся тем, что по меньшей мере одна частота, вызывающая наводки на по меньшей мере один сигнал, полученный с рук водителя, возникает вследствие работы электрооборудования транспортного средства.

8. Способ по п. 1, отличающийся тем, что по меньшей мере одна частота, вызывающая наводки на по меньшей мере один сигнал, полученный с рук водителя, возникает вследствие работы электродвигателя на воздуходув.

9. Способ по п. 1, отличающийся тем, что по меньшей мере один электрод дополнительно размещают на рычаге коробки передач.

10. Способ по п. 1, отличающийся тем, что электроды размещаются по всему радиусу руля и представляют из себя токопроводящие вкладыши или покрытие, изготовленное с использованием токопроводящего материала.

11. Способ по п. 1, отличающийся тем, что дополнительно определяют положение рук водителя на руле и/или рычаге коробки передач.

12. Способ по п. 1, отличающийся тем, что дополнительно на основе данных ЭКГ осуществляют идентификацию и/или верификацию личности водителя транспортного средства.

13. Способ по п. 1, отличающийся тем, что дополнительно регистрируют сигналы реограммы (импеданса) и получают данные реограммы (импеданса) водителя транспортного средства, причем идентификацию и/или верификацию личности водителя осуществляют на основе данных ЭКГ и реограммы.

14. Способ по п. 13, отличающийся тем, что при регистрации сигнала реограммы используется квадратурный смеситель для получения полной информации об импедансе (комплексном сопротивлении: амплитуде и фазовой задержке), причем информация о фазе несущей сигнала реограммы совместно с данными ЭКГ и реограммы используется для идентификации и/или верификации личности водителя транспортного средства.

15. Способ по п. 13, отличающийся тем, что сигналы реограммы, на основе которых получают данные реограммы водителя, регистрируются на разных частотах несущей, причем выбор частоты несущей, свободной от помех, осуществляется в ручном или в автоматическом режиме.

16. Способ по п. 1, отличающийся тем, что по полученным данным ЭКГ

выявляют аритмии и предоставляют рекомендации водителю отдохнуть или воздержаться от дальних поездок, если выявлены нарушения сердечного ритма, и/или отправляют ЭКГ врачу или вызывают скорую помощь в случае обнаружения нарушения ритма, а также в случае выявления нарушения ритма выполняют плавную остановку транспортного средства;

и/или определяют степень усталости водителя и отображают рекомендации остановиться и отдохнуть на основе определенной степени усталости.

17. Способ по п. 1, отличающийся тем, что дополнительно получают данные реограммы водителя, причем диагностика состояния водителя осуществляется на основе данных ЭКГ и реограммы.

18. Устройство обработки данных для получения данных ЭКГ, выполненное с возможностью

получения исходного сигнала ЭКГ, регистрируемого с помощью по меньшей мере двух электродов, размещенных на руле транспортного средства;

получения сигнала помехи, синтезированного на основе измеренной по меньшей мере одной частоты, вызывающей наводки на исходный сигнал ЭКГ, и выявленной по меньшей мере одной аналогичной частоты в исходном сигнале ЭКГ;

вычета сигнала помехи из исходного сигнала ЭКГ для получения данных ЭКГ водителя транспортного средства.

19. Устройство по п. 18, отличающееся тем, что по меньшей мере одна частота, вызывающая синфазные наводки на исходный сигнал ЭКГ, регистрируется между водителем и общей цепью питания транспортного средства.

20. Устройство по п. 18, отличающееся тем, что по меньшей мере одна частота, вызывающая наводки на исходный сигнал ЭКГ, регистрируется с бортового питания транспортного средства, и/или с электрооборудования транспортного средства, и/или с антенны, размещенной в любой части транспортного средства, где улавливается помеха: вблизи источника помех и/или вблизи водителя.

21. Устройство по п. 18, отличающееся тем, что устройство обработки данных дополнительно выполнено с возможностью

по полученным данным ЭКГ проводить диагностику водителя для выявления аритмий;

и/или на основе данных ЭКГ осуществлять идентификацию и/или верификацию личности водителя транспортного средства.

22. Устройство по п. 18, отличающееся тем, что устройство обработки данных дополнительно оснащено запоминающим устройством, обеспечивающим хранение информации, и выполнено с возможностью

выявлять аритмии и предоставлять рекомендации водителю отдохнуть или воздержаться от дальних поездок, если выявлены нарушения сердечного ритма, и/или отправлять ЭКГ врачу или вызывать скорую помощь в случае обнаружения нарушения ритма, а также в случае выявления нарушения ритма выполнять плавную остановку транспортного средства;

и/или определять степень усталости водителя и предоставлять рекомендации остановиться и отдохнуть на основе определенной степени усталости;

в динамике следить за данными ЭКГ.

23. Устройство по п. 18, отличающееся тем, что дополнительно регистрируют сигналы реограммы (импеданса), причем устройство обработки данных дополнительно выполнено с возможностью

получения данных реограммы и полной информации об импедансе (амплитуды и фазы), полученных на основе сигналов реограммы (импеданса);

получения сигнала помехи, синтезированного на основе информации о сигналах ускорения, полученной от по меньшей мере одного датчика ускорения, размещенного таким образом, чтобы обеспечить регистрацию сигналов ускорения, возникающих вследствие вибрации, вызывающей дрожание контактов между руками и электродами;

вычета сигнала помехи из исходного сигнала ЭКГ и/или сигнала реограммы для получения данных ЭКГ и/или реограммы водителя транспортного средства;

использовать информацию о задействованной паре контактов с целью определения положения рук и контроля действий водителя по управлению автомобилем.

24. Устройство по п. 23, отличающееся тем, что сигналы реограммы, на основе которых получают реограмму водителя, регистрируются на разных частотах несущей, причем устройство обработки данных дополнительно выполнено с возможностью

вычисления модели электрического импеданса водителя на основе данных реограммы, полученных на разных частотах, и информации о фазе несущей сигнала реограммы;

предупреждать засыпание водителя по изменению проводимости кожи на основе данных реограммы.

25. Устройство по любому из пп. 23 или 24, отличающееся тем, что идентификация и/или верификация личности водителя транспортного средства и/или диагностика состояния водителя, выполняемые устройством обработки данных, осуществляются на основе данных ЭКГ и реорграммы.

Описание

[1]

ОБЛАСТЬ ТЕХНИКИ

[2]

Изобретение относится к способу съема данных электрокардиограммы (ЭКГ) и реограммы с водителя транспортного средства и устройству для осуществления способа, и может быть использовано для определения физиологического состояния водителя, предотвращения аварии вследствие критического физиологического состояния водителя, и в системах идентификации и верификации личности (авторизации) водителя по данным ЭКГ и реограммы, а также по информации о фазе несущей сигнала реограммы. Данные ЭКГ и реограммы (полного импеданса, включая фазу) могут быть использованы в системах многофакторной аутентификации в качестве биометрических данных водителя для ограничения доступа к управлению транспортным средством.

[3]

УРОВЕНЬ ТЕХНИКИ

[4]

Из уровня техники известен способ и устройство для съема ЭКГ с водителя автомобиля, раскрытый в документе RU 2435681 С1. В данном документе описывается получение ЭКГ и реограммы с помощью электродов, размещенных на руле автомобиля и в случае выявления нарушения сердечной деятельности водителя в виде аритмий, нарушений кровотока или состояния засыпания водителя, осуществляют плавную остановку транспортного средства. Данное решение выбрано в качестве ближайшего аналога.

[5]

Недостатком данного решения является то, что оно не обеспечивает получение высокоточных ЭКГ и реограммы при помощи пары электродов с рук водителя автомобиля, в том числе, во время движения, вследствие отсутствия возможности фильтрации помех в полосе частот полезного сигнала. Также сопротивление контактов при регистрации ЭКГ с сухих рук водителя гораздо выше, чем при стандартной регистрации ЭКГ с использованием токопроводящего геля, поэтому влияние наводимых помех в автомобиле намного выше, а полезный сигнал ЭКГ слабее.

[6]

РАСКРЫТИЕ ИЗОБРЕТЕНИЯ

[7]

Технической задачей изобретения является создание такого способа съема данных ЭКГ и реограммы с водителя транспортного средства при помощи пары электродов, размещенных на руле транспортного средства, обеспечивающего получение высокоточных ЭКГ и реограммы, очищенных от помех, лежащих в частотном диапазоне полезного сигнала, которые нельзя удалить обычными частотными фильтрами. Полученные таким образом данные ЭКГ и реограммы возможно использовать не только с целью определения состояния водителя, но и для идентификации и верификации личности водителя по данным ЭКГ и полному импедансу (комплексному сопротивлению) водителя. При этом для снятия ЭКГ и реограммы (импеданса) достаточно всего лишь пары электродов.

[8]

Техническим результатом является снижение количества шумов в сигналах ЭКГ, регистрируемых с рук водителя транспортного средства посредством пары электродов. Дополнительным преимуществом заявленного решения является снижение количества шумов в сигналах реограммы, регистрируемых с рук водителя транспортного средства посредством пары электродов, и получение информации о фазе несущей сигнала реограммы. Для достижения данного технического результата был разработан способ съема данных ЭКГ с водителя транспортного средства, в котором: с помощью по меньшей мере двух электродов, размещенных на руле транспортного средства, регистрируют с рук водителя исходный сигнал ЭКГ; регистрируют по меньшей мере одну частоту, вызывающую наводки на исходный сигнал ЭКГ; на основе измеренной по меньшей мере одной частоты, наводки на исходный сигнал ЭКГ, и выявленной по меньшей мере одной аналогичной частоты в исходном сигнале ЭКГ, синтезируют сигнал помехи (шум); вычитают сигнал помехи из исходного сигнала ЭКГ для получения данных ЭКГ с водителя транспортного средства. Аналогичным образом возможно синтезировать сигнал помехи на реограмме и вычитать сигнал помехи из исходного сигнала реограммы для получения данных реограммы с водителя транспортного средства. В этом случае частота, вызывающая шумовое воздействие (дрожание контакта) может быть выделена из данных по меньшей мере одного датчика ускорения - акселерометра, размещенного в руле.

[9]

Также было разработано устройство обработки данных для получения данных ЭКГ, выполненное с возможностью: получения исходного сигнала ЭКГ, регистрируемого с помощью по меньшей мере двух электродов, размещенных на руле транспортного средства; получения сигнала помехи, синтезированного на основе измеренной по меньшей мере одной частоты, вызывающей наводки на исходный сигнал ЭКГ, и выявленной по меньшей мере одной аналогичной частоты в исходном сигнале ЭКГ; вычета сигнала помехи из исходного сигнала ЭКГ для получения данных ЭКГ водителя транспортного средства.

[10]

Для получения данных реограммы используется по меньшей мере одна несущая на разных частотах с возможностью автоматического выбора несущей частоты, свободной от помех. Также используется цифровой квадратурный смеситель для получения полной информации об импедансе (амплитуды и фазы). Такое решение дает преимущество перед другими способами выделения сигнала реограммы по точности и информативности (в частности, аналоговым способом с использованием узкополосного усилителя).

[11]

По полученным данным ЭКГ возможно не только проводить более качественную диагностику водителя транспортного средства, но и осуществить более точную идентификацию и верификацию личности (авторизации) водителя.

[12]

Сигнал реограммы и информация задержки фазы несущей сигнала реограммы могут дополнять индивидуальные признаки личности (биометрику) водителя и использоваться совместно с данными ЭКГ для целей авторизации (аутентификации).

[13]

КРАТКОЕ ОПИСАНИЕ ЧЕРТЕЖЕЙ

[14]

Для лучшего понимания сущности изобретения, и чтобы более ясно показать, каким образом оно может быть осуществлено, далее будет сделана ссылка, лишь в качестве примера, на прилагаемые чертежи, на которых:

[15]

фиг. 1 - пример технической схемы системы для осуществления способа съема ЭКГ с водителя транспортного средства.

[16]

фиг. 2 - пример подключения средств для съема данных реограммы к технической схеме системы для реализации способа.

[17]

ОСУЩЕСТВЛЕНИЕ ИЗОБРЕТЕНИЯ

[18]

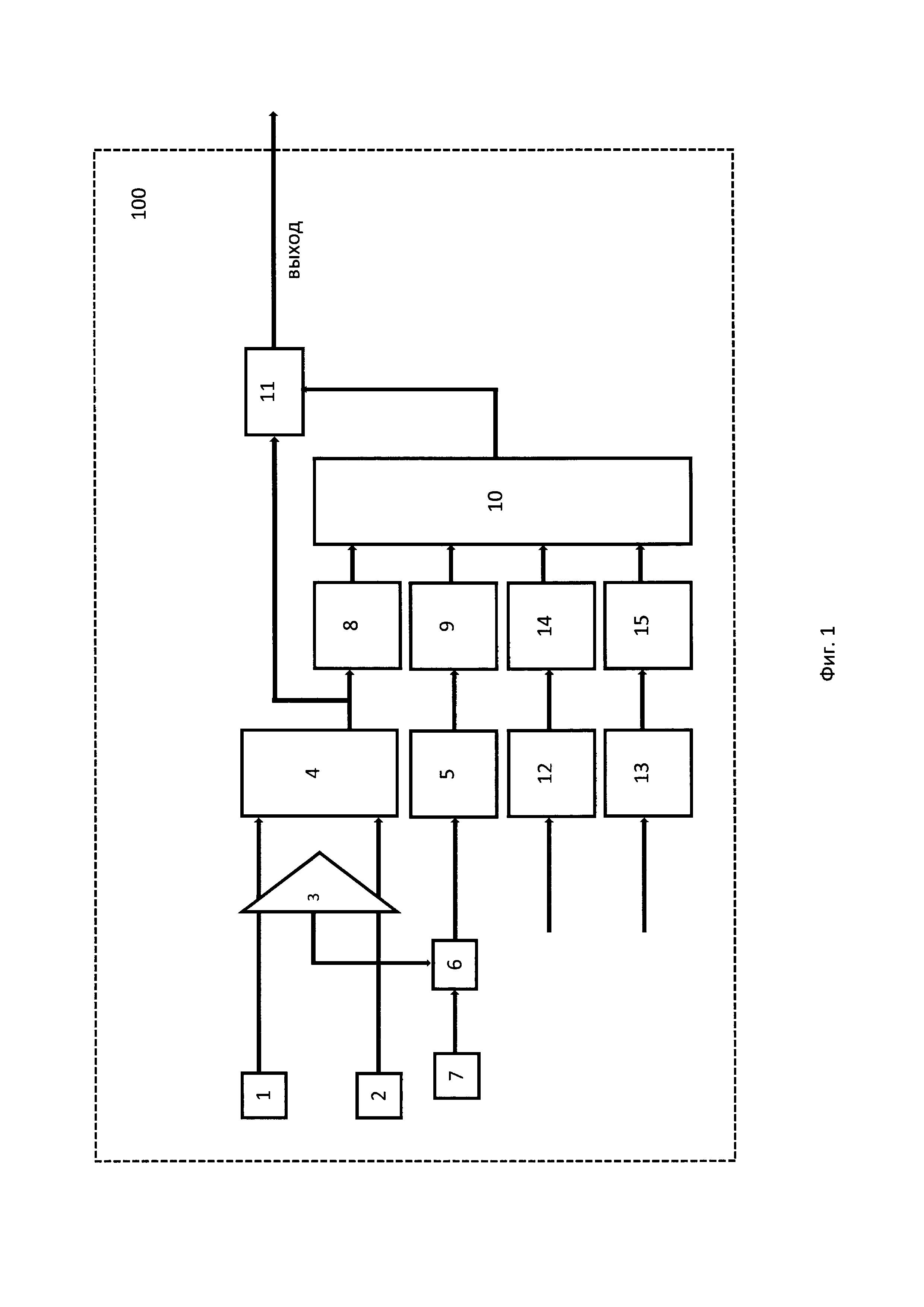
Пример реализации заявленного способа далее подробно будет описан со ссылкой на фиг. 1, на котором представлена упрощенная техническая схема системы 100, реализующей способ съема данных ЭКГ водителя транспортного средства, такого, как автомобиль.

[19]

Перед началом движения или во время движения водитель, управляя транспортным средством, охватывает ладонями рук руль и размещенные на нем электроды, выполненные, например, в виде токопроводящих вкладышей, или покрытия, изготовленного с использованием токопроводящей ткани, резины, краски или иного токопроводящего материала, размещенных по всему радиусу руля. Дополнительно по меньшей мере один электрод может быть размещен на рычаге коробки передач. Устройство обработки данных 11 определяет пару электродов, которая задействована, вследствие контакта рук водителя с электродами, с которых в дальнейшем будет осуществляться регистрация данных ЭКГ. Для определения задействованной пары контактов электродов используется информация об импедансе, получаемая при измерении реограммы. Соответственно, при перестановке рук регистрация данных ЭКГ будет осуществляться с другой пары контактов, что позволяет водителю не думать о положении рук для непрерывного (или с малыми паузами) съема данных ЭКГ даже во время движения и маневров. Если задействовано несколько пар электродов, то регистрация данных ЭКГ осуществляется с пары электродов, обладающей наименьшим сопротивлением (т.е. где лучший контакт).

[20]

Информация о задействованной паре контактов также может использоваться устройством обработки данных 11, которое может быть реализовано на основе микроконтроллера или микропроцессора, или реализовано на базе вычислительного устройства, такого как бортовой компьютер, ПК или мобильное устройство связи (например, смартфон или планшет) или одноплатный компьютер, с целью обеспечивать функции автоматизированного управления автомобилем, определения положения рук на руле и/или рычаге коробки передач и контроля действий водителя по управлению автомобилем. Дополнительно устройство обработки данных 11 может быть оснащено запоминающим устройством, обеспечивающим хранение информации. В случае, если зарегистрирована потеря управления, устройство обработки данных 11 может подать управляющие команды на систему управления автомобилем, например, чтобы снизить скорость или выполнить плавную остановку транспортного средства, включить аварийную сигнализацию и т.д. Также может быть задан порог скорости, при которой водитель обязан держать руль двумя руками для безопасности вождения или обеспечить помощь начинающим водителям приучиться правильно держать руки на руле посредством напоминания водителю с помощью звуковых или речевых сигналов.

[21]

После того, как задействованная пара контактов определена, начинается этап регистрации с рук водителя исходного сигнала ЭКГ с помощью по меньшей мере двух электродов. В соответствии с приведенной на фиг. 1 упрощенной схемой системы 100, исходный сигнал ЭКГ поступает с электродов 1 и 2 на дифференциальный усилитель 3, затем на АЦП 4, где он преобразуется в цифровую форму и поступает в устройство обработки данных 11 для дальнейшей обработки. Дифференциальный усилитель 3 и АЦП 4 также могут быть реализованы в одной микросхеме, т.н. "фронт-энд".

[22]

Для устранения электрического шумового воздействия (помех), возникающих вследствие наводок работы оборудования автомобиля, одновременно с регистрацией исходного сигнал ЭКГ, регистрируют по меньшей мере одну частоту, вызывающую наводки на исходный сигнал ЭКГ. Например, для устранения синфазных наводок на исходный сигнал ЭКГ, по меньшей мере одну частоту регистрируют между водителем и общей цепью питания автомобиля следующим способом. Информация о по меньшей мере одной упомянутой частоте поступает на АЦП 5 с операционного усилителя 6 в виде сигнала, который его усиливает между средней точкой пары электродов, снятой с дифференциального усилителя 3, и аналоговой землей 7. Аналоговая земля 7 в свою очередь через паразитную емкость гальванической развязки соединена с общей цепью питания автомобиля, которая также соединена с корпусом автомобиля (на фиг. 1 не отображено).

[23]

Далее информация о по меньшей мере одной частоте с АЦП 5, выделенная из сигнала анализатором частоты и фазы, таким как анализатор быстрого преобразования Фурье (далее по тексту анализатор БПФ) 9 поступает на синтезатор сигнала помехи 10. Также синтезатор сигнала помехи 10 через анализатор БПФ 8 принимает информацию о исходном сигнале ЭКГ с АЦП 4 для выявления по меньшей мере одной частоты в исходном сигнале ЭКГ, аналогичной по меньшей мере одной измеренной частоте, вызывающей наводки на исходный сигнал ЭКГ, для синтезирования сигнала помехи, т.е. фазы и амплитуда сигнала помехи подстраиваются по исходному сигналу ЭКГ. Данный сигнал помехи поступает в устройство обработки данных 11, которое в свою очередь модифицировано в программно-аппаратной части таким образом, чтобы обеспечить вычитание сигнала помехи из исходного сигнала ЭКГ для получения данных ЭКГ водителя автомобиля. Синтезатор сигнала помехи 10 может быть реализован на базе отдельного микроконтроллера или микропроцессора, или на базе устройства обработки данных 11, модифицированных в программно-аппаратной части соответствующим образом, чтобы реализовывать описанные в настоящей заявке функций синтезатора сигнала помехи 10.

[24]

Дополнительно синтезатор сигнала помех 10 может синтезировать сигнал помехи с учетом по меньшей мере одной частоты, вызывающей наводки на исходный сигнал ЭКГ, регистрируемой с помощью антенны, которая размещается вблизи источника помех или вблизи водителя, и/или другом месте внутри автомобиля, где улавливается сигнал наводки. Соответственно, по меньшей мере одна частота, регистрируемая с помощью упомянутой антенны, обрабатывается АЦП 12 и анализатором БПФ 14 и поступает на синтезатор сигнала помех 10. Аналогичным образом информация о по меньшей мере одной частоте с бортового питания автомобиля и/или от других источников питания автомобиля поступает на синтезатор сигнала помех 10 через блок преобразования информации 13 и анализатор БПФ 15. Блок преобразования сигнала 13 может быть реализован на базе АЦП, подключаемого к контактам бортового питания автомобиля через делитель напряжения, либо через фильтр верхних частот и усилитель, если не хватает разрешения АЦП, либо напрямую. Анализаторы БПФ 8, 9, 14, 15 и АЦП 12 и 13 могут быть выполнены как в виде отдельных самостоятельных устройств, так и могут быть реализованы на базе единого микроконтроллера или микропроцессора, в том числе, на базе устройства обработки данных 11, модифицированных в программно-аппаратной части соответствующим образом.

[25]

Таким образом, сигнал помехи синтезируется не только на основе частот, регистрируемых между водителем и общей цепью питания автомобиля, но и с учетом частот, регистрируемых антенной и/или возникающих, вследствие работы всей бортовой электроники автомобиля (системы зажигания, системы кондиционирования, источника питания: генератора).

[26]

Также сигнал помехи может синтезироваться с учетом по меньшей мере одной частоты, вызывающей наводки на исходный сигнал ЭКГ, и возникающей вследствие: работы генератора и/или возникновения искры зажигания, которое срабатывает при работе двигателя, и/или работы электродвигателя на воздуходув. Для регистрации наводок от системы зажигания используется упомянутая ранее антенна, которая может размещаться вблизи высоковольтного кабеля системы зажигания, а регистрация наводок от генератора и электродвигателя на воздуходув осуществляется посредством измерения напряжения с бортового питания в одном или нескольких местах, как вариант: отдельно на выходе генератора и отдельно на входе питания двигателя воздуходува. Соответственно, при изменении числа оборотов двигателя, изменение частоты наводки также будет регистрироваться на выходе генератора.

[27]

Все полученные частоты обрабатываются описанным ранее способом для синтезирования сигнала помехи.

[28]

Устройство обработки данных 11 дополнительно может быть выполнено с возможностью получения данных реограммы с той же пары электродов, с помощью которой обеспечивается снятие данных ЭКГ. Для обеспечения данной возможности необходимо оснастить систему 100 дополнительными техническими средствами. Далее данные технические средства будет описан со ссылкой на фиг. 2.

[29]

В частности, для снятия исходного сигнала реограммы в систему 100 дополнительно введены генератор тактовой частоты 15, управляемый устройством обработки данных 11, генератор 16 подкачки (несущей сигнала реограммы) с дифференциальным токовым выходом, НЧ фильтры 17, 19 и 20, и квадратурный смеситель 18. Сигнал подкачки реограммы обычно представляет собой сигнал частотой 16-300 кГц (до 1 МГц в некоторых применениях), подаваемый на человека через ту же пару электродов, с которых происходит регистрация данных ЭКГ. Генератор 16 сигнала подкачки и АЦП 4 тактируются от генератора тактовой частоты 15, обеспечивая тем самым синхронную оцифровку исходного сигнала ЭКГ и генерацию сигнала подкачки, причем частота дискретизации АЦП 4 должна быть выше частоты сигнала подкачки (минимум в 2 раза по теореме Котельникова). Синхронное цифровое преобразование требуется для того, чтобы затем было легко разделить эти сигналы без взаимного влияния. Таким образом, на АЦП 4 через дифференциальный усилитель 3 с пары электродов 1 и 2 обеспечивается как поступления исходного сигнала ЭКГ, так и сигнала реограммы.

[30]

Исходный сигнал ЭКГ выделяется с помощью фильтра НЧ 17, подключенного к выходу АЦП 4. НЧ фильтр 17 обычно представляет собой скользящее среднее третьего порядка (sinc-фильтр) с периодом, кратным периоду сигнала подкачки. Далее выделенный исходный сигнал ЭКГ обрабатывается устройством обработки информации 11 и синтезатором сигнала помех описанным выше способом для получения данных ЭКГ водителя автомобиля.

[31]

Сигнал реограммы выделяется с помощью квадратурного смесителя 18. Для работы цифрового квадратурного смесителя 18 удобно, чтобы частота дискретизации АЦП 4 превышала частоту несущей сигнала реограммы (подкачки) в 4 раза. Тогда вычисления сводятся к операциям сложения и вычитания, так как периоды синуса и косинуса по 4-м точкам описываются последовательностями: Fsin=[0 1 0-1], Fcos=[1 0-1 0].

[32]

На вход квадратурного смесителя 18 подается сигнал S с АЦП 4. Опорным сигналом REF выступает цифровой сигнал, синхронно повторяющий токовый выход генератора сигнала подкачки 16. На выходе квадратурного смесителя 18 получается пара сопряженных сигналов I и Q. После выделения сигналов I и Q в квадратурном смесителе данные сигналы проходят через фильтры НЧ 19 и 20 соответственно для получения реальной (Re) и мнимой (Im) части сигнала, характеризующего полный импеданс. Обычно используют фильтр скользящего среднего 3-го порядка (sinc-фильтр) с периодом кратным частоте несущей сигнала реограммы.

[33]

Далее сигналы Re и Im используются для вычисления посредством устройства обработки данных 11 амплитуды и фазы по формулам:

[34]

где U - напряжение, огибающая амплитуды сигнала несущей;

[35]

где φ - фазовая задержка напряжения сигнала несущей, относительно тока.

[36]

Далее исходный сигнал реограммы вычисляется по закону Ома:

[37]

где R - сопротивление (реограмма), а I - известный ток, подаваемый с генератора сигнала подкачки 16.

[38]

В альтернативном варианте реализации заявленного решения сигналы S и REF подаются на устройство обработки данных 11, где происходит их квадратурное смешивание и вычисление сигналов Re и Im и, далее, исходного сигнала реограммы и данных фазовой задержки напряжения сигнала несущей, описанным выше способом. Данные ЭКГ и реограммы (полного импеданса) хранятся в запоминающем устройстве устройства обработки данных 11 и могут быть отображены в графическом виде на различных устройствах отображения информации, в том числе, подключенных к выходу устройства обработки данных 11.

[39]

Опционально, представленное решение возможно модифицировать таким образом, чтобы обеспечить устранение механических шумовых воздействий, создающих шумовые сигналы в исходных сигналах ЭКГ и/или сигналах реограммы. Для обеспечения данной задачи дополнительно размещают датчики ускорения - акселерометры в руле и в рычаге переключения скоростей таким образом, чтобы обеспечить регистрацию сигналов ускорения, возникающих вследствие вибрации, вызывающей дрожание контактов между руками и электродами. Дрожание контактов появляется вследствие: работы двигателя и коробки передач, вращения колес, работы подвески (сглаживание скачков/ям на дороге), качания амортизаторов, вибраций, обусловленных жесткостью кузова, подвески, руля и т.д. при движении транспортного средства.

[40]

Сигналы ускорения регистрируются датчиками ускорения в направлении от одной до 3-х осей, причем сигналы с 2-х и 3-х осевого акселерометра могут быть пересчитаны в один сигнал - проекцию вектора ускорения на вектор веса рук, находящихся в контакте с электродами. Полученные сигналы ускорения анализируются анализатором частоты и фазы, например, анализатором БПФ, для определения частотного и фазового спектра сигналов, на основе которых синтезатор сигнала помех 10 синтезирует сигнал помехи, который вычитается устройством обработки данных 11 из исходного сигнала ЭКГ и/или сигнала реограммы для получения данных ЭКГ и/или реограммы водителя транспортного средства, очищенных от шумовых сигналов, возникающих вследствие механических шумовых воздействий.

[41]

Для более эффективного удаления непериодических (импульсных) шумов анализатор БПФ модифицируется таким образом, чтобы анализировать спектр непериодического сигнала, причем для синтезирования сигнала помехи и вычитания его из измеренного сигнала можно хранить в памяти запоминающего устройства модель передаточной функции датчика (карту усредненных коэффициентов преобразования амплитуды и фазы для всех частот), полученной при анализе периодических шумов. Дополнительно показания датчиков ускорения возможно использовать для устранения, известными из уровня техники методами, артефактов движения, возникающих, например, при подруливании, когда возникают артефакты в сигнале ЭКГ из-за смещения контактов и добавляется мышечный шум в сигнале ЭКГ от напряжения рук.

[42]

В одном примере реализации заявленного решения, данные ЭКГ и реограммы снимаются непрерывно с нескольких пар электродов, причем по данным реограммы устройство обработки данных 11 определяет значение сопротивления и сравнивает его с заданными пороговыми значениями (порог с гистерезисом), сохраненными, например, в запоминающем устройстве. Пара электродов определяется устройство обработки данных 11 как задействованная в случае, если ее значение сопротивления ниже порогового значения. Соответственно, те пары электродов, значение сопротивления которых выше порогового значения, определяются устройством обработки данных 11 как не задействованные. Если значения сопротивления нескольких пар ниже порогового значения, то устройство обработки данных 11 считает задействованной ту пару, значение сопротивления которой является наименьшим (т.е. с которой контакт рук водителя лучший).

[43]

В альтернативном варианте реализации заявленного решения, определение задействованной пары осуществляется с помощью дополнительных мультиплексора и измерителя, который регистрирует данные ЭКГ и реограммы. Мультиплексор обеспечивает последовательное подключение пар электродов к одному измерителю для определения их значения сопротивления с целью поиска задействованной пары электродов. Соответственно, как и в предыдущем примере реализации заявленного решения, пара электродов определяется как задействованная в случае, если ее значение сопротивления ниже порогового значения. Информация о задействованной паре далее передается в устройство обработки информации 11.

[44]

Также возможна комбинация указанных выше примеров реализации заявленного решения. В таком случае электроды разделяются на группы (сегменты), а мультиплексор осуществляет последовательное подключение пар электродов к измерителям для определения их значения сопротивления внутри каждой группы, причем у каждой группы электродов свой измеритель, который регистрирует данные ЭКГ и реограммы с группы (на выходе мультиплексора) непрерывно. Информация о задействованной паре также передается в устройство обработки информации 11.

[45]

В опциональном упрощенном варианте задействованная пара контактов может быть определена по наиболее чистому сигналу ЭКГ и по характеру шумов (например, "зашкаливание" усилителей при обрыве).

[46]

Устройство обработки данных 11 также может быть выполнено с возможностью осуществлять идентификацию и/или верификацию личности водителя автомобиля посредством сравнения полученного высокоточного ЭКГ с сохраненными ранее в запоминающем устройстве образцами, соответствующими заранее известным пользователям автомобиля. Дополнительно в запоминающее устройство могут быть добавлены образцы реограмм (включая полный импеданс - комплексное сопротивление) пользователей автомобиля, а идентификация и/или верификация личности водителя автомобиля с целью учета дополнительных индивидуальных признаков может осуществляться на основе регистрируемых данных ЭКГ и реограммы. Функция идентификация личности водителя по данным ЭКГ или по данным ЭКГ и реограммы (и полному импедансу) позволяет в дальнейшем устройству обработки данных 11 осуществляться автоматическую настройку зеркал, сиденья водителя, положения руля и других опций (голос навигатора, станция радио и т.п.) в соответствии с предпочтениями идентифицированного водителя, а функция верификации личности по данным ЭКГ позволяет предоставлять или блокировать доступ к управлению или пользованию автомобилем, вызывать полицию при несанкционированной попытке вождения (с учетом наличия дополнительных средств связи и сигнализации) и т.п. Функция верификация по данным ЭКГ или по ЭКГ и реограмме в том числе может выступать дополнительной ступенью защиты от угона автомобиля при использовании нескольких степеней защиты, например, в системах двойной или тройной авторизации (многофакторной аутентификации) пользователя автомобилем.

[47]

Также с целью повышения защиты и предотвращения несанкционированного доступа к автомобилю, например, с помощью устройств, имитирующих водителя, сигналы реограммы могут регистрироваться на разных частотах несущей. Для обеспечения данной задачи генератор 16 сигнала подкачки может быть сконфигурирован таким образом, чтобы генерируемый им сигнал подкачки содержал несколько разных частот, а квадратурный смеситель 18 сконфигурирован так, чтобы выделять амплитуду каждой частоты, на основе которых вычисляется описанным ранее методом реограмма, причем выбор частоты несущей, свободной от помех, осуществляется в ручном или в автоматическом режиме.

[48]

В альтернативном варианте, генератор 16 сигнала подкачки может быть сконфигурирован так, чтобы последовательно генерировать сигнал подкачки, меняя частоту несущей (т.е. перебором частот), а синхронный детектор сигнала подкачки 18, соответственно, сконфигурирован так, чтобы выделять сигнал подкачки на различных частотах, на основе которых вычисляется описанным ранее методом данные реограммы и полной импеданс водителя (амплитуда и фаза).

[49]

На основе данных реограммы, полученных на разных частотах, и информации о фазе несущей сигнала реограммы может быть вычислена модель электрического импеданса водителя, как биологического объекта (например, модель Коула).

[50]

Так как разные ткани человека на разных частотах имеют разную проводимость, а подделать импедансные свойства - сверхсложная задача, описанное выше решение позволит повысить точность идентификации и верификации конкретной личности по ЭКГ и реограмме, особенно в тех случаях, когда ЭКГ водителя перехвачено устройством, имитирующим ЭКГ человека.

[51]

Также устройство обработки данных 11 может быть выполнено с возможностью по полученным данным ЭКГ проводить более точную диагностику для выявления аритмий с целью предоставить, например, на дисплей бортового компьютера, рекомендации водителю воздержаться от дальних поездок или отдохнуть, и/или отправить ЭКГ врачу или вызвать скорую помощь в случае обнаружения серьезного нарушения ритма или предвестников угрожающих или жизнеопасных аритмий. Устройство обработки данных 11 может быть также выполнено с возможностью в динамике следить за данными ЭКГ и по различным признакам, например, по частоте сердечных сокращений, определять степень усталости водителя с целью рекомендовать остановиться и отдохнуть. В случае выявления серьезного нарушения ритма или предвестников угрожающих или жизнеопасных аритмий, устройство обработки данных 11 генерирует команды на систему управления автомобилем для выполнения плавной остановки автомобиля. В альтернативном варианте реализации заявленного решения, устройство обработки данных 11 осуществляет упомянутую диагностику по полученным данным ЭКГ и реограммы, а также позволяет анализировать электрическую активность кожи (проводимость) для оценки психофизиологического состояния водителя и предупреждения засыпания за рулем. Устройство также может использоваться в телемедицине.

[52]

Настройка системы 100 и ввод образцов ЭКГ или реограмм для идентификации и верификации личности, а также реализация некоторых дополнительных опций, таких как просмотр ЭКГ и/или реограммы и результатов анализа в реальном времени, отправка ЭКГ и/или реограммы врачу, вызов неотложной помощи и т.п., может происходить при помощи мобильного вычислительного устройства связи, такого как смартфон, ноутбук, планшет и т.д., с установленным на нем приложением, обеспечивающим конфиденциальность передачи и хранения данных. Первоначальная защита доступа, возможность сброса настроек, ввод новых параметров и т.д. может обеспечиваться с помощью упомянутого мобильного вычислительного устройства связи и доступных ему способов верификации личности.

[53]

Таким образом, в представленном решении обеспечивается попарное измерение сопротивления между контактами, определение пары контактов, которые в настоящий момент способны регистрировать данные ЭКГ и реограммы, с непрерывным контролем обрыва одних контактов и включением других, когда человек перехватывает руль или даже когда одной рукой держится за руль, а второй за рычаг. Система способна работать автономно без выхода в интернет. Необходимый анализ данных ЭКГ для целей идентификации и верификации водителя и оценки его физиологического состояния также осуществляется автономно.

[54]

Область применения представленного решения распространяется не только на автомобили, но и на любые транспортные средства, которыми управляет человек.

Как компенсировать расходы
на инновационную разработку
Похожие патенты