патент
№ RU 2702169
МПК B23K10/00

Устройство для сварки полым термоэмиссионным катодом

Авторы:
Бараев Алексей Викторович Ильинский Александр Михайлович Бещеков Владимир Глебович
Все (4)
Номер заявки
2018126627
Дата подачи заявки
19.07.2018
Опубликовано
04.10.2019
Страна
RU
Как управлять
интеллектуальной собственностью
Чертежи 
1
Реферат

[30]

Изобретение может быть использовано для сварки полым катодом агрегатных сборок изделий ракетно-космической техники, в частности полых корпусных деталей и базовых панелей из титановых, ниобиевых и жаропрочных сплавов. Устройство содержит сварочную горелку с полым катодом и электродом, источник постоянного тока. Основная емкость для плазмообразующего газа соединена посредством трубопровода, в который встроены дозатор и аппаратура для измерения давления плазмообразующего газа, с полостью сварочной горелки. Дополнительная емкость для плазмообразующего газа подсоединена посредством трубопровода, в который встроены дозатор и аппаратура для измерения давления плазмообразующего газа, к трубопроводу подачи плазмообразующего газа от основной емкости в полость сварочной горелки. Площади поперечных сечений упомянутых трубопроводов связаны следующей зависимостью: S2=(0,7-0,8) S1, где S1 - площадь поперечного сечения трубопровода, соединяющего основную емкость с полостью сварочной горелки; S2 - площадь поперечного сечения трубопровода, подведенного к дополнительной емкости. Технический результат заключается в повышении качества сварки деталей за счет стабильного поддержания заданной формы разряда полого катода в течение всего процесса сварки. 1 ил.

Формула изобретения

Устройство для сварки полым термоэмиссионным катодом, содержащее сварочную горелку с полым катодом и электродом, источник постоянного тока и основную емкость для плазмообразующего газа, соединенную посредством трубопровода, в который встроены дозатор и аппаратура для измерения давления плазмообразующего газа, с полостью сварочной горелки, отличающееся тем, что оно оснащено дополнительной емкостью для плазмообразующего газа, подсоединенной посредством трубопровода, в который встроены дозатор и аппаратура для измерения давления плазмообразующего газа, к трубопроводу подачи плазмообразующего газа от основной емкости в полость сварочной горелки, причем площадь поперечного сечения трубопровода, подведенного к дополнительной емкости, выбрана, исходя из следующей зависимости:

S2=(0,7-0,8) S1, где:

S1 - площадь поперечного сечения трубопровода, соединяющего основную емкость с полостью сварочной горелки;

S2 - площадь поперечного сечения трубопровода, подведенного к дополнительной емкости.

Описание

[1]

Изобретение относится к области сварки, а именно, к устройствам для сварки полым термоэмиссионным катодом и может быть использовано для сварки полых корпусных деталей и панелей из титановых, ниобиевых и жаропрочных сплавов.

[2]

Используемое в настоящее время сварочное оборудование для сварки полым термоэмиссионным катодом не обеспечивают стабильного поддержания плазменной сварочной дуги в течение всего процесса сварки, что обуславливает снижение качества получаемых изделий.

[3]

Так, например, известно устройство для сварки полым термоэмиссионным катодом, содержащее сварочную горелку с полым катодом, в котором размещен электрод, два источника питания, соединяемые с полым катодом и свариваемой деталью, блок подачи плазмообразующего газа.

[4]

(см. патент РФ на полезную модель №103507, кл. В23К 9/06, 2011 г.).

[5]

В результате анализа известного устройства необходимо отметить, что блок подачи плазмообразующего газа не обеспечивает стабильных параметров плазменной сварочной дуги в течение всего процесса сварки.

[6]

Известно устройство для сварки полым термоэмиссионным катодом, содержащее сварочную горелку с полым катодом и электродом, источник тока, блок подачи плазмообразующего газа в виде трубопровода, дозирующего устройства и емкости с плазмообразующим (инертным) газом

[7]

(см. журнал «Сварочное производство», №10, 1974 г. стр. 1-2) - наиболее близкий аналог.

[8]

В результате анализа известного устройства необходимо отметить, что оно, как и приведенное выше, нем обеспечивает стабильного поддержания плазменной сварочной дуги в течение всего процесса сварки, что обуславливает снижение качества получаемых сварных изделий.

[9]

Технический результат настоящего изобретения заключается в повышении качества сварки деталей за счет стабильного поддержания заданной формы разряда полого катода в течение всего процесса сварки.

[10]

Указанный технический результат обеспечивается тем, что в устройстве для сварки полым термоэмиссионным катодом, содержащем сварочную горелку с полым катодом и электродом, источник постоянного тока, основную емкость для плазмообразующего газа, соединенную посредством трубопровода, в который встроены дозатор и аппаратура для измерения давления плазмообразующего газа, с полостью сварочной горелки, новым является то, что устройство оснащено дополнительной емкостью для плазмообразующего газа, подсоединенной посредством трубопровода, в который встроены дозатор и аппаратура для измерения давления плазмообразующего газа, к трубопроводу подачи плазмообразующего газа от основной емкости в полость сварочной горелки, причем площадь поперечного сечения трубопровода, подведенного к дополнительной емкости выбирается исходя из следующей зависимости:

[11]

S2=(0,7-0,8) S1, где:

[12]

S1 - площадь поперечного сечения трубопровода, соединяющего основную емкость с полостью сварочной горелки;

[13]

S2 - площадь поперечного сечения трубопровода, подведенного к дополнительной емкости.

[14]

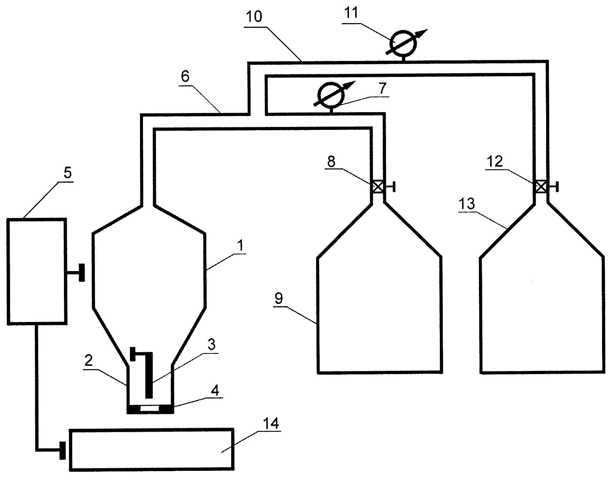
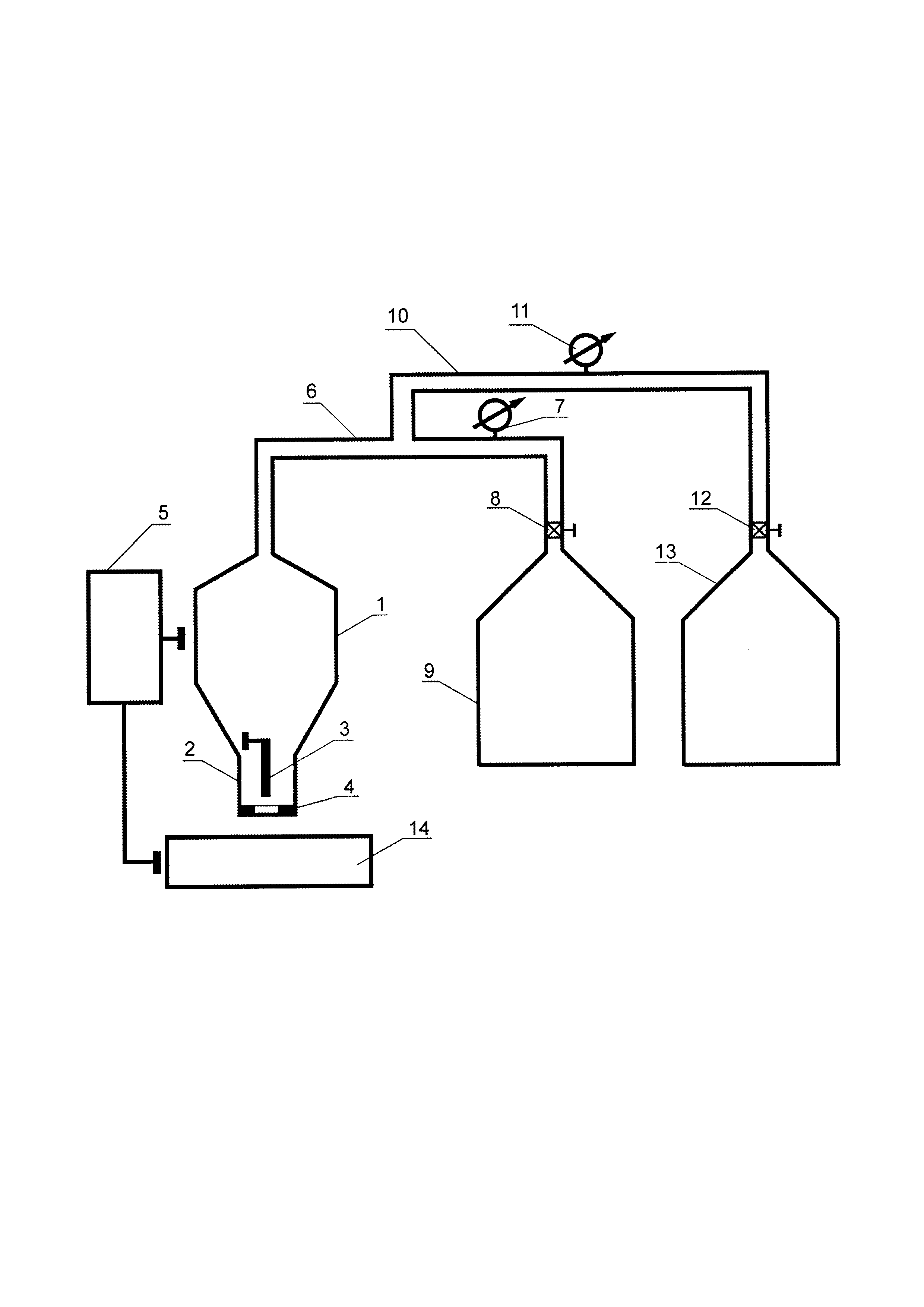
Сущность заявленного изобретения поясняется графическими материалами, на которых представлена схема устройства для сварки полым термоэмиссионным катодом.

[15]

Устройство для сварки полым термоэмиссионным катодом содержит сварочную горелку 1 с полым катодом 2, в котором размещен электрод 3. В отверстии полого катода 2 установлена диафрагма 4 с отверстием (позицией не обозначено).

[16]

Устройство оснащено источником 5 постоянного тока, имеющим возможность подсоединения к сварочной горелке и свариваемому изделию, образуя с ними замкнутую электрическую цепь.

[17]

Полость сварочной горелки 1 имеет возможность соединения посредством трубопровода 6, в который встроены измерительная аппаратура 7 и дозатор 8, с основной емкостью 9 для плазмообразующего газа.

[18]

К трубопроводу 6, между входом в сварочную горелку и измерительной аппаратурой 7, подведен трубопровод 10, в который встроены измерительная аппаратура 11 и дозатор 12, соединенный с дополнительной емкостью 13 для плазмообразующего газа.

[19]

Трубопровод 10 имеет площадь поперечного сечения (S2) меньшую, по сравнению с площадью поперечного сечения (S1) трубопровода 6.

[20]

Экспериментально установлено, что S2=(0,7-0,8) S1.

[21]

При значении S2 меньшем 0,7S1, наблюдается появление, так называемых «хлопков давления» плазмообразующего газа, что приводит к нестабильности параметров плазменной сварочной дуги и снижению качества сварки.

[22]

При значении S2 большем 0,8S1, снижается точность регулирования поступления плазмообразующего газа из дополнительной емкости 13.

[23]

Свариваемое изделие обозначено позицией 14.

[24]

Для комплектации устройства используются стандартные блоки и агрегаты. Измерительная аппаратура 7 и 11 предназначена для измерения давления плазмообразующего газа, поступающего из емкостей 9 и 13 и может представлять собой манометры.

[25]

Управление работой устройства может быть осуществлено как в ручном, так и в автоматическом режимах. При эксплуатации устройства в автоматическом режиме оно оснащается стандартным блоком управления (не показан).

[26]

Устройство для сварки полым термоэмиссионным катодом работает следующим образом.

[27]

Включают источник тока 5 и образуют электрическую цепь: источник тока 5 - электрод 3 - деталь 14. Из основной емкости 9 при открытом дозаторе 8 по трубопроводу 6 подают под давлением плазмообразующий газ в полость катода 2, где через направленное на свариваемый стык отверстие диафрагмы 4 возникает столб плазменного разряда (плазменная сварочная дуга) между электродом 3 и деталью 14, посредством которого и осуществляется сварка изделия.

[28]

В процессе сварки постоянное значение расхода плазмообразующего газа из емкости 9 осуществляют регулированием проходного сечения дозатора 8. По мере расхода плазмообразующего газа из емкости 9, давление в нем начинает падать и в этом момент открывают дозатор 12 и осуществляют подпитку плазмообразующего газа из емкости 13 по трубопроводу 10. Поддержание постоянного (или регулируемого по заданному закону) расхода плазмообразующего газа (отслеживается измерительной аппаратурой 7 и 11) осуществляется регулированием дозатора 10. Таким образом, использование дополнительной емкости позволяет обеспечить процесс сварки с поддержанием постоянных значений плазменной сварочной дуги, что позволяет обеспечить высокое качество сварки.

[29]

Выполнение трубопровода 10 размером площади поперечного сечения меньшей площади поперечного сечения трубопровода 6, создает дополнительный импульс давления в столбе плазменного разряда, что обеспечивает поддержание параметров плазменной сварочной дуги в течение всего процесса сварки, а, следовательно, повышает качество сварки.

Как компенсировать расходы
на инновационную разработку
Похожие патенты