патент
№ RU 2618598
МПК G01R1/073

ИЗМЕРИТЕЛЬНОЕ ЗОНДОВОЕ УСТРОЙСТВО И СПОСОБ ИЗМЕРЕНИЯ ЭЛЕКТРОФИЗИЧЕСКИХ ПАРАМЕТРОВ ПОЛУПРОВОДНИКОВЫХ ПЛАСТИН

Авторы:
Кочин Руслан Николаевич Люблин Валерий Всеволодович Федотов Сергей Дмитриевич
Все (4)
Номер заявки
2015149058
Дата подачи заявки
17.11.2015
Опубликовано
04.05.2017
Страна
RU
Как управлять
интеллектуальной собственностью
Чертежи 
3
Реферат

Изобретение может быть использовано для измерения электрофизических параметров полупроводниковых монокристаллических пластин, автоэпитаксиальных и гетероэпитаксиальных структур, а также структур типа полупроводника на изоляторе. Устройство содержит два электролитических зонда, у которых каждый корпус представлен в виде полой прозрачной трубки из диэлектрического материала, с одного конца которой закреплен монолитный наконечник из диэлектрического капиллярного или пористого материала в форме конуса с удлиненным цилиндрическим основанием, а с другого конца закреплена пробка из резины. Электроды устройства выполнены в виде колец из инертного металла и расположены на внешней поверхности конусных наконечников. Материал конусных наконечников пропитывают электролитом, зонды устанавливают на измеряемую пластину конусными наконечниками по нормали к лицевой поверхности, прикладывают к электродам постоянное напряжение разной полярности, постепенно увеличивают величину постоянного напряжения и одновременно подают на измерительные электроды электролитических зондов короткие периодические синусоидальные импульсы напряжения с амплитудой, большей, чем величина постоянного напряжения. Регистрируют вольт-амперную характеристику полупроводника с помощью устройств вывода радиоизмерительного прибора. Изобретение обеспечивает возможность увеличения точности производимых измерений и расширения области применения. 2 н. и 2 з.п. ф-лы, 3 ил., 1 пр.

Формула изобретения

1. Измерительное зондовое устройство, содержащее два электролитических зонда с корпусами в форме цилиндров из диэлектрического материала, наконечниками в форме конусов из диэлектрического пористого или капиллярного материала и измерительными электродами в форме стержней из инертного металла, отличающееся тем, что корпус каждого зонда представляет собой полую прозрачную трубку, с одного конца которой закреплен монолитный наконечник в форме конуса с удлиненным цилиндрическим основанием с диаметром, равным внутреннему диаметру полой трубки, а с другого конца закреплена пробка из резины, измерительные электроды представляют собой кольца с внутренним диаметром, меньшим, чем диаметр основания конуса наконечника, расположенные на внешней поверхности наконечников.

2. Измерительное зондовое устройство по п. 1, отличающееся тем, что на каждом электролитическом зонде рядом с измерительным электродом расположен дополнительный проверочный электрод из инертного металла в форме кольца с внутренним диаметром, меньшим, чем внутренний диаметр измерительного электрода, включенный с измерительным электродом через трехпозиционные переключатели в общую проверочную цепь, содержащую амперметр и источник питания.

3. Способ измерения электрофизических параметров полупроводниковых монокристаллических пластин, включающий пропитку материала конусных наконечников электролитом, одновременную установку двух электролитических зондов на измеряемую пластину конусными наконечниками по нормали к лицевой поверхности, приложение внешнего постоянного напряжения разной полярности к измерительным электродам зондов, постепенное увеличение величины постоянного напряжения и регистрацию получаемых вольт-амперных характеристик, отличающийся тем, что при постепенном увеличении постоянного напряжения на измерительные электроды электролитических зондов подаются короткие периодические синусоидальные импульсы с амплитудой, в 2-3 раза большей, чем величина постоянного напряжения, и растущей пропорционально возрастанию величины постоянного напряжения.

4. Способ измерения электрофизических параметров полупроводниковых монокристаллических пластин по п. 3, отличающийся тем, что после пропитки материала конусных наконечников электролитом производится контроль границы раздела электрод-электролит, для каждого электролитического зонда в отдельности, путем замыкания проверочного и измерительного электродов в общую проверочную цепь и регистрации силы тока в цепи.

Описание

[1]

Предлагаемые устройство и способ относятся к области измерительной техники, а более конкретно к устройствам и способам, предназначенным для измерения электрофизических параметров полупроводниковых монокристаллических пластин, в том числе автоэпитаксиальных и гетероэпитаксиальных структур, а также структур полупроводник на изоляторе. Измерение проводится с помощью формирования на поверхности полупроводника выпрямляющего контакта электролит-полупроводник. Создание такого контакта позволяет получать вольт-амперную характеристику (ВАХ) и значение напряжения лавинного пробоя исследуемого материала, что делает возможным прогнозирование характеристик будущих полупроводниковых приборов, а также вычисление электрофизических параметров полупроводника, таких как удельное сопротивление и концентрация носителей заряда. Контроль данных параметров на этапе изготовления полупроводниковых пластин является обязательной процедурой, которая в дальнейшем обеспечивает получение приборов с желаемым набором характеристик. Например, для производства дискретных приборов, таких как диоды Шоттки, крайне важно контролировать величину пробивного напряжения полупроводникового материала, так как это позволяет прогнозировать величину максимального напряжения при обратном смещении будущих диодов. Также данный контроль позволяет оперативно корректировать технологические параметры процесса изготовления полупроводниковой эпитаксиальной структуры непосредственно на участке производства.

[2]

Известно техническое решение, в котором для создания выпрямляющего измерительного контакта используется капилляр с ртутью [1]. Данное устройство и способ измерения (CV-метод) позволяют измерять вольт-фарадные характеристики и напряжение пробоя материала полупроводниковых пластин и автоэпитаксиальных структур. Выпрямляющий контакт формируется путем непосредственного соприкосновения стеклянного капилляра, наполненного ртутью, с окисленной поверхностью полупроводника, причем ртуть прижимается к поверхности подачей избыточного давления в капилляр, что обеспечивает необходимую воспроизводимость площади контакта и стабильную зависимость емкости от приложенного напряжения.

[3]

Недостатком описанного решения является необходимость тщательной подготовки поверхности полупроводника (очистки и окисления) к измерениям, что снижает оперативность измерений и ограничивает область применения. Также при использовании капилляра с ртутью в кислородсодержащей атмосфере ртуть образует твердые фазы оксидов, снижающие точность и воспроизводимость измерений, вследствие чего ртуть в капилляре необходимо часто менять. Помимо этого, для дальнейшего использования поверхность полупроводника после измерения необходимо тщательно очищать от соединений ртути либо забраковывать измеренные образцы, что чаще применяют на практике.

[4]

Известно техническое решение, в котором для проведения измерений используется выпрямляющий контакт электролит-полупроводник [2]. Электролит заполняет стеклянный капилляр с мягким резиновым наконечником на конце, содержащий внутри своего корпуса электрод из инертного металла. Капилляр может содержать как электролит в чистом виде, так и материал, пропитанный электролитом. К лицевой стороне пластины прикладывается выпрямляющий контакт электролит-полупроводник, к обратной стороне прилагается омический контакт. Использование данного устройства позволяет получать значения пробивных напряжений с достаточной точностью, при этом не повреждая поверхность измеряемой пластины.

[5]

Недостатком указанного решения является необходимость поддержания постоянного низкого давления в капилляре для предотвращения растекания электролита. Мягкий резиновый наконечник не обеспечивает постоянной геометрии измерительного контакта, вследствие чего снижается воспроизводимость измерений. Также при использовании водных растворов электролитов, например таких, как растворы кислот, на металлических электродах (катоде и аноде) могут образовываться и аккумулироваться газовые пузырьки, снижающие площадь контакта электрод-электролит. Таким образом повышается сопротивление в цепи, снижается точность и воспроизводимость измерений, вследствие чего состояние контакта электрод-электролит необходимо постоянно контролировать.

[6]

Известны устройство и способ измерения электрофизических параметров полупроводниковых пластин, где для формирования выпрямляющего измерительного контакта электролит-полупроводник предлагается использовать электролитические зонды из непроводящего пористого или капиллярного материала (например, полиэфирного волокна, целлюлозы и т.п.) монолитной цилиндрической формы [3]. Материал зондов гидрофильный, капиллярный или пористый, а также химически стойкий по отношению к электролиту. Металлический электрод располагается в объеме тела зонда, а сам зонд может быть помещен в капсулу или втулку, что предотвратит испарение электролита. Заключенные в капсулу или втулку зонды могут быть расположены контактными концами вверх, а другими концами опущены в открытую емкость с электролитом, что обеспечит воспроизводимую геометрию измерительного контакта и постоянный уровень смачиваемости материала. Способ измерения заключается в заполнении пор или капилляров монолитного корпуса зонда электролитом и приложении двух и более зондов (с использованием омического контакта и без него) к поверхности измеряемой пластины, причем зонды включены в одну цепь, содержащую измерительный прибор. На приложенные зонды подается постоянный ток, измерительная аппаратура регистрирует кривую ВАХ. Данное техническое решение выбрано в качестве прототипа.

[7]

Недостатком данного устройства является расположение электродов внутри корпусов электролитических зондов. Так как объем корпуса зонда заполнен материалом, пропитанным электролитом, при проведении измерений происходит образование пузырьков газа на границе раздела электрод-электролит вследствие возникающего электролиза и их накопление (аккумуляция) на поверхности электрода и в пустотах материала электролитического зонда. Данное явление уменьшает величину и воспроизводимость площади контакта электрод-электролит, что значительно снижает точность, стабильность и воспроизводимость измерений. Использование открытой емкости для поддержания уровня смачиваемости (подпитки) электролита ограничивает область применения изобретения вследствие отсутствия мобильности конструкции. Помимо этого, данный способ измерения не позволяет получить резкий переход от участка обратного тока к участку пробоя обратной ветви кривой ВАХ, что значительно снижает точность графического определения пробивного напряжения.

[8]

Задача предлагаемого изобретения заключается в увеличении точности производимых измерений и расширении области применения.

[9]

Это достигается тем, что в измерительном зондовом устройстве, содержащем два электролитических зонда с корпусами в форме цилиндров из диэлектрического материала, наконечниками в форме конусов из диэлектрического пористого или капиллярного материала и измерительными электродами в форме стержней из инертного металла, корпус каждого зонда представляет собой полую прозрачную трубку, с одного конца которой закреплен монолитный наконечник в форме конуса с удлиненным цилиндрическим основанием с диаметром, равным внутреннему диаметру полой трубки, а с другого конца закреплена пробка из резины, электроды представляют собой кольца с внутренним диаметром, меньшим, чем диаметр основания конуса наконечника, расположенные на внешней поверхности наконечников.

[10]

На каждом электролитическом зонде рядом с измерительным электродом может быть расположен дополнительный проверочный электрод из инертного металла в форме кольца с внутренним диаметром, меньшим, чем внутренний диаметр измерительного электрода, включенный с измерительным электродом через трехпозиционные переключатели в общую проверочную цепь, содержащую амперметр и источник питания.

[11]

Кроме этого, в способе измерения электрофизических параметров полупроводниковых монокристаллических пластин, включающем пропитку материала контактных наконечников электролитом, одновременную установку двух электролитических зондов на измеряемую пластину конусными наконечниками по нормали к лицевой поверхности, приложение внешнего постоянного напряжения разной полярности к измерительным электродам зондов, постепенное увеличение величины постоянного напряжения и регистрацию получаемых вольт-амперных характеристик, при постепенном увеличении постоянного напряжения на измерительные электроды подаются периодические синусоидальные импульсы с амплитудой, в 2-3 раза большей, чем величина постоянного напряжения, и растущей пропорционально возрастанию величины постоянного напряжения.

[12]

После пропитки материала контактных наконечников электролитом может проводиться контроль границы раздела электрод-электролит для каждого электролитического зонда в отдельности путем замыкания проверочного и измерительного электродов в общую проверочную цепь и регистрации показателя силы тока в цепи.

[13]

Выполнение корпуса электролитического зонда в виде полой прозрачной трубки из диэлектрического материала (например, из кварца, фторопласта марки 4МБ или 4МБ-2 и т.п.) позволяет визуально наблюдать уровень электролита (например, слабого раствора соляной кислоты, слабого раствора плавиковой кислоты и т.п.) в трубке, что позволяет контролировать смачиваемость электродов электролитом и, соответственно, площадь контакта электрод-электролит, вследствие чего повышается точность измерений.

[14]

Закрепление на одном конце полой прозрачной трубки монолитного наконечника из пористого или капиллярного диэлектрического материала (например, из пористого фторопласта Ф-4, синтетического фетра и т.п.) в форме конуса с удлиненным цилиндрическим основанием с диаметром, равным внутреннему диаметру полой трубки, а на другом - пробки из резины (например, из фторкаучука, этиленпропиленового каучука и т.п.) обеспечивает постоянную подпитку контактного наконечника и смачивание кольцевых электродов электролитом при любом пространственном расположении электролитических зондов и измеряемой поверхности, а также исключает испарение и вытекание электролита, что расширяет область применения устройства.

[15]

Выполнение электродов из инертного металла (например, из платины, тантала и т.п.) в виде колец с внутренним диаметром, меньшим, чем диаметр основания конуса наконечника, и их расположение на внешней поверхности наконечников позволяют увеличить площадь контакта электрод-электролит и значительно снизить аккумуляцию газовых пузырьков, возникающих в результате электролиза, на границе раздела контакта электрод-электролит, что в совокупности значительно повышает точность измерений.

[16]

Расположение на каждом электролитическом зонде рядом с измерительным электродом дополнительного проверочного электрода из инертного металла в форме кольца с внутренним диаметром, меньшим, чем внутренний диаметр измерительного электрода, а также включение измерительного и проверочного электродов через трехпозиционные переключатели в общую проверочную цепь, содержащую амперметр и источник питания, позволяют контролировать площадь контакта электрод-электролит и состояние пропитки конусного наконечника, что увеличивает точность производимых измерений.

[17]

Подача коротких периодических синусоидальных импульсов с амплитудой, в 2-3 раза большей, чем величина постоянного напряжения, и растущей пропорционально увеличению величины постоянного напряжения, позволяет значительно сократить время измерения пробивного напряжения, получить более линейный участок прямого тока и короткий переходный участок обратной ветви кривой ВАХ за счет уменьшения образования газовых пузырьков, возникающих в результате электролиза, на поверхности электродов и ускорения термоэмиссионного потока носителей заряда через контакт электролит-полупроводник, вследствие чего повышается точность измерений.

[18]

Использование синусоидальных импульсов с меньшей амплитудой не позволит добиться положительного эффекта изобретения. В случае использования синусоидальных импульсов с большей амплитудой время эксплуатации кольцевых электродов значительно сокращается.

[19]

Контроль границы раздела электрод-электролит каждого электролитического зонда в отдельности путем замыкания проверочного и измерительного электродов в общую проверочную цепь и регистрации силы тока в цепи позволяет проверить стабильность площади контакта электрод-электролит, которая может быть снижена из-за аккумуляции газовых пузырьков на поверхности электродов, возникающих в результате электролиза, или недостаточной пропитки конусных наконечников электролитом, что увеличивает точность производимых измерений.

[20]

На фиг. 1 изображено зондовое устройство, у которого корпус каждого зонда выполнен в виде полой прозрачной трубки из диэлектрического материала, у которой с одного конца закреплен монолитный наконечник из пористого или капиллярного диэлектрического материала в форме конуса с удлиненным цилиндрическим основанием, с другого конца закреплена пробка из резины, электроды из инертного металла выполнены в виде колец и расположены на внешней поверхности наконечников, где 1 - прозрачная полая трубка, 2 - конусные наконечники, 3 - удлиненное цилиндрическое основание наконечника, 4 - резиновая пробка, 5 - измерительный кольцевой электрод, 6 - раствор электролита.

[21]

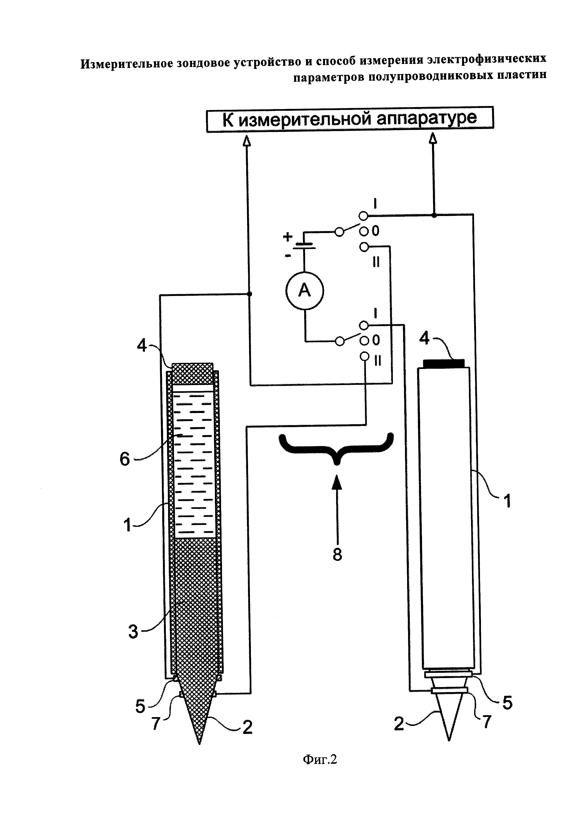
На фиг. 2 изображено зондовое устройство, у которого на каждом электролитическом зонде рядом с измерительным кольцевым электродом расположен проверочный кольцевой электрод из инертного металла, включенный с измерительным электродом через трехпозиционные переключатели в общую проверочную цепь, содержащую амперметр и источник питания, где 1 - прозрачная полая трубка, 2 - конусные наконечники, 3 - удлиненное цилиндрическое основание наконечника, 4 - резиновая пробка, 5 - измерительный кольцевой электрод, 6 - раствор электролита, 7 - проверочный кольцевой электрод, 8 - схема проверочной цепи, на которой: положение I - электроды 5 и 7 первого зонда замкнуты друг на друге через проверочную схему, положение II - электроды 5 и 7 второго зонда замкнуты друг на друге через проверочную схему, положение 0 - проверочная цепь разомкнута, электроды 5 первого и второго зонда замкнуты друг на друге через измерительную цепь и объем измеряемого материала.

[22]

На фиг. 3 изображена кривая вольт-амперной характеристики полупроводникового материала при прямом и обратном смещении измерительного диода, полученная с помощью данного устройства по предлагаемому способу, где 9 - участок обратного тока, 10 - переходный участок, 11 - участок пробоя, Iпр - координата увеличения прямого тока, Iобр - координата увеличения обратного тока, Uпр - координата увеличения прямого напряжения, Uобр - координата увеличения обратного напряжения.

[23]

Устройство работает следующим образом. Измерительные кольцевые электроды 5 с помощью медных или платиновых выводов подключают к характериографу класса Л2 или другому радиоизмерительному прибору, который предназначен для исследования вольтамперных характеристик полупроводниковых приборов. Прозрачную полую трубку 1 каждого электролитического зонда заполняют электролитом 6 и герметизируют пробкой 4. Конусные наконечники 2 через удлиненное цилиндрическое основание 3 впитывают электролит 6 и смачивают измерительные кольцевые электроды 5, создавая контакт электрод-электролит. Далее создают контакт электролит-полупроводник путем установки двух электролитических зондов на измеряемую пластину конусными наконечниками 2 по нормали к лицевой поверхности, которая может быть расположена в любой пространственной плоскости. К измерительным электродам 5 прилагают внешнее постоянное напряжение разной полярности и постепенно увеличивают величину постоянного напряжения. При постепенном увеличении постоянного напряжения на измерительные электроды 5 подаются короткие периодические синусоидальные импульсы с амплитудой, в 2-3 раза большей, чем величина постоянного напряжения, и растущей пропорционально возрастанию величины постоянного напряжения. С помощью графического табло радиоизмерительного прибора регистрируют вид обратной ветви кривой ВАХ (при обратном смещении диода): участок обратного тока 9, переходный участок 10 и участок пробоя 11. По участку пробоя 11 определяют номинальное значение напряжения пробоя.

[24]

В случае использования конструкции измерительного зондового устройства с измерительным кольцевым электродом 5 и проверочным кольцевым электродом 8 на каждом зонде после пропитки материала наконечника электролитом производят контроль состояния контакта электрод-электролит. Кольцевые электроды 5 и 7 каждого зонда в отдельности подключают к проверочной цепи 8 через трехпозиционные переключатели. Переводят оба трехпозиционных переключателя в положение I, при этом электроды первого зонда замыкаются друг на друге через проверочную цепь, считывают показания амперметра, далее переводят оба переключателя в положение II, электроды второго зонда замыкаются друг на друге через проверочную цепь, повторно считывают показания амперметра. Если показания амперметра являются удовлетворительными, то оба переключателя переводят в положение 0, проверочная цепь размыкается, измерительные электроды 5 первого и второго зонда замыкаются друг на друге через измерительную цепь и объем измеряемого материала, проводят измерения вольт-амперных характеристик. Если показания амперметра являются неудовлетворительными, измерения прерываются, производится техническое обслуживание зондового устройства. Также данный контроль целесообразно проводить между одиночными измерениями или сериями измерений. Величина удовлетворительных значений амперметра и их допустимое отклонение зависят от геометрических размеров кольцевых электродов и определяются экспериментально.

[25]

Пример конкретного выполнения

[26]

Для измерения полупроводниковых монокристаллических пластин n-типа и полупроводниковых автоэпитаксиальных и гетероэпитаксиальных структур типа n-n+, n-p+, а также структур полупроводник n-типа на изоляторе производят следующие действия. Измерительное зондовое устройство с помощью медных выводов подключают к измерительной цепи характериографа Л2-56, в которую также включен генератор импульсных напряжений. Один из измерительных электродов подключается к разъему «К» (коллектор), другой - к разъему «Э» (эмиттер). Выставляются необходимые настройки характериографа: регулятор выходного напряжения - 0, клавиша «обрыв базы» нажата, кнопка «фильтр» отжата, кнопка «ноль» отжата, переключатель полярности - положение «n-p-n», а также необходимые настройки отображения луча на графическом табло характериографа. Внутренний объем каждого электролитического зонда измерительного зондового устройства заполняют слабым ~1 об. % водным раствором соляной кислоты и закрывают каждый зонд резиновой пробкой. С помощью проверочной схемы производят проверку состояния контактов электрод-электролит каждого электролитического зонда. Измеряемую пластину, например кремниевую эпитаксиальную структуру типа n-n+ (подложка кремния диаметром 100 мм, легированная мышьяком с удельным сопротивлением 0,03 Ом⋅см, на которую нанесен эпитаксиальный слой кремния, легированный фосфором с удельным сопротивлением 5 Ом⋅см и толщиной 10 мкм), располагают на какой-либо поверхности, не соединенной электрически со схемой измерения (например, пластина может быть расположена на подложкодержателе эпитаксиального реактора и т.п.). Создают контакт электролит-полупроводник путем установки двух электролитических зондов на измеряемую пластину конусными наконечниками по нормали к лицевой поверхности (к поверхности эпитаксиального слоя). Прилагают внешнее постоянное напряжение на измерительные зонды, постепенно повышают величину постоянного напряжения. Одновременно с увеличением постоянного напряжения на измерительные электроды от генератора импульсного напряжения подаются короткие периодические синусоидальные импульсы с амплитудой, в 2-3 раза большей, чем величина постоянного напряжения, и растущей пропорционально возрастанию величины постоянного напряжения (например, постоянное напряжение повышается до 20 B - амплитуда импульсного напряжения находится в пределах 40-60 B, постоянное напряжение повышается до 40 B - амплитуда импульсного напряжения находится в пределах 80-120 B и т.д.). При этом на графическом табло характериографа наблюдают обратную ветвь кривой ВАХ. Величину постоянного напряжения увеличивают до появления на табло участка пробоя (до резкого увеличения протекания обратного тока через р-n-переход). После этого графически определяют номинальное значение напряжения пробоя, используя цифровую шкалу табло характериографа.

[27]

Для измерения полупроводниковых монокристаллических пластин p-типа и полупроводниковых автоэпитаксиальных и гетероэпитаксиальных структур типа p-p+, p-n+, а также структур полупроводников p-типа на изоляторе производят действия, аналогичные вышеописанным, за исключением одной настройки характериографа: переключатель полярности - положение «p-n-p».

[28]

Данное устройство по сравнению с аналогами позволяет производить измерения при любом пространственном расположении зондов и измеряемой пластины, значительно снижает аккумуляцию газовых пузырьков на границе раздела электрод-электролит, а также делает возможным контроль состояния контакта электролит-электрод (смачиваемости электродов зондов электролитом).

[29]

Данный способ по сравнению с аналогами дает возможность получить более резкий переход от участка обратного тока к участку пробоя кривой ВАХ и значительно сократить продолжительность измерения, а также позволяет осуществлять контроль стабильности площади контакта электрод-электролит и состояния пропитки конусных наконечников электролитом.

[30]

Источники информации

[31]

1. Патент США №3794912 от.26.02.1974 г.

[32]

2. Патент США №3975681 A от 17.08.1976 г.

[33]

3. Европейский патент №0471350 A2 от 13.08.1991 г. (прототип).

Как компенсировать расходы
на инновационную разработку
Похожие патенты