Изобретение относится к области радиотехники, в частности к способам и устройствам анализа и цифровой обработки широкополосных сигналов. Технический результат заключается в уменьшении времени формирования физического спектра исследуемого сигнала и возможности удобного выполнения его анализа. В устройство введены блок матричного представления временных отсчетов (1), блок управления (3) и блок разрядной расстановки номеров частотных отсчетов (4). При этом блок управления (3) обеспечивает реализацию оптимальной и адаптивной стратегии при выборе структуры входного сигнала блока БПФ (2) и алгоритма обработки в блоке разрядной расстановки номеров частотных отсчетов (4). 2 н.п. ф-лы, 6 ил., 1 табл.
1. Способ формирования физического спектра сигнала, включающий разрядную расстановку элементов исследуемого сигнала, использование быстрого преобразования Фурье массива дискретных временных отсчетов исследуемого сигнала, отличающийся тем, что осуществляют матричное представление массива дискретных временных отсчетов в прямом порядке, которые затем преобразуют в дискретную последовательность частотных отсчетов спектра исследуемого сигнала с разрядной расстановкой по отношению к элементам соответствующей последовательности, далее в соответствии со структурой исследуемого сигнала полученную последовательность преобразуют в выходную дискретную последовательность частотных отсчетов физического спектра исследуемого сигнала в прямом порядке. 2. Устройство формирования физического спектра сигнала, содержащее блок быстрого преобразования Фурье (БПФ), отличающееся тем, что дополнительно введены блок матричного представления временных отсчетов, вход которого является входом устройства, а выход соединен с входом блока БПФ, блок разрядной расстановки номеров частотных отсчетов, выход которого является выходом устройства, а вход подключен к выходу блока БПФ, и блок управления, вход которого является входом для управляющих сигналов начальных установок, а выход соединен с управляющими входами блока матричного представления временных отсчетов, блока БПФ и блока разрядной расстановки номеров частотных отсчетов.
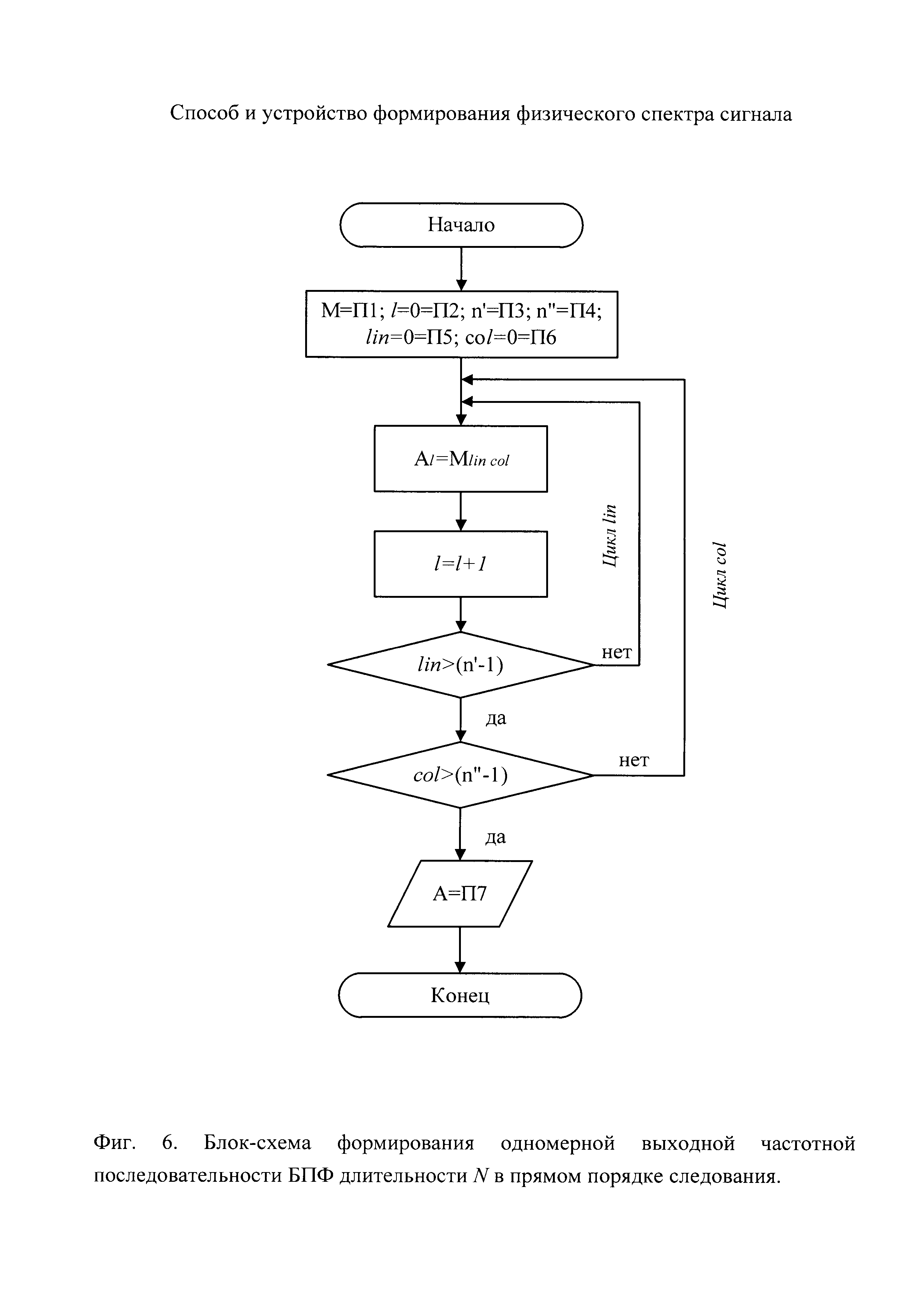
Изобретение относится к области радиотехники, в частности к способам и устройствам анализа и цифровой обработки широкополосных сигналов (ШПС) в системах радиосвязи и сотовых системах связи множественного доступа с кодовым разделением каналов (Code Division Multiple Access - CDMA). Основные направления цифровой обработки сигнала чаще всего связаны с процедурами фильтрации и спектрального анализа [1, 2]. Преимущественно для спектрального анализа, как правило, используют обработку дискретных процессов. При этом основной операцией является вычисление дискретного преобразования Фурье (ДПФ). Наиболее важным требованием к данной процедуре является сокращение (минимизация) времени ее выполнения. Для уменьшения времени вычисления ДПФ существует широкий набор известных алгоритмов быстрого преобразования Фурье (БПФ), которые базируются на разнообразных математических методах. Каждый отдельный алгоритм БПФ обладает перед другими специфическими преимуществами и является наиболее подходящим для соответствующих условий применения. Особое внимание заслуживает метод, основанный на математической операции перехода от одномерного преобразования Фурье к двумерному. Такой подход приводит к упрощению и ускорению вычисления спектра исследуемого сигнала в сотни раз по сравнению с методом прямого дискретного преобразования Фурье [3]. Тот факт, что одномерный массив чисел можно представить через двумерный массив разными способами объясняет многообразие алгоритмов БПФ. Следует отметить, что вид представления двумерных массивов непосредственно связан с разложением числа, равного длительности одномерного массива, на множители. Поэтому для выявления возможности, общих закономерностей и выбора оптимальной структуры алгоритма обработки следует проводить тщательный анализ свойств разложения данного числа на сомножители. При этом важной особенностью большинства алгоритмов БПФ является не синхронный порядок следования входных временных и выходных частотных отсчетов массивов анализируемого сигнала. По этой причине для получения физического спектра возникает необходимость выполнить соответствующую перестановку (упорядочивание) элементов выходной последовательности БПФ, чтобы она имела прямой (естественный) порядок следования элементов. Данная процедура перестановки элементов может быть осуществлена разными способами, как для входного, так и выходного массива БПФ [1, 2, 3]. Один из известных способов перестановки элементов входной последовательности для алгоритма БПФ с прореживанием по времени описан в [1]. При этом в частности рассмотрен и случай, когда длина БПФ равна числу N, кратному степени двойки. Известно, что дискретные сигналы такой структуры довольно часто используют на практике в широкополосных системах связи для решения обширного перечня специфических радиотехнических задач. Например, это сигналы с прямым расширением спектра [4, 5]. Доказано, что для таких сигналов путем последовательного поэтапного разбиения исходной текущей N - точечной последовательности на две (N/2) - точечные последовательности достигается максимальная скорость обработки. Однако для обеспечения прямого (естественного) порядка следования элементов выходной частотной последовательности процедуры БПФ входная временная последовательность должна быть расставлена относительно выходной в двоично-инверсном порядке. Двоично-инверсный порядок определяется следующим образом [1, С. 402]. Если представить порядковые номера элементов входной последовательности в двоичном коде, используя L двоичных разрядов, причем N=2L, а затем инвертировать порядок следования разрядов, то полученные при этом числа и будут номерами элементов входной последовательности после их перестановки. Наиболее близким аналогом по технической сущности к предлагаемым способу и устройству формирования физического спектра сигнала является способ расстановки в двоично-инверсном порядке входной временной последовательности БПФ и устройство для его реализации, описанные в [1] и принятые за прототип. Блок-схема реализации способа-прототипа, предложенной Рэйдером и выполненной на двоично-инверсном счетчике [1, С. 403], представлена на фиг. 1. Соотношение прямых и двоично-инверсных номеров при выполнении процедуры БПФ, например, для случая последовательности из восьми элементов, имеет вид, представленный в таблице 1, приведенной в [1, табл. 6.1]. Реализуется данная процедура поэлементной двоично-инверсной перестановки следующим образом. Предварительно считается, что элементы входной временной последовательности Х(k), длительность которой равна N, расположены в прямом порядке нумерации, начиная с нулевой позиции k=0, и принадлежат интервалу k∈[0, N-1]. При выполнении данной процедуры номер каждой текущей позиции k-го элемента Х(k) представляют в двоичной форме и выполняют его двоичную инверсию. Полученный номер, представленный в десятичной форме записи, соответствует временной позиции в интервале k∈[0, N-1], в которую при выполнении данной процедуры необходимо поместить текущий элемент Х(k) входной временной последовательности. Другими словами, согласно алгоритму, предложенному Рэйдером [1, С. 403], последовательность операций двоично-инверсной перестановки для элементов входной последовательности, следующих в прямом порядке нумерации, выполняется, начиная с элемента с нулевым номером в двоичной форме записи, содержащим все нулевые разряды. Последовательно, начиная с нулевого, все номера элементов последовательности длительности N, представленные в двоичной форме записи, подвергаются поэлементной двоичной инверсии. Полученные числа являются номерами, которые определяют местоположение во входной временной последовательности, куда необходимо поместить исследуемые элементы. В результате формируют последовательность длительности N с двоично-инверсной перестановкой элементов. При этом алгоритм является весьма эффективным и экономичным с точки зрения вычислительных затрат, когда длина БПФ равна числу N, кратному степени двойки. Это связано с тем [1, С. 404], что половина из общего числа двоично-инверсных номеров формируется с использованием лишь двух операций, поскольку только в половине случаев старший значащий разряд номера элемента Х(k) будет равен единице. Аналогично четверть всех двоично-инверсных номеров формируется с помощью трех операций и т.д. Числа N/2, N/4, …, 4, 2, 1, используемые в процедуре двоично-инверсной расстановки элементов входной временной последовательности БПФ (фиг. 1), представлены в двоичной форме записи. Следует отметить, что в большинстве практических задач для обеспечения длины БПФ, кратной степени двойки, вполне допустимо искусственное удлинение обрабатываемой последовательности путем добавления необходимого числа нулевых элементов, приводящее к тому, что результирующий спектр будет представлять некоторую интерполяцию спектра не удлиненной последовательности [1, С. 411]. В то же время такой подход увеличивает точность представления составляющих исследуемого спектра [7, С. 255]. Далее анализируется двухмерный алгоритм БПФ с замещением, в котором результаты базовой операции возвращаются в те регистры, откуда были взяты соответствующие исходные числа. При этом порядок следования выходных гармоник по отношению к прямому следованию временных отсчетов входной последовательности всегда оказывается переставленным. Как отмечено ранее, для БПФ по основанию два эта перестановка соответствует двоичной инверсии номеров исходной временной последовательности. Для БПФ по основанию r перестановка соответствует разрядной инверсии, а номера выходных отсчетов выражаются в r-ичной системе счисления [3, С. 133]. В качестве примера на фиг. 10.11 и 10.13 в [1, С. 644, 645] приведены наглядные структурные схемы 16-точечного двумерного БПФ с основанием 4 с прореживанием по времени и с размещением элементов входного временного массива в прямом порядке. Перечень чертежей: на фиг. 1 представлена блок-схема реализации процедуры двоично-инверсной расстановки элементов входной последовательности БПФ (прототип); на фиг. 2 - структурная схема устройства-прототипа для формирования физического спектра сигнала; на фиг. 3 - структурная схема предлагаемого устройства для формирования физического спектра сигнала; на фиг. 4 - структурная схема переиндексации номеров элементов текущих массивов при двумерном БПФ с основанием 2 и N=16; на фиг. 5 - структурная схема переиндексации номеров элементов текущих массивов при двумерном БПФ с основанием 4 и N=16; на фиг. 6 - блок-схема формирования одномерной выходной частотной последовательности БПФ длительности N в прямом порядке. Структурная схема устройства-прототипа представлена на фиг. 2, где обозначено: 2 - блок быстрого преобразования Фурье (БПФ); 5 - блок двоичной инверсии. Устройство-прототип содержит последовательно соединенные блок двоичной инверсии 5 и блок быстрого преобразования Фурье 2. Для реализации устройства-прототипа используется программа двоичной инверсии [1, С. 403], преобразование дополнительного кода [6, С 511-519] и процедура БПФ [3]. Устройство-прототип работает следующим образом. Входные дискретные временные отсчеты исследуемого сигнала поступают в прямом порядке на вход блока двоичной инверсии 5, где выполняется процедура двоичной инверсии их номеров в двоичном представлении, по которым формируется временная последовательность номеров временной последовательности в десятичном представлении и выполняется соответствующая перестановка элементов входной последовательности. Далее переставленная последовательность поступает на вход блока БПФ 2, на выходе которого формируется выходная дискретная последовательность частотных отсчетов физического спектра входного сигнала в прямом порядке. Подробное описание реализации процедуры двоично-инверсной расстановки элементов входной последовательности для БПФ способа-прототипа представлено в [1, С. 402]. Основной недостаток способа и устройства-прототипа заключается в том, что отсутствует режим адаптивного выбора оптимальных характеристик при обработке для максимизации скорости и минимизации времени обработки входного дискретного временного сигнала в зависимости от его параметров. Задача предлагаемого технического решения заключается в формировании физического спектра составного дискретного сигнала путем расстановки частотных отсчетов в выходном массиве БПФ в прямом порядке с использованием адаптивного управления процедурой обработки, что обеспечивает уменьшение времени формирования физического спектра исследуемого сигнала и возможность удобного выполнения его анализа. Для решения поставленной задачи в способе формирования физического спектра сигнала, включающем разрядную расстановку элементов исследуемого сигнала, использование быстрого преобразования Фурье массива дискретных временных отсчетов исследуемого сигнала, согласно изобретению, осуществляют матричное представление массива дискретных временных отсчетов в прямом порядке, которые затем преобразуют в дискретную последовательность частотных отсчетов спектра исследуемого сигнала с разрядной расстановкой по отношению к элементам соответствующей последовательности, далее в соответствии со структурой исследуемого сигнала полученную последовательность преобразуют в выходную дискретную последовательность частотных отсчетов физического спектра исследуемого сигнала в прямом порядке. Для решения поставленной задачи в устройство формирования физического спектра сигнала, содержащем блок быстрого преобразования Фурье (БПФ), согласно изобретению, дополнительно введены блок матричного представления временных отсчетов, вход которого является входом устройства, а выход соединен с входом блока БПФ, блок разрядной расстановки номеров частотных отсчетов, выход которого является выходом устройства, а вход подключен к выходу блока БПФ и блок управления, вход которого является управляющим входом начальных установок, а выход соединен с управляющими входами блока матричного представления временных отсчетов, блока БПФ и блока разрядной расстановки номеров частотных отсчетов. В заявляемом способе и устройстве для формирования физического спектра дискретного сигнала предлагается вычислительный алгоритм и соответствующее устройство разрядной расстановки в прямом порядке частотных элементов выходного массива БПФ. При этом элементы массива на входе блока БПФ размещены в прямом порядке. Предлагаемый алгоритм разрядной расстановки получен с учетом общего уравнения ДПФ Кули-Тьюки [3, С. 128] и детального анализа алгоритма БПФ для дискретных сигналов, длительность которых равна составному числу, которое можно представить в виде произведения множителей, в том числе и с основанием, кратным двум [1, С. 395-402]. В результате была установлена связь порядка номеров прямого следования элементов во входном временном массиве двумерного БПФ с порядком следования номеров элементов в выходном преобразованном частотном двумерном массиве, и сформулирован алгоритм расстановки элементов выходного частотного одномерного (векторного) массива БПФ в прямом порядке следования. Математическая модель полученного алгоритма разрядной расстановки выходных элементов массива БПФ может быть представлена в аналитическом виде последовательностью следующих операций. Пусть, например, вектор входного массива и соответственно длина преобразования ДПФ N равна числу, кратному двум, например N=16. Тогда для двумерного БПФ N=n'*n'', где n' - число строк матрицы БПФ, а n''=N/n' - число столбцов матрицы БПФ. Для двумерного БПФ с прореживанием по времени и основанием, равным двум, N=2m=2*2m-1, m=4, n'=2 и n''=8, а с основанием, равным четырем, N=4k=4*4k-1, k=2, n'=4 и n''=4. При этом номер текущей позиции элемента входного вектора массива БПФ k=n''*k'+k'', где k'=0, …, n'-1, k''=0, …, n''-1. Номер текущей позиции выходного вектора массива БПФ i=i'+n'*i'', где i'=0, …, n'-1, i''=0, …, n''-1. Примеры структурных схем переиндексации и разрядной расстановки номеров элементов текущих массивов при двумерном БПФ с основанием 2 и 4 для N=16 приведены соответственно на фиг. 4 и фиг. 5. Из результатов анализа структурных схем на фиг. 4 и на фиг. 5, следует, что существует однозначная связь между текущими номерами позиций выходного массива М элементов БПФ и номерами элементов вектора выходной частотной последовательности А с прямым порядком следования. Для построения вектора выходной частотной последовательности А с прямым порядком следования достаточно выполнить последовательное считывание элементов выходной матрицы М БПФ по столбцам, начиная с элемента М00. Один из возможных вариантов алгоритма [8] для формирования вектора выходной частотной последовательности А длительности N с прямым порядком следования элементов из выходного двумерного массива М быстрого преобразования Фурье имеет вид: for col=0, n''-1 for lin=0, n'-1 end lin end col Здесь Исходные данные (начальные установки блока управления) для выполнения предлагаемого алгоритма, например, длина вектора входного временного сигнала и др. предварительно вводятся в соответствующие регистры памяти П1-П6. Согласно блок-схеме формирование одномерной выходной частотной последовательности БПФ длительности N в прямом порядке следования разрядной расстановки осуществляется при выполнении двух операторов цикла по строкам и по столбцам. Полученная упорядоченная последовательность А помещается в регистр памяти П7. Предлагаемое устройство, реализующее данный алгоритм, может быть выполнено на базе как аппаратных, так и программных средств цифровой обработки сигнала. При этом практическая ценность полученных результатов при выполнении данного алгоритма заключается в том, что в итоге формируется физический спектр исследуемого составного сигнала, включая дискретный сигнал с основанием, кратным двум [3, С. 128], и обеспечивается возможность для выполнения его детального анализа. С другой стороны, использование данного алгоритма в предлагаемом устройстве за счет адаптивного управления в соответствии с начальными установками обеспечивается сокращение суммарного времени формирования физического спектра дискретных сигналов. В частности достигается максимальное уменьшение времени обработки для сигналов с основанием, кратным двум, в том числе для часто используемого на практике класса ШПС типа М последовательностей, которые применяются для решения обширного перечня специфических радиотехнических задач. Структурная схема предлагаемого устройства для формирования физического спектра сигнала представлена на фиг. 3, где обозначено: 1 - блок матричного представления временных отсчетов; 2 - блок быстрого преобразования Фурье (БПФ); 3 - блок управления; 4 - блок разрядной расстановки номеров частотных отсчетов. Устройство, реализующее предлагаемый способ для формирования физического спектра сигнала, содержит последовательно соединенные блок матричного представления временных отсчетов 1, блок БПФ 2 и блок разрядной расстановки номеров частотных отсчетов 4, выход которого является выходом устройства. Кроме того, выход блока управления 3 соединен с управляющими входами блока матричного представления временных отсчетов 1, блока БПФ 2 и блока разрядной расстановки номеров частотных отсчетов 4. При этом вход блока матричного представления временных отсчетов 1 является входом устройства, а вход блока управления 3 является управляющим входом сигналов начальных установок. Работает предлагаемое устройство следующим образом. Предварительно согласно с заданными требованиями в соответствии с сигналами начальных установок на управляющем входе в блоке управления 3 формируют сигналы управления, которые обеспечивают оптимальную стратегию для выбора структуры исследуемого сигнала и алгоритма обработки в блоке БПФ 2 и в блоке разрядной расстановки номеров частотных отсчетов 4. В соответствии с этими сигналами на входе БПФ 2 из вектора входного дискретного сигнала, следующего в прямом порядке, в блоке матричного представления временных отчетов 1 формируют построчно в прямом порядке оптимальную структуру исследуемого сигнала в матричном виде, а в блоке разрядной расстановки номеров частотных отсчетов 4 назначают соответствующий порядок (режим) обработки отсчетов дискретного частотного сигнала с выхода БПФ 2. В результате на выходе блока разрядной расстановки номеров частотных отсчетов 4 получают сформированный в прямом порядке следования вектор - массив отсчетов спектральных составляющих, то есть физический спектр исследуемого сигнала. Для создания на практике заявляемого способа формирования физического спектра исследуемого дискретного сигнала с учетом предлагаемой процедуры расстановки элементов выходного массива БПФ в прямом порядке возможны следующие варианты его реализации: 1) на базе аппаратных средств; 2) на базе программных средств цифровой обработки сигнала. При этом принципы построения заявляемого устройства на базе цифровой обработки, допустимость программной реализации алгоритмов дают возможность для их реализации применять, например, высокопроизводительные, гибко перепрограммируемые специализированные цифровые сигнальные процессоры (digital signal processor (DSP)) и быстродействующие программируемые логические интегральные схемы (ПЛИС, Field Programmable Gate Array (FPGA)), например, типов 1892BM3E (Multicore), 1892ВМ10Я (NVcom) и FPGAs, Virtex-7 и их перспективные версии. По результатам сравнительного анализа структурных схем устройства-прототипа и предлагаемого устройства для формирования физического спектра сигнала, приведенных на фиг. 2 и фиг. 3, можно выделить общую -ограничительную часть, включающую блок БПФ и отличительную часть, включающую блок матричного представления временных отсчетов, блок разрядной расстановки номеров частотных отсчетов и блок управления. Полученный технический результат заключается в уменьшении времени формирования физического спектра исследуемого составного дискретного сигнала и соответственно в сокращении суммарного времени его анализа. Данный результат достигается за счет представления одномерного массива входных временных отсчетов двумерным массивом, использования двумерного БПФ и разрядной расстановки частотных отсчетов выходного двумерного массива быстрого преобразования Фурье в выходной вектор с размещением его элементов в прямом порядке. При этом данная процедура выполняется в соответствии с оптимизированным адаптивным управлением, полученным на основании априорных данных о параметрах исследуемого составного дискретного сигнала. Кроме того, предлагаемое техническое решение позволяет максимально сократить время обработки за счет искусственного адаптивного изменения протяженности обрабатываемых дискретных сигналов для обеспечения длины БПФ, кратной степени двойки. Таким образом, гарантируется минимизация времени обработки сигнала и обеспечивается экономия программных и аппаратных затрат при реализации заявляемого устройства. Литература 1. Рабинер Л., Гоулд Б. Теория и применение цифровой обработки сигналов / Л. Рабинер, Б. Гоулд: пер. с англ. под ред. Ю.Н. Александрова. - М: Издательство «Мир», 1978. - 850 с. 2. Айфичер, Эммануил С., Джервис, Барри У. Цифровая обработка сигналов: практический подход, 2-е издание: пер. с англ. - М.: Издательский дом "Вильяме", 2004. - 992 с. 3. Блейхут Р. Быстрые алгоритмы цифровой обработки сигналов / Р. Блейхут: пер. с англ. - М.: Мир, 1989. - 448 с. 4. Диксон Р.К. Широкополосные системы / Р.К. Диксон; пер. с англ. под ред. В.В. Маркова. - М.: Связь, 1979. - 302 с. 5. Варакин Л.Е. Системы связи с шумоподобными сигналами / Л.Е. Варакин. - М.: Радио и связь, 1985. - 384 с. 6. Пухальский Г.И., Новосельцева Т.Я. Цифровые устройства: Учебное пособие для втузов / Г.И. Пухальский, Т.Я. Новосельцева. - СПб: Политехника, 1996. - 885 с. 7. Сергиенко А.Б. Цифровая обработка сигналов / А.Б. Сергиенко. Учебник для вузов. - СПб: Питер, 2003. - 608 с. 8. Ануфриев И.Е., Смирнов А.Б., Смирнова Е.Н. MATLAB 7 / И.Е. Ануфриев, А.Б. Смирнов, Е.Н. Смирнова - СПб: БХВ - Петербург, 2005. - 1104 с. 9. Шелест А.Е. Микрокалькуляторы в физике: Справочное пособие / А.Е. Шелест. - М.: Наука, 1988. - 272 с. 10. Cooley, J.W. and J.W. Tukey, "An Algorithm for the Machine Computation of the Complex Fourier Series," Mathematics of Computation, Vol. 19, April 1965, pp. 297-301.



- текущий номер позиции элемента выходного вектора, col и lin номер текущего столбца и строки в матрице М соответственно. В результате выполнения данного алгоритма формируется вектор А физического спектра входного сигнала. Блок-схема данного алгоритма [9, С. 25] представлена на фиг. 6.