патент
№ RU 2667251
МПК F02C7/00

Коробка приводных агрегатов

Авторы:
Стяжков Константин Андреевич
Номер заявки
2017135497
Дата подачи заявки
05.10.2017
Опубликовано
18.09.2018
Страна
RU
Как управлять
интеллектуальной собственностью
Чертежи 
3
Реферат

[19]

Изобретение относится к области авиадвигателестроения, в частности к элементам маслосистемы авиационного газотурбинного двигателя. Коробка приводных агрегатов содержит зубчатое колесо, патрубок, подшипники, центробежную крыльчатку с лопатками. Центробежная крыльчатка с лопатками содержит обечайку с возможностью образования внутренних полостей, окна для входа газомасляной смеси и выхода воздуха, сброса масла, лопатки выполнены разной длины и расположены под углами α и β к оси вращения зубчатого колеса. Кроме того, центробежная крыльчатка может содержать лопатки криволинейной формы. Кроме того, центробежная крыльчатка может содержать не менее двух последовательно расположенных ступеней разделения масла и воздуха. Выполнение предлагаемого изобретения позволяет улучшить технологию сборки, уменьшить габариты и массу коробки приводных агрегатов, повысить эффективность сепарирования масла. 2 з.п. ф-лы, 5 ил.

Формула изобретения

1. Коробка приводных агрегатов, содержащая зубчатое колесо, патрубок, подшипники, центробежную крыльчатку с лопатками, отличающаяся тем, что центробежная крыльчатка с лопатками содержит обечайку с возможностью образования внутренних полостей, окна для входа газомасляной смеси и выхода воздуха, сброса масла, лопатки выполнены разной длины и расположены под углами α и β к оси вращения зубчатого колеса.

2. Коробка приводных агрегатов по п. 1, отличающаяся тем, что центробежная крыльчатка содержит лопатки криволинейной формы.

3. Коробка приводных агрегатов, по п. 1, отличающаяся тем, что центробежная крыльчатка содержит не менее двух последовательно расположенных ступеней разделения масла и воздуха.

Описание

[1]

Изобретение относится к области авиадвигателестроения, в частности к элементам маслосистемы авиационного газотурбинного двигателя (ГТД).

[2]

Известна конструкция центробежного суфлера, содержащая корпус и установленную в нем осевую крыльчатку (Патент RU №2551454, МПК F02C 7/06, опубл. 27.05.2015). Недостатком известного суфлера является наружное расположение корпуса центробежного суфлера, который вместе с элементами крепления к корпусу коробки приводных агрегатов и клапаном перепуска масла занимает значительную площадь и не позволяет более компактно разместить соседние агрегаты, тем самым увеличивая габариты и массу коробки приводных агрегатов (далее КПА). Кроме того, наличие маслосбрасывающей резьбы в корпусе суфлера повышает трудоемкость и себестоимость его изготовления.

[3]

Также известна конструкция центробежного суфлера, в которой имеется зубчатое колесо с установленной на него крыльчаткой (Патент RU №2548228, МПК F02C 7/06, опубл. 20.04.2015). Недостатком известного центробежного суфлера также является наружное расположение корпуса центробежного суфлера, который вместе с элементами крепления к корпусу КПА и штуцером входа газомасляной смеси занимает значительную площадь и не позволяет более компактно разместить соседние агрегаты, тем самым увеличивая габариты и массу КПА. Наличие винтовой канавки также увеличивают трудоемкость и себестоимость его изготовления.

[4]

Наиболее близким к предлагаемому изобретению по технической сущности и достигаемому техническому результату, и выбран авторами за прототип, является коробка приводных агрегатов (Патент RU №2547539, МПК F02C 7/06, опубл. 10.04.2015). Недостатком прототипа является наличие присоединенного к КПА кожуха центробежного суфлера, который вместе с элементами крепления к корпусу КПА и фланцем перепуска масла занимает значительную площадь и не позволяет более компактно разместить соседние агрегаты, тем самым увеличивая габариты и массу КПА.

[5]

Технической задачей предлагаемого изобретения является улучшение технологии сборки, уменьшение габаритов коробки приводных агрегатов при обеспечении эффективности сепарирования масла.

[6]

Техническая задача решается тем, что коробка приводных агрегатов, содержащая зубчатое колесо, патрубок, подшипники, центробежную крыльчатку с лопатками, согласно изобретения, центробежная крыльчатка с лопатками содержит обечайку, с возможностью образования внутренних полостей, окна для входа газомасляной смеси и выхода воздуха, сброса масла, лопатки выполнены разной длины и расположены под углами α и β к оси вращения зубчатого колеса.

[7]

Кроме того, согласно изобретения, центробежная крыльчатка содержит лопатки криволинейной формы.

[8]

Кроме того, согласно изобретения, центробежная крыльчатка содержит не менее двух последовательно расположенных ступеней разделения масла и воздуха.

[9]

В предлагаемом изобретении, в отличие от прототипа, центробежный суфлер (без позиции), состоящий из зубчатого колеса и центробежной крыльчатки с лопатками, расположен внутри масляной полости КПА, при этом центробежная крыльчатка содержит обечайку и окна для входа газомасляной смеси и разделения ее, выхода воздуха и сброса масла, с возможностью образования внутренних полостей, и разным угловым расположением лопаток к оси зубчатого колеса, что улучшает эффективность сепарирования масла, упрощает технологию сборки за счет уменьшения количества деталей. Расположение центробежного суфлера внутри коробки приводных агрегатов уменьшает габариты коробки, поскольку исключен кожух центробежного суфлера.

[10]

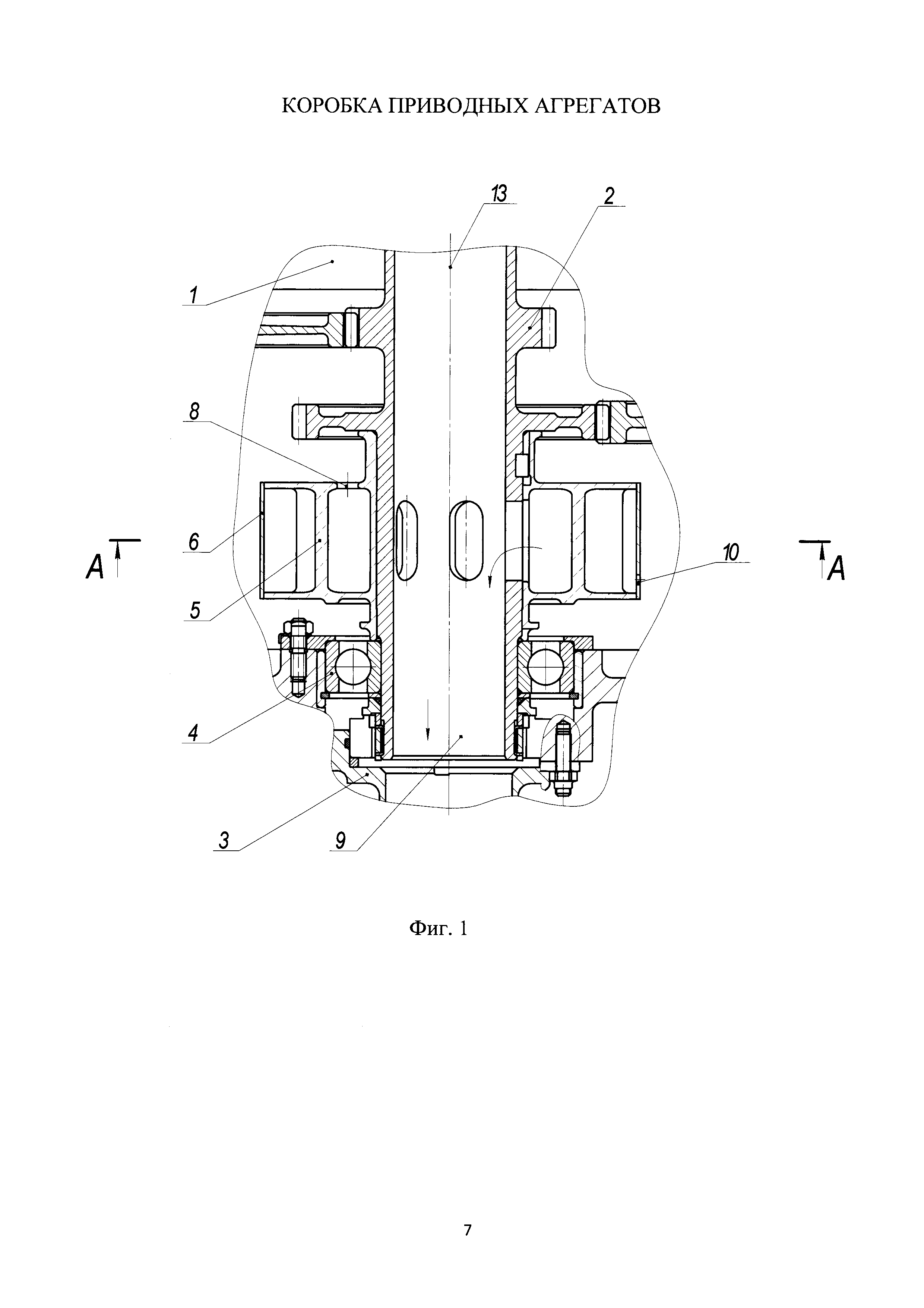
На фиг. 1 представлено устройство коробки приводных агрегатов в разрезе.

[11]

На фиг. 2 представлена центробежная крыльчатка в разрезе.

[12]

На фиг. 3 представлена центробежная крыльчатка сбоку в сборе.

[13]

На фиг. 4 представлена центробежная крыльчатка с лопатками криволинейной формы.

[14]

На фиг. 5 представлена центробежная крыльчатка с двумя последовательно расположенными ступенями разделения масла и воздуха.

[15]

Коробка приводных агрегатов 1 (Фиг. 1, Фиг. 2, Фиг. 3) содержит зубчатое колесо 2, патрубок 3, подшипники 4, центробежную крыльчатку 5 с лопатками 7, центробежная крыльчатка 5 содержит обечайку 6 с возможностью образования полостей, а также окно 8 для входа газомасляной смеси, окно выхода воздуха 9 и отверстий сброса отделенного масла 10, лопатки 7 крыльчатки 5 выполнены разной длины 11, 12, и расположены под углами α и β к оси 13 зубчатого колеса 2.

[16]

Устройство коробки приводных агрегатов работает следующим образом.

[17]

Центробежный суфлер (без позиции), размещенный в корпусе 1 коробки приводных агрегатов, содержит зубчатое колесо 2 с установленной на нем центробежной крыльчаткой 5. Центробежная крыльчатка имеет обечайку 6 и лопатки 7 разной длины 11, 12, расположенные под разными углами α и β к оси зубчатого колеса 2, в результате чего образуются соседние сообщающиеся полости, окна в которых обеспечивают вход газомасляной смеси 8 из полости КПА, выход воздуха 9 и сброса отделенного масла через отверстия 10. При обтекании потоком газомасляной смеси стенок «короткой» лопатки 11 происходит плавное перемещение потока от корневой части лопаток крыльчатки к периферийной, где напряженность поля центробежных сил выше и процесс разделения масла от газов становится более эффективным. Для сброса отделенного масла в обечайке имеются специальные отверстия 10, а на валу крыльчатки имеются отверстия 9, совмещенные с отверстиями в зубчатом колесе 2, в которые под действием избыточного давления удаляется очищенный от масла воздух. На Фиг. 1 представлена одна ступень разделения масла и воздуха. Поскольку центробежный суфлер (без позиции) расположен внутри масляной полости, на наружной поверхности корпуса КПА имеется только патрубок 3 для выхода воздуха, имеющий значительно меньшие габариты, чем при использовании центробежного суфлера с наружным расположением кожуха. Благодаря этому, на наружной поверхности можно расположить агрегаты более компактно, а это в свою очередь уменьшает габариты всей коробки приводных агрегатов. Кроме того, центробежная крыльчатка может содержать лопатки криволинейной формы (Фиг. 4), которые обеспечивают удаление отверстия сброса удаленного масла от окна выхода воздуха и тем самым улучшают сепарирование масла. Кроме того, центробежная крыльчатка может содержать не менее двух последовательно расположенных ступеней отделения масла и воздуха (Фиг. 5), в которых окна выхода воздуха первой ступени являются входными окнами второй ступени, а в последней ступени окна выхода воздуха расположены на валу центробежной крыльчатки. В обечайке каждой ступени имеются отверстия для сброса масла. Эта конструкция также улучшает сепарирование масла.

[18]

Таким образом, выполнение предлагаемого изобретения с вышеуказанными отличительными признаками, в совокупности с известными признаками, позволяет улучшить технологию сборки, уменьшить габариты и массу коробки приводных агрегатов, повысить эффективность сепарирования масла.

Как компенсировать расходы
на инновационную разработку
Похожие патенты