патент
№ RU 2648652
МПК B60L11/00

ЭЛЕКТРОМЕХАНИЧЕСКАЯ ТРАНСМИССИЯ МАШИНЫ С ДВИГАТЕЛЕМ ВНУТРЕННЕГО СГОРАНИЯ

Авторы:
Коровин Владимир Андреевич
Номер заявки
2017112868
Дата подачи заявки
13.04.2017
Опубликовано
27.03.2018
Страна
RU
Как управлять
интеллектуальной собственностью
Чертежи 
2
Реферат

Изобретение относится к промышленным и сельскохозяйственным машинам. Электромеханическая трансмиссия машины с двигателем внутреннего сгорания содержит тяговый генератор и электродвигатель, тормозной резистор и систему управления с контроллером и силовыми электронными ключами. Силовой ключ подключает тормозной резистор к силовым шинам. Тормозной резистор размещен в потоке воздуха вентилятора двигателя. Также имеется устройство управления тормозным резистором. Составные части системы управления питаются от напряжения на силовых шинах, которые изолированы от корпуса машины. Система оснащена устройством симметрирования, для поддержания равных напряжений на силовых шинах. Также имеется устройство контроля сопротивления изоляции силовых шин и устройством разряда конденсаторов. Силовые электронные ключи выполнены в виде двух или более параллельно соединенных модулей на основе биполярных транзисторов с изолированным затвором и содержат встроенные датчики температуры. Силовые ключи имеют испарительное охлаждение или установлены на плиту жидкостного охлаждения. Повышается надежность трансмиссии. 7 з.п. ф-лы, 3 ил.

Формула изобретения

1. Электромеханическая трансмиссия машины с двигателем внутреннего сгорания (ДВС), содержащая тяговый генератор, который непосредственно или через согласующее устройство механически соединен с ДВС и приспособлен для преобразования по меньшей мере части механической энергии ДВС в электрическую энергию, передаваемую на силовые шины, по меньшей мере один тяговый электродвигатель, приспособленный для преобразования электрической энергии в механическую и связанный непосредственно или по меньшей мере через одно передаточное устройство по меньшей мере с одной гусеницей или с одним ведущим колесом машины, по меньшей мере один тормозной резистор и систему управления, в состав которой входят по меньшей мере один контроллер, а также силовые электронные ключи, приспособленные для передачи электрической энергии от силовых шин на обмотки по меньшей мере одного тягового электродвигателя и/или тягового генератора под управлением по меньшей мере одного контроллера, и по меньшей мере один силовой ключ, приспособленный для подключения по меньшей мере одного тормозного резистора к силовым шинам, причем силовые электронные ключи и по меньшей мере один силовой ключ выполнены в виде отдельных составных частей системы управления или входят в состав по меньшей мере одного контроллера, отличающаяся тем, что в ней реализовано по меньшей мере одно из следующих технических решений:

а) по меньшей мере один тормозной резистор размещен в потоке воздуха, создаваемого вентилятором, соединенным с ДВС, и приспособлен для воздушного охлаждения;

б) система управления дополнительно содержит автономное устройство управления по меньшей мере одним тормозным резистором, которое выполнено с возможностью формирования сигналов включения и отключения силового ключа, соединенного с этим тормозным резистором, в зависимости от величины напряжения на силовых шинах без использования управляющих сигналов контроллера;

в) составные части системы управления, использующиеся для подключения по меньшей мере одного тормозного резистора к силовым шинам, выполнены с возможностью их работы без источника питания или с питанием от напряжения на силовых шинах;

г) силовые шины изолированы от корпуса машины, а система управления дополнительно оснащена устройством симметрирования, выполненным с возможностью поддержания равных по абсолютной величине напряжений на положительной и отрицательной силовых шинах относительно корпуса машины;

д) силовые шины изолированы от корпуса машины, а система управления дополнительно оснащена устройством контроля сопротивления изоляции силовых шин относительно корпуса машины, выполненным с возможностью формирования информационного или управляющего сигнала в случае недопустимого снижения величины этого сопротивления;

е) система управления дополнительно оснащена устройством разряда конденсаторов, подключенных к силовым шинам и приспособленных для сглаживания напряжения на этих шинах и/или для использования в качестве накопителя энергии;

ж) силовые электронные ключи выполнены в виде двух или более параллельно соединенных модулей, реализованных на основе биполярных транзисторов с изолированным затвором, причем каждый модуль оснащен отдельным драйвером, соединенным по меньшей мере с одним контроллером;

з) силовые электронные ключи содержат встроенные датчики температуры, соединенные с контроллером, который выполнен с возможностью изменения алгоритма и/или параметров сигналов управления силовыми электронными ключами таким образом, чтобы их температуры были равными или температура каждого их них не превышала предельно допустимой величины;

и) силовые электронные ключи имеют испарительное охлаждение и/или установлены на плиту жидкостного охлаждения с двух сторон этой плиты.

2. Электромеханическая трансмиссия по п. 1, отличающаяся тем, что тяговый генератор приспособлен для передачи электрической энергии на силовые шины непосредственно, или через силовой выпрямитель, или через силовой преобразователь.

3. Электромеханическая трансмиссия по п. 1, отличающаяся тем, что автономное устройство управления тормозным резистором выполнено в виде двухпозиционного гистерезисного регулятора, приспособленного для формирования сигналов включения силового ключа, если напряжение на силовых шинах превышает предварительно установленную максимальную величину, и отключения силового ключа при снижении этого напряжения до предварительно установленной минимальной величины.

4. Электромеханическая трансмиссия по п. 1, отличающаяся тем, что устройство симметрирования выполнено в виде цепочки последовательно соединенных резисторов, подключенной к силовым шинам, причем средняя точка этой цепочки соединена с корпусом машины непосредственно или через датчик тока, соединенный с контроллером и приспособленный для контроля сопротивления изоляции между силовыми шинами и корпусом машины.

5. Электромеханическая трансмиссия по п. 4, отличающаяся тем, что величины сопротивлений резисторов в устройстве симметрирования выбраны таким образом, чтобы ток, протекающий от любой силовой шины на корпус машины при прикосновении к этой шине человека-оператора, не превышал безопасной для него величины.

6. Электромеханическая трансмиссия по п. 1, отличающаяся тем, что устройство разряда конденсаторов выполнено в виде резистора или группы соединенных между собой резисторов, подключенного/подключенных к силовым шинам.

7. Электромеханическая трансмиссия по п. 1, отличающаяся тем, что модули, выполненные на основе биполярных транзисторов с изолированным затвором, содержат встроенные датчики температуры и оснащены отдельными драйверами, а контроллер выполнен с возможностью формирования сигналов управления драйверами таким образом, чтобы модули имели равную температуру или чтобы температура каждого модуля не превышала предельно допустимую величину.

8. Электромеханическая трансмиссия по п. 7, отличающаяся тем, что контроллер приспособлен для изменения порядка формирования сигналов управления драйверами, и/или частоты, и/или скважности этих сигналов.

Описание

[1]

Изобретение относится к промышленным и сельскохозяйственным тракторам, погрузчикам, автогрейдерам, вездеходам и другим гусеничным и колесным самоходным машинам с электромеханической трансмиссией, предназначенным для выполнения землеройных, строительных, дорожных, транспортных, сельскохозяйственных и других работ.

[2]

Известна гибридно-электрическая трансмиссия машины с приводным двигателем внутреннего сгорания (ДВС), содержащая генератор, соединенный с ДВС, выпрямитель, подключенный к генератору, шины постоянного тока (DC), инверторы, подключенные к этой шине и по меньшей мере к одному тяговому электродвигателю, а к также тормозные резисторы, подключаемые к силовой шине с помощью автоматических переключателей. Для охлаждения тормозных резисторов в трансмиссии установлен вентилятор с приводом от электродвигателя, соединенного инвертором (US 8054016 В2, H02P 23/14, H02P 3/18, 08.11.2011).

[3]

Аналогичное техническое решение реализовано на самосвале БелАЗ-75600. В его трансмиссии реализовано электродинамическое торможение тяговыми двигателями, работающими в генераторном режиме с отводом теплоты через вентилируемые тормозные резисторы УВТР 2x2000 (Карьерный самосвал БелАЗ-75600. Руководство по эксплуатации. РУПП «Белорусский автомобильный завод», г. Жодино, 2008 г.).

[4]

Недостатком этой электромеханической трансмиссии является ее повышенная сложность и, соответственно, пониженная надежность, обусловленная применением отдельного привода вентилятора тормозных резисторов.

[5]

Наиболее близкой к предложенной является электромеханическая трансмиссия машины с двигателем внутреннего сгорания (ДВС), содержащая тяговый генератор (мехатронный генераторный модуль), который соединен с ДВС и преобразует его механическую энергию в электрическую, передаваемую на силовые шины, тяговые электродвигатели (мехатронные тяговые модули), приспособленные для привода ведущих колес или гусениц машины, а также тормозной резистор и систему управления, в состав которой входят органы управления трансмиссией (движением машины), микропроцессорные контроллеры, силовые электронные ключи, обеспечивающие передачу электрической энергии от силовых шин на обмотки тягового генератора и тяговых электродвигателей, и силовой ключ, приспособленный для подключения тормозного резистора к силовым шинам. Тормозной резистор, мехатронный генераторный модуль и мехатронные тяговые модули имеют общую систему жидкостного охлаждения, объединенную с системой охлаждения ДВС. При этом сигналы управления силовым ключом тормозного резистора поступают от устройства управления мехатронного модуля (электронного регулятора или микропроцессорного контроллера) и/или с шины последовательной цифровой передачи данных (RU 2550408 C1, B60L 11/00, B60K 17/354, B62D 11/00, 10.05.2015).

[6]

Недостатком известного устройства-аналога является пониженная надежность, обусловленная применением жидкостного охлаждения тормозного резистора. Причина этого заключается в том, что при длительном торможении машины возможно повышение температуры поверхности тормозного резистора выше точки кипения охлаждающей жидкости, что приводит к нарушению работоспособности системы охлаждения электромеханической трансмиссии и, соответственно, к ее выходу из строя. Кроме того, при работе машины происходит воздействие вибраций и ударов на гидравлические элементы системы жидкостного охлаждения тормозного резистора, что может привести к нарушению их герметичности и утечке охлаждающей жидкости. Это также приводит к снижению надежности электромеханической трансмиссии.

[7]

Относительно невысокая надежность трансмиссии-аналога обусловлена также тем, что в ней не реализованы технические решения, направленные на снижение напряжения на силовых шинах относительно корпуса («массы») машины, на защиту от перенапряжений на этих шинах при сбоях в работе микропроцессорных контроллеров и от обрыва цепей питания устройства управления тормозным резистором, на улучшение тепловых режимов работы силовых электронных ключей и т.д.

[8]

Задачей изобретения является создание электромеханической трансмиссии машины с ДВС, обладающей повышенной надежностью. Дополнительной задачей изобретения является повышение безопасности ее работы.

[9]

Поставленные задачи решаются благодаря тому, что в электромеханической трансмиссии машины с ДВС, содержащей тяговый генератор, который непосредственно или через согласующее устройство соединен с ДВС и приспособлен для преобразования механической энергии ДВС в электрическую энергию, передаваемую на силовые шины, тяговые электродвигатели, преобразующие электрическую энергию в механическую и связанные непосредственно или через передаточные устройства с гусеницами или ведущими колесами машины, тормозной резистор и систему управления, в состав которой входят по меньшей мере один контроллер, преимущественно микропроцессорный, силовые электронные ключи, приспособленные для передачи электрической энергии от силовых шин на обмотки тяговых электродвигателей и/или тягового генератора под управлением соответствующего контроллера, а также силовой ключ, приспособленный для подключения тормозного резистора к силовым шинам, дополнительно реализовано одно или одновременно несколько следующих технических решений в их любом сочетании:

[10]

- тормозной резистор размещен в воздушном потоке вентилятора ДВС;

[11]

- система управления содержит автономное (не зависящее от работы контроллера и других компонентов электромеханической трансмиссии) устройство управления тормозным резистором, обеспечивающее включение и отключение силового ключа в зависимости от величины напряжения на силовых шинах;

[12]

- составные части системы управления, использующиеся для управления тормозным резистором, приспособлены для работы без источника питания или с питанием от напряжения на силовых шинах;

[13]

- силовые шины изолированы от корпуса («массы») машины, а система управления оснащена устройством симметрирования, обеспечивающим поддержание равных по абсолютной величине напряжений на положительной и отрицательной силовых шинах относительно корпуса («массы») машины;

[14]

- силовые шины изолированы от корпуса («массы») машины, а система управления оснащена устройством контроля сопротивления изоляции силовых шин относительно этого корпуса («массы»), обеспечивающим формирование информационного или управляющего сигнала в случае недопустимого снижения величины этого сопротивления;

[15]

- система управления оснащена устройством разряда конденсаторов, подключенных к силовым шинам и использующихся для сглаживания напряжения на этих шинах и/или в качестве накопителя энергии;

[16]

- силовые электронные ключи выполнены в виде двух или более параллельно соединенных модулей, реализованных на основе биполярных транзисторов с изолированным затвором (БТИЗ, IGBT), причем каждый модуль оснащен отдельным драйвером, соединенным с соответствующим контроллером;

[17]

- силовые электронные ключи содержат встроенные датчики температуры, соединенные с контроллером, который выполнен с возможностью изменения алгоритма (порядка управления), и/или частоты, и/или скважности сигналов управления силовыми электронными ключами из условия обеспечения равенства их температур или предотвращения перегрева какого-либо силового электронного ключа;

[18]

- силовые электронные ключи имеют испарительное охлаждение и/или установлены на плиту жидкостного охлаждения с двух сторон этой плиты.

[19]

В частных вариантах реализации изобретения, в целях дальнейшего повышения надежности и безопасности работы электромеханической трансмиссии, тяговый генератор может быть соединен с силовыми шинами непосредственно, через силовой выпрямитель или силовой преобразователь. Устройство автономного управления тормозным резистором может быть выполнено в виде двухпозиционного гистерезисного регулятора, а устройство симметрирования - в виде цепочки последовательно соединенных резисторов, подключенной к силовым шинам и соединенной своей средней точкой с корпусом («массой») машины непосредственно или через датчик тока, используемый для контроля сопротивления изоляции между силовыми шинами и корпусом («массой») машины. При этом величины сопротивлений резисторов в устройстве симметрирования выбраны из условия предотвращения поражения человека-оператора электрическим током в случае его прикосновения к какой-либо силовой шине.

[20]

С этой же целью устройство разряда конденсаторов может быть выполнено в виде резистора (группы соединенных между собой резисторов), подключенного к силовым шинам.

[21]

IGBT модули могут быть оснащены встроенными датчиками температуры и отдельными (индивидуальными) драйверами, что позволяет контроллеру реализовать управление этими модулями из условия равенства их температур или предотвращения перегрева каждого модуля. В этом случае контроллер осуществляет, в частности, изменение порядка формирования сигналов управления модулями (драйверами), частоты, и/или скважности этих сигналов.

[22]

Реализация отличительных признаков независимого пункта формулы изобретения обеспечивает получение указанного технического результата. В частности, установка тормозного резистора в воздушном потоке вентилятора ДВС позволяет осуществить его эффективное охлаждение при одновременном упрощении электромеханической трансмиссии, а именно исключает необходимость применения отдельного привода вентилятора. При этом повышение температуры поверхности тормозного резистора выше температуры охлаждающей жидкости ДВС не приводит, по сравнению с жидкостным охлаждением, к отказу системы охлаждения. Исключение гидравлических элементов в системе охлаждения тормозного резистора исключает возможность утечки охлаждающей жидкости в системе охлаждения электромеханической трансмиссии, что также повышает ее надежность.

[23]

Реализация отличительного признака, характеризующегося применением автономного устройства управления тормозным резистором, работа которого не зависит от функционирования контроллера и других компонентов электромеханической трансмиссии, обеспечивает повышение надежности, во-первых, за счет упрощения этого устройства (сокращения линий связи, интерфейсных устройств и т.д.) и, во вторых, за счет исключения перенапряжений на силовых шинах при сбоях в работе контроллера. Последнее обусловлено тем, что при возникновении сбоев в работе контроллера (сбоя программы его работы), например, из-за электромагнитных помех возможно отключение тяговых электродвигателей и, соответственно, мгновенный сброс нагрузки тягового генератора. В этом случае на силовых шинах возникают импульсы перенапряжения, которые могут привести к выходу из строя силовых электронных ключей и к пробою изоляции высоковольтный цепей электромеханической трансмиссии. Использование автономного устройства управления тормозным резистором позволяет исключить эти перенапряжения путем подключения к силовым шинам тормозного резистора независимо от работы контроллера.

[24]

Повышение надежности работы электромеханической трансмиссии в случае, если устройство автономного управления тормозным резистором выполнено из компонентов, не требующих источника питания или получающих питание от силовых шин, обусловлено тем, что в этом случае ограничение перенапряжений на силовых шинах путем подключения к ним тормозного резистора обеспечивается независимо от наличия внешнего источника питания этого устройства. В частности, аварийное отключение напряжения бортовой сети машины или источника питания контроллера, а также обрыв соединительных проводов питания, не приводит к нарушению управления тормозным резистором и, соответственно, не препятствует ограничению напряжения на силовых шинах.

[25]

Следующие альтернативные отличительные признаки изобретения характеризуются применением в электромеханической трансмиссии силовых шин, изолированных от корпуса («массы») машины, а также устройства симметрирования, обеспечивающего поддержание равных по абсолютной величине напряжений на положительной и отрицательной силовых шинах относительно корпуса («массы») машины. Благодаря этому напряжение как на положительной, так и на отрицательной силовых шинах относительно корпуса («массы») машины не превышает половины рабочего напряжения на этих шинах. Например, если тяговый генератор обеспечивает напряжение на силовых шинах +550 В, то напряжение положительной шины относительно корпуса («массы») машины составит +550 В/2=+275 В, а отрицательной шины - минус 275 В. Указанное снижение напряжения обеспечивает повышение надежности электромеханической трансмиссии, поскольку снижает вероятность повреждения изоляции как самих силовых шин, так и электрических машин, обмотки которых подключаются к этим шинам. Одновременно обеспечивается повышение безопасности работы электромеханической трансмиссии, поскольку снижается вероятность поражения человека-оператора электрическим током за счет более низкого напряжения на силовых шинах относительно корпуса машины, а также исключения поражения электрическим током в случае прикосновения человека-оператора к любой (одной) силовой шине.

[26]

Реализация следующего отличительного признака изобретения, предусматривающего контроль сопротивления изоляции силовых шины относительно корпуса («массы») машины с соответствующим формированием информационного или управляющего сигнала в случае недопустимого снижения величины этого сопротивления, позволяет своевременно выявить ухудшение (деградацию) изоляции высоковольтных цепей электромеханической трансмиссии, что дает возможность своевременно провести профилактические работы и, благодаря этому, повысить надежность работы электромеханической трансмиссии. Одновременно повышается безопасность ее работы.

[27]

Надежность работы электрооборудования, как известно, зависит от длительности приложенного к нему напряжения. Система управления электромеханической трансмиссии содержит конденсаторы различного назначения, подключенные к силовым шинам - конденсаторы, использующиеся для сглаживания пульсаций выходного напряжения тягового генератора, снабберные конденсаторы силовых электронных ключей, конденсаторы накопителя энергии торможения и т.д. После остановки ДВС ток, потребляемый системой управления, имеет минимальную величину. Соответственно, напряжение на силовых шинах сохраняется достаточно длительное время за счет энергии, накопленной в конденсаторах. Это приводит к увеличению времени, в течение которого высоковольтные компоненты электромеханической трансмиссии находятся под напряжением, и к снижению надежности электромеханической трансмиссии. Подключение к указанным конденсаторам (к силовым шинам) устройства их разряда, в частности, разрядных резисторов, приводит к сокращению этого времени и к соответствующему повышению надежности и безопасности работы трансмиссии.

[28]

В электромеханической трансмиссии, характеризующейся следующими альтернативными отличительными признаками изобретения, предусматривается реализация силовых электронных ключей в виде двух или более параллельно соединенных IGBT (БТИЗ) модулей, причем с установкой отдельных драйверов для каждого модуля. Это техническое решение неизвестно из уровня техники, поскольку ранее в системах управления трансмиссий при параллельном соединении IGBT модулей (транзисторов) использовались общие драйверы, а именно, контроллер осуществлял управление группой параллельно соединенных IGBT модулей с помощью одного (общего) драйвера. Реализация данного технического решения обеспечивает повышение надежности электромеханической трансмиссии за счет резервирования не только силовых IGBT модулей, но и их драйверов, а также за счет разделения источников тепла, выделяемого модулями и драйверами и соответствующего улучшения их теплового режима.

[29]

Еще одно альтернативное техническое решение, соответствующее следующим отличительным признакам формулы изобретения, предусматривает использование силовых электронных ключей со встроенными датчиками температуры, а также управление этими ключами с помощью контроллера из условия обеспечения равенства температур силовых ключей либо предотвращения перегрева одного из них.

[30]

Из уровня техники известно управление силовыми электронными ключами из условия достижения необходимых уровней токов или напряжений на выходе силового преобразователя (инвертора, коммутатора). В предложенном устройстве, в отличие от известных, осуществляется изменение алгоритма (порядка управления), частоты, и/или скважности сигналов управления силовыми электронными ключами из условия достижения их безопасного теплового режима. Например, при превышении предельно-допустимой температуры какого-либо силового электронного ключа осуществляется понижение частоты широтно-импульсного сигнала (ШИМ) управления этим ключом, что приводит к снижению динамических потерь в этом ключе и к снижению его температуры. Это обеспечивает повышение надежности электромеханической трансмиссии.

[31]

В электромеханической трансмиссии, реализованной в соответствии с последними указанными альтернативными признаками изобретения, силовые электронные ключи системы управления имеют испарительное охлаждение и/или установлены на плиту жидкостного охлаждения с двух сторон этой плиты. Применение испарительного охлаждения позволяет исключить связь системы охлаждения силовых электронных ключей с системой охлаждения ДВС, повысить эффективность охлаждения и исключить необходимость применения циркуляционного насоса, поскольку пар испарившейся жидкости самостоятельно поднимается вверх до радиатора системы охлаждения и далее сконденсировавшаяся охлаждающая жидкость под собственным весом поступает на силовые электронные ключи или устройства их охлаждения. Это техническое решение обеспечивает повышение надежности электромеханической трансмиссии за счет упрощения ее конструкции и улучшения теплового режима силовых электронных ключей.

[32]

Установка силовых электронных ключей на плиту жидкостного охлаждения с двух сторон этой плиты (один над другим) позволяет снизить расстояние между этими ключами до минимально возможного, что приводит к сокращению длин силовых шин и уровня электромагнитных помех, создаваемых токами, протекающими в этих шинах. Это позволяет повысить помехоустойчивость системы управления электромеханической трансмиссии и, соответственно, ее надежность.

[33]

В предложенной электромеханической трансмиссии может быть реализован как один из указанных отличительных признаков независимого пункта формулы изобретения, так и одновременно несколько отличительных признаков в их любом сочетании, причем реализация каждого из них находится в прямой причинно-следственной связи с достигаемым техническим результатом - повышением надежности электромеханической трансмиссии при одновременном повышении ее безопасности.

[34]

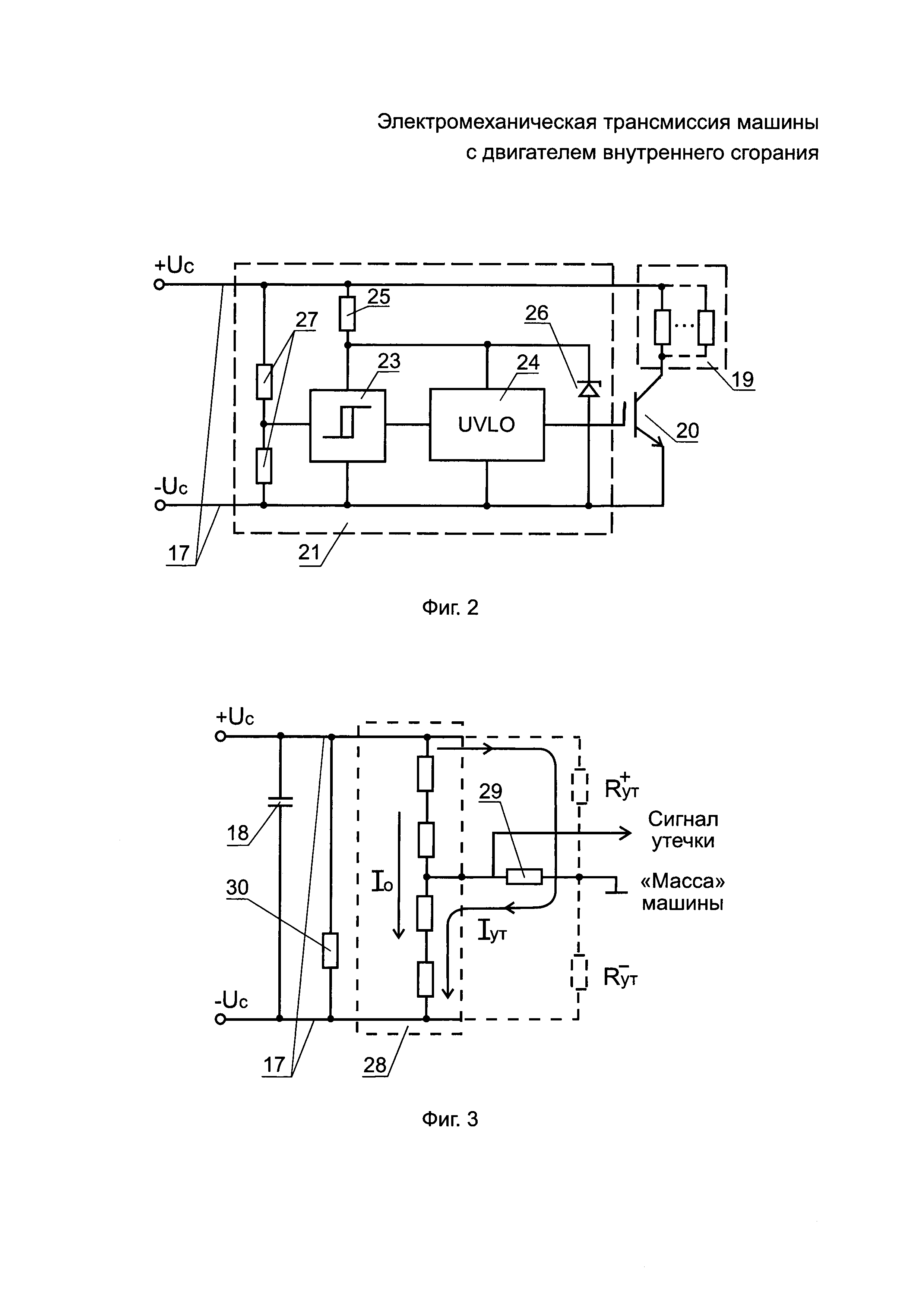
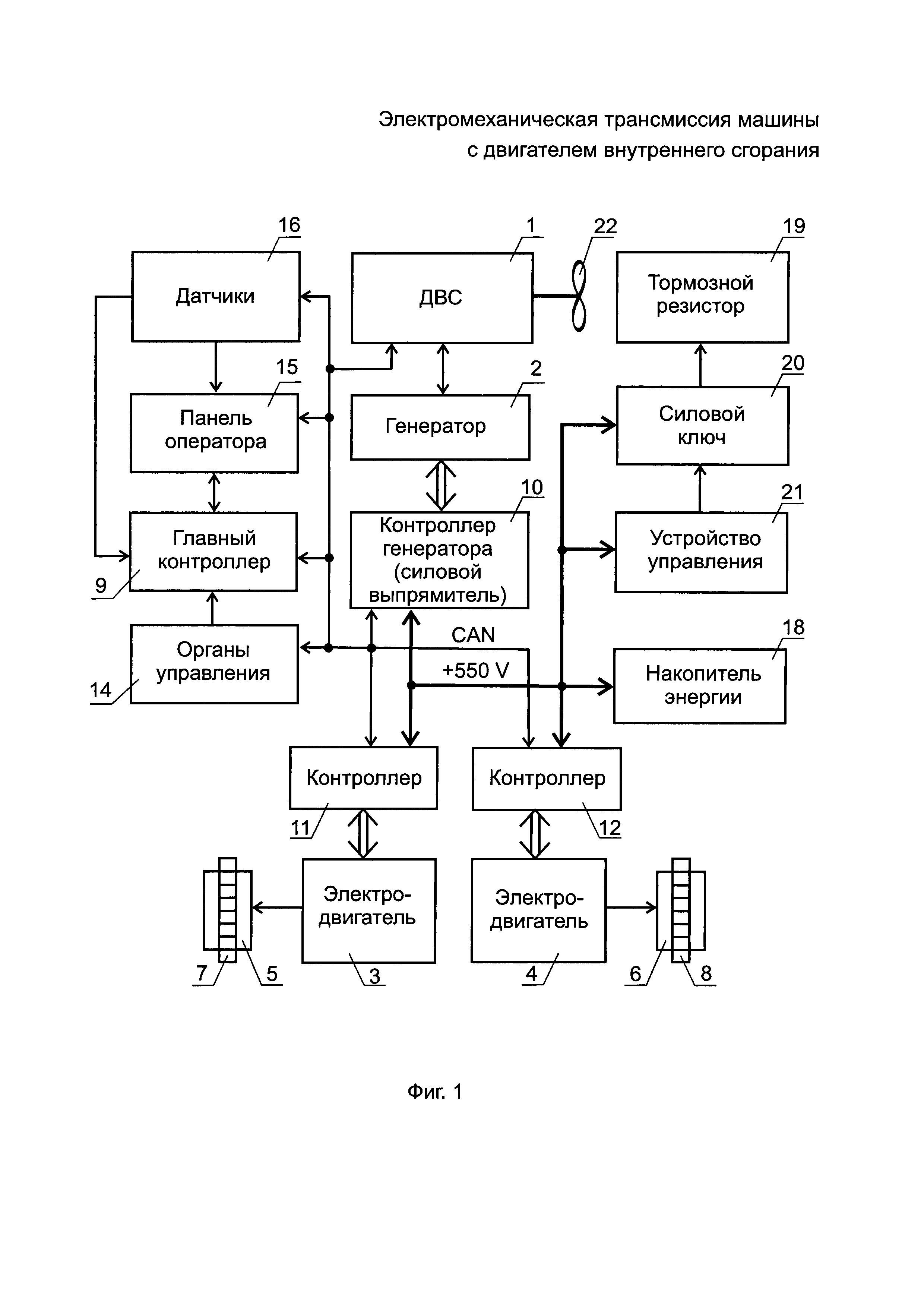
Для пояснения технической сущности, принципа действия и возможности осуществления предложенного устройства на фиг. 1 в качестве примера показана схема электромеханической трансмиссии гусеничной машины. На фиг. 2 - пример реализации автономного устройства управления тормозным резистором. На фиг. 3 - пример реализации устройства симметрирования напряжений на силовых шинах.

[35]

Предложенная электромеханическая трансмиссия используется на машине, в которой роль первичного источника энергии выполняет приводной двигатель 1, выполненный в виде двигателя внутреннего сгорания (ДВС).

[36]

В приведенном примере используется последовательная кинематическая схема моторно-трансмиссионной установки машины, которая исключает механическую связь ДВС с гусеничным движителем.

[37]

ДВС непосредственно или через согласующее устройство - механическую упругую или компенсирующую муфту двигателя, мультипликатор и т.п., соединен с тяговым генератором 2, который является источником электрической энергии для двух тяговых электродвигателей 3 и 4.

[38]

Тяговые электродвигатели встроены в ведущие колеса или ведущие звездочки машины либо соединены с ее бортовыми редукторами 5, 6.

[39]

Возможна также реализация электромеханической трансмиссии с одним тяговым электродвигателем. В этом случае передаточные устройства, с помощью которых осуществляется передача механической энергии от тягового электродвигателя на ведущие колеса или гусеницы машины, кроме бортовых редукторов содержат главную передачу с дифференциальным управлением либо с бортовыми фрикционами и рабочими тормозами, обеспечивающими возможность поворота машины.

[40]

На бортовых редукторах закреплены ведущие колеса (звездочки) 7, 8 гусеничного движителя.

[41]

Система управления электромеханической трансмиссией, которая может именоваться также системой контроля, защиты и управления, системой электрооборудования и т.д., в общем случае включает в себя высоковольтную и низковольтную части этой системы и содержит один или несколько контроллеров, преимущественно микропроцессорных, в частности, главный (ведущий) контроллер 9, контроллер (силовой преобразователь) 10 тягового генератора 2, два контроллера (силовых преобразователя) 11, 12 тяговых электродвигателей 3, 4, органы управления движением машины (трансмиссией) 14, панель оператора (тракториста, водителя) 15, датчики параметров работы электромеханической трансмиссии и машины в целом 16 и приборы низковольтного оборудования (электроснабжения, освещения, звуковой сигнализации и т.д.) и другие устройства, условно не показанные на чертеже.

[42]

Контроллеры (электронные микропроцессорные контроллеры) 9-12 могут именоваться также блоками управления, управляющими устройствами, блоками входов и нагрузок, информационно-управляющими блоками или устройствами и т.д. Контроллеры тяговых электродвигателей 11, 12 могут именоваться также силовыми преобразователями, инверторами и т.д. В их состав входят силовые электронные ключи и силовой ключ тормозного резистора, либо эти ключи (полностью или частично) выполнены в виде отдельных составных частей системы управления трансмиссией.

[43]

Конструкция контроллера 10 тягового генератора 2 зависит от конструкции этого генератора. В частности, в случае применения асинхронного генератора или синхронного генератора с постоянными магнитами на роторе он может быть выполнен с виде силового управляемого или неуправляемого выпрямителя и может иметь соответствующее наименование. В этом случае контроллер 10 осуществляет преобразование переменного выходного напряжения тягового генератора 2 в постоянное напряжение силовых шин 17 электромеханической трансмиссии, например, 550 В.

[44]

Контроллер 10 тягового генератора 2 обеспечивает также коммутацию его обмоток при работе в режиме электродвигателя при запуске ДВС и при работе в режиме торможения машины двигателем.

[45]

Контроллеры 11 и 12 предназначены для преобразования постоянного напряжения силовых шин 17 в переменное напряжение или однополярные импульсы, которые поступают на фазные обмотки тяговых электродвигателей 3,4. Они содержат силовые электронные ключи, выполненные на основе биполярных транзисторов с изолированным затвором (БТИЗ, IGBT) или IGBT (БТИЗ) модулей, гальванически развязанные драйверы этих транзисторов (модулей), микроконтроллеры или цифровые сигнальные процессоры, а также интерфейсные устройства, приспособленные для управления силовыми электронными ключами и для обмена информацией между контроллерами 9-12, органами управления 14, панелью оператора 15 и датчиками 16.

[46]

Для каждого тягового электродвигателя используется отдельный контроллер (инвертор, преобразователь, коммутатор) 11, 12. Возможна также установка нескольких контроллеров на один тяговый электродвигатель при дроблении мощности по секциям статора электродвигателя либо установка общего контроллера на два тяговых электродвигателя.

[47]

Каждый контроллер (инвертор, преобразователь, коммутатор) 11, 12 имеет высокопроизводительный встроенный микроконтроллер или цифровой сигнальный процессор, обеспечивающий прием сигналов управления и прямое цифровое управление электронными силовыми ключами, выполненными на IGBT транзисторах.

[48]

В зависимости от выполняемых функций и требований к компоновке машины возможно объединение контроллеров 9-12 в единый блок (контроллер, модуль) или их раздельное исполнение. Возможно также конструктивное объединение контроллера генератора (силового выпрямителя) 10 с тяговым генератором 2, а контроллеров (силовых преобразователей) 11, 12 - с тяговыми электродвигателями 3, 4.

[49]

Линии передачи информационных сигналов между контроллерами, органами управления 14, панелью оператора 15 и датчиками 16 выполнены с использованием стандарта промышленной сети CAN (Controller Area Network - сеть контроллеров), ориентированной на объединение в единую сеть различных устройств с использованием последовательного, широковещательного и пакетного режимов передачи. Возможно также применение интерфейсов LIN (Local Interconnection Network), RS-485 (стандарт EIA/TIA) и т.д., а также беспроводных интерфейсов типа ZigBee (стандарт IEEE 802.15.4), Wi-Fi (стандарт IEEE 802.11), Bluetooth (стандарт IEEE 802.15.1) и т.п.

[50]

Органы управления 14 предназначены для формирования сигналов управления трансмиссией и включают в себя, по меньшей мере, один аппарат управления движением машины (джойстик, рулевое колесо и т.п.), соединенный с главным (ведущим) контроллером 9, ключ запуска ДВС, клавишные и кнопочные переключатели, рукоятку управления подачей топлива, педали тормоза и акселератора или десселератора.

[51]

Панель оператора 15, именуемая также панелью контрольно-измерительных приборов, комбинацией приборов, блоком индикации, блоком отображения информации и т.п., выполнена в виде набора электромеханических указателей, графической панели, световых сигнализаторов и т.п. и обеспечивает отображение параметров работы электромеханической трансмиссии и машины в целом, а также формирование аварийных и предупредительных сигналов для оператора. Панель оператора 15 может быть выполнена в виде отдельного блока или совмещена с одним из контроллеров.

[52]

Датчики 16 предназначены для контроля параметров работы машины, в том числе ее электромеханической трансмиссии. К ним относятся датчики температуры и давления в электромеханической трансмиссии и двигателе 1, датчики продольного и поперечного наклона машины (креномеры), положения машины (приемники сигналов GPS/ГЛОНАСС), тягового усилия машины, ускорения, угловых скоростей роторов тяговых электродвигателей 3, 4 и другие датчики.

[53]

Тяговые электродвигатели могут быть асинхронными, синхронными с постоянными магнитами на роторе или реактивным индукторным.

[54]

В последнем случае каждый из них содержит внешний корпус, в котором размещены статор с полюсами и фазными обмотками, выполненными в виде сосредоточенных катушек, размещенных на полюсах шихтованного магнитопровода статора, и ротор с зубчатым магнитопроводом, также выполненным из листов электротехнической стали и закрепленным на его валу. Такие электродвигатели без обмотки возбуждения в русскоязычной литературе называются вентильными индукторными реактивными двигателями (ВРД, ВИД, ВИРД), а в англоязычной литературе - электродвигателями с переменным магнитным сопротивлением: «Switched Reluctance Motor (SRM)».

[55]

Тяговый генератор 2 может иметь конструкцию, аналогичную тяговым электродвигателям 3, 4 или отличающуюся от них.

[56]

К силовым шинам постоянного тока 17 может быть подключен накопитель энергии 18, выполненный на основе аккумуляторов и/или конденсаторов, а также последовательно соединенные тормозной резистор 19 и силовой ключ 20, работающий под управлением автономного устройства управления 21. Этот ключ обеспечивает подключение тормозного резистора 19 к силовым шинам в случае, если напряжение на них превышает максимально допустимую величину.

[57]

Для осуществления жидкостного охлаждения тягового генератора и тяговых электродвигателей в их корпусах (внешней рубашке), в промежутках между катушками или в выемках магнитопроводов статоров установлены трубки с охлаждающей жидкостью, соединенные с системой жидкостного охлаждения ДВС.

[58]

Силовые электронные ключи, выполненные, как правило, в виде IGBT модулей, для обеспечения необходимого теплового режима их работы, либо погружены в непроводящую охлаждающую жидкость, либо установлены на плиты из теплопроводящего материала (алюминия, меди), содержащие каналы для охлаждающей жидкости.

[59]

При этом возможна реализация как испарительного, так и жидкостного охлаждения.

[60]

В первом случае используется жидкость с относительно низкой температурой кипения. Пар испаряющейся жидкости самостоятельно поднимается вверх до радиатора системы охлаждения силовых электронных ключей, где конденсируется. Далее охлаждающая жидкость под собственным весом вновь поступает поступает на силовые электронные ключи или на устройства их охлаждения (плиту). Применение испарительного охлаждения позволяет исключить связь системы охлаждения силовых электронных ключей с системой охлаждения ДВС, повысить эффективность охлаждения и исключить необходимость применения циркуляционного насоса.

[61]

В случае использования традиционного жидкостного охлаждения охлаждающая жидкость подается на радиатор системы охлаждения силовых электронных ключей с помощью циркуляционного насоса.

[62]

Если силовые электронные ключи (IGBT модули) устанавливаются на плиту жидкостного охлаждения, то эта установка осуществляется с двух сторон этой плиты (один над другим). Это позволяет снизить расстояние между этими ключами до минимально возможного и, соответственно, добиться максимально возможного сокращения длин силовых шин и уровня электромагнитных помех, создаваемых токами, протекающими в этих шинах. Благодаря этому повышается помехоустойчивость и, соответственно, надежность системы управления электромеханической трансмиссии.

[63]

Автономное устройство управления 21 силовым ключом 20 тормозного резистора 19, установленного на пути воздушного потока, создаваемого вентилятором 22 ДВС (фиг. 2), может быть выполнено в виде триггера Шмитта 23 и устройства защиты от снижения напряжения (UVLO) 24 на затворе IGBT транзистора (модуля) силового ключа 20. Питание этого устройства осуществляется от силовых шин Uc с помощью параметрического стабилизатора, выполненного на резисторе 25 и стабилитроне 24.

[64]

Уровни напряжений на силовых шинах 17, соответствующие включению и отключению тормозного резистора 19, задаются делителем напряжения 27 и уровнями напряжений срабатывания триггера Шмитта 23.

[65]

Силовые шины 17 изолированы от корпуса («массы») и подключены к устройству симметрирования 23 (фиг. 3) выполненному в виде цепочки резисторов, средняя точка которых через датчик тока 29 соединена с корпусом («массой») машины. Благодаря этому обеспечивается равенство (по абсолютной величине) напряжений на положительной и отрицательной силовых шинах 17 относительно корпуса («массы») машины.

[66]

Датчик тока 29 соединен со входом какого-либо контроллера, например главного (ведущего) контроллера 9, что позволяет осуществлять контроль сопротивления изоляции положительной R+ут и отрицательной R-ут силовой шины относительно корпуса («массы») машины с соответствующим формированием информационного предупреждающего сигнала, отображаемого на панели оператора 15, или управляющего сигнала, блокирующего движение машины, если контроллером будет выявлено недопустимое снижения величины этого сопротивления.

[67]

Система управления может также содержать устройство разряда 30 конденсаторов (емкостного накопителя энергии) 18, подключенных к силовым шинам, которое может быть выполнено, в частности, в виде резистора или набора резисторов.

[68]

Предложенная электромеханическая трансмиссия работает следующим образом.

[69]

Оператор при помощи органов управления 14 осуществляет запуск ДВС и задает рабочую скорость, направление движения машины.

[70]

ДВС 1 непосредственно или через согласующий редуктор/мультипликатор приводит во вращение ротор тягового генератора 2. Его выходное напряжение с помощью силового выпрямителя (контроллера генератора) 10 преобразуется в напряжение постоянного тока +Uc, -Uc на силовых шинах 17, которое поступает на контроллеры 11, 12 тяговых электродвигателей 3, 4 и на силовой ключ 20 тормозного резистора 19.

[71]

Главный контроллер (ведущий контроллер, контроллер верхнего уровня) 9 осуществляет координацию работы всех компонентов (составных частей) электромеханической трансмиссии в зависимости от сигналов с органов управления 14, в том числе реализует функции управления ДВС 1 непосредственно либо через дополнительный контроллер двигателя, встроенный в него.

[72]

Прочие контроллеры по локальной сети CAN, LIN и т.п. получают сигналы управления от главного (ведущего, системного) контроллера 9, непосредственно от органов управления 14 или от других составных частей системы управления электромеханической трансмиссией в зависимости от ее конструктивного исполнения.

[73]

Алгоритмы взаимосвязанного и автоматизированного управления составными частями электромеханической трансмиссией, включая их взаимодействие, предварительно определяются расчетным или экспериментальным путем, записываются в память контроллеров 9-12 и далее программно реализуются микроконтроллерами, входящим в их состав.

[74]

Контроллеры 11, 12 преобразуют напряжение постоянного тока +Uс, -Uс силовых шин 17 в переменное напряжение или в однополярные импульсы регулируемой частоты и скважности, поступающие на фазные обмотки тяговых электродвигателей 3, 4. Крутящий момент, создаваемый тяговыми электродвигателями, непосредственно или через дополнительные передаточные устройства (муфты, торсионы, бортовые редукторы 5, 6 и т.п.) предается на ведущие звездочки 7, 8 гусениц, в результате чего осуществляется движение машины в соответствии с направлением и скоростью, заданными оператором.

[75]

При торможении машины тяговые электродвигатели 3, 4 работают в генераторном режиме. Энергия торможения с тяговых электродвигателей передается на силовые шины 17 и далее на накопитель энергии 18. После полного заряда накопителя 18, а также в случае его отсутствия на машине происходит повышение напряжения на силовых шинах 17. С целью его ограничения в системе управления реализован двухпозиционный релейный регулятор, обеспечивающий подключение тормозного резистора к силовым шинам в зависимости от величины напряжения на них. Когда его величина этого напряжения превысит максимально-допустимую величину, происходит срабатывание триггера Шмитта 23 в устройстве управления 21 силовым ключом 20, что приводит к подключению тормозного резистора (решетки тормозных резисторов) 19 к силовым шинам 17 и к снижению напряжения на них. После снижения этого напряжения до минимально-допустимой величины устройство управления 21 и ключ 20 отключают тормозной резистор 19, напряжение на силовых шинах 17 вновь возрастает и далее процессы в устройстве повторяются до прекращения торможения (остановки) машины. При этом тепловая энергия, выделяемая в тормозном резисторе 19, удаляется воздушным потоком, создаваемым вентилятором 22 ДВС.

[76]

Во время работы трансмиссии контроллеры (микроконтроллеры, входящие в их состав) осуществляют контроль и управление тепловыми режимами работы силовых электронных ключей (IGBT модулей, на основе которых они реализованы). Для обеспечения такой возможности IGBT модули оснащены встроенными датчиками температуры и отдельными (индивидуальными) драйверами. Контроллер 10 тягового генератора 2 и/или контроллеры 11, 12 тяговых электродвигателей 3, 4 формируют сигналы управления драйверами IGBT модулей (силовых электронных ключей) из условия равенства их температур или предотвращения перегрева каждого модуля. Для этого осуществляется изменение алгоритма (порядка формирования сигналов управления), частоты и/или скважности сигналов управления драйверами.

[77]

Например, силовые электронные ключи фазных обмоток реактивных индукторных электродвигателей, как известно, выполнены по схеме несимметричного моста. При этом если обмотки подключены к силовым шинам, то одновременно включены оба силовых ключа - верхний и нижний, т.е. существует единственный вариант протекания тока - по контуру: «положительная силовая шина - верхний силовой ключ - обмотки электродвигателя - нижний силовой ключ - отрицательная силовая шина».

[78]

Однако после отключения обмоток от напряжения силовых шин возможны три варианта: а) отключены оба ключа, б) отключен верхний ключ, нижний ключ остается во включенном состоянии и в) отключен только нижний ключ, верхний ключ остается включенным.

[79]

Соответственно, контролер осуществляет изменение алгоритма управления силовыми ключами, таким образом, чтобы обеспечить равенство их температур. Например, переходит от варианта управления «б» к варианту «в» и наоборот.

[80]

Возможно также изменение частоты и скважности сигналов управления силовыми ключами. Например, в случае недопустимого повышения температуры какого-либо силового электронного ключа (IGBT модуля), осуществляется снижение частоты ШИМ, что приводит с снижению динамических потерь в этом ключе и к соответствующему снижению его температуры.

[81]

Если силовой электронный ключ состоит из нескольких параллельно соединенных IGBT модулей с индивидуальными драйверами, то контроллер (микроконтроллер, входящий в его состав) формирует различные сигналы управления этими модулями, обеспечивая равенство их температур либо ограничивая температуру наиболее нагретого модуля. Например, снижает длительности импульсов сигналов управления этим модулем, что приводит к уменьшению общей продолжительности его включенного состояния и, соответственно, мощность статических потерь в этом ключе.

[82]

Цепочка резисторов устройства симметрирования 28, подключенная к шинам постоянного тока 17 (фиг. 3) своей средней точкой через датчик тока 29 соединена с корпусом («массой») машины. Благодаря этому обеспечиваются минимальные (по абсолютной величине) значения напряжений на положительной и отрицательной силовых шине относительно массы («корпуса») машины, что обеспечивает повышение надежности работы электромеханической трансмиссии.

[83]

При отсутствии токов утечки силовых шин на корпус машины (R+ут=∝ и R-ут=∝) датчик тока 29 фиксирует нулевое значение тока через него. При снижении сопротивления изоляции (R+ут<∝ или R-ут<∝) либо в случае прикосновения человека-оператора к одной из силовых шин возникает ток утечки Iут, фиксируемый датчиком тока 29. Это приводит к формированию информационного предупредительного сигнала, отображаемого на панели оператора 15, либо к остановке работы машины.

[84]

Величины сопротивлений резисторов в устройстве симметрирования 28 должны иметь достаточно большую величину, чтобы ток Iо через них имел достаточно малую величину, обеспечивающую безопасность человека-оператора при его прикосновении к любой из силовых шин 17 (предполагается, что между человеком-оператором и у корпусом («массой») машины отсутствуют резиновый коврик или иной изолятор).

[85]

Для разряда конденсаторов (емкостного накопителя энергии) 18 к силовым шинам 17, непосредственно или через дополнительный ключ, включаемый после остановки ДВС, может быть подключено устройство разряда 30, например резистор. Он позволяет обеспечить нулевое напряжение на силовых шинах 17 при неработающем ДВС, что повышает как надежность, так и безопасность работы трансмиссии.

[86]

Для специалистов в данной области техники также понятно, что кроме описанных вариантов электромеханической трансмиссия машины возможны также иные варианты ее реализации на основе признаков, изложенных в формуле изобретения.

Как компенсировать расходы
на инновационную разработку
Похожие патенты