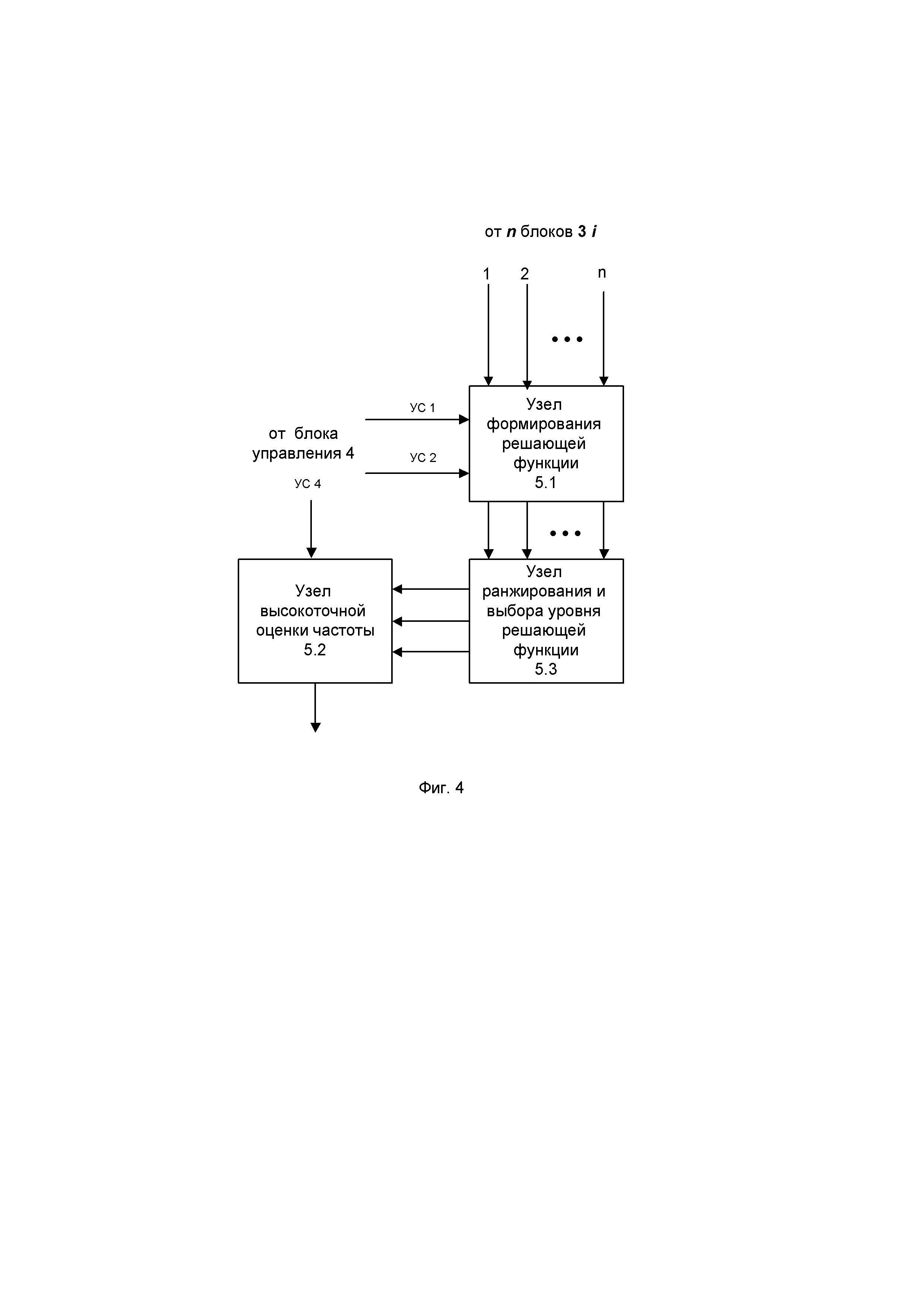
Изобретение относится к области радиотехники, в частности, к устройствам частотной синхронизации широкополосного сигнала (ШПС) в системах радиосвязи и сотовых системах связи множественного доступа с кодовым разделением каналов (Code Division Multiple Access – CDMA). Технический результат – ускорение переходного процесса в режим частотной синхронизации, получение точности оценки и компенсации возможного рассогласования между несущей частотой принимаемого ШПС и частотой опорного сигнала, близкой к оптимальной, обеспечение инвариантности к нестационарному характеру входного процесса и уменьшение аппаратных и программных затрат. В устройстве обеспечена модифицированная процедура оценки частотного рассогласования входного ШПС и опорного сигнала с использованием интерполяционного алгоритма высокоточной оценки частоты и операция адаптивного выбора оптимальных параметров режима синхронизации с учетом свойств канала распространения. Для этого в блок оценки частоты введены последовательно соединенные узел ранжирования и выбора уровня решающей функции и узел высокоточной оценки частоты, выход которого является выходом устройства и соединен с соответствующим входом блока управления , один из входов которого является входом внешнего сигнала мониторинга оценки параметров канала связи. 4 ил.
Устройство высокоточной оценки несущей частоты сигнала в широкополосных системах связи, содержащее 


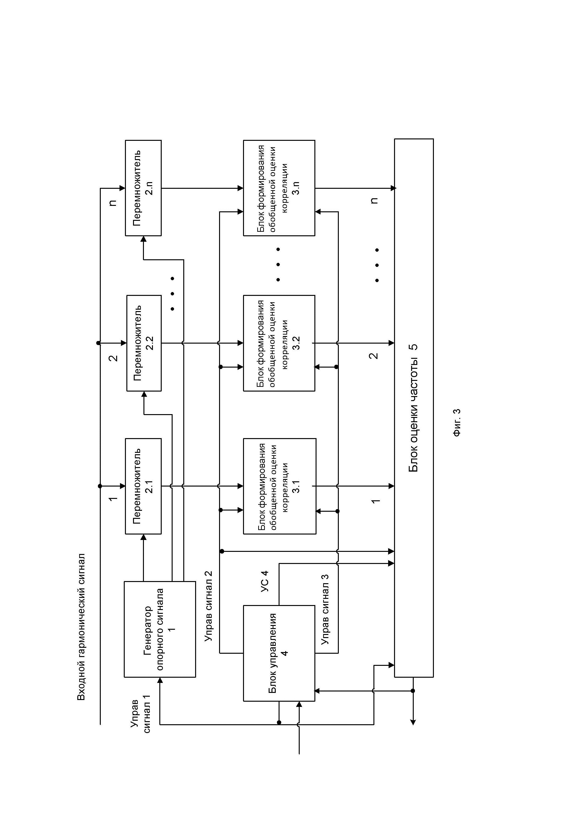
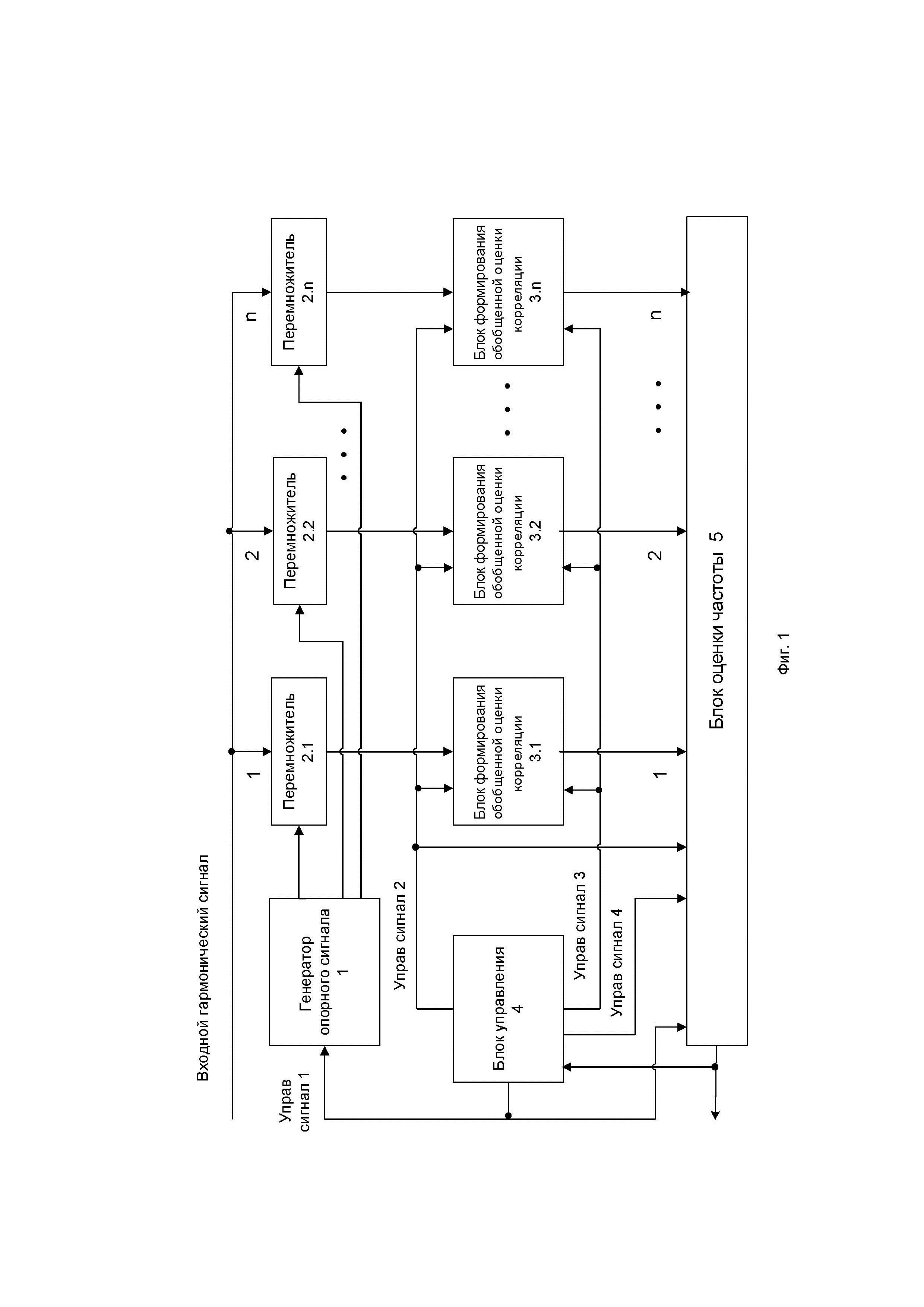
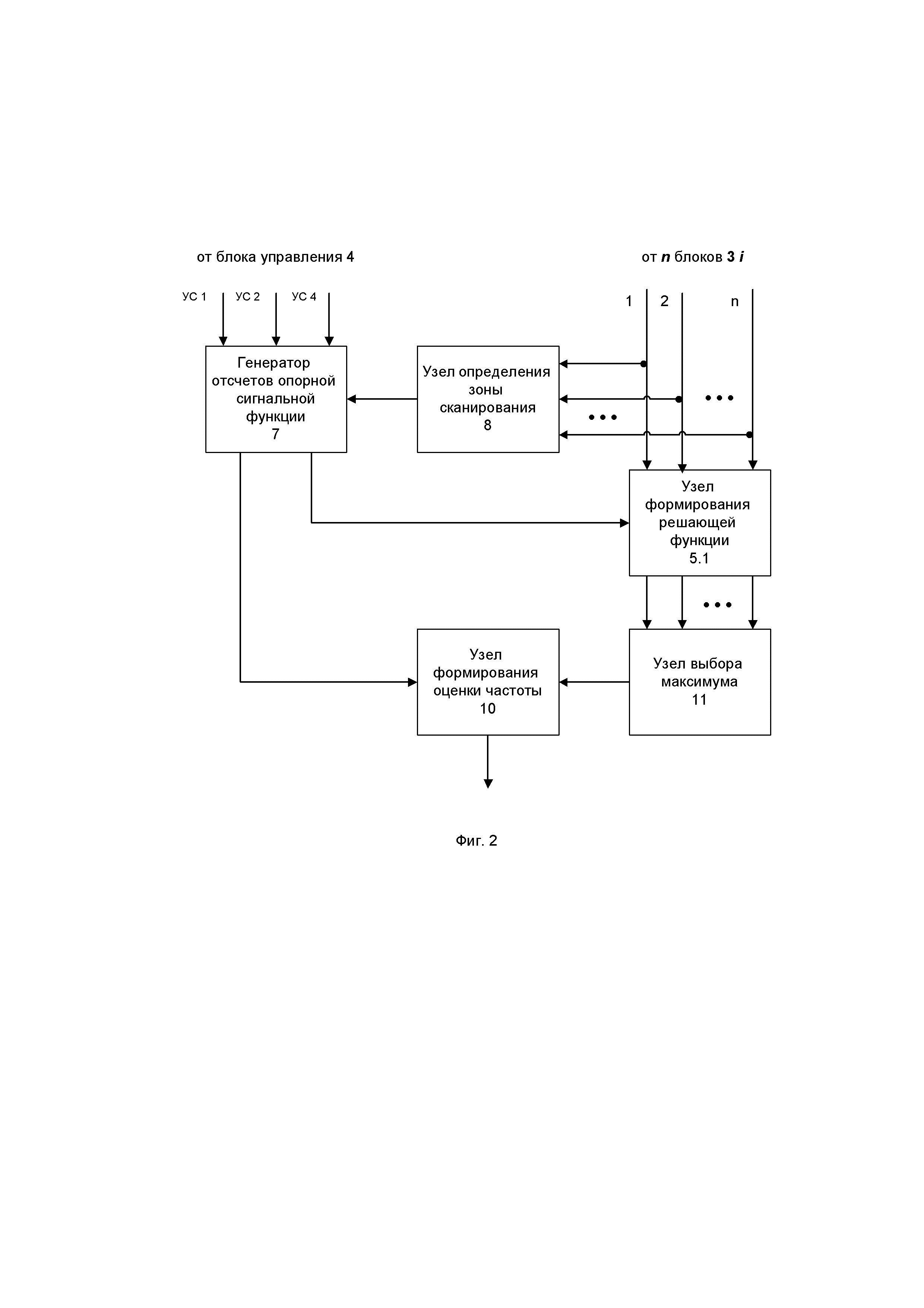
Изобретение относится к области радиотехники, в частности к устройствам частотной синхронизации широкополосного сигнала (ШПС) в системах радиосвязи и сотовых системах связи множественного доступа с кодовым разделением каналов (Code Division Multiple Access – CDMA). Известно, что прием и обработку широкополосного сигнала (ШПС) в любой цифровой системе связи невозможно осуществить без выполнения процедур оценки временного положения и несущей частоты входного сигнала. При этом качество выделяемой информации напрямую зависит от точности оценки временного положения и несущей частоты ШПС и степени их близости к истинному значению. Величина возможного рассогласования между несущей частотой принимаемого ШПС и частотой опорного сигнала Вопросам анализа и реализации устройств частотной синхронизации на практике достаточно большое внимание уделяется в работах [1–14]. Наиболее часто используемыми являются фазовые методы определения частоты. Принципиальные различия между всеми существующими фазовыми методами определения частоты состоят в реализации операции преобразования постоянного сдвига фазы в измеряемый параметр, однозначно связанный с существующим сдвигом частоты. Одним из наиболее простых способов оценки постоянного сдвига фазы сложного фазоманипулированного сигнала является выделение фазового сдвига между двумя последовательно принятыми комплексными символами и последующее их усреднение [5]. Эту операцию можно реализовать как перемножение комплексного отсчета принятого сигнала с комплексно-сопряженным предыдущим с последующей фильтрацией полученной комбинационной составляющей. Наиболее близким аналогом по технической сущности к предлагаемому устройству высокоточной оценки несущей частоты сигнала в широкополосных системах связи является устройство по первому варианту реализации, описанное в патенте [8], принятый за прототип. Устройство-прототип предназначено для решения задачи автоподстройки частоты с высокой точностью оценки в большом априорном интервале возможных рассогласований частоты, низком отношении сигнал/шум и малых программных и аппаратных затратах при реализации данного способа на практике. В устройстве-прототипе используют принцип многоканального приемника [3], состоящего из Для удобства анализа и наглядности рассмотрения заявляемого технического решения выполним укрупнение схемы устройства-прототипа. Укрупненная схема устройства-прототипа представлена на фиг. 1, где введены следующие обозначения: 1 – генератор опорного сигнала; 4 – блок управления (БУ); 5 – блок оценки частоты. Устройство-прототип содержит генератор опорного сигнала 1, Следует отметить, что укрупненная блок-схема устройства-прототипа определения частоты согласно описанию [8] является одинаковой по предложенным первому и второму вариантам реализации устройства-прототипа. Различие выполнения вариантов заключается только в структуре блока оценки частоты 5. Наиболее близким к заявляемому устройству является устройство-прототип по первому варианту реализации. Укрупненная структурная схема блока оценки частоты 5 устройства-прототипа по первому варианту реализации приведена на фиг. 2, где введены следующие обозначения: 7 – генератор отсчетов опорной сигнальной функции; 8– узел определения зоны сканирования; 5.1 – узел формирования решающей функции (РФ); 10 – узел формирования оценки частоты; 11 – узел выбора максимума. Блок оценки частоты 5 устройства-прототипа содержит две ветви. Первая ветвь состоит из последовательно соединенных узла определения зоны сканирования 8 и генератора отсчетов опорной сигнальной функции 7. Вторая ветвь состоит из последовательно соединенных узла формирования решающей функции 5.1 и узла выбора максимума 11. Выход каждой из ветвей соединен с соответствующим входом узла формирования оценки частоты 10, выход которого является выходом блока оценки частоты 5, который соединен с соответствующим входом блока управления 4 (фиг. 1). При этом выходы первого, второго и четвертого управляющих сигналов блока управления 4 соединены с соответствующими входами генератора отсчетов опорной сигнальной функции 7. Кроме того, первые входы узла определения зоны сканирования 8 и узла формирования решающей функции (РФ) 5.1 одновременно соединены с выходами блока формирования обобщенной оценки корреляции В блоке оценки частоты 5 по первому варианту реализации формируют опорную сигнальную функцию, вид которой априори известен и определяют частоту, равную координате центра опорной сигнальной функции, по максимальному приближению опорной сигнальной функции к обобщенным оценкам корреляции всех Устройство-прототип работает следующим образом. Предварительно по результатам корреляционной обработки [15] выполняют демодуляцию известного широкополосного пилот радиосигнала или сигнала преамбулы, которые, как правило, являются синхронными с входным информационным ШПС. В результате получают входной гармонический сигнал устройства-прототипа с несущей частотой входного широкополосного радиосигнала. Используя этот сигнал, в устройстве-прототипе выполняют процедуру обработки в соответствии со способом для оценки частотного рассогласования входного широкополосного радиосигнала и опорного сигнала и коррекцию (подстройку) частоты опорного сигнала генератора 1. При этом генератор опорного сигнала 1 формирует комплексные отсчеты гетеродина гармонического опорного сигнала для всех Вначале каждой из Q итераций с блока управления 4 при помощи 4-х управляющих сигналов (УС) устанавливают во все управляемые блоки устройства определения (оценки) частоты необходимые параметры, соответствующие номеру текущей итерации: - по управляющему сигналу 1 с блока управления 4 в генераторе опорного сигнала 1 и в блоке оценки частоты 5 устанавливают канальные центральные частоты - по управляющему сигналу 2 с блока управления 4 в блоках формирования обобщенной оценки корреляции - по управляющему сигналу 3 с блока управления 4 в блоках формирования обобщенной оценки корреляции - по управляющему сигналу 4 с блока управления 4 в блоке оценки частоты 5 устанавливают требуемую точность оценки частоты. Отсчеты принятого гармонического сигнала, полученного в результате демодуляции известного входного широкополосного пилот сигнала или преамбулы ШПС, поступают на В блоках формирования обобщенной оценки корреляции Далее блок оценки частоты 5, используя полученные значениям обобщенных оценок корреляции Узел определения зоны сканирования 8 по полученным значениям обобщенных оценок корреляции Отсчеты опорной сигнальной функции с выхода генератора 7 и обобщенные оценки корреляции По полученным отсчетам опорной сигнальной функции, информации о диапазоне и дискретности изменения переменной Полученная оценка частоты передается в блок управления 4 для ее использования при формировании центральных частот подынтервалов Далее в установившемся режиме выполняют непрерывную процедуру слежения в устройстве-прототипе, осуществляя идентичные циклы (итерации) оценки частоты. Для организации режима слежения при помощи рассмотренной структуры повторяют самый точный (последний) шаг оценки частоты. Недостатками устройства-прототипа являются: ограниченная точность оценки частотной расстройки между входным широкополосным радиосигналом и сигналом опорного генератора из-за прямой зависимости ошибки оценки частоты от шага сетки между соседними частотными каналами многоканального приемника, длительный переходный процесс коррекции (компенсации) частотной расстройки сигнала опорного генератора, отсутствие адаптивного режима обработки входного ШПС, инвариантного к внешним, в том числе и нестационарным условиям передачи. Задача заявляемого устройства – повышение точности оценки и компенсации частотной расстройки между входным ШПС и сигналом опорного генератора, уменьшение времени переходного процесса режима компенсации частотной расстройки, организация адаптивного режима обработки входного ШПС, обеспечивающего инвариантность к нестационарному характеру входного процесса, уменьшение аппаратных и программных затрат при практической реализации данного способа. Для решения поставленной задачи в устройство, содержащее n одинаковых параллельных каналов приема сигнала, каждый из которых состоит из последовательно соединенных перемножителя и блока формирования обобщенной оценки корреляции, выходы которых соединены с соответствующими входами блока оценки частоты; первые входы перемножителей параллельных каналов приема объединены и являются информационным входом устройства, вторые входы перемножителей соединены с соответствующими выходами генератора опорного сигнала, управляющий вход которого соединен с соответствующими управляющим входом блока оценки частоты и выходом блока управления, другие выходы которого соединены с соответствующими входами блока оценки частоты и n блоков формирования обобщенной оценки корреляции, при этом блок оценки частоты содержит узел формирования решающей функции, входы которого подсоединены к выходам соответствующих блоков формирования обобщенной оценки корреляции, согласно изобретению, в блок оценки частоты введены последовательно соединенные узел ранжирования и выбора уровня решающей функции и узел высокоточной оценки частоты, выход которого является выходом устройства и соединен с соответствующим входом блока управления, один из входов которого является входом внешнего сигнала мониторинга оценки параметров канала связи, кроме того, n выходов узла формирования решающей функции соединены с соответствующими входами узла ранжирования и выбора уровня решающей функции, причем управляющие входы узла высокоточной оценки частоты и узла формирования решающей функции подключены к соответствующим выходам блока управления. Предлагается следующее устройство высокоточной оценки несущей частоты сигнала в широкополосных системах связи, укрупненная блок-схема которого представлена на фиг. 3, где введены следующие обозначения: 1 – генератор опорного сигнала; 4 – блок управления (БУ); 5 – блок оценки частоты. Предлагаемое устройство высокоточной оценки несущей частоты сигнала в широкополосных системах связи содержит: генератор опорного сигнала 1, Укрупненная структурная схема блока оценки частоты 5 предлагаемого устройства высокоточной оценки несущей частоты сигнала в широкополосных системах приведена на фиг. 4, где введены следующие обозначения: 5.1 – узел формирования решающей функции; 5.2 – узел высокоточной оценки частоты; 5.3 – узел ранжирования и выбора уровня решающей функции. Блок оценки частоты 5 предлагаемого устройства высокоточной оценки несущей частоты сигнала в широкополосных системах связи состоит из последовательно соединенных узла формирования решающей функции 5.1, узла ранжирования и выбора уровня решающей функции 5.3 и узла высокоточной оценки частоты 5.2, выход которого является выходом блока оценки частоты 5 и соединен с первым входом блока управления 4 (фиг. 3). При этом первые входы узла формирования решающей функции 5.1 соединены с выходами блоков формирования обобщенной оценки корреляции Предлагаемое устройство работает следующим образом. Предварительно по результатам корреляционной обработки [15] известного широкополосного пилот радиосигнала или сигнала преамбулы выполняют его демодуляцию. В результате получают гармонический сигнал с несущей частотой входного широкополосного радиосигнала и оценку (или результаты внешнего мониторинга) величины интервала частотной корреляции и интервала стационарности входного ШПС. По результатам оценки интервала частотной корреляции входного ШПС и интервала стационарности в блоке управления 4 формируют сигналы управления и ширину частотных подынтервалов априорного интервала анализа, обеспечивающих близкую к оптимальной точность оценки частотного рассогласования. В данном случае ширина каждого частотного подынтервала должна быть не более 1/3 интервала частотной корреляции входного ШПС [1]. Далее, используя полученный гармонический сигнал, выполняют оценку и коррекцию частотного рассогласования входного широкополосного радиосигнала. При этом в соответствии с сигналом управления с блока управления 4 генератор опорного сигнала 1 формирует комплексные отсчеты гетеродина гармонического опорного сигнала для всех Оценку частоты осуществляют путем последовательной пошаговой процедуры за Вначале каждой из Q итераций с блока управления 4 при помощи 4-х управляющих сигналов устанавливают во все управляемые блоки заявляемого устройства высокоточной оценки частоты необходимые параметры, соответствующие номеру текущей итерации: - по управляющему сигналу 1 с блока управления 4 в генераторе опорного сигнала 1 и в блоке оценки частоты 5 устанавливают канальные центральные частоты - по управляющему сигналу 2 с блока управления 4 в блоках формирования обобщенной оценки корреляции - по управляющему сигналу 3 с блока управления 4 в блоках формирования обобщенной оценки корреляции - по управляющему сигналу 4 с блока управления 4 в блоке оценки частоты 5 и в генераторе опорного сигнала 1 устанавливают требуемую точность оценки частоты. Отсчеты принятого гармонического сигнала, полученного в результате демодуляции известного входного широкополосного пилот сигнала или преамбулы ШПС, поступают на В блоках формирования обобщенной оценки корреляции Далее в блоке оценки частоты 5 (фиг. 4), используя полученные значения обобщенных оценок корреляции В узле формирования решающей функции 5.1 по полученным значениям обобщенных оценок корреляции Отсчеты решающей функции, полученные на выходе узла формирования решающей функции 5.1, используют в узле ранжирования и выбора уровня решающей функции 5.3 для выбора и запоминания значений центральной частоты где Полученная оценка частотного сдвига Далее в установившемся режиме в предлагаемом устройстве выполняют непрерывную процедуру слежения, осуществляя идентичные циклы (итерации) оценки частоты. Для организации режима слежения повторяют самый точный (последний) шаг оценки частоты. Таким образом, для выполнения оценки частоты входного широкополосного радиосигнала в предлагаемом устройстве выполняют последовательную пошаговую процедуру из Следует отметить, что оценку несущей частоты входного ШПС в условиях многолучевого канала передачи при наличии фединга целесообразно осуществлять с учетом выбора оптимальных параметров, например, в соответствии с алгоритмом, представленным в [16]. Сравнение заявляемого устройства высокоточной оценки несущей частоты сигнала в широкополосных системах связи с другими известными решениями в данной области техники не позволило выявить признаки, заявленные в отличительной части формулы изобретения, следовательно, предлагаемое изобретение отвечает критериям изобретения: "новизна", "техническое решение задачи", "существенные отличия" и обладает неочевидностью. Известно, что в современных радиотехнических системах часто используют цифровые сигналы. Вследствие этого, в узлах заявляемого устройства целесообразно применять дискретные и цифровые сигналы. Для обработки таких сигналов наряду с аппаратными часто используют программные и вычислительные средства [17]. Это позволяет для реализации предлагаемого устройства высокоточной оценки частоты применять высокопроизводительные специализированные цифровые сигнальные процессоры (digital signal processor (DSP)) и быстродействующие программируемые логические интегральные схемы (ПЛИС, Field Programmable Gate Array (FPGA)), например, типов 1892ВМ3Т (Multicore), 1892ВМ10Я (NVcom), FPGA Virtex-7 и их перспективные версии. Существует достаточно широкий перечень публикаций, посвященных данному вопросу, например, [18, 19, 20]. Литература. 1. Каюков И.В. Сравнительный анализ различных методов оценки частоты сигнала / И.В. Каюков, В.Б. Манелис // Изв. вузов. Радиоэлектроника. – 2006. – № 7. – С. 42-55. 2. Куликов Е.И. Оценка параметров сигналов на фоне помех / Е.И. Куликов, А.П. Трифонов. – М.: Сов. радио, 1978. – 296 с. С. 86, 182. 3. Тихонов В.И. Оптимальный прием сигналов / В.И. Тихонов. – М.: Радио и связь, 1983. – 320 с. 4. Первачев С.В. Радиоавтоматика / С.В. Первачев. – М. : – Радио и связь, 1982. – 296 с. 5. Спилкер Дж. Цифровая спутниковая связь / Дж. Спилкер. – М.: Связь, 1978 г. – С. 387-404. 6. Радиотехнические системы/ Ю.П. Гришин, В.П. Ипатов, Ю.М. Казаринов и др.; под ред. Ю.М. Казаринова. – М.: Высш. шк., 1990. – 496 с. 7. Luise M. Carrier frequency recovery in all-digital modems for burst-mode transmissions / M. Luise, R. Reggiannini // IEEE Trans. on Com. – Feb./Mar./Apr., 1995. –Vol. 43. – № 2/3/4. – P. 1169-1178. 8. Патент РФ. 2157050 RU, МПК7 H04B7/00 Способ определения частоты и устройство для его реализации (варианты) / А.В. Гармонов, Д.Е. Меняйлов, В.Б. Манелис. – 29.07.1999. – Опубл. 27.09.2000 // Бюллетень изобретений. – 2000. – № 27. 9. Патент РФ. 2168267 RU, МПК7 H03L7/06, H03J7/00 Способ автоподстройки частоты и устройство для его реализации (варианты) / А.В. Гармонов, В.Б. Манелис, Д.Е. Меняйлов и др. – 02.06.1999. – Опубл. 27.05.2001 // Бюллетень изобретений. – 2001. – № 15. 10. Патент РФ. 2286015 RU, МПК7 H04B7/00, H03J7/00, H04L27/30 Способ автоподстройки частоты опорного сигнала приемной станции, способ оценивания расстройки частоты сигналов лучей относительно частоты опорного сигнала, устройство автоподстройки частоты опорного сигнала приемной станции // А.В. Гармонов, В.Б. Манелис, А.И. Сергиенко и др. – 30.05.2005. – Опубл. 20.10.2006 // Бюллетень изобретений. – 2006. – № 29. 11. Каюков И.В. Интерполяционный алгоритм оценки частоты сигнала / И.В. Каюков, В.Б. Манелис // Радиолокация, навигация, связь: доклады XII Междунар. науч.-техн. конф. – Воронеж, 2006. – Т. 2. – С. 1015-1021. 12. Каюков И.В. Анализ фазоразностного алгоритма оценки частоты сигнала / И.В. Каюков, В.Б. Манелис // Радиолокация, навигация, связь: доклады XII Междунар. науч.-техн. конф. – Воронеж, 2006. – Т. 2. – С. 1009-1014. 13. Манелис В.Б. Алгоритм оценки частотного сдвига радиосигнала, использующий ЛЧМ опорный сигнал / В.Б. Манелис, А.И. Сергиенко // Изв. вузов. Радиоэлектроника. – 2007. – № 4. – С. 59-67. 14. Шахтарин Б.И. Анализ систем синхронизации при наличии помех. – 2-е изд. перераб. и доп. – М.: Горячая линия – Телеком, 2016. – 360 с. 15. Варакин Л.Е. Системы связи с шумоподобными сигналами / Л.Е. Варакин. – М.: Радио и связь, 1985. – 384 с. 16. Манелис В.Б. Оптимальная длительность когерентного накопления в задаче оценки частоты сигнала / В.Б. Манелис // Изв. вузов. Радиоэлектроника. – 2003. – № 6. – С. 45-50. 17. Куприянов М.С., Матюшкин Б.Д. Цифровая обработка сигналов: процессоры, алгоритмы, средства проектирования / М.С. Куприянов, Б.Д. Матюшкин. – Спб.: Политехника, 1999. – 592 с. 18. Максфилл К. Проектирование на ПЛИС. Курс молодого бойца / К. Максфилл. – М.: Издательский дом «Додэка XXI», 2007. – 408 c. 19. Бродин В.Б., Калинин А.В. Системы на микроконтроллерах и БИС программируемой логики / В.Б. Бродин, А.В. Калинин. – М.:Издательство ЭКОМ, 2002. – 400 с. 20. Грушвицкий Р.И., Мурсаев А.Х., Угрюмов Е.П. Проектирование систем на микросхемах программируемой логики / Р.И. Грушвицкий., А.Х. Мурсаев., Е.П. Угрюмов. – СПб.: БХВ-Петербург, 2002. – 608 с.












































































































