патент
№ RU 2628632
МПК B64D1/16

УСТРОЙСТВО УДАЛЕНИЯ ВОЗДУХА ИЗ ВОДОВОЗДУШНОЙ СТРУИ, ПОСТУПАЮЩЕЙ ПРИ ЗАБОРЕ ВОДЫ НА ГЛИССИРОВАНИИ САМОЛЕТА-АМФИБИИ

Авторы:
Заремба Эдуард Владимирович
Номер заявки
2015152690
Дата подачи заявки
08.12.2015
Опубликовано
21.08.2017
Страна
RU
Как управлять
интеллектуальной собственностью
Чертежи 
4
Реферат

Изобретение относится к гидроавиации и касается оборудования пожарных самолетов-амфибий, используемых при тушении лесных пожаров, жилых и производственных помещений, возгораний на нефте- и газопроводах. Устройство удаления воздуха из водовоздушной смеси, поступающей при заборе воды на глиссировании самолета-амфибии, содержит входной трубопровод, подводящий водовоздушную струю, корпус устройства с расположенными в нем спиралевидным шнеком и трубопроводом отвода воздуха, выходной трубопровод, подающий жидкость в баки самолета. При этом передняя часть корпуса устройства выполнена в форме усеченного конуса, на внутренней поверхности которого жестко закреплены ребра шнека переменной высоты и шага. В выходном трубопроводе установлена спрямляющая решетка. Причем трубопровод отвода воздуха из устройства выведен на срез сопла реактивного маршевого двигателя самолета-амфибии. Достигается максимальное заполнение баков гидросамолета водой путем увеличения эффективности деаэрации водовоздушной струи, простота конструкции устройства. 5 ил.

Формула изобретения

Устройство удаления воздуха из водовоздушной смеси, поступающей при заборе воды на глиссировании самолета-амфибии, содержащее входной трубопровод, подводящий водовоздушную струю, корпус устройства с расположенными в нем спиралевидным шнеком и трубопроводом отвода воздуха, выходной трубопровод, подающий жидкость в баки самолета, отличающееся тем, что передняя часть корпуса устройства выполнена в форме усеченного конуса, на внутренней поверхности которого жестко закреплены ребра шнека переменной высоты и шага, а в выходном трубопроводе установлена спрямляющая решетка, при этом трубопровод отвода воздуха из устройства выведен на срез сопла реактивного маршевого двигателя самолета-амфибии.

Описание

[1]

Предлагаемое изобретение относится к области гидроавиации, а именно к оборудованию пожарных самолетов-амфибий, используемых при тушении лесных пожаров, жилых и производственных помещений, возгораний на нефте- и газопроводах.

[2]

Для эффективного пожаротушения гидросамолету необходим быстрый забор воды в баки. Известно, что при глиссировании гидросамолета по водной поверхности происходит мощная аэрация воздухом водяной струи, поступающей в водяные баки самолета-амфибии. Это явление возникает из-за особой конструкции днища лодки гидросамолета. Время забора воды на глиссировании современного самолета-амфибии составляет 20÷30 секунд. В результате в баки самолета-амфибии поступает водовоздушная смесь, которая занимает весь объем баков, в то время как фактический объем воды доходит только до 60-70% объема баков.

[3]

Известны различные устройства, позволяющие производить деаэрацию водной струи.

[4]

Например, устройство «Центробежный деаэратор» (патент на изобретение RU 2246446, МПК C02F 1/20, C02F 1/103), которое относится к установкам термической деаэрации воды. Данное устройство содержит цилиндрический корпус, завихритель, укрепленный на входе в деаэратор, трубу выпара.

[5]

Недостатком данного устройства является наличие в конструкции тела вращения, которое имеет большое гидравлическое сопротивление, возникающее в начальный момент забора воды. Также недостатком устройства является необходимость подогрева водовоздушной струи, что создает опасную зону высокой температуры в конструкции гидросамолета. Данное обстоятельство может серьезно затруднить сертификацию летательного аппарата по современным международным нормам.

[6]

Также известно изобретение «Водозаборное устройство противопожарного летательного аппарата» (патент RU 2555900, МПК B64D 1/16), состоящее из люка, коллектора с насосом, скользящей каретки, открывающей вход воды в насос.

[7]

Существенным недостатком указанного устройства является длительное время забора воды и сложность конструкции за счет того, что забор воды из водоема в баки самолета производится только при полной остановке летательного аппарата, с помощью насосов, приводимых в действие автономным электромотором.

[8]

Известно устройство «Циклонный деаэратор» (патент на изобретение RU 2102329, МПК C02F 1/20), которое относится к устройствам термической деаэрации воды, имеет компактную конструкцию, исключающую унос воды через выпарное устройство. Данное устройство содержит корпус, патрубок подвода воды, воронку, трубу выпара, дробящий узел.

[9]

Главным недостатком устройства является необходимость подогрева водовоздушной смеси до температуры 102÷104°С.

[10]

В качестве прототипа авторами выбрано «Устройство удаления газа из потока жидкости» (патент на изобретение FR 2086768, МПК B01D 19/00), в котором для удаления пузырьков воздуха из жидкости используется спиралевидное тело, помещенное в трубопроводе. Однако данное устройство имеет серьезный недостаток для гидросамолета: оно не будет эффективно при быстром заборе воды из-за высокого гидравлического сопротивления, возникающего на передних винтах закрутки спиралевидного тела.

[11]

Решить проблему удаления пузырьков воздуха из водовоздушной струи позволяет предлагаемое устройство.

[12]

Техническим результатом предлагаемого изобретения является максимальное заполнение баков гидросамолета водой путем увеличения эффективности деаэрации водовоздушной струи.

[13]

Технический результат достигается тем, что устройство удаления воздуха из водовоздушной смеси, поступающей при заборе воды на глиссировании самолета-амфибии, содержит входной трубопровод, подводящий водовоздушную струю, корпус устройства с расположенными в нем спиралевидным шнеком и трубопроводом отвода воздуха, выходной трубопровод, подающий жидкость в баки самолета. Передняя часть корпуса устройства выполнена в форме усеченного конуса, на внутренней поверхности которого жестко закреплены ребра шнека переменной высоты и шага. В выходном трубопроводе установлена спрямляющая решетка, а трубопровод отвода воздуха из устройства выведен на срез сопла реактивного маршевого двигателя самолета-амфибии.

[14]

Предлагаемое изобретение обладает изобретательским уровнем, новизной и промышленной применимостью.

[15]

Сущность изобретения поясняется нижеследующим описанием и чертежами, где:

[16]

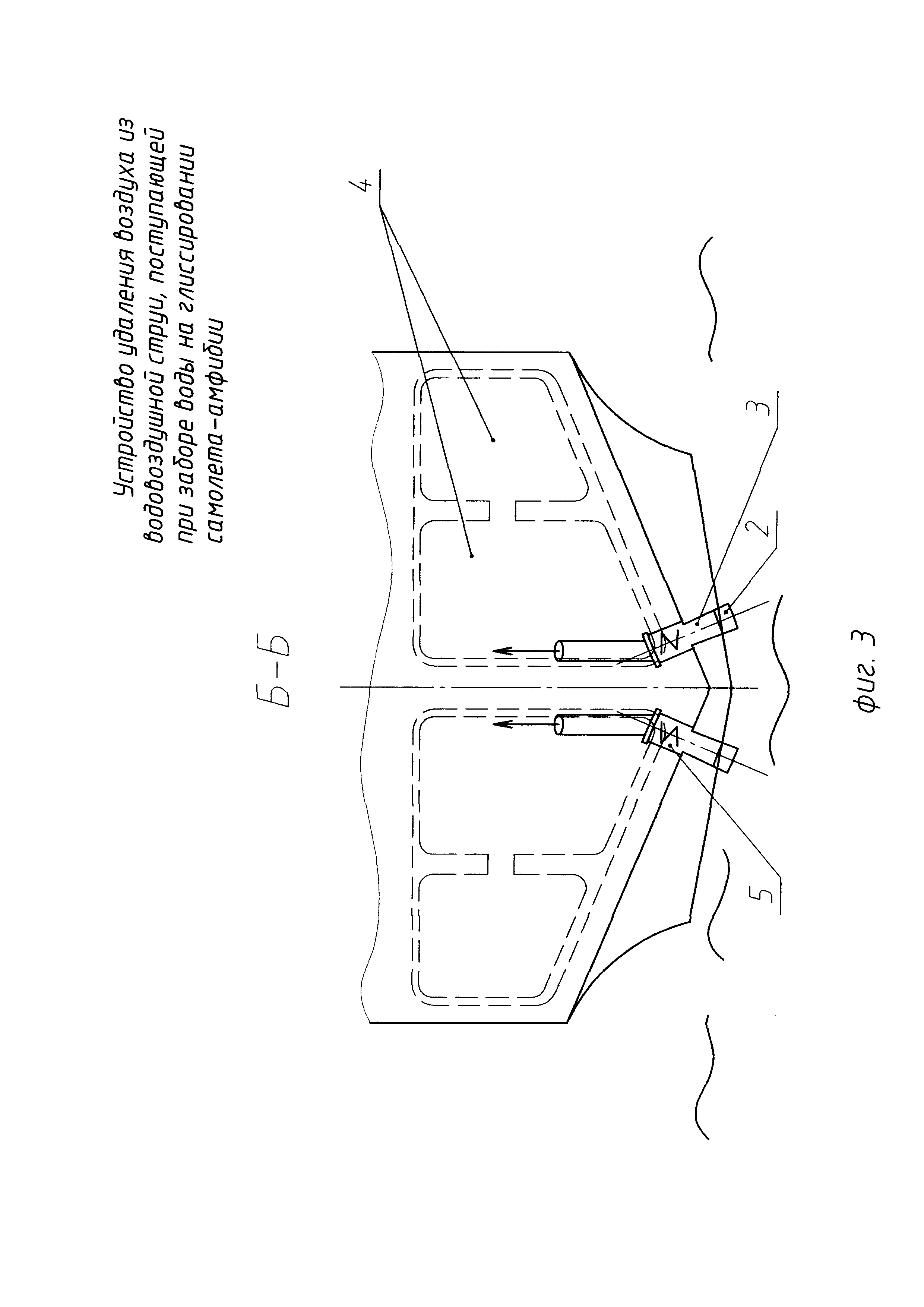
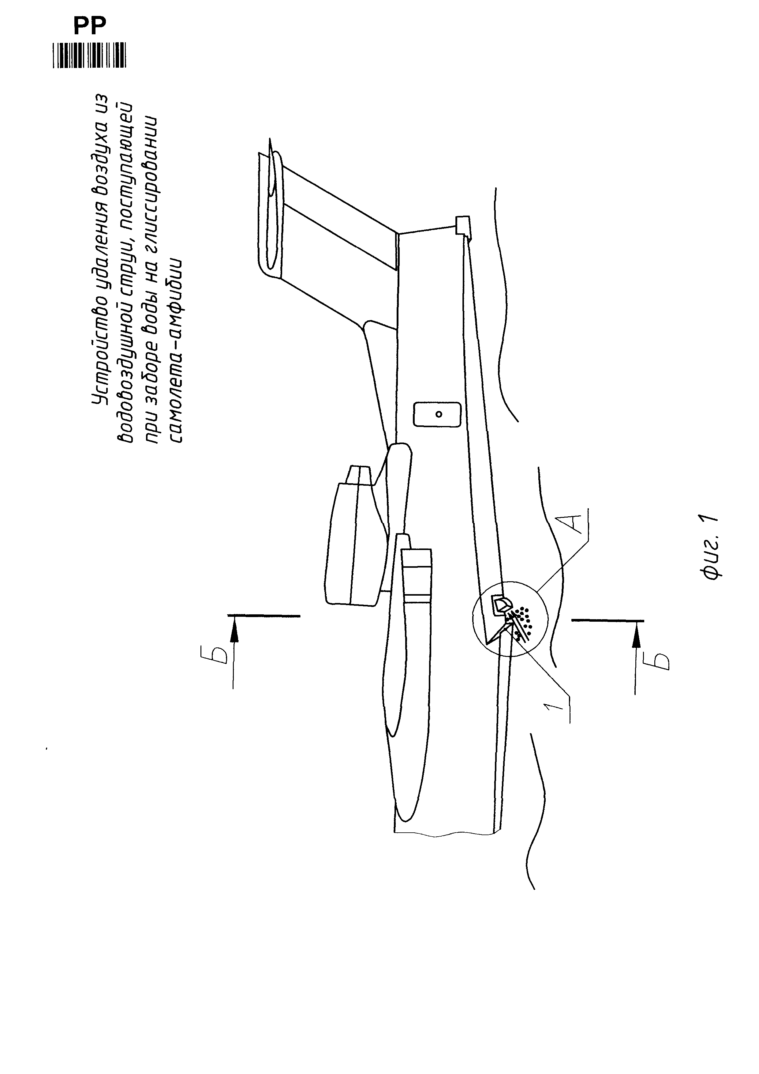
на фиг. 1 показан забор воды гидросамолетом;

[17]

на фиг. 2 - вид А;

[18]

на фиг. 3 - вид Б-Б;

[19]

на фиг. 4 - устройство удаления воздуха из водовоздушной струи (второе ребро шнека условно не показано);

[20]

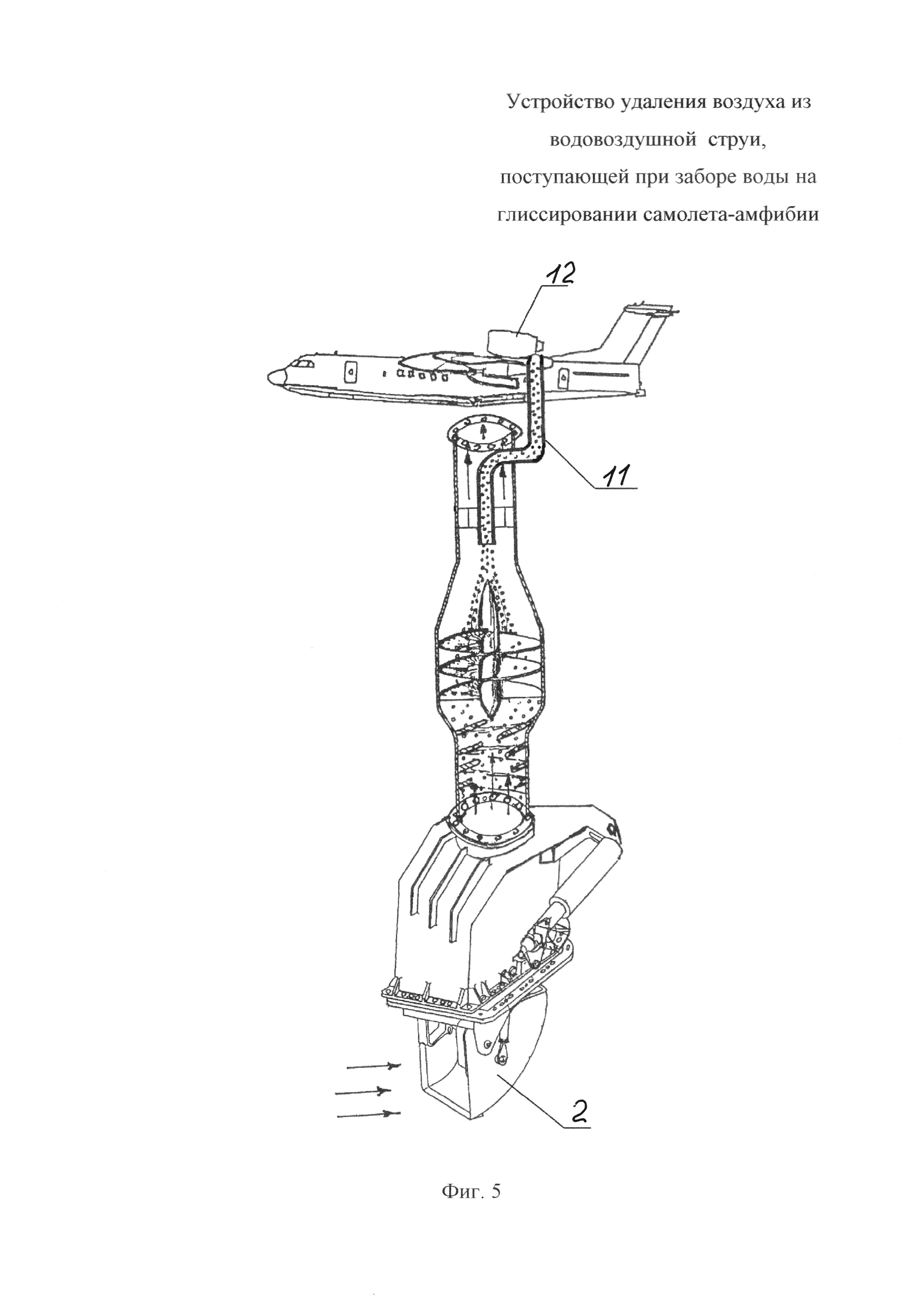
на фиг. 5 показана схема расположения устройства в конструкции самолета-амфибии.

[21]

Для улучшения гидродинамических свойств самолета-амфибии на днище устанавливается редан 1, на срезе которого происходит подсос и аэрация воздухом водяных струй, поступающих в баки самолета (см. фиг. 1, 2).

[22]

Наличие воздуха в водовоздушной смеси в баках самолета приводит к недостоверной оценке летчиками фактического количества воды в баках самолета. Устройство предназначено для отделения воздуха из водовоздушной струи, поступающей через водозаборное устройство 2 по входному трубопроводу 3 в баки 4 самолета на режиме глиссирования.

[23]

Корпус 5 устройства состоит из трех основных частей: передней части 6, представляющей из себя усеченный конус, центральной части 7, представляющей из себя цилиндрическую полость, и конусной задней части 8. Шнек 9, закрепленный внутри устройства, изготовлен из листового материала. Рабочая часть шнека 9 на входе устройства разделена на два ребра, которые имеют изначально минимальную высоту, но с уменьшением шага витков высота ребер увеличивается до полной высоты шнека 9, расположенного в центральной части 7.

[24]

Задняя часть 8 устройства имеет сужающуюся часть. На небольшом расстоянии от заднего конца шнека 9 по оси установлен патрубок воздушного отбора 10, соединенный с трубопроводом отвода воздуха 11. Трубопровод отвода воздуха 11 направляется на срез сопла маршевого двигателя 12 гидросамолета для эжекции.

[25]

В выходном трубопроводе 13 установлена спрямляющая решетка 14, необходимая для выравнивания потока воды перед подачей ее в баки самолета.

[26]

Работа устройства

[27]

Водовоздушная струя, поступающая в устройство на режиме глиссирования гидросамолета через водозаборное устройство 2 (на самолете установлены два водозаборных устройства), попадает через входной трубопровод 3 в коническую переднюю часть 6 предлагаемого устройства. Коническая форма передней части 6 позволяет эффективнее раскручивать поступающий водяной поток. За счет наличия внутренних, переменной высоты и шага, спиральных ребер шнека 9 происходит мгновенное раскручивание водяного потока. Использование предварительного раскручивания водяного потока перед шнеком 9 значительно снижает гидродинамическое сопротивление устройства. Окончательное раскручивание водяного потока происходит в шнеке 9. За счет центробежной силы, образованной вследствие раскручивания водяного потока, вода, обладающая большим удельным весом по сравнению с воздухом, прижимается к стенке цилиндра, а воздух скапливается по оси устройства и формируется в воздушный поток, собираемый патрубком 10. Для наибольшей эффективности отбора отделяемого воздуха вход патрубка 10 отбора снабжен соплом, а трубопровод отвода воздуха 11 направляется к маршевому двигателю 12 гидросамолета, где крепится на срез реактивного сопла. За счет эффекта эжекции происходит усиление отсоса воздушной струи из предлагаемого устройства. Вода, отделяемая устройством из водовоздушной струи, поступает через спрямляющую решетку 14 по выходному трубопроводу 13 в баки 4 гидросамолета.

[28]

Таким образом, предлагаемое изобретение позволяет добиться полной заправки баков самолета-амфибии водой, исключив попадание воздуха в баки. Все это достигается простотой конструкции устройства, обеспечением возможности подачи больших объемов водовоздушной струи за короткий промежуток времени и высокой эффективностью деаэрации воздуха.

[29]

В настоящее время предлагаемое изобретение находится на стадии конструкторской проработки и может быть реализовано по существующим технологиям из применяемых в самолетостроении материалов.

Как компенсировать расходы
на инновационную разработку
Похожие патенты