патент
№ RU 2593460
МПК H01B17/14

ОПОРНЫЙ ИЗОЛЯТОР

Авторы:
Плахина Мария Сергеевна Ушаков Михаил Вячеславович Большакова Светлана Алексеевна
Все (5)
Номер заявки
2015112080/07
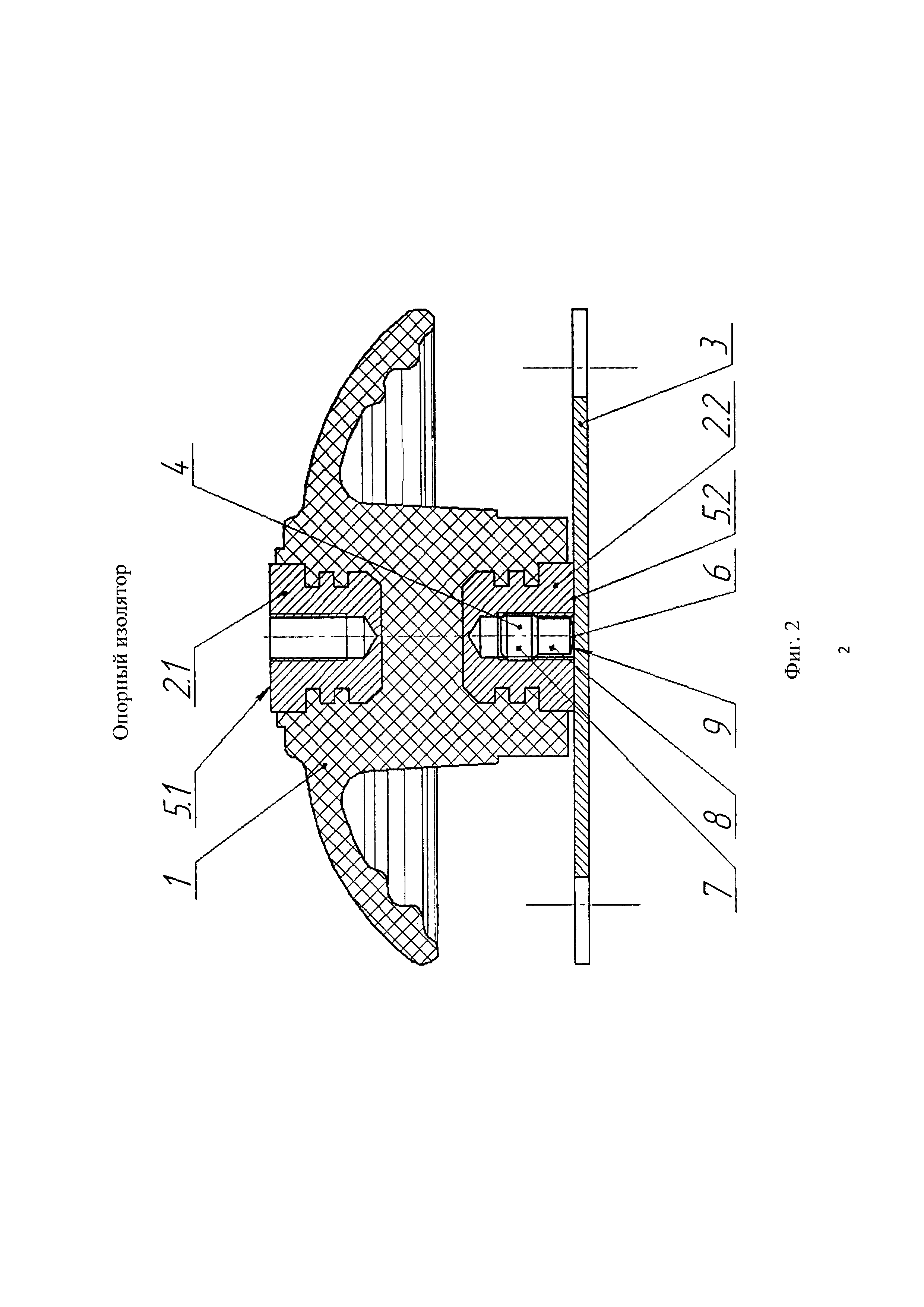
Дата подачи заявки
02.04.2015
Опубликовано
10.08.2016
Страна
RU
Как управлять
интеллектуальной собственностью
Чертежи 
4
Реферат

Изобретение относится к опорным изоляторам железнодорожного транспорта. В опорном изоляторе, включающем тело изолятора с арматурой для закрепления электрического аппарата и опоры изолятора, опору изолятора, крепление опоры изолятора с телом изолятора (1), арматура (2.1, 2.2) тела изолятора выполнена в виде двух соосно расположенных фасонных вставок с внутренней резьбой с выступающими круглыми торцевыми поверхностями. Опора изолятора конструктивно представляет собой фланец (3), а крепление опоры изолятора к телу изолятора производится резьбовым стержнем (4), вворачиваемым в арматуру тела изолятора с регламентированным крутящим моментом. При этом предварительно одним концом резьбовой стержень соединен с фланцем таким образом, чтобы обеспечивалось разъединение стержня и фланца при достижении определенного заданного растягивающего усилия в соединении. Изобретение направлено на упрощение конструкции соединения тела опорного изолятора и опоры изолятора, повышение технологичности, гидрофобных свойств и ремонтопригодности. 3 з.п. ф-лы, 4 ил.

Формула изобретения

1. Опорный изолятор, включающий тело изолятора с арматурой для закрепления электрического аппарата и опоры изолятора, опору изолятора, крепление опоры изолятора с телом изолятора, отличающийся тем, что арматура тела изолятора выполнена в виде двух соосно расположенных фасонных вставок с внутренней резьбой с выступающими круглыми торцевыми поверхностями, опора изолятора конструктивно представляет собой фланец, а крепление опоры изолятора к телу изолятора производится резьбовым стержнем, вворачиваемым в арматуру тела изолятора с регламентированным крутящим моментом, при этом предварительно одним концом резьбовой стержень соединен с фланцем таким образом, чтобы обеспечивалось разъединение стержня и фланца при достижении определенного заданного растягивающего усилия в соединении.

2. Опорный изолятор по п. 1, отличающийся тем, что после вворачивания резьбового стержня в арматуру тела изолятора к резьбовому стержню прикладывают крутящий момент на отвинчивание, равный половине величины регламентированного закручивающего момента.

3. Опорный изолятор по п. 1, отличающийся тем, что соединение резьбового стержня с фланцем выполнено по ограниченному замкнутому периметру или по точке (точкам) контактной электросваркой или конденсаторной сваркой с импульсным разрядом, для чего резьбовой стержень со стороны привариваемого конца снабжен или сферической частью, или кольцевыми ободьями, или локальными выступами.

4. Опорный изолятор по п. 1, отличающийся тем, что резьбовой стержень выполнен с резьбовой и гладкой цилиндрическими частями, при этом гладкая часть резьбового стержня выполнена с диаметром, меньшим внутреннего диаметра резьбы.

Описание

[1]

Изобретение относится к железнодорожному транспорту, а более конкретно к опорным изоляторам железнодорожного транспорта, предназначенным для изоляции и крепления токоведущих частей в электрических аппаратах и распределительных устройствах, особенно для установки токоприемников электровозов постоянного тока.

[2]

Известен опорный изолятор для электровозов постоянного тока 2ЭС6 и 2ЭС10 ранних серийных номеров (см. установку токоприемников согласно спецификациям 2ЭС6.91.050.000 и 2ЭС10.91.200.000). Он предназначен для установки токоприемника на секции электровоза. Известный опорный изолятор состоит из тарелкообразного тела и опоры изолятора. Тарелкообразное тело изолятора состоит из керамики. Сверху в тарелкообразном теле изолятора размещена арматура с внутренней глухой резьбой для установки токоприемника. Снизу тарелкообразное тело изолятора переходит в полый усеченный конус, на конце которого выполнен цилиндрический участок с заплечиком. Цилиндрический участок пересекает сквозное радиальное отверстие. Опора изолятора состоит из фланца и гильзы, соединенной с фланцем сваркой. Со стороны свободного конца гильзы выполнены два продольных разреза в осевой плоскости. Перпендикулярно этой осевой плоскости выполнено сквозное радиальное отверстие. Тело изолятора насаживается в гильзу опоры цилиндрическим участком до упора в заплечик. Скрепление тела изолятора с опорой производится болтом и гайкой через радиальные отверстия в них. Под головку болта и гайки кладут пружинные и плоские шайбы. При стягивании болтового соединения образуется гарантированный натяг, обеспечивающий плотное соединение. Радиальное крепление изолятора к опоре через полый цилиндрический участок без арматуры выполнено с целью создания предохранительного устройства с разрушающимся элементом в установке токоприемника на секции электровоза. Разрушающимся элементом является полый цилиндрический участок тела изолятора. Как известно, при эксплуатации электровозов возникают аварийные ситуации, когда возникают локальные повреждения контактной сети, такие как пережоги и обрывы контактных проводов и несущих тросов, изломы арматуры и так далее. Причины повреждений довольно многообразны. Пережоги проводов происходят из-за неудовлетворительного токосъема, коротких замыканий на электроподвижном составе, недостаточности токопроводящего сечения, прикосновения к проводам заземленных предметов (например, оторванных частей крыш грузовых вагонов, выполненных из металла), заездов электроподвижного состава на отключенные и заземленные секции контактной сети. Обрыв проводов происходит в основном в результате уменьшения их сечения из-за коррозии и в результате возникновения больших дополнительных нагрузок, таких как ветер и гололед. Изломы арматуры и деталей в большинстве случаев обусловлены дефектами изготовления - наличием трещин и недоброкачественностью металла. Причиной многих повреждений могут быть и сами токоприемники (перекосы полозов, большое трение в шарнирах, пропилы контактных пластин). При механическом взаимодействии токоприемника с поврежденной контактной сетью на токоприемнике возникают значительные силы. При достижении предельного значения этих сил вначале происходит разрушение разрушающегося элемента предохранительного устройства одного из опорных изоляторов, а затем лавинообразно остальных опорных изоляторов установки токоприемника и в результате токоприемник падает назад по ходу движения. Тем самым исключается катастрофическое разрушение дорогостоящей контактной сети на большом участке, сводя к минимуму затраты на восстановление контактной сети.

[3]

Недостатком известного опорного изолятора при относительной простоте конструкции является то, что при стягивании гильзы болтовым соединением к телу изолятора происходит неравномерный натяг на тело изолятора. В направлении стягивания болтового соединения могут возникнуть опасные кромочные давления, которые в процессе эксплуатации могут вызвать микротрещины. Неравномерность натяга может вызвать микроперемещения в соединении при эксплуатации, приводящие к износу глянцевой посадочной поверхности, снижению гидрофобности и в итоге к снижению поверхностного электрического сопротивления, а в случае смачивания водой и объемного. Через продольные разрезы и неплотности по периметру соединения может попадать вода, что при попадании воды в микротрещины и изношенные места тела изолятора за счет снижения гидрофобных свойств может резко снизить поверхностное и объемное сопротивление тела изолятора, резко снижая электрическую прочность изолятора. При проникновении сверху вода может скапливаться в гильзе опоры изолятора. Также вода может появиться при конденсации паров из воздуха в объеме гильзы. При поломке опорного изолятора из-за разрушения разрушающегося элемента предохранительного устройства опорный изолятор не подлежит ремонту и утилизируется.

[4]

Наиболее близким по технической сущности к заявленной полезной модели является опорный изолятор электровозов постоянного тока 2ЭС6 и 2ЭС10 поздних серийных номеров (см. патент на полезную модель опорного изолятора №129463, зарегистрированный 27.06.2013, заявка №2013102480/11 от 18.01.2013). Известный опорный изолятор включает тело изолятора, переходящее снизу в полый усеченный конус, на конце которого выполнен цилиндрический участок с заплечиком, опору, состоящую из фланца и разрезной гильзы с двумя диаметрально противоположно расположенными продольными разрезами и болтового соединения. Тело изолятора выполнено из керамики. В опоре изолятора выполнены дренажные отверстия, а кольцевой радиальный зазор между цилиндрическим участком изолятора и гильзой опоры заполнен упругим герметиком. Дренажные отверстия могут быть выполнены или в стенке гильзы опоры изолятора по контуру сопряжения гильзы с фланцем, или в фланце опоры изолятора в проекции гильзы на фланец в виде решетки с сотовым расположением отверстий, или в проекции гильзы на фланец в виде одинарного отверстия, или в стенке гильзы опоры изолятора по контуру сопряжения гильзы с фланцем, а в фланце выполнен конус вершиной в сторону тела изолятора. Также может быть вариант выполнения одиночного дренажного отверстия, при котором фланец опоры изолятора под гильзой выполнен под наклоном, а дренажное отверстие расположено в нижней части контура сопряжения гильзы с фланцем. Внутренняя кромка гильзы со стороны свободного конца может быть выполнена с галтелью или с фаской. В конструкцию опорного изолятора заложено предохранительное устройство, разрушающееся при предельных нагрузках на токоприемнике, возникающих при взаимодействии токоприемника с контактной сетью, имеющей повреждения. Разрушение тела изолятора хрупкое. В установке токоприемника вначале разрушается один из опорных изоляторов, а затем лавинообразно остальные. Токоприемник падает на крышу секции электровоза по ходу движения назад, тем самым спасая контактную сеть от катастрофического разрушения на большом участке из-за большого тормозного пути состава с электровозом. Предохранительное устройство представляет собой радиальное болтовое соединение полого цилиндрического участка тела изолятора с опорой. По сравнению с аналогом конструкция соединения тела изолятора и опоры изолятора улучшена без значительного усложнения конструкции, повышена надежность соединения, повышены гидрофобные свойства, исключено скапливание воды в опоре изолятора при атмосферных осадках и повышена электрическая прочность.

[5]

Недостатком известного опорного изолятора является то, что несмотря на введение в конструкцию внутренней кромки гильзы с галтелью или с фаской и заполнения кольцевого радиального зазора между цилиндрическим участком изолятора и гильзой опоры упругим герметиком, со временем в некоторых местах из-за динамического воздействия токоприемника на опорные изоляторы происходит местное отслоение и даже выкрашивание уплотняющего герметика, и поэтому начинается процесс поступления воды при атмосферных осадках. Выкрашивание герметика вызывает повышение подвижности тела изолятора в опоре изолятора, приводящее к износу глянцевой посадочной поверхности, снижению гидрофобности и в итоге к снижению поверхностного электрического сопротивления, а в случае смачивания водой и объемного. При большой интенсивности атмосферных осадков дренажные отверстия могут не успевать отводить проникающую воду, и она будет скапливаться в полости опоры изолятора. Также пленка вода может появиться при конденсации паров из воздуха в объеме гильзы. В осенний, осенне-зимний, зимне-весенний и весенний сезоны это может привести появлению льда в полости опоры изолятора, что в результате может привести к повреждению изолятора. Также данный опорный изолятор представляет относительно сложную конструкцию с повышенной трудоемкостью.

[6]

Техническим результатом, достигаемым с помощью заявляемого изобретения, является упрощение конструкции соединения тела изолятора и опоры изолятора, повышение технологичности, повышение гидрофобных свойств, снижение трудоемкости, полное исключение из-за отсутствия открытых полостей скапливания воды в опоре изолятора как от атмосферных осадков, так и от конденсата, повышение электрической прочности, повышение компактности опоры и повышение ремонтопригодности.

[7]

Сущность заявляемого изобретения поясняется чертежами, где:

[8]

на фиг. 1 дано аксонометрическое изображение опорного изолятора;

[9]

на фиг. 2 изображен продольный разрез опорного изолятора с резьбовым стержнем, снабженным сферическим торцом;

[10]

на фиг. 3 изображен резьбовой стержень с кольцевыми ободьями на привариваемом торце;

[11]

на фиг. 4 изображен резьбовой стержень с локальными выступами на привариваемом торце.

[12]

Опорный изолятор содержит тело изолятора 1 с арматурой 2.1 для закрепления токоприемника и арматурой 2.2 для закрепления опоры изолятора 3, опору изолятора 3, крепление опоры изолятора с телом изолятора в виде резьбового стержня 4. Арматура тела изолятора 2.1 и 2.2 представляет собой две фасонные вставки с внутренней резьбой с выступающими за тело изолятора 1 круглыми торцевыми поверхностями 5.1 и 5.2. Опора изолятора конструктивно представляет собой фланец 3. Крепление фланца 3 к телу изолятора 1 выполнено резьбовым стержнем 4, соединенным с фланцем 3 неразъемным соединением 6 и вворачиваемым в арматуру 2.2 тела изолятора 1. Неразъемное соединение 6 выполняет функцию разрушающегося предохранительного устройства, срабатывающего при достижении предельных эксплуатационных нагрузок, возникающих при эксплуатации опорных изоляторов в установках токоприемников на секциях электровозов. Токоприемники, как правило, устанавливают на трех или четырех опорных изоляторах. Данная конструкция опорного изолятора не имеет полостей, в которых может скапливаться вода при атмосферных осадках и конденсации влаги из воздуха, поэтому исключается образование льда во внутренних полостях, что в комплексе обеспечивает высокие объемное и поверхностное электрические сопротивления и высокую электрическую прочность. Тело изолятора выполнено из пластмассы или полимерных материалов. Резьбовой стержень 4 может быть выполнен с резьбовой и гладкой цилиндрическими частями 7 и 8, соответственно, при этом гладкая часть 8 резьбового стержня 4 выполнена с диаметром, меньшим внутреннего диаметра резьбы.

[13]

Заявляемое изобретение осуществляют следующим образом: изготовляют тело изолятора 1 в пресс-форме из пластмассы или полимерного материала, предварительно установив арматуру 2.1 и 2.2 в виде фасонных вставок с выступающими из тела изолятора 1 круглыми торцевыми поверхностями 5.1 и 5.2, соответственно. Арматуру 2.1 и 2.2 выполняют с внутренней резьбой. Изготовление тела изолятора 1 из пластмассы или полимерного материала позволяет производить ремонт повреждений, возникающих при эксплуатации опорных изоляторов в установках токоприемников на секциях электровозов. Фланец 3 соединяют с резьбовым стержнем 4 неразъемным соединением 6. При этом неразъемное соединение 6 выполняет функцию разрушающегося предохранительного устройства. Резьбовой стержень 4 вворачивают в арматуру 2.2 путем приложения к фланцу 3 регламентированного крутящего момента, после вворачивания резьбового стержня 4 в арматуру тела изолятора 1 к резьбовому стержню 4 через фланец 3 прикладывают крутящий момент на отвинчивание, равный половине величины регламентированного закручивающего момента, с целью снятия напряжений кручения, влияющих на точность срабатывания предохранительного устройства (см. авторское свидетельство №399641, зарегистрированное 03.10.1973, заявка №1688239/25-27 от 05.08.1971). Это направлено на обеспечение более стабильного срабатывания разрушающегося предохранительного устройства, которым является соединение 6. Для этого же фланец 3 и резьбовой стержень 4 изготовляют из качественной конструкционной стали, желательно одной марки. Для этой же цели соединение 6 резьбового стержня 4 с фланцем 3 выполняют по ограниченному замкнутому периметру или по точке (точкам) контактной электросваркой или конденсаторной сваркой с импульсным разрядом, для чего резьбовой стержень 4 со стороны привариваемого конца снабжают или сферической частью 9, или кольцевыми ободьями 10, или локальными выступами 11. Указанные виды сварки позволяют производить точную дозировку энергии сварки за малое время протекания тока и силу сжатия привариваемых деталей. Сварка производится без присадочных материалов. Это позволяет получить необходимую стабильную прочность сварного шва. Растягивающее усилие, разъединяющее соединение 6 резьбового стержня 4 с фланцем 3, соответствует предельной нагрузке, возникающей на токоприемнике в аварийной ситуации при повреждении контактного провода. Токоприемники, как правило, устанавливают на трех или четырех опорных изоляторах. При достижении предельной нагрузки на токоприемнике вначале происходит разрушение одного из опорных изоляторов по месту соединения 6 резьбового стержня 4 с фланцем 3, а потом за ним остальных. Силы взаимодействия токоприемника с контактной сетью и аэродинамическое сопротивление отбрасывают токоприемник назад по ходу движения, разрывая контакт токоприемника с контактной сетью, тем самым предотвращая дальнейшее разрушение дорогостоящей контактной сети. Необходимая прочность соединения 6 резьбового стержня 4 с фланцем 3 для гарантированного разрушения определяется эмпирически или расчетным путем. Регламентированный крутящий момент затяжки резьбового соединения обеспечивает гарантированное нераскрытие стыка межу круглой торцевой поверхностью 5.2 арматуры 2.2 и фланцем 3, исключает относительный сдвиг контактирующих поверхностей при нормальной эксплуатации токоприемника. Поэтому резьбовой стержень 4 и соединение 6 его с фланцем 3 подвержены усилию растяжения. При разрушении соединения 6 тело изолятора 1 с арматурой 2.1 и 2.2 поворачиваются на точке, лежащей на окружности, ограничивающей торцевую поверхность 5.2 арматуры 2.2, создавая своеобразный угловой рычаг (эффект гвоздодера). Равноудаленность точек окружности, ограничивающей торцевую поверхность 5.2, от центра торцевой поверхности определяет неизменность длины нижнего плеча углового рычага от направления силы, действующей на опорный изолятор со стороны токоприемника, тем самым обеспечивая постоянство силового усилия на резьбовой стержень 4, а значит, и на соединение 6.

Как компенсировать расходы
на инновационную разработку
Похожие патенты