патент
№ RU 2557263
МПК E21B47/10

УСТАНОВКА ДЛЯ ИЗМЕРЕНИЯ ДЕБИТА НЕФТЯНЫХ И ГАЗОВЫХ СКВАЖИН (ВАРИАНТЫ)

Авторы:
Котлов Валерий Витальевич Ефимов Андрей Александрович Лищук Александр Николаевич
Все (4)
Номер заявки
2013144653/03
Дата подачи заявки
07.10.2013
Опубликовано
20.07.2015
Страна
RU
Как управлять
интеллектуальной собственностью
Чертежи 
6
Реферат

Изобретение относится к нефтяной и газовой промышленности и может быть использовано для измерения дебита продукции нефтяных и газовых скважин. Технический результат заключается в повышении точности измерения фазового расхода в режиме реального времени за счет обеспечения однородности измеряемого потока газожидкостной смеси. Установка для измерения дебита нефтяных и газовых скважин содержит по меньшей мере одну систему для измерения расходов нефти, воды и газа, гидравлически связанную посредством трубопроводов с входной линией установки, соединенной с нефтяными скважинами, и с выходом в коллектор, выполненную в виде отрезка трубопровода с восходящим и нисходящим сегментами. На нисходящем сегменте установлены многофазный кориолисовый расходомер и по меньшей мере один параметрический датчик. Перед нисходящим сегментом на трубопроводе установлено устройство для гомогенизации потока. Трубопровод, соединяющий систему для измерения расходов нефти, воды и газа с входной линией установки, на входе в данную систему, также может быть выполнен с последовательно расположенными по меньшей мере одним восходящим и одним нисходящим сегментами. Причем вход в систему связан с выходом из нисходящего сегмента трубопровода. 2 н. и 11 з.п. ф-лы, 6 ил.

Формула изобретения

1. Установка для измерения дебита нефтяных и газовых скважин, содержащая, по меньшей мере, одну систему для измерения расходов нефти, воды и газа, гидравлически связанную посредством трубопроводов с входной линией установки, соединенной с нефтяными скважинами, и с выходом в коллектор, выполненную в виде отрезка трубопровода с восходящим и нисходящим сегментами с установленными на его нисходящем сегменте многофазным кориолисовым расходомером и, по меньшей мере, одним параметрическим датчиком, а также трубопроводную и запорную арматуру, отличающаяся тем, что система для измерения расходов нефти, воды и газа снабжена устройством для гомогенизации потока, установленным в ее трубопроводе перед его нисходящим сегментом.

2. Установка по п. 1, отличающаяся тем, что устройство для гомогенизации потока выполнено в виде диспергатора.

3. Установка по п. 1, отличающаяся тем, что устройство для гомогенизации потока выполнено в виде ребер, установленных на внутренней поверхности трубопровода.

4. Установка по п. 1, отличающаяся тем, что она снабжена устройством для выделения из поступающей из скважин газожидкостной смеси, по меньшей мере, части газовой фазы, имеющим раздельные выходы для жидкости и газа, при этом выход для жидкости связан с входом в систему для измерения расходов нефти, воды и газа, а выход для газа связан с выходом в коллектор, причем на трубопроводе, связывающем выход газа с выходом в коллектор, установлен расходомер газа.

5. Установка по п. 1, отличающаяся тем, что она содержит многоходовой кран, установленный на входной линии установки и связанный с нефтяными скважинами, при этом установка содержит две системы для измерения расходов нефти, воды и газа, связанные с выходами многоходового крана.

6. Установка по п. 1, отличающаяся тем, что она содержит многоходовой кран, установленный на входной линии установки и связанный с нефтяными скважинами, при этом один из выходов многоходового крана связан с системой для измерения расходов нефти, воды и газа, а второй выход - с выходом в коллектор.

7. Установка для измерения дебита нефтяных и газовых скважин, содержащая по меньшей мере одну систему для измерения расходов нефти, воды и газа, гидравлически связанную посредством трубопроводов с входной линией установки, соединенной с нефтяными скважинами, и с выходом в коллектор, выполненную в виде отрезка трубопровода с восходящим и нисходящим сегментами с установленными на его нисходящем сегменте многофазным кориолисовым расходомером и по меньшей мере одним параметрическим датчиком, а также трубопроводную и запорную арматуру, отличающаяся тем, что трубопровод, соединяющий систему для измерения расходов нефти, воды и газа с входной линией установки, на входе в систему для измерения расходов нефти, воды и газа выполнен с последовательно расположенными, по меньшей мере, с одним восходящим и одним нисходящим сегментами, причем вход в систему для измерения расходов нефти, воды и газа связан с выходом из нисходящего сегмента трубопровода.

8. Установка по п. 7, отличающаяся тем, что система для измерения расходов нефти, воды и газа снабжена устройством для гомогенизации потока, размещенным в ее трубопроводе перед его нисходящим сегментом.

9. Установка по п. 8, отличающаяся тем, что устройство для гомогенизации потока выполнено в виде диспергатора.

10. Установка по п. 8, отличающаяся тем, что устройство для гомогенизации потока выполнено в виде ребер, установленных на внутренней поверхности трубопровода.

11. Установка по п. 7 или 8, отличающаяся тем, что она снабжена устройством для выделения из поступающей из скважин газожидкостной смеси по меньшей мере части газовой фазы, имеющим раздельные выходы для жидкости и газа, при этом выход для жидкости связан с входом в систему для измерения расходов нефти, воды и газа, а выход для газа связан с выходом в коллектор, причем на трубопроводе, связывающем выход газа с выходом в коллектор, установлен расходомер газа.

12. Установка по п. 7 или 8, отличающаяся тем, что она содержит многоходовой кран, установленный на входной линии установки и связанный с нефтяными скважинами, при этом один из выходов многоходового крана связан с системой для измерения расходов нефти, воды и газа, а второй выход - с выходом в коллектор.

13. Установка по п. 7 или 8, отличающаяся тем, что она содержит многоходовой кран, установленный на входной линии установки и связанный с нефтяными скважинами, при этом установка содержит две системы для измерения расходов нефти, воды и газа, связанные с выходами многоходового крана.

Описание

[2]

Изобретение относится к нефтяной и газовой промышленности и может быть использовано для измерения дебита продукции нефтяных и газовых скважин в режиме реального времени.

[3]

Известна установка для измерения дебита нефтяных и газовых скважин, содержащая по меньшей мере одну систему для измерения расходов нефти, воды и газа, гидравлически связанную посредством трубопроводов с входной линией установки, соединенной с нефтяными скважинами, и с выходом в коллектор, выполненную в виде отрезка трубопровода с восходящим и нисходящим сегментами с установленными на его нисходящем сегменте многофазным кориолисовым расходомером и по меньшей мере одним параметрическим датчиком, а также трубопроводную и запорную арматуру («Измерение расхода многофазного потока при добыче нефти и газа с использованием нового типа измерительной установки на базе кориолисового расходомера». Журнал «Нефтепромысловое оборудование», №3, 2013 год, стр.105-107).

[4]

Недостатком известной установки является недостаточная точность измерения параметров потока ввиду его неоднородности, которая обусловлена тем, что на восходящем сегменте трубопровода системы для измерения расходов нефти, воды и газа достаточно легко происходит расслоение потока на фазы, а на нисходящем сегменте трубопровода, несмотря на то, что происходит смешивание этих фаз, данный процесс является недостаточным для образования гомогенной смеси.

[5]

Задачей, на решение которой направлено заявленное изобретение, является повышение точности измерения фазового расхода в режиме реального времени за счет обеспечения однородности измеряемого потока газожидкостной смеси.

[6]

Технический результат по первому варианту изобретения достигается тем, что в установке для измерения дебита нефтяных и газовых скважин, содержащей по меньшей мере одну систему для измерения расходов нефти, воды и газа, гидравлически связанную посредством трубопроводов с входной линией установки, соединенной с нефтяными скважинами, и с выходом в коллектор, выполненную в виде отрезка трубопровода с восходящим и нисходящим сегментами с установленными на его нисходящем сегменте многофазным кориолисовым расходомером и по меньшей мере одним параметрическим датчиком, а также трубопроводную и запорную арматуру, система для измерения расходов нефти, воды и газа снабжена смесителем потока, установленным на ее трубопроводе перед его нисходящим участком, выполненным в виде диспергатора либо в виде ребер, установленных на внутренней поверхности трубопровода.

[7]

Технический результат по второму варианту изобретения достигается тем, что в установке для измерения дебита нефтяных и газовых скважин, содержащей по меньшей мере одну систему для измерения расходов нефти, воды и газа, гидравлически связанную посредством трубопроводов с входной линией установки, соединенной с нефтяными скважинами, и с выходом в коллектор, выполненную в виде отрезка трубопровода с восходящим и нисходящим сегментами с установленными на его нисходящем сегменте многофазным кориолисовым расходомером и по меньшей мере одним параметрическим датчиком, а также трубопроводную и запорную арматуру, трубопровод, соединяющий систему для измерения расходов нефти, воды и газа с входной линией установки на входе в систему для измерения расходов нефти, воды и газа выполнен по меньшей мере с одним восходящим и одним нисходящим сегментами, причем вход в систему для измерения расходов нефти, воды и газа связан с выходом из нисходящего сегмента трубопровода. Кроме того, система для измерения расходов нефти, воды и газа снабжена установленным на ее трубопроводе перед его нисходящим участком смесителем потока, выполненным в виде диспергатора или в виде ребер, установленных на внутренней поверхности трубопровода.

[8]

Кроме того, оба варианта выполнения изобретения предусматривают возможное наличие в установке устройства для выделения из поступающей из скважин газожидкостной смеси по меньшей мере части газовой фазы, имеющего раздельные выходы для жидкости и газа, при этом выход для жидкости связан с входом в систему для измерения расходов нефти, воды и газа, а выход для газа связан с выходом в коллектор, причем на трубопроводе, связывающем выход газа с выходом в коллектор, установлен расходомер газа. Также установка может содержать многоходовой кран, установленный на входной линии установки и связанный с нефтяными скважинами, при этом либо один из выходов многоходового крана связан с системой для измерения расходов нефти, воды и газа, а второй выход с выходом в коллектор, либо установка содержит два устройства для измерения расходов нефти, воды и газа, связанных с выходами многоходового крана.

[9]

Выполнение трубопровода, соединяющего систему для измерения расходов нефти, воды и газа с входной линией установки на входе в систему для измерения расходов нефти, воды и газа по меньшей мере с одним восходящим и одним нисходящим сегментами, причем вход в систему для измерения расходов нефти, воды и газа связан с выходом из нисходящего сегмента трубопровода, обеспечивает движение потока в чередующихся направлениях, которое ввиду образующихся перепадов давления способствует растворению газа в жидкой фазе и соответственно образованию гомогенной смеси, что, в свою очередь, позволяет уменьшить ошибку определения фазового состава смеси в режиме реального времени, повышая точность определения дебита по компонентам.

[10]

Снабжение системы для измерения расходов нефти, воды и газа смесителем потока, установленным на ее трубопроводе перед его нисходящим участком и выполненным в виде диспергатора или в виде ребер, установленных на внутренней поверхности основного трубопровода, обеспечивает гомогенность измеряемого потока непосредственно перед определением его фазового расхода за счет интенсивного смешения фаз при движении потока через серию созданных на его пути преград.

[11]

Наличие в установке устройства для выделения из поступающей из скважин газожидкостной смеси по меньшей мере части газовой фазы, имеющего раздельные выходы для жидкости и газа, при этом выход для жидкости связан с входом в систему для измерения расходов нефти, воды и газа, а выход для газа связан с выходом в коллектор, позволяет произвести предварительную обработку поступающей смеси перед измерением ее фазового состава, что повышает точность измерения особенно для смесей с высоким содержанием газа. Установка на трубопроводе, связывающем выход газа с выходом в коллектор, расходомера газа позволяет произвести замер объемного расхода выделенного газа.

[12]

Наличие многоходового крана, установленного на входной линии установки и связанного с нефтяными скважинами, и связь одного из выходов многоходового крана с системой для измерения расходов нефти, воды и газа, а второго выхода - с выходом в коллектор позволяет последовательно коммутировать потоки смеси n-1 нефтяных скважин, измеряя их общий расход, а поток одной из скважин без измерения направлять в коллектор и на основе измеренных параметров коммутированных потоков вычислять значения параметров каждого из n потоков.

[13]

Наличие в установке двух систем для измерения расходов нефти, воды и газа, связанных с выходами многоходового крана, позволяет коммутировать потоки смеси n-1 нефтяных скважин и отдельно измерять расходы коммутированных и некоммутированных потоков, что повышает точность определения дебита каждой из скважин.

[14]

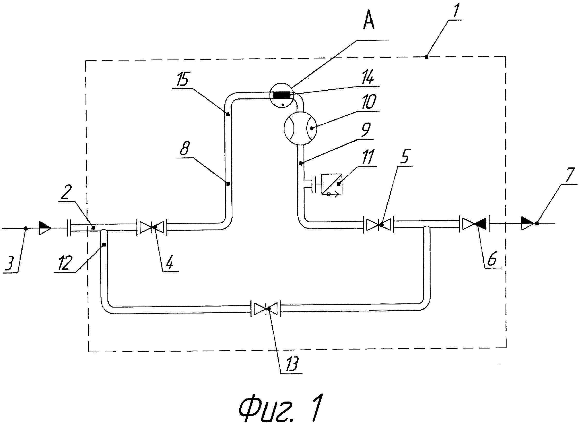
На фиг.1 показан фрагмент установки измерения дебита нефтяных и газовых скважин по первому варианту ее исполнения;

[15]

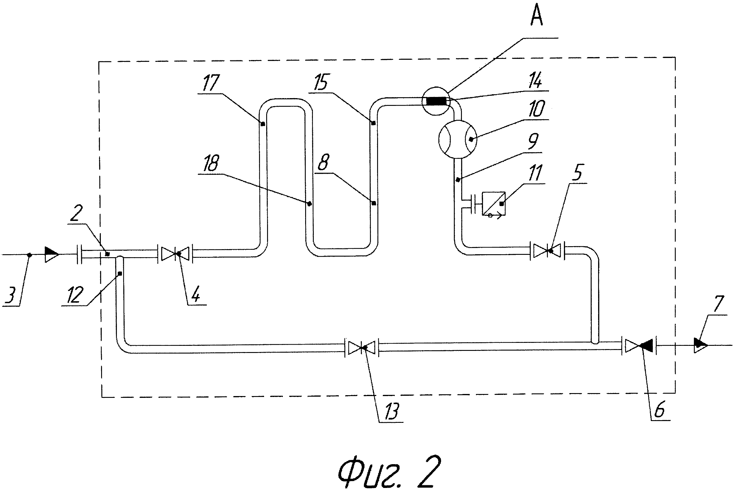
На фиг.2 показан фрагмент установки измерения дебита нефтяных и газовых скважин схема по второму варианту ее исполнения;

[16]

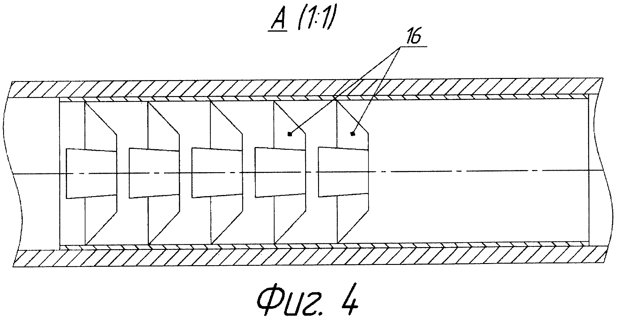
На фиг.3 показан смеситель в виде диспергатора - выносной элемент A на фиг.1 и 2;

[17]

На фиг.4 показан смеситель в виде ребер на внутренней поверхности трубопровода - выносной элемент A на фиг.1 и 2;

[18]

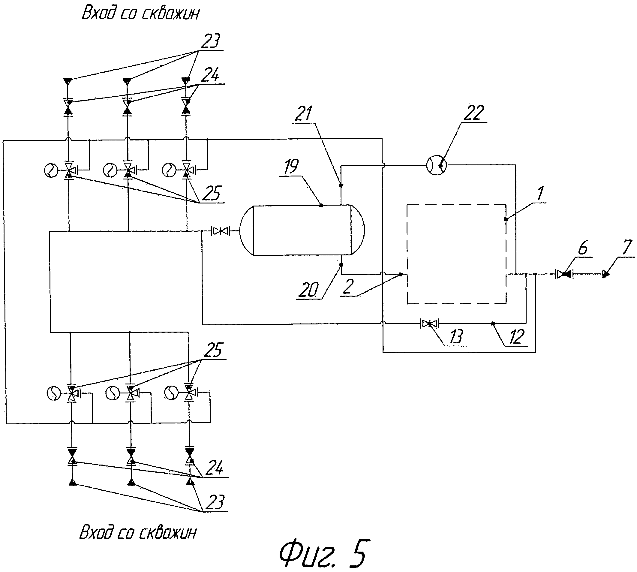
На фиг.5 показана общая схема установки измерения дебита нефтяных и газовых скважин;

[19]

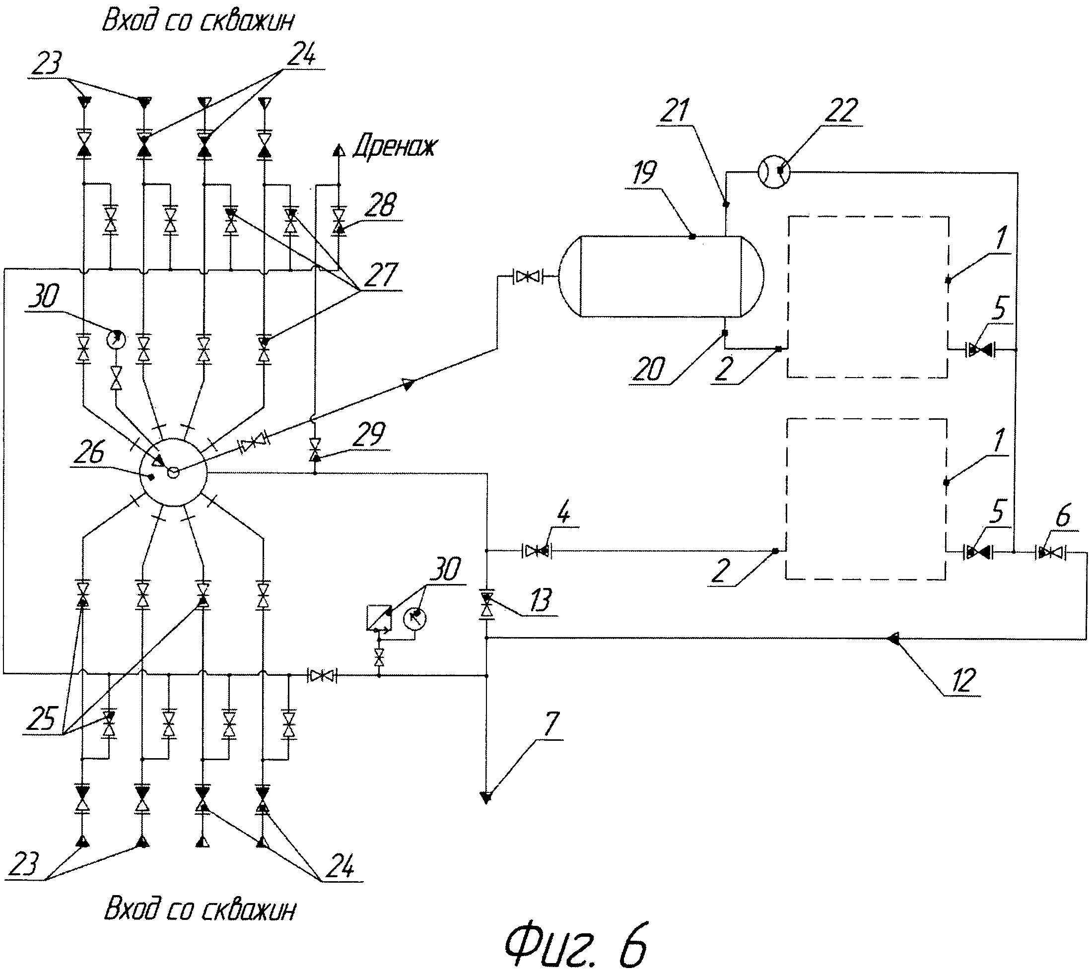
На фиг.6 показана общая схема установки измерения дебита нефтяных и газовых скважин с использованием 2-х систем для измерения расхода нефти, воды и газа.

[20]

Установка для измерения дебита нефтяных и газовых скважин содержит систему 1 для измерения расходов нефти, воды и газа, входной трубопровод 2 системы 1, входной трубопровод 3, гидравлически связанный с нефтяными скважинами, задвижку 4 на входе в установку, задвижку 5 на ее выходе, выходной вентиль 6, выход 7 в коллектор. Система 1 выполнена в виде отрезка трубопровода с восходящим и нисходящим сегментами 8 и 9 с установленными на его нисходящем сегменте 9 многофазным кориолисовым расходомером 10 и по меньшей мере одним параметрическим датчиком 11. В качестве параметрических датчиков можно использовать датчики измерения перепада давления, и/или датчики температуры, и/или датчики влажности, и/или датчики расхода газа или жидкости.

[21]

Установка также содержит байпасный трубопровод 12 и расположенную на нем задвижку 13.

[22]

Система 1 для измерения расходов нефти, воды и газа по первому варианту исполнения установки для измерения дебита нефтяных и газовых скважин (фиг.1) снабжена смесителем 14 потока, установленным на ее трубопроводе перед его нисходящим сегментом 9. Смеситель 14 выполнен в виде диспергатора 15 (фиг.3). Смеситель 14 также может быть выполнен в виде ребер 16, установленных на внутренней поверхности трубопровода (фиг.4)

[23]

В установке для измерения дебита нефтяных и газовых скважин по второму варианту ее исполнения (фиг.2) трубопровод 2 на входе в устройство 1 для измерения расходов нефти, воды и газа выполнен с последовательно расположенными по меньшей мере одним восходящим и одним нисходящим сегментами 17 и 18, причем вход в устройство для измерения расходов нефти, воды и газа (вход в восходящий сегмент 8) связан с выходом из нисходящего сегмента 18 трубопровода. В данном варианте исполнения установки так же как предусматривается наличие в системе 1 для измерения расходов нефти, воды и газа перед ее нисходящим сегментом 9 смесителя 14 потока, аналогичного первому варианту исполнения.

[24]

По обоим вариантам осуществления изобретения установка может содержать устройство для выделения из поступающей из скважин газожидкостной смеси (фиг.5) по меньшей мере части газовой фазы, например сепаратор 19, который имеет раздельные выходы 20 и 21 для жидкости и газа, при этом выход 20 для жидкости связан с входом в систему 1 для измерения расходов нефти, воды и газа, а выход 21 для газа связан с выходом 7 в коллектор. На трубопроводе, связывающем выход 21 газа с выходом 7 в коллектор, установлен расходомер газа 22.

[25]

Входной трубопровод 2 системы 1 связан с каждой из скважин через входной клапан 23, входной вентиль 24 и трехходовой кран 25.

[26]

Подача газожидкостной смеси от скважин к входному трубопроводу также может производиться через многоходовой кран 26 (фиг.6). Подача рабочей смеси регулируется задвижками 27. Устройство содержит также дренажный канал, связанный с входным трубопроводом 2 через дренажные задвижки 28 и 29, и дополнительные датчики 30. Один из выходных каналов многоходового крана, коммутирующий потоки из n-1 скважин, связан с системой 1 для измерения расхода нефти, воды и газа. Второй выход многоходового крана 26, являющийся выходом потока одной из скважин, связан либо с выходом 7 в коллектор, либо с входом во вторую систему 1 для измерения расхода нефти, воды и газа.

[27]

Устройство работает следующим образом.

[28]

Открывают задвижки 4 и 5, выходной вентиль 6. Задвижку 13 закрывают.

[29]

Открывают входные клапаны 23 и входные вентили 24. Газожидкостная смесь от n скважин поступает во входной трубопровод 2 на вход в систему 1 для измерения расходов нефти, воды и газа. Перед входом в систему 1 в восходящем сегменте 17 трубопровода 2 происходит выделение газовой фазы из смеси, после чего в его нисходящем сегменте 18, напротив, происходит растворение газа в смеси. Перед измерением в многофазном кориолисовом расходомере 10 поток повторно проходит восходящий участок 8 и нисходящий участок 9 системы 1. Многократное изменение движения потока обеспечивает перепад давления, при котором весь газ растворяется в жидкостном потоке. Фазовый переход позволяет создать кластерные ультрадисперсные смеси, повышающие гомогенность потока. Гомогенность смеси еще более улучшается за счет прохождения газожидкостной смеси перед входом в нисходящий участок 9 через смеситель 14 потока.

[30]

В направленном вниз потоке смеси с датчиков 9, 10 и 11 снимают показания. После окончания измерений закрывают задвижки 4 и 5, открывают задвижку 12, и смесь проходит через байпасный трубопровод 12 в коллектор 7.

[31]

Регулирование потока, направляемого на вход системы 1, производится соответствующими переключениями трехходовых кранов 25 или многоходового крана 26.

[32]

Так, при использовании многоходового крана 26 поток на одном из его выходов суммируется от n-1 скважин и поступает на вход одной из систем 1, где происходит измерение фазовых расходов смеси. Из другого выхода поток из одной оставшийся скважины при наличии второй системы 1 для измерения расходов нефти, воды и газа поступает на ее вход. В обеих системах 1 датчиками 9, 10, 11 снимаются показания. После окончания измерений многоходовым краном путем переключения задвижек 30 коммутируется поток из других n-1 скважин. Одновременно второй системой 1 производится измерение параметров оставшейся скважины. Измерение повторяют до полного завершения n циклов измерений. Из показаний измерений первой системы 1 определяют значения параметров каждой скважины, сравнивая и уточняя полученные значения со значениями, измеренными второй системой 1.

[33]

При отсутствии второй системы 1 для измерения фазового расхода потока скважины, не коммутированного в общий поток (от n-1 скважин), продукция этой скважины, минуя систему 1, направляется в коллектор 7. Значения параметров каждой скважины определяют из показаний измерений системы 1, измеряющей коммутируемый поток от n-1 скважин.

[34]

Изобретение позволяет значительно повысить точность измерения фазового расхода продукции нефтяных и газовых скважин в режиме реального времени с использованием многофазного кориолисового расходомера путем обеспечения однородности измеряемого потока газожидкостной смеси.

Как компенсировать расходы
на инновационную разработку
Похожие патенты